ZHCSGG1B December   2009  – July 2017 TPS43331-Q1

PRODUCTION DATA.  

  1. 特性
  2. 应用
  3. 说明
  4. 修订历史记录
  5. Pin Configuration and Functions
  6. Specifications
    1. 6.1  Absolute Maximum Ratings
    2. 6.2  ESD Ratings
    3. 6.3  Recommended Operating Conditions
    4. 6.4  Thermal Information
    5. 6.5  DC Electrical Characteristics
    6. 6.6  I2C Interface Electrical Characteristics
    7. 6.7  Switching Regulators Electrical Characteristics
    8. 6.8  Standby Regulator (VSTBY) Electrical Characteristics
    9. 6.9  Linear Regulator (VLR) Electrical Characteristics
    10. 6.10 High-Side Driver (HSD) Electrical Characteristics
    11. 6.11 AC Switching Characteristics
    12. 6.12 I2C Interface Switching Characteristics
    13. 6.13 Switching Regulators Switching Characteristics
    14. 6.14 Linear Regulator Switching Characteristics
    15. 6.15 High-Side Driver (HSD) Switching Characteristics
    16. 6.16 Timing and Switching Diagrams
    17. 6.17 Typical Characteristics
  7. Detailed Description
    1. 7.1 Overview
    2. 7.2 Functional Block Diagram
    3. 7.3 Feature Description
      1. 7.3.1  Unregulated Battery Input Voltage (VBAT)
      2. 7.3.2  Protected Unregulated Battery Input Voltage (VBATP)
      3. 7.3.3  Low-Voltage Warning Input (LVWIN)
      4. 7.3.4  Voltage Warning Output (VBATW)
      5. 7.3.5  Low-Voltage Reset (RST)
      6. 7.3.6  Power-Good Delay Timer Input (PGDLY)
      7. 7.3.7  Active Mode Enable Input (EN)
      8. 7.3.8  Slew Rate Control Capacitor Input (CSLEW)
      9. 7.3.9  Charge Pump Capacitor Input (VCP)
      10. 7.3.10 Power Ground (PGND)
      11. 7.3.11 Analog Ground Reference (AGND)
      12. 7.3.12 Inter-IC Communications Interface (I2CID)
      13. 7.3.13 Clock Input (SCL)
      14. 7.3.14 Data Line (SDA)
      15. 7.3.15 Interface Chip Identifier (I2CID)
      16. 7.3.16 Switch Mode Regulators
      17. 7.3.17 Upper FET Gate Drive Outputs (VGT1 and VGT2)
      18. 7.3.18 Lower FET Gate Driver Outputs (VGB1 and VGB2)
      19. 7.3.19 Bootstrap Capacitor Input (CBS1 and CBS2)
      20. 7.3.20 Phase Reference for High-Side Bootstrap Supply (PH1 and PH2)
      21. 7.3.21 Current Sense High-Side (ISHI1 and ISHI2)
      22. 7.3.22 Current Sense Low-Side (ISLO1 and ISLO2)
      23. 7.3.23 Regulated Output Sense Voltage Feedback (VFB1 and VFB2)
      24. 7.3.24 Feedback Compensation Input (VCMP1 and VCMP2)
      25. 7.3.25 Synchronization Input (SYNCH)
      26. 7.3.26 Standby Linear Regulator Input (VINSB)
      27. 7.3.27 Standby Regulator Output (VSTBY)
      28. 7.3.28 Standby Regulator Sense Voltage (VSTBYS)
      29. 7.3.29 Switched Linear Regulator Input (VINLR)
      30. 7.3.30 Switched Linear Regulator Output (VLR)
      31. 7.3.31 Switched Linear Regulator Sense Voltage (VLRS)
      32. 7.3.32 High-Side Driver Output (HSD)
    4. 7.4 Device Functional Modes
      1. 7.4.1 Operating Mode Definition
    5. 7.5 Programming
      1. 7.5.1 Register Definition for I2C
        1. 7.5.1.1 Chip Address Byte
    6. 7.6 Register Map
      1. 7.6.1 Data Register
  8. Application and Implementation
    1. 8.1 Application Information
    2. 8.2 Typical Application
      1. 8.2.1 Design Requirements
      2. 8.2.2 Detailed Design Procedure
        1. 8.2.2.1 Type II Compensation
        2. 8.2.2.2 Type III Compensation
        3. 8.2.2.3 Component Calculations
          1. 8.2.2.3.1 Buck-Controllers (VBUCK1, VBUCK2)
        4. 8.2.2.4 Power Dissipation
        5. 8.2.2.5 Buck Regulators
          1. 8.2.2.5.1 Buck Regulator 1 (VBUCK 1)
            1. 8.2.2.5.1.1 Step 1. Calculate the Inductor Value
            2. 8.2.2.5.1.2 Step 2. Inductor Peak Current
            3. 8.2.2.5.1.3 Step 3. Calculating the Output Capacitance (CO)
            4. 8.2.2.5.1.4 Step 4. Calculating Loop Compensation Values
          2. 8.2.2.5.2 Buck Regulator 2 (VBUCK 2)
            1. 8.2.2.5.2.1 Step 5. Calculate the Inductor Value
            2. 8.2.2.5.2.2 Step 6. Inductor Peak Current
            3. 8.2.2.5.2.3 Step 7. Calculating the Output Capacitance (CO)
            4. 8.2.2.5.2.4 Step 8. Calculating Loop Compensation Values
      3. 8.2.3 Application Curves
    3. 8.3 System Example
      1. 8.3.1 Multiple Power Supply Configuration for Vehicle Audio Applications
  9. Power Supply Recommendations
  10. 10Layout
    1. 10.1 Layout Guidelines
      1. 10.1.1 Grounding and Circuit Layout Considerations
    2. 10.2 Layout Example
    3. 10.3 Power Dissipation Derating
  11. 11器件和文档支持
    1. 11.1 文档支持
      1. 11.1.1 相关文档
    2. 11.2 接收文档更新通知
    3. 11.3 社区资源
    4. 11.4 商标
    5. 11.5 静电放电警告
    6. 11.6 Glossary
  12. 12机械、封装和可订购信息

封装选项

机械数据 (封装 | 引脚)
散热焊盘机械数据 (封装 | 引脚)
订购信息

Specifications

Absolute Maximum Ratings

over operating free-air temperature range (unless otherwise noted)(1)(2)
MIN MAX UNIT
Unregulated input(3) VBAT, VBATP –0.3 40 V
Unregulated power supply(3) VINSB, VINLR –0.3 40 V
High side output(4) HSD –0.3 40 V
Low voltage warning input LVWIN –0.3 40 V
Switched linear regulator VLR –0.3 15 V
Bootstrap capacitor VCP –0.3 18 V
Logic level or low voltage signals PGDLY, CSLEW, VBATW, RST, EN, VSTBYS, VSTBY, VLRS, SYNCH, I2CID, SCL, SDA, VCMP1, VCMP2, VFB1, VFB2(3) –0.3 5.5 V
ISHI1, ISHI2, ISLO1, ISLO2(3) –0.3 10
CBS1, CBS2, VGT1, VGT2 –0.3 40
VGB1, VGB2 –0.3 10
PH1, PH2(4) –1 40
Operating junction temperature range, TJ –40 150 °C
Storage temperature range, Tstg –65 150 °C
Stresses beyond those listed under Absolute Maximum Ratings may cause permanent damage to the device. These are stress ratings only, and functional operation of the device at these or any other conditions beyond those indicated under Recommended Operating Conditions is not implied. Exposure to absolute-maximum-rated conditions for extended periods may affect device reliability.
All voltage values are with respect to GND.
Absolute negative voltage on these pins not to go below –0.5 V.
Absolute negative voltage on these pins not to go below –1 V, and transients of –2 V because of recirculation of an inductive load
for < 100 ns.

ESD Ratings

VALUE UNIT
V(ESD) Electrostatic discharge Human-body model (HBM), per AEC Q100-002(1) 2000 V
AEC Q100-002 indicates that HBM stressing shall be in accordance with the ANSI/ESDA/JEDEC JS-001 specification.

Recommended Operating Conditions

MIN MAX UNIT
Unregulated input VBAT, VBATP 5 30 V
Unregulated power supply VINSB, VINLR 1.8 30 V
High side output HSD 5 30 V
Low voltage warning input LVWIN 5 30 V
Linear regulator VLR 1.2 12 V
Standby regulator VSTBY, VSTBYS 1.2 5 V
Bootstrap capacitor VCP 16 V
Logic level or low voltage signals PGDLY, CSLEW, VBATW, RST, EN, VLRS, SYNCH, I2CID, SCL, SDA, VCMP1, VCMP2, VFB1, VFB2 4.5 5.3 V
ISHI1, ISHI2, ISLO1, ISLO2 1.2 9 V
CBS1, CBS2, VGT1, VGT2 5 38 V
VGB1, VGB2 3 8 V
PH1, PH2 –1 30 V
TA Operating ambient temperature(1) –40 125 °C
Assumes TA = TJ – Power dissipation × θJA

Thermal Information

THERMAL METRIC(1) TPS43331-Q1 UNIT
DAP (HTSSOP)
38 PINS
RθJA Junction-to-ambient thermal resistance(2) 25 °C/W
RθJC(top) Junction-to-case (top) thermal resistance(3) 10 °C/W
RθJB Junction-to-board thermal resistance °C/W
ψJT Junction-to-top characterization parameter °C/W
ψJB Junction-to-board characterization parameter °C/W
RθJC(bot) Junction-to-case (bottom) thermal resistance °C/W
For more information about traditional and new thermal metrics, see the Semiconductor and IC Package Thermal Metrics application report.
This assumes a JEDEC JESD 51-5 standard board with thermal vias – See the Layout Example section and the application report PowerPAD Thermally Enhanced Package for more information.
This assumes junction to exposed thermal pad.

DC Electrical Characteristics

VBAT = VBATP = 6 V to 18 V, TJ = –40°C to +150ºC (unless otherwise noted)
PARAMETER TEST CONDITIONS MIN TYP MAX UNIT
VBAT Battery input
VNOV Normal operating voltage 6 18 V
VJSV Jump start voltage TA = –40ºC to 50ºC 18 26.5 V
VOVSD Overvoltage shutdown All outputs except standby reg are disabled, 27 V
VHYS Hysteresis 0.5 V
VUVLO Undervoltage lockout VSTBY ref disabled, Verify < VOL(max) 2 5.2 V
IQ Battery input leakage current Standby mode, VBAT = 14 V, IVSTBY = 100 µA,
IBattery – |IVSTBY|, EN = 0 V
100 µA
Standby mode, 9 V < VBAT < 18 V, IVSTBY = –100 µA,
IBattery – |IVSTBY|, EN = 0 V
130
Standby mode, 18 V < VBAT < 40 V, IVSTBY = –100 µA,
IBattery – |IVSTBY|, EN = 0 V
200
Standby mode, VBAT = 6 V, IVSTBY = –100 µA,
IBattery – |IVSTBY|, EN = 0 V
2.5 mA
IB Battery input bias current VBAT = 6V to 18V, HSDEN = VLREN = SW2EN = 1,
VGT2 = VGB2 = open, IVSTBY = IVLR = IHSD = 100 µA,
IBattery – |IVSTBY| – |IVLR| – |IHSD|
25 mA
IB VBAT input bias current VBAT = 6 V to 18 V, HSDEN = 1, IHSD = 100 µA, |IVBAT| – |IHSD| 1 mA
VBAT = 40 V 5
VBAT = –20 V –2
LVWIN Low voltage warning input
VTH Input high threshold 1.1 1.2 V
VHYS Hysteresis On rising edge on input signal 70 120 mV
ILKG Input leakage current LVWIN = 1 V to 18 V –1 1 µA
LVWIN = 40 V –1 1
VBATP Consumption current
IB Supply current from VBATP line IVSTBY = 50 mA 10 mA
SW2EN = 1, VGTX = VGBX = open 15
VLREn = 1, IVLR = 100 µA 10
IVBATP = | IVLR | 10
VBAT = 40 V, IVSTBY = 50 mA 6
VBAT = VINLR = Open, VUVLO < VBATP = VINSB < 18 V, VLREn = SW2EN = HSDEN = 1, IVLR = IHSD = –100 µA,
VGTX = VGBX = Open, IVBATP – | IVSTBY + IVLR + IHSD |
20
CSLEW Slew rate control on standby regulator VSTBY
ICSLEW Soft-start rate on VSTBY reg CCSLEW = 0.01 µF –2.9 –1.45 µA
EN Enable/disable input
VIH Enable 2 V
VIL Disable 0.8 V
VHYS Hysteresis 300 800 mV
ILKG Input leakage current –1 1 µA
SYNCH Synchronization input voltage threshold
VIH Enable Switch enabled going from low to high 20% to 80% 2 V
VIL Disable Switch disabled going from high to low 80% to 20% 0.8 V
VHYS Hysteresis 300 800 mV
RPD Input pulldown resistance 20 100
PGDLY Power good delay
IOH Power delay output current PGDLY = 0, 100 pF ≤ CPGDLY ≤ 0.01 µF –2.6 –1.5 µA
VTH Input threshold Verify RST deasserted 1.5 2.5 V
VSAT PGDLY saturation voltage 100 pF ≤ CPGDLY ≤ 0.01uF 0.4 V
RST Reset output
VOL Reset output 0.5 V ≤ VSTBY ≤ VTH_min (VSTBY), IOL = 1.6 mA, Active mode 0.4 V
0.5 V ≤ VSTBY ≤ VTH_min (VSTBY), IOL = 1.6 mA, Standby mode 0.4 V
0.5 V ≤ VBATP ≤ VUVLO_min, IOL = 100 µA 0.4 V
ILeakage Output leakage current RST = VSTBY, Active and standby modes –10 10 µA
VBATW Low input voltage warning (Battery input)
VOL Warning output voltage IOL = 1.6 mA, Active and standby modes 0.4 V
ILeakage Output leakage current VBATW = VSTBY, Active and standby modes –10 10 µA

I2C Interface Electrical Characteristics

VBAT = VBATP = 6 V to 18 V, TJ = –40°C to +150ºC (unless otherwise noted)
PARAMETER TEST CONDITIONS MIN TYP MAX UNIT
I2CID Serial interface ID address input
VIH Input high threshold 2 V
VIL Input low threshold 0.8 V
VHYS Hysteresis 0.3 0.8 V
ILKG Input leakage current I2CID = 3.3 V –1 1 µA
SCL Serial clock input for synchronization
VIH Input high threshold 2 V
VIL Input low threshold 0.8 V
VHYS Hysteresis 0.3 0.8 V
ILKG Input leakage current 0.3 V ≤ VSCL ≤ 3.0 V –1 1 µA
CSCLIN Input line capacitance 10 pF
SDA Serial communications data line
VIH Input high threshold 2 V
VIL input low threshold 0.8 V
VHYS Hysteresis 0.3 0.8 V
ILeakage Leakage current 0.3 V ≤ VSDA ≤ 3.0 V –1 1 µA
VSAT Output saturation voltage IOL = 3 mA 0.4 V
IOL = 6 mA 0.6 V
CSDAIN Input line capacitance 10 pF

Switching Regulators Electrical Characteristics

VBAT = VBATP = 6 V to 18 V, TJ = –40°C to +150ºC (unless otherwise noted)
PARAMETER TEST CONDITIONS MIN TYP MAX UNIT
Switch mode regulators (Channel 1)
IO Output current 4 A
VO Regulated output voltage range 1.2 10 V
VFB1 Feedback voltage input 980 1020 mV
VOTOL Regulated output voltage tolerance IO = 100% to 10% IO(max), Includes external feedback resistors –5% 5%
VISCTH Short circuit current, voltage threshold(1) 60 120 mV
VDO Dropout voltage(2) IO = IO(max), VBAT = 9 V, Includes drop due to VISCTH 400 mV
dV/dt Output voltage soft-start slew rate(3) Step response on regulator enable, IO = IO(max) 10 V/ms
5%
VP_SC Overshoot (4) IO = ISC(max), Remove short 5%
VP_TR Load transient response(4) IO = 10% to 100% IO(max) –5%
IO = 100% to 10% IO(max) 5%
IVGT1_SRC Gate drive source current (high side) VGT1 = VGB1 = 6 V, Measure time calculate current 210 330 mA
IVGT1_SINK Gate drive sink current (high side) VGT1 = VGB1 = 6 V, Measure time calculate current 500 1020 mA
IVGB1_SRC Gate drive source current (low side) VGT1 = VGB1 = 6 V, Measure time calculate current 90 135 mA
IVGB1_SINK Gate drive sink current (low side) VGT1 = VGB1 = 6 V, Measure time calculate current 440 1300 mA
Switch mode regulators (Channel 2), SW2EN = 1 (unless otherwise noted)
IO Output current 4.0 A
VO Regulated output voltage range 1.2 10 V
VFB1 Feedback voltage input 980 1020 mV
VOTOL Regulated output voltage tolerance IO = 100% to 10% IO(max), Includes external feedback resistors –5% 5%
VISCTH Short circuit current, voltage threshold(1) 60 120 mV
VDO Dropout voltage(2) IO = IO(max), VBAT = 9 V, Includes drop due to VISCTH 400 mV
dV/dt Output voltage soft-start slew rate(3) Step response on regulator enable, IO = IO(max) 10 V/ms
VP_SC Overshoot(4) IO = ISC(max), Remove short 5%
VP_TR Load transient response(4) IO = 10% to 100% IO(max) –5%
IO = 100% to 10% IO(max) 5%
IVGT2_SRC Gate drive source current (high side) VGT1 = VGB1 = 6 V, Measure time calculate current 210 330 mA
IVGT2_SINK Gate drive sink current (high side) VGT1 = VGB1 = 6 V, Measure time calculate current 500 1020 mA
IVGB2_SRC Gate drive source current (low side) VGT1 = VGB1 = 6 V, Measure time calculate current 90 135 mA
IVGB2_SINK Gate drive sink current (low side) VGT1 = VGB1 = 6 V, Measure time calculate current 440 1300 mA
The output remains stable using soft-start conditions when the output drops from regulation to 0 V. The device is not damaged by a hard short to ground.
Lower VBAT until the output drops to 0.1 V. Measure VBAT – VO.
Design information – Not tested. Specified by CSLEW current and bench characterization.
Design information – Not tested.

Standby Regulator (VSTBY) Electrical Characteristics

VINLR = 3 V to 18 V, VBAT = VBATP = 6 V to 18 V, TJ = –40°C to +150ºC (unless otherwise noted)
PARAMETER TEST CONDITIONS MIN TYP MAX UNIT
IO Output current Active mode 5 300 mA
Standby mode 0.05 300
VO Regulated output voltage range VINSB = (VO + VDO) to 18 V, IO = IO(max)(2) to IO(min),
TA = –40°C to +50°C, VINSB = 18 V to 26.5 V, IO = IO(max)(3) to IO(min)
1.2 3.6 V
VSTBYS Feedback input voltage for standby regulator 980 1020 mV
VSTBY Regulated output voltage tolerance IO = IO(max) to IO(min), VO + VDO < VINSB < 18 V,
1% nominal (3% worse case) tolerance resistors
–5% 5%
IO = IO(max) to IO(min), 18 V < VINSB < 26.5 V 8%
LR Load regulation IO = IO(max) to IO(min) –4% 0%
SR Line regulation IO = IO(max), VO + VDO < VINSB < 18 V –4% 4%
ISC Short circuit current limit VSTBY = 0 V(4) 310 1400 mA
VDO Dropout voltage(2) IO = 300 mA 1200 mV
VLVRTH Low-voltage reset threshold Lower VO until goes low 900 950 mV
TSD Thermal shutdown(1) 150 210 °C
THYS Hysteresis 5 15 °C
ΔV/ΔT Output voltage slew rate(3) Step response on regulator, IO = IO(min) 10 V/mS
VOP_SC Overshoot(1) IO = ISC(min), Remove short 5%
VP_TR Load transient response (1) Active mode, VSTBY = 1.2 V, CVSTBY = 1 µF, Δt = 10 µs,
IO = IO(min) to IO(max), IO = IO(max) to IO(min)
–6% 6%
Active mode, VSTBY = 3.6 V, CVSTBY = 1 µF, Δt = 10 µs,
IO = IO(min) to IO(max), IO = IO(max) to IO(min)
–6% 6%
Standby mode, VSTBY = 1.2 V, CVSTBY = 1 µF, Δt = 10 µs,
IO = –100 mA to IO(max), IO = IO(max) to –100 mA
–6% 6%
Standby mode, VSTBY = 3.6 V, CVSTBY = 1 µF, Δt = 10 µs,
IO = –100 mA to IO(max), IO = IO(max) to –100 mA
–6% 6%
VPRSS Power supply rejection ratio(1) IO = 0.5×IO(max), fo = 120 Hz to 10 kHz, VINSB = 14-V DC and 1-V AC (p – p) 50 dB
IO = 0.5×IO(max), fo = 20 to 20 kHz, VINSB = 14-V DC and 1-V AC (p – p) 45
VN Output noise 100-kHz low-pass filter, fo = 20 Hz to 100 kHz, IVSTBY = –5 mA 400 uV
100-kHz low-pass filter, fo = 20 Hz to 20 kHz, IVSTBY = –5 mA 200
ttr Output voltage transient response IO = IO(min) to IO(max), CO(max) 40 µs
CO Output capacitance CO(nom) = 1 µF, 16 V 0.53 1.15 µF
RESR Output capacitance ESR f = 1 kHz, TA = 125°C 8.75 Ω
DF Output capacitor dissipation factor f = 1 kHz, TA = –40°C 1%
f = 1 kHz, TA = 25°C 3.5%
f = 1 kHz, TA = 125°C 5.5%
Design information – Not tested.
This nomenclature is meant to agree with the convention that current flow into the pin is a positive. Therefore Io(max) is a smaller magnitude current and Io(min) is larger magnitude current throughout the parametric tables.
Design information – Not tested, parameter assured by characterization.
The output remains stable using soft-start conditions when the output drops from regulation to 0 V. The IC is not damaged by a hard short to ground.

Linear Regulator (VLR) Electrical Characteristics

VINLR = 3 V to 18 V, VBAT = VBATP = 6 V to 18 V, TJ = –40°C to +150ºC (unless otherwise noted)
PARAMETER TEST CONDITIONS MIN TYP MAX UNIT
IO Output current 5 650 mA
VO Regulated output voltage range VINLR = (VO + VDO) to 18 V, IO = IO(max) to IO(min),
TA = –40°C to +50°C, VINLR = 18 V to 26.5 V, IO = IO(max) to IO(min)
1.2 8.5 V
VLRS Feedback input voltage 980 1020 mV
VLR Output voltage tolerance IO = IO(max) to IO(min), VO + VDO < VINLR < 18 V,
1% nominal (3% worse case) tolerance resistors
–5% 5%
IO = IO(max) to IO(min), VINLR = 18 V to 26.5 V 8%
LR Load regulation IO = IO(max) to IO(min) –4% 1%
SR Line regulation IO = IO(max), VO + VDO < VINLR < 18 V –4% 4%
IO = IO(max), 18 V < VINLR < 26.5 V –4% 4%
ISC Short circuit current limit VLR = 0 V(4) 0.7 2.7 A
VDO Dropout voltage(2) IO = –200 mA 400 mV
IO = –600 mA 1.7 V
TSD Thermal shutdown(1) 150 210 ºC
THYS Hysteresis 5 15 ºC
VOP_SC Overshoot IO = ISC(min), Remove short 5%
VP_TR Load transient response(1) VLR =1.2 V, CVLR = 1 µF, Δt = 10 µs, IO = IO(min) to IO(max),
IO = IO(max) to IO(min)
–6% 6%
VLR = 8.5 V, CVLR = 1 µF, Δt = 10 µs, IO = IO(min) to IO(max),
IO = IO(max) to IO(min)
–6% 6%
VPRSS Power supply rejection ratio(1) IO = 0.5×IO(max), fo = 120 Hz to 10 kHz, VINLR = 14-V DC
and 1-V AC (p – p)
50 dB
IO = 0.5×IO(max), fo = 20 Hz to 20 kHz, VINLR = 14-V DC
and 1-V AC (p – p)
45
VN Output noise(1) 100-kHz low-pass filter, fo = 20 Hz to 100 kHz, IVLR = –5 mA 400 uV
Weighted filter, fo = 20 Hz to 20 kHz, IVLR = –5 mA 200
ttr Output voltage transient response(1) IO = IO(min) to IO(max), CO(max) 40 µs
CO Output capacitance(1) CO(nom) = 1 µF, 16 V 0.53 1.15 µF
RESR Output capacitance ESR(1) f = 1 kHz, TA = 125°C 8.75 Ω
DF Output capacitor dissipation factor(1) f = 1 kHz, TA = –40°C 1%
f = 1 kHz, TA = 25°C 3.5%
f = 1 kHz, TA = 125°C 5.5%
Design information – Not tested

High-Side Driver (HSD) Electrical Characteristics

VBAT = VBATP = 6 V to 18 V, HSD1EN = 1, TJ = –40°C to +150ºC (unless otherwise noted)
PARAMETER TEST CONDITIONS MIN TYP MAX UNIT
VSAT HSD output saturation voltage IHSD = –300 mA 0.6 V
IHSD = –450 mA, t = 0.5 s 1.2 V
ILKG Leakage current HSD1EN = 0, HSD = 0 V –5 5 µA
HSD1EN = 0, RHSD = 20 Ω to –1 V –100 µA
HSD1EN = 0, VBAT = HSD –100 100 µA
HSD1EN = 0, VBAT = HSD = 34 V –100 100 µA
VBAT = open, CVBAT = 1 mF, HSD = 18 V 0 10 mA
GND = open, RHSD = 20 Ω to –1 V (1) 15 mA
ISTG High-side short circuit current HSD = 0 V 0.310 1.4 A
HSD = VBAT –2 2(2) mA
TSD HSD thermal shutdown(3) IHSD = –100 µA 150 190 ºC
THYS Hysteresis 5 15 ºC
The condition does not damage the IC or any external components connected to the IC.
The limits are based on characterization. This condition does not damage the IC and or any external components connected to the IC.
Design information – Not tested

AC Switching Characteristics

VBAT = VBATP = 6 V to 18 V, TJ = –40°C to +150ºC (unless otherwise noted) (see Figure 1 and Figure 2)
NO. PARAMETER TEST CONDITIONS MIN TYP MAX UNIT
RST Reset timing
1 tenrst Reset enable time 0 µs
2 tPGDLY Reset delay time CPGDLY(nom) = 100 pF 25 100 µs
3 tpor Internal power on reset VSTBY in regulation to RST deasserted delay 5 ms
4 tf Reset fall time CRST = 50 pF 2 µs
VSTBY Standby regulator de-glitch timer
5 tlvcp De-glitch filter time 5 20 µs
PGDLY Power good discharge time
tdch Power good delay capacitor discharge time CPGDLY = 0.01 µF 1 µs
VBATW low input voltage warning
6 tprlvw Low voltage rising output indicator propagation delay 1 µs
7 tpfovsd Overvoltage shutdown propagation delay 1 µs
8 tpflvw Low voltage falling output warning propagation delay 1 µs
9 tf Fall time 1 µs

I2C Interface Switching Characteristics

VBAT = VBATP = 6 V to 18 V, TJ = –40°C to +150ºC (unless otherwise noted) (see Figure 3)(1)(2)
NO. PARAMETER TEST CONDITIONS MIN TYP MAX UNIT
SCL Serial clock timing
1 fSCL Serial clock frequency Standard mode 0 100 kHz
Fast mode 0 400 kHz
2 tHD, STA Hold time for repeated start Standard mode 4 µs
Fast mode 0.6 µs
3 tLOW Clock low pulse width Standard mode 4.7 µs
Fast mode 1.3 µs
4 tHIGH Clock high pulse width Standard mode 4 µs
Fast mode 0.6 µs
5 tSU, STA Setup time for repeated start Standard mode 4.7 µs
Fast mode 0.6 µs
6 tr, SCL Clock rise time Standard mode 1 µs
Fast mode, CSCL = 10 pF 21(3) 300 ns
Fast mode, CSCL = 400 pF 60 300 ns
7 tf, SCL Clock fall time Standard mode 0.3 µs
Fast mode, CSCL = 10 pF 21 300 ns
Fast mode, CSCL = 400 pF 60 300 ns
8 tSP,SCL Clock input noise pulse 50 ns
SDA Serial communications data line
9 tSU, DAT Serial data setup time Standard mode 250 ns
Fast mode 100 ns
10 tr, SDA Data rise time Standard mode 1 µs
Fast mode, CSDA = 10 pF 21 300 ns
Fast mode, CSDA = 400 pF 60 300 ns
11 tf, SDA Data fall time Standard mode 300 ns
Fast mode, CSDA = 10 pF 21 300 ns
Fast mode, CSDA = 400 pF 60 300 ns
12 tSP,SDA SDA input noise pulse 50 ns
13 tfo,SDA SDA output pulse time Standard mode 250 ns
Fast mode, CSDA = 10 pF 21 250 ns
Fast mode, CSDA = 400 pF 60 250 ns
14 tSU,STO Stop bit setup time Standard mode 4 µs
Fast mode 0.6 µs
15 tBU Bus free between stop and start bit Standard mode 4.7 µs
Fast mode 1.3 µs
Capacitance on serial interface pins SCL and SDA are 10 pF ≥ CSCL, CSDA ≥ 400 pF
Parameters assured by worst case test program execution in fast mode.
The total load capacitance range for SCL and SDA for I2C specification

Switching Regulators Switching Characteristics

VBAT = VBATP = 6 V to 18 V, TJ = –40°C to +150ºC (unless otherwise noted)
NO. PARAMETER TEST CONDITIONS MIN TYP MAX UNIT
1 fSW Nominal operating frequency 165 kHz
1 fSWTOL Operating frequency tolerance –15% 15%
1 fSYN CH Synch frequency range nominal 225 400 kHz
1 DSYN CH Synch input duty ratio 40% 60%
2 tr Gate drive transition time, rising VGTx = VGB × 6 V, CVGBx = 100 nF 500(1) ns
3 tf Gate drive transition time, falling VGTx = VGB × 6 V, CVGBx = 100 nF 100(1) ns
4 tDS Synchronous switch on delay 20 100(2) ns
5 tdt Top switch on delay 20 100 ns
tdc Minimum on time 3.5%(3) 98.2%(4)
Switching times will vary for different external FET.
Delay time is intended to guard against shoot-through losses and will be dependent upon the switch transition times. Measurements are done at either threshold values or 50% as shown below.
Don(min) = (1.2 V × (1 – tol)) / Vov(max) = (1.2 V × 0.95) / 33 V.
Min refresh time of 220 ns every five periods at 440 kHz.

Linear Regulator Switching Characteristics

VINLR = 3 V to 18 V, VBAT = VBATP = 6 V to 18 V, TJ = –40°C to +150ºC (unless otherwise noted) (see Figure 5)
NO. PARAMETER TEST CONDITIONS MIN TYP MAX UNIT
1 tdon Turnon delay 15 µs
2 tdoff Turnoff delay 15 µs
3 tdovsd Delay timer overvoltage shutdown 200 µs
4 tdrovsd Delay timer return from overvoltage shutdown 200 µs

High-Side Driver (HSD) Switching Characteristics

VBAT = VBATP = 6 V to 18 V, HSD1EN = 1, TJ = –40°C to +150ºC (unless otherwise noted) (see Figure 6)
NO. PARAMETER TEST CONDITIONS MIN TYP MAX UNIT
1 tdon Turnon delay(1) 0 15 µs
2 tdoff Turnoff delay RHSD = 180 Ω 0 200 µs
3 tr Rise time, 10% to 90% 25 75 µs
4 tdovsd Delay timer overvoltage shutdown 0 200 µs
5 tdrovsd Delay timer return from overvoltage shutdown 0 200 µs
Design information – Not tested

Timing and Switching Diagrams

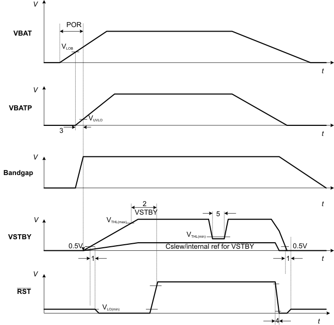
TPS43331-Q1 t_input_control_lvsa38.gif Figure 1. Input and Control Timing
TPS43331-Q1 t_input_control_vbatw_lvsa38.gif Figure 2. Input and Control Timing for VBATW
TPS43331-Q1 t_i2c_interface_lvsa38.gif Figure 3. Serial Communication AC Timing (I2C Interface)
TPS43331-Q1 t_switch_regs_lvsa38.gif Figure 4. Switching Regulators Timing
TPS43331-Q1 t_linear_reg_lvsa38.gif Figure 5. Linear Regulator Timing
TPS43331-Q1 t_hsd_lvsa38.gif Figure 6. HSD Timing

Typical Characteristics

TPS43331-Q1 g_vfb_ta_lvsa38.gif Figure 7. Feedback Reference vs Ambient Temperature
TPS43331-Q1 g_effic_iload_vout5v_switch1_lvsa38.gif Figure 9. Efficiency vs Load Current
TPS43331-Q1 g_hsd_rdson_ta_lvsa38.gif Figure 11. HSD RDS ON Resistance vs Ambient Temperature
TPS43331-Q1 g_iq_ta_lvsa38.gif Figure 13. Quiescent Current vs Ambient Temperature
TPS43331-Q1 g_vdo_vstby_ta_lvsa38.gif Figure 15. VSTBY Dropout Voltage vs Ambient Temperature
TPS43331-Q1 g_fsw_ta_lvsa38.gif Figure 8. Internal Fixed Switching Frequency vs Ambient Temperature
TPS43331-Q1 g_effic_iload_vout3p3v_switch2_lvsa38.gif Figure 10. Efficiency vs Load Current
TPS43331-Q1 g_vocthresh_ta_lvsa38.gif Figure 12. Overcurrent Voltage Threshold vs Ambient Temperature
TPS43331-Q1 g_vdo_vlr_ta_lvsa38.gif Figure 14. VLR Dropout Voltage vs Ambient Temperature