ZHCS898O October   2003  – March 2019 TMS320F2801 , TMS320F28015 , TMS320F28016 , TMS320F2802 , TMS320F2806 , TMS320F2808 , TMS320F2809

PRODUCTION DATA.  

  1. 1器件概述
    1. 1.1 特性
    2. 1.2 应用
    3. 1.3 说明
    4. 1.4 功能方框图
  2. 2修订历史记录
  3. 3Device Comparison
    1. 3.1 Related Products
  4. 4Terminal Configuration and Functions
    1. 4.1 Pin Diagrams
    2. 4.2 Signal Descriptions
  5. 5Specifications
    1. 5.1  Absolute Maximum Ratings
    2. 5.2  ESD Ratings – Automotive
    3. 5.3  ESD Ratings – Commercial
    4. 5.4  Recommended Operating Conditions
    5. 5.5  Power Consumption Summary
      1. Table 5-1 TMS320F2809, TMS320F2808 Current Consumption by Power-Supply Pins at 100-MHz SYSCLKOUT
      2. Table 5-2 TMS320F2806 Current Consumption by Power-Supply Pins at 100-MHz SYSCLKOUT
      3. Table 5-3 TMS320F2802, TMS320F2801 Current Consumption by Power-Supply Pins at 100-MHz SYSCLKOUT
      4. Table 5-4 TMS320C2802, TMS320C2801 Current Consumption by Power-Supply Pins at 100-MHz SYSCLKOUT
      5. 5.5.1     Reducing Current Consumption
      6. 5.5.2     Current Consumption Graphs
    6. 5.6  Electrical Characteristics
    7. 5.7  Thermal Resistance Characteristics for F280x 100-Ball GGM Package
    8. 5.8  Thermal Resistance Characteristics for F280x 100-Pin PZ Package
    9. 5.9  Thermal Resistance Characteristics for C280x 100-Ball GGM Package
    10. 5.10 Thermal Resistance Characteristics for C280x 100-Pin PZ Package
    11. 5.11 Thermal Resistance Characteristics for F2809 100-Ball GGM Package
    12. 5.12 Thermal Resistance Characteristics for F2809 100-Pin PZ Package
    13. 5.13 Thermal Design Considerations
    14. 5.14 Timing and Switching Characteristics
      1. 5.14.1 Timing Parameter Symbology
        1. 5.14.1.1 General Notes on Timing Parameters
        2. 5.14.1.2 Test Load Circuit
        3. 5.14.1.3 Device Clock Table
          1. Table 5-6 TMS320x280x Clock Table and Nomenclature (100-MHz Devices)
          2. Table 5-7 TMS320x280x/2801x Clock Table and Nomenclature (60-MHz Devices)
      2. 5.14.2 Power Sequencing
        1. Table 5-8 Reset (XRS) Timing Requirements
      3. 5.14.3 Clock Requirements and Characteristics
        1. Table 5-9  Input Clock Frequency
        2. Table 5-10 XCLKIN Timing Requirements - PLL Enabled
        3. Table 5-11 XCLKIN Timing Requirements - PLL Disabled
        4. Table 5-12 XCLKOUT Switching Characteristics (PLL Bypassed or Enabled)
      4. 5.14.4 Peripherals
        1. 5.14.4.1 General-Purpose Input/Output (GPIO)
          1. 5.14.4.1.1 GPIO - Output Timing
            1. Table 5-13 General-Purpose Output Switching Characteristics
          2. 5.14.4.1.2 GPIO - Input Timing
            1. Table 5-14 General-Purpose Input Timing Requirements
          3. 5.14.4.1.3 Sampling Window Width for Input Signals
          4. 5.14.4.1.4 Low-Power Mode Wakeup Timing
            1. Table 5-15 IDLE Mode Timing Requirements
            2. Table 5-16 IDLE Mode Switching Characteristics
            3. Table 5-17 STANDBY Mode Timing Requirements
            4. Table 5-18 STANDBY Mode Switching Characteristics
            5. Table 5-19 HALT Mode Timing Requirements
            6. Table 5-20 HALT Mode Switching Characteristics
        2. 5.14.4.2 Enhanced Control Peripherals
          1. 5.14.4.2.1 Enhanced Pulse Width Modulator (ePWM) Timing
            1. Table 5-21 ePWM Timing Requirements
            2. Table 5-22 ePWM Switching Characteristics
          2. 5.14.4.2.2 Trip-Zone Input Timing
            1. Table 5-23 Trip-Zone input Timing Requirements
          3. 5.14.4.2.3 High-Resolution PWM Timing
            1. Table 5-24 High-Resolution PWM Characteristics at SYSCLKOUT = 60–100 MHz
          4. 5.14.4.2.4 Enhanced Capture (eCAP) Timing
            1. Table 5-25 Enhanced Capture (eCAP) Timing Requirement
            2. Table 5-26 eCAP Switching Characteristics
          5. 5.14.4.2.5 Enhanced Quadrature Encoder Pulse (eQEP) Timing
            1. Table 5-27 Enhanced Quadrature Encoder Pulse (eQEP) Timing Requirements
            2. Table 5-28 eQEP Switching Characteristics
          6. 5.14.4.2.6 ADC Start-of-Conversion Timing
            1. Table 5-29 External ADC Start-of-Conversion Switching Characteristics
        3. 5.14.4.3 External Interrupt Timing
          1. Table 5-30 External Interrupt Timing Requirements
          2. Table 5-31 External Interrupt Switching Characteristics
        4. 5.14.4.4 I2C Electrical Specification and Timing
          1. Table 5-32 I2C Timing
        5. 5.14.4.5 Serial Peripheral Interface (SPI) Timing
          1. 5.14.4.5.1 SPI Master Mode Timing
            1. Table 5-33 SPI Master Mode External Timing (Clock Phase = 0)
            2. Table 5-34 SPI Master Mode External Timing (Clock Phase = 1)
          2. 5.14.4.5.2 SPI Slave Mode Timing
            1. Table 5-35 SPI Slave Mode External Timing (Clock Phase = 0)
            2. Table 5-36 SPI Slave Mode External Timing (Clock Phase = 1)
      5. 5.14.5 Emulator Connection Without Signal Buffering for the DSP
      6. 5.14.6 Flash Timing
        1. Table 5-37 Flash Endurance for A and S Temperature Material
        2. Table 5-38 Flash Endurance for Q Temperature Material
        3. Table 5-39 Flash Parameters at 100-MHz SYSCLKOUT
        4. Table 5-40 Flash/OTP Access Timing
        5. Table 5-41 Flash Data Retention Duration
    15. 5.15 On-Chip Analog-to-Digital Converter
      1. Table 5-43 ADC Electrical Characteristics
      2. 5.15.1     ADC Power-Up Control Bit Timing
        1. Table 5-44 ADC Power-Up Delays
        2. Table 5-45 Current Consumption for Different ADC Configurations (at 12.5-MHz ADCCLK)
      3. 5.15.2     Definitions
      4. 5.15.3     Sequential Sampling Mode (Single-Channel) (SMODE = 0)
        1. Table 5-46 Sequential Sampling Mode Timing
      5. 5.15.4     Simultaneous Sampling Mode (Dual-Channel) (SMODE = 1)
        1. Table 5-47 Simultaneous Sampling Mode Timing
      6. 5.15.5     Detailed Descriptions
    16. 5.16 Migrating From F280x Devices to C280x Devices
      1. 5.16.1 Migration Issues
    17. 5.17 ROM Timing (C280x only)
      1. Table 5-48 ROM/OTP Access Timing
  6. 6Detailed Description
    1. 6.1 Brief Descriptions
      1. 6.1.1  C28x CPU
      2. 6.1.2  Memory Bus (Harvard Bus Architecture)
      3. 6.1.3  Peripheral Bus
      4. 6.1.4  Real-Time JTAG and Analysis
      5. 6.1.5  Flash
      6. 6.1.6  ROM
      7. 6.1.7  M0, M1 SARAMs
      8. 6.1.8  L0, L1, H0 SARAMs
      9. 6.1.9  Boot ROM
      10. 6.1.10 Security
      11. 6.1.11 Peripheral Interrupt Expansion (PIE) Block
      12. 6.1.12 External Interrupts (XINT1, XINT2, XNMI)
      13. 6.1.13 Oscillator and PLL
      14. 6.1.14 Watchdog
      15. 6.1.15 Peripheral Clocking
      16. 6.1.16 Low-Power Modes
      17. 6.1.17 Peripheral Frames 0, 1, 2 (PFn)
      18. 6.1.18 General-Purpose Input/Output (GPIO) Multiplexer
      19. 6.1.19 32-Bit CPU-Timers (0, 1, 2)
      20. 6.1.20 Control Peripherals
      21. 6.1.21 Serial Port Peripherals
    2. 6.2 Peripherals
      1. 6.2.1  32-Bit CPU-Timers 0/1/2
      2. 6.2.2  Enhanced PWM Modules (ePWM1/2/3/4/5/6)
      3. 6.2.3  Hi-Resolution PWM (HRPWM)
      4. 6.2.4  Enhanced CAP Modules (eCAP1/2/3/4)
      5. 6.2.5  Enhanced QEP Modules (eQEP1/2)
      6. 6.2.6  Enhanced Analog-to-Digital Converter (ADC) Module
        1. 6.2.6.1 ADC Connections if the ADC Is Not Used
        2. 6.2.6.2 ADC Registers
      7. 6.2.7  Enhanced Controller Area Network (eCAN) Modules (eCAN-A and eCAN-B)
      8. 6.2.8  Serial Communications Interface (SCI) Modules (SCI-A, SCI-B)
      9. 6.2.9  Serial Peripheral Interface (SPI) Modules (SPI-A, SPI-B, SPI-C, SPI-D)
      10. 6.2.10 Inter-Integrated Circuit (I2C)
      11. 6.2.11 GPIO MUX
    3. 6.3 Memory Maps
    4. 6.4 Register Map
      1. 6.4.1 Device Emulation Registers
    5. 6.5 Interrupts
      1. 6.5.1 External Interrupts
    6. 6.6 System Control
      1. 6.6.1 OSC and PLL Block
        1. 6.6.1.1 External Reference Oscillator Clock Option
        2. 6.6.1.2 PLL-Based Clock Module
        3. 6.6.1.3 Loss of Input Clock
      2. 6.6.2 Watchdog Block
    7. 6.7 Low-Power Modes Block
  7. 7Applications, Implementation, and Layout
    1. 7.1 TI Design or Reference Design
  8. 8器件和文档支持
    1. 8.1 开始使用
    2. 8.2 器件和开发支持工具命名规则
    3. 8.3 工具与软件
    4. 8.4 文档支持
    5. 8.5 相关链接
    6. 8.6 Community Resources
    7. 8.7 商标
    8. 8.8 静电放电警告
    9. 8.9 Glossary
  9. 9机械、封装和可订购信息
    1. 9.1 封装信息

封装选项

请参考 PDF 数据表获取器件具体的封装图。

机械数据 (封装 | 引脚)
  • PZ|100
  • NMF|100
散热焊盘机械数据 (封装 | 引脚)
订购信息

Enhanced CAP Modules (eCAP1/2/3/4)

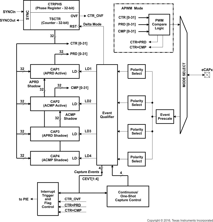
The 280x device contains up to four enhanced capture (eCAP) modules. Figure 6-5 shows a functional block diagram of a module. See the TMS320x280x, 2801x, 2804x Enhanced Capture (eCAP) module reference guide for more details.

TMS320F2809 TMS320F2808 TMS320F2806 TMS320F2802 TMS320F2801 TMS320C2802 TMS320C2801 TMS320F28016 TMS320F28015 ecap_prs230.gifFigure 6-5 eCAP Functional Block Diagram

The eCAP modules are clocked at the SYSCLKOUT rate.

The clock enable bits (ECAP1/2/3/4ENCLK) in the PCLKCR1 register are used to turn off the eCAP modules individually (for low power operation). Upon reset, ECAP1ENCLK, ECAP2ENCLK, ECAP3ENCLK, and ECAP4ENCLK are set to low, indicating that the peripheral clock is off.

Table 6-4 eCAP Control and Status Registers

NAME eCAP1 eCAP2 eCAP3 eCAP4 SIZE (x16) DESCRIPTION
TSCTR 0x6A00 0x6A20 0x6A40 0x6A60 2 Time-Stamp Counter
CTRPHS 0x6A02 0x6A22 0x6A42 0x6A62 2 Counter Phase Offset Value Register
CAP1 0x6A04 0x6A24 0x6A44 0x6A64 2 Capture 1 Register
CAP2 0x6A06 0x6A26 0x6A46 0x6A66 2 Capture 2 Register
CAP3 0x6A08 0x6A28 0x6A48 0x6A68 2 Capture 3 Register
CAP4 0x6A0A 0x6A2A 0x6A4A 0x6A6A 2 Capture 4 Register
Reserved 0x6A0C – 0x6A12 0x6A2C – 0x6A32 0x6A4C – 0x6A52 0x6A6C – 0x6A72 8 Reserved
ECCTL1 0x6A14 0x6A34 0x6A54 0x6A74 1 Capture Control Register 1
ECCTL2 0x6A15 0x6A35 0x6A55 0x6A75 1 Capture Control Register 2
ECEINT 0x6A16 0x6A36 0x6A56 0x6A76 1 Capture Interrupt Enable Register
ECFLG 0x6A17 0x6A37 0x6A57 0x6A77 1 Capture Interrupt Flag Register
ECCLR 0x6A18 0x6A38 0x6A58 0x6A78 1 Capture Interrupt Clear Register
ECFRC 0x6A19 0x6A39 0x6A59 0x6A79 1 Capture Interrupt Force Register
Reserved 0x6A1A – 0x6A1F 0x6A3A – 0x6A3F 0x6A5A – 0x6A5F 0x6A7A – 0x6A7F 6 Reserved