ZHCSAW0C February   2013  – October 2016 TLC59731

PRODUCTION DATA.  

  1. 特性
  2. 应用范围
  3. 说明
  4. 修订历史记录
  5. Pin Configuration and Functions
  6. Specifications
    1. 6.1 Absolute Maximum Ratings
    2. 6.2 ESD Ratings
    3. 6.3 Recommended Operating Conditions
    4. 6.4 Thermal Information
    5. 6.5 Electrical Characteristics
    6. 6.6 Switching Characteristics
    7. 6.7 Typical Characteristics
  7. Parameter Measurement Information
    1. 7.1 Pin-Equivalent Input and Output Schematic Diagrams
    2. 7.2 Test Circuits
  8. Detailed Description
    1. 8.1 Overview
    2. 8.2 Functional Block Diagram
    3. 8.3 Feature Description
      1. 8.3.1 Sink Current Value Setting
      2. 8.3.2 Resistor and Capacitor Value Setting for Shunt Regulator
      3. 8.3.3 Grayscale (GS) Control
      4. 8.3.4 EasySet and Shunt Regulator
      5. 8.3.5 No Limit Cascading
      6. 8.3.6 Connector Design
    4. 8.4 Device Functional Modes
      1. 8.4.1 Grayscale (GS) Function (PWM Control)
        1. 8.4.1.1 PWM Control
    5. 8.5 Programming
      1. 8.5.1 One-Wire Interface (EasySet) Data Writing Method
        1. 8.5.1.1 Data Transfer Rate (TCYCLE) Measurement Sequence
        2. 8.5.1.2 Data 0 and Data 1 Write Sequence (Data Write Sequence)
        3. 8.5.1.3 One Communication Cycle End of Sequence (EOS)
        4. 8.5.1.4 GS Data Latch (GSLAT) Sequence
        5. 8.5.1.5 How to Control Devices Connected in Series
    6. 8.6 Register Maps
      1. 8.6.1 Register and Data Latch Configuration
  9. Application and Implementation
    1. 9.1 Application Information
    2. 9.2 Typical Application
      1. 9.2.1 Design Requirements
      2. 9.2.2 Detailed Design Procedure
        1. 9.2.2.1 Define Basic Parameters
        2. 9.2.2.2 Grayscale (GS) Data
      3. 9.2.3 Application Curve
    3. 9.3 System Examples
    4. 9.4 Do's and Don'ts
  10. 10Power Supply Recommendations
  11. 11Layout
    1. 11.1 Layout Guidelines
    2. 11.2 Layout Example
  12. 12器件和文档支持
    1. 12.1 接收文档更新通知
    2. 12.2 社区资源
    3. 12.3 商标
    4. 12.4 静电放电警告
    5. 12.5 Glossary
  13. 13机械、封装和可订购信息

封装选项

机械数据 (封装 | 引脚)
散热焊盘机械数据 (封装 | 引脚)
订购信息

Specifications

Absolute Maximum Ratings

over operating free-air temperature range (unless otherwise noted)(1)
MIN MAX UNIT
Voltage(2) Supply, VCC VCC –0.3 7.0 V
Input, VIN SDI –0.3 VCC + 1.2
Output, VOUT OUT0 to OUT2 –0.3 21
SDO –0.3 7.0
Current Output (DC), IOUT OUT0 to OUT2 0 60 mA
Temperature Operating junction, TJ –40 150 °C
Storage temperature, Tstg –55 150
Stresses beyond those listed under Absolute Maximum Ratings may cause permanent damage to the device. These are stress ratings only, which do not imply functional operation of the device at these or any other conditions beyond those indicated under Recommended Operating Conditions. Exposure to absolute-maximum-rated conditions for extended periods may affect device reliability.
All voltages are with respect to network ground terminal.

ESD Ratings

VALUE UNIT
V(ESD) Electrostatic discharge Human body model (HBM), per ANSI/ESDA/JEDEC JS-001(1) ±8000 V
Charged-device model (CDM), per JEDEC specification JESD22-C101(2) ±2000
JEDEC document JEP155 states that 500-V HBM allows safe manufacturing with a standard ESD control process.
JEDEC document JEP157 states that 250-V CDM allows safe manufacturing with a standard ESD control process.

Recommended Operating Conditions

MIN NOM MAX UNIT
DC CHARACTERISTICS
VCC Supply voltage No internal shunt regulator mode 3.0 5 5.5 V
Internal shunt regulator mode 6
VO Voltage applied to output OUT0 to OUT2 21 V
VIH High-level input voltage SDI 0.7 × VCC VCC V
VIL Low-level input voltage SDI GND 0.3 × VCC V
VIHYST Input voltage hysteresis SDI 0.2 × VCC V
IOH High-level output current SDO –2 mA
IOL Low-level output current SDO 2 mA
OUT0 to OUT2 50
IREG Shunt regulator sink current VCC 20 mA
TA Operating free-air temperature range –40 +85 °C
TJ Operating junction temperature range –40 +125 °C
AC CHARACTERISTICS
fCLK (SDI) Data transfer rate SDI 20 600 kHz
tSDI SDI input pulse duration SDI 275 0.5 / fCLK ns
tWH Pulse duration, high SDI 14 ns
tWL Pulse duration, low SDI 14 ns
tH0 Hold time: end of sequence (EOS) SDI↑ to SDI↑ 3.5 / fCLK 5.5 / fCLK µs
tH1 Hold time: data latch (GSLAT) SDI↑ to SDI↑ 8 / fCLK µs

Thermal Information

THERMAL METRIC(1) TLC59731 UNIT
D (SOIC)
8 PINS
RθJA Junction-to-ambient thermal resistance 134.6 °C/W
RθJC(top) Junction-to-case (top) thermal resistance 88.6 °C/W
RθJB Junction-to-board thermal resistance 75.3 °C/W
ψJT Junction-to-top characterization parameter 37.7 °C/W
ψJB Junction-to-board characterization parameter 74.8 °C/W
RθJC(bot) Junction-to-case (bottom) thermal resistance N/A °C/W
For more information about traditional and new thermal metrics, see the Semiconductor and IC Package Thermal Metrics application report.

Electrical Characteristics

At TA = –40°C to +85°C, VCC = 3 V to 6.0 V, and CVCC = 0.1 µF. Typical values at TA = 25°C and VCC = 5.0 V, unless otherwise noted.
PARAMETER TEST CONDITIONS MIN TYP MAX UNIT
VOH High-level output voltage (SDO) IOH = –2 mA VCC – 0.4 VCC V
VOL Low-level output voltage (SDO) IOL = 2 mA 0 0.4 V
VR Shunt regulator output voltage (VCC) ICC = 1 mA, SDI = low 5.9 V
ICC0 Supply current (VCC) VCC = 3 V to 5.5 V, SDI = low, all grayscale (GSn) = FFh, VOUTn = 0.6 V, SDO = 15 pF 2.3 3.5 mA
ICC1 VCC = 3 V to 5.5V , SDI = 600 kHz, GSn = FFh, VOUTn = 0.6 V, SDO = 15 pF 2.6 4.5
IOL LED output current
(OUT0 to OUT2)
All OUTn = on, VOUTn = 0.6 V 32 40 mA
IOLKG Output leakage current
(OUT0 to OUT2)
GSn = 00h,
VOUTn = 21 V
TJ = –40°C to +85°C 0.1 μA
TJ = +85°C to +125°C 0.2
RPD Internal pulldown resistance (SDI) At SDI 1

Switching Characteristics

At TA = –40°C to 85°C, VCC = 3.0 V to 5.5 V, CL = 15 pF, RL = 110 Ω, and VLED = 5 V, unless otherwise noted.
Typical values are at TA = 25°C and VCC = 5 V.
PARAMETER TEST CONDITIONS MIN NOM MAX UNIT
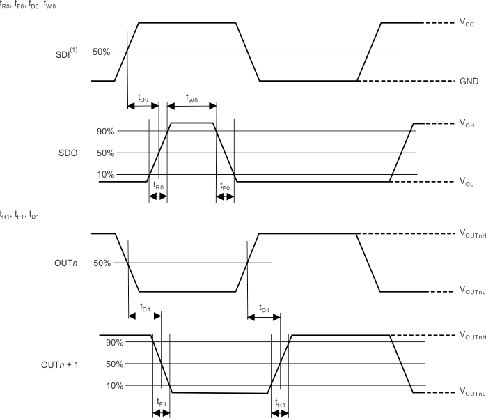
tR0 Rise time SDO 2 6 12 ns
tR1 OUTn (on → off) 200 400 ns
tF0 Fall time SDO 2 6 12 ns
tF1 OUTn (off → on) 200 400 ns
tD0 Propagation delay SDI↑ to SDO↑ 30 50 ns
tD1 OUT0↓ to OUT1↓, OUT1↓to OUT2↓,
OUT0↑ to OUT1↑, OUT1↑to OUT2↑
25 ns
tWO Shift data output one pulse duration SDO↑ to SDO↓ 75 125 250 ns
fOSC Internal GS oscillator frequency 4 6 8 MHz
TLC59731 tim_input_bvs222.gif
Input pulse rise and fall time is 1 ns to 3 ns.
Figure 1. Input Timing
TLC59731 tim_output_bvs222.gif
Input pulse rise and fall time is 1 ns to 3 ns.
Figure 2. Output Timing
TLC59731 tim_data_wr_outn_bvs222.gif
OUTn ON-time changes, depending on the data in the 24-bit GS data latch.
Figure 3. Data Write and Outn Switching Timing

Typical Characteristics

at TA = 25°C and VCC = 12 V (unless otherwise noted)
TLC59731 C001_SBVS222.png Figure 4. Output Current vs Output Voltage (Outn)