SLVSCZ9A October   2015  – November 2015 TLC59581 , TLC59582

PRODUCTION DATA.  

  1. Features
  2. Applications
  3. Description
  4. Revision History
  5. Description (continued)
  6. Pin Configuration and Functions
  7. Specifications
    1. 7.1 Absolute Maximum Ratings
    2. 7.2 ESD Ratings
    3. 7.3 Recommended Operating Conditions
    4. 7.4 Thermal Information
    5. 7.5 Electrical Characteristics
    6. 7.6 Typical Characteristics
  8. Parameter Measurement Information
    1. 8.1 Pin Equivalent Input and Output Schematic Diagrams
      1. 8.1.1 Test Circuits
    2. 8.2 Timing Diagrams
  9. Detailed Description
    1. 9.1 Overview
    2. 9.2 Functional Block Diagram
    3. 9.3 Device Functional Modes
      1. 9.3.1  Brightness Control (BC) Function
      2. 9.3.2  Color Brightness Control (CC) Function
      3. 9.3.3  Select RIREF For a Given BC
      4. 9.3.4  Choosing BC/CC For a Different Application
        1. 9.3.4.1 Example 1: Red LED Current is 20 mA, Green LED Needs 12 mA, Blue LED needs 8 mA
        2. 9.3.4.2 Example 2: Red LED Current is 5 mA, Green LED Needs 2 mA, Blue LED Needs 1 mA.
      5. 9.3.5  LED Open Detection (LOD)
      6. 9.3.6  Internal Circuit for Caterpillar Removal
      7. 9.3.7  Power Save Mode (PSM)
      8. 9.3.8  Internal Pre-Charge FET
      9. 9.3.9  Thermal Shutdown (TSD)
      10. 9.3.10 IREF Resistor Short Protection (ISP)
  10. 10Application and Implementation
  11. 11Power Supply Recommendations
  12. 12Layout
    1. 12.1 Layout Guidelines
    2. 12.2 Layout Example
  13. 13Device and Documentation Support
    1. 13.1 Documentation Support
      1. 13.1.1 Related Documentation
    2. 13.2 Related Links
    3. 13.3 Community Resources
    4. 13.4 Trademarks
    5. 13.5 Electrostatic Discharge Caution
    6. 13.6 Glossary
  14. 14Mechanical, Packaging, and Orderable Information

封装选项

机械数据 (封装 | 引脚)
散热焊盘机械数据 (封装 | 引脚)
订购信息

9 Detailed Description

9.1 Overview

TheTLC59581/82 device is a 48-channel constant-current sink driver for multiplexing system with 1 to 32 duty ratio. Each channel has an individually-adjustable, 65536-step, pulse width modulation (PWM) grayscale (GS).

48-kbit display memory is implemented to increase the visual refresh rate and to decrease the GS data writing frequency.

The support output current of the TLC59581/82 device ranges from 1 mA to 25 mA; channel-to-channel accuracy is 3% max, and device-to-device accuracy is 2% max in all current range. The device also implements Low Gray Scale Enhancement (LGSE) technology to improve the display quality at low grayscale condition. These features make the TLC59581/82 device more suitable for high-density multiplexing application.

The output channels are divided into three groups. Each group has a 512-step color brightness control (CC). CC adjusts brightness control between colors. The maximum current value of all 48 channels can be set by 8-step global brightness control (BC). BC adjusts brightness deviation between LED drivers. GS, CC and BC data are accessible through a serial interface port.

The TLC59581/82 device has one error flag: the LED open detection (LOD), which can be read through a serial interface port. The TLC59581/82 device has an enhanced circuit to resolve this caterpillar issue caused by an open LED. Thermal shut down (TSD) and IREF resistor short protection (ISP) ensure a higher system reliability. The TLC59581/82 device also has a power-save mode that sets the total current consumption to 0.8 mA (typical) when all outputs are off.

The TLC59581 can support 32 multiplexing, and the TLC59582 supports 16 multiplexing.

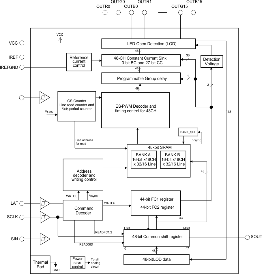
9.2 Functional Block Diagram

TLC59581 TLC59582 fbd_SLVSCZ9.gif

9.3 Device Functional Modes

After power on, all OUTXn of the TLC59581/82 device are turned off. All the internal counters and function control registers (FC1/FC2) are initialized. The following list is a brief summary of the sequence to operate the TLC59581/82 driver that gives users a general idea of how the device works. The function block related to each step is detailed in subsequent sections.

  1. According to required LED current, choose BC & CC code, select the current-programming resistor RIREF.
  2. Send WRTFC command to set FC1/2 register value if the default value need be changed.
  3. Write GS data of all lines (max 32/16 lines) into one of the two memory BANKs.
  4. Send Vsync command, the BANK with the GS data written just now will be displayed.
  5. Input GCLK continuously, 257GCLK (or 129GCLK) as a segment. Between the interval of two segments, supply voltage should be switched from one line to next line accordingly.
  6. During the same period of step 5, GS data for next frame should be written into another BANK.
  7. When the time of one frame ends, Vsync command should be input to swap the purpose of the two BANKs.

Repeat step 5 through 7.

9.3.1 Brightness Control (BC) Function

The TLC59581/82 device is able to adjust the output current of all constant-current outputs simultaneously. This function is called global brightness control (BC). The global BC for all outputs is programmed with a 3-bit word, thus all output currents can be adjusted in 8 steps from 12.9% to 100% for a given current-programming resistor, RIREF (See Table 2).

BC data can be set through the serial interface. When the BC data changes, the output current also changes immediately. When the device is powered on, the BC data in the function control (FC) register FC1 is set to 4h as the initial value.

9.3.2 Color Brightness Control (CC) Function

The TLC59581/82 device is able to adjust the output current of each of the three color groups OUTR0-OUTR15, OUTG0-OUTG15, and OUTB0-OUTB15 separately. This function is called color brightness control (CC). For each color, it has 9-bit data latch CCR, CCG, or CCB in FC1 register. Thus, all color group output currents can be adjusted in 512 steps from 0% to 100% of the maximum output current, IOLCMax. (See the next section for more detail about IOLCMax). The CC data are entered through the serial interface. When the CC data change, the output current also changes immediately.

When the IC is powered on, the CC data are set to ‘100h’. Equation 1 calculates the actual output current.

Equation 1. Iout(mA) = IOLCMax(mA) × ( CCR/511d or CCG/511d or CCB/511d)

where

  • IOLCMax = the maximum channel current for each channel, determined by BC data and RIREF (see Equation 2)
  • CCR/G/B = the color brightness control value for each color group in the FC1 register (000h to 1FFh)

Table 1 shows the CC data versus the constant-current against IOLCMax:

Table 1. CC Data vs Current Ratio and Set Current Value

CC DATA (CCR or CCG or CCB) RATIO OF OUTPUT CURRENT TO
IOLCMax(%, typical)
OUTPUT CURRENT (mA, RIREF = 7.41 kΩ)
BINARY DECIMAL HEX BC = 7 h
(IOLCMax = 25 mA)
BC = 0 h
(IOLCMax = 3.2 mA)
0 0000 0000 0 00 0 0 0
0 0000 0001 1 01 0.2 0.05 0.006
0 0000 0010 2 02 0.4 0.10 0.013
--- --- --- --- --- ---
1 0000 0000
(Default)
256
(Default)
100
(Default)
50.1 12.52 1.621
--- --- --- --- --- ---
1 1111 1101 509 1FD 99.6 24.90 3.222
1 1111 1110 510 1FE 99.8 24.95 3.229
1 1111 1111 511 1FF 100.0 25 3.235

9.3.3 Select RIREF For a Given BC

The maximum output current per channel, IOLCMax, is determined by resistor RIREF, placed between the IREF and IREFGND pins, and the BC code in FC1 register. The voltage on IREF is typically 1.209 V. RIREF can be calculated by Equation 2.

Equation 2. RIREF(kΩ) = VIREF(V) / IOLCMax(mA) × Gain

where

  • VIREF = the internal reference voltage on IREF (1.209 V, typical)
  • IOLCMax = the largest current for each output at CCR/G/B = 1FFh.
  • Gain = the current gain at a selected BC code (See Table 2 )

Table 2. Current Gain Versus BC Code

BC DATA GAIN RATIO OF
GAIN / GAIN_MAX (AT MAX BC)
BINARY HEX
000 (recommend) 0 (recommend) 20.4 12.9%
001 1 40.3 25.6%
010 2 59.7 52.4%
011 3 82.4 12.9%
100 (default) 4 (default) 101.8 64.7%
101 5 115.4 73.3%
110 6 144.3 91.7%
111 7 157.4 100%
NOTE: Recommend using a smaller BC code for better performance. For noise immunity purposes, suggest RIREF < 60 kΩ

9.3.4 Choosing BC/CC For a Different Application

BC is mainly used for global brightness adjustment between day and night. Suggested BC is 4h, which is in the middle of the range, allowing flexible changes in brightness up and down.

CC can be used to fine tune the brightness in 512 steps, this is suitable for white balance adjustment between RGB color group. To get a pure white color, the general requirement for the luminous intensity ratio of R, G, B LED is 3:6:1. Depending on the characteristics of the LED (Electro-Optical conversion efficiency), the current ratio of R, G, B LED will be much different from this ratio. Usually, the Red LED needs the largest current. Choose 511d (the max value) CC code for the color group that needs the largest initial current, then choose proper CC code for the other two color groups according to the current ratio requirement of the LED used.

9.3.4.1 Example 1: Red LED Current is 20 mA, Green LED Needs 12 mA, Blue LED needs 8 mA

  1. Red LED needs the largest current; choose 511d for CCR
  2. 511 x 12 mA / 20 mA = 306.6; choose 307d for CCG. With same method, choose 204d for CCB.
  3. According to the required red LED current, choose 7h for BC.
  4. According to Equation 2, RIREF = 1.209 V/20 mA x 157.4 = 9.5 kΩ

In this example, choose 7h for BC instead of using the default 4h. This is because the Red LED current is 20 mA, approaching the upper limit of current range. To prevent the constant output current from exceeding the upper limit in case a larger BC code is input accidently, choose the maximum BC code here.

9.3.4.2 Example 2: Red LED Current is 5 mA, Green LED Needs 2 mA, Blue LED Needs 1 mA.

  1. Red LED requires the largest current; choose 511d for CCR.
  2. 511 x 2 mA / 5 mA = 204.4; choose 204d for CCG. With same method, choose 102d for CCB.
  3. According to the required blue LED current, choose 0h for BC.
  4. According to Equation 2, RIREF = 1.209 V / 5 mA x 20.4 = 4.93 kΩ

In this example, choose 0h for BC, instead of using the default 4h. This is because the Blue LED current is 1 mA, is approaching the lower limit of current range. To prevent the constant output current from exceeding the lower limit in case a lower BC code is input accidently, choose the minimum BC code here. In general, if LED current is in the middle of the range (i.e, 10 mA), use the default 4h as BC code.

9.3.5 LED Open Detection (LOD)

The LOD function detects faults caused by an open circuit in any LED string; or, a short from OUTXn to ground with low impedance. It does this by comparing the OUTXn voltage to the LOD detection threshold voltage level set by LODVLT in the FC1 register. If the OUTXn voltage is lower than the programmed voltage, the corresponding output LOD bit is set to '1' to indicate an open LED. Otherwise, the output of that LOD bit is '0'. LOD data output by the detection circuit are valid only during the ‘on’ period of that OUTXn output channel. The LOD data are always ‘0’ for outputs that are turned off.

9.3.6 Internal Circuit for Caterpillar Removal

Caterpillar effect is a common issue for the LED panel. It is usually caused by LED lamp open, LED lamp leakage or LED lamp short. The TLC59581/82 device implements an internal circuit that can eliminate the caterpillar issue caused by LED open. The caterpillar removal function is enabled by setting LOD_MMC_EN (bit4 of FC1 register) to ‘1’. When powered on, the default value of this bit is ‘0’. When this function is enabled, the IC automatically detects the open LED lamp, and the lamp does not turn on until IC reset.

9.3.7 Power Save Mode (PSM)

The power-save mode (PSM) is enabled by setting PSAVE_ENA (bit5 of FC2 register) to ‘1’. At power on, this bit default is ‘0’.

When this function is enabled, if the GS data received for the next frame is all ‘0’, the IC enters power-save mode immediately.

When the IC is in power-save mode, it resumes normal mode when it detects non-zero GS data input. In power-save mode all analog circuits such as constant current output and the LOD circuit are not operational; the device total current consumption, ICC, is below 1 mA.

9.3.8 Internal Pre-Charge FET

The internal pre-charge FET can prevent ghosting of multiplexed LED modules. One cause of this phenomenon is the charging current for parasitic capacitance of the OUTXn through the LED when the supply voltage switches from one common line to the next common line.

To prevent this unwanted charging current, the TLC59581/82 device uses an internal FET to pull OUTXn up to VCC –1.4 V during the common line switching period. As a result, no charging current flows through LED and ghosting is eliminated.

9.3.9 Thermal Shutdown (TSD)

The thermal shutdown (TSD) function turns off all IC constant-current outputs when the junction temperature (TJ) exceeds 170°C (typical). It resumes normal operation when TJ falls below 160°C (typical).

9.3.10 IREF Resistor Short Protection (ISP)

The IREF resistor short protection (ISP) function prevents unwanted large currents from flowing though the constant-current output when the IREF resistor is shorted accidently. The TLC59581/82 device turns off all output channels when the IREF pin voltage is lower than 0.19 V (typical). When the IREF pin voltage goes higher than 0.325 V (typical), the TLC59581/82 device resumes normal operation.