ZHCSJO7A May   2008  – May 2019 SN74CBTLV3257-EP

 

  1. 1特性
  2. 2应用
  3. 3说明
    1.     Device Images
  4. 4修订历史记录
  5. 5Pin Configuration and Functions
    1. 5.1 Function Table
  6. 6Specifications
    1. 6.1 Absolute Maximum Ratings
    2. 6.2 Recommended Operating Conditions
    3. 6.3 Electrical Characteristics
    4. 6.4 Switching Characteristics
  7. 7Parameter Measurement Information
  8. 8器件和文档支持
    1. 8.1 接收文档更新通知
    2. 8.2 社区资源
    3. 8.3 商标
    4. 8.4 静电放电警告
    5. 8.5 Glossary
  9. 9机械、封装和可订购信息

封装选项

机械数据 (封装 | 引脚)
散热焊盘机械数据 (封装 | 引脚)
订购信息

Function Table

INPUTS FUNCTION
OE S
L L A port = B1 port
L H A port = B2 port
H X Disconnect
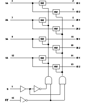
SN74CBTLV3257-EP ld_cds271.gifFigure 1. Logic Diagram (Positive Logic)
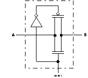
SN74CBTLV3257-EP simp_schem_cds271.gifFigure 2. Simplified Schematic, Each FET Switch