ZHCSR32A September   2004  – December 2022 SN74CBT3383C

PRODUCTION DATA  

  1. 特性
  2. 应用
  3. 说明
  4. Revision History
  5. 说明(续)
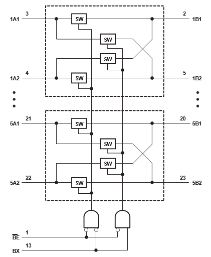
  6. Pin Configuration and Functions
  7. Specifications
    1. 7.1 Absolute Maximum Ratings
    2. 7.2 ESD Ratings
    3. 7.3 Recommended Operating Conditions
    4. 7.4 Thermal Information
    5. 7.5 Electrical Characteristics
    6. 7.6 Switching Characteristics
    7. 7.7 Undershoot Characteristics
  8. Parameter Measurement Information
  9. Detailed Description
    1. 9.1 Overview
    2. 9.2 Functional Block Diagram
    3. 9.3 Feature Description
      1. 9.3.1 Bidirectional Data Flow With Near-Zero Propagation Delay
    4. 9.4 Device Functional Modes
  10. 10Application and Implementation
    1. 10.1 Application Information
    2. 10.2 Typical Application
      1. 10.2.1 Design Requirements
      2. 10.2.2 Detailed Design Procedure
      3. 10.2.3 Application Curve
  11. 11Power Supply Recommendations
  12. 12Layout
    1. 12.1 Layout Guidelines
    2. 12.2 Layout Example
  13. 13Device and Documentation Support
    1. 13.1 接收文档更新通知
    2. 13.2 支持资源
    3. 13.3 Trademarks
    4. 13.4 Electrostatic Discharge Caution
    5. 13.5 术语表
  14. 14Mechanical, Packaging, and Orderable Information

封装选项

请参考 PDF 数据表获取器件具体的封装图。

机械数据 (封装 | 引脚)
  • DBQ|24
  • DW|24
  • PW|24
散热焊盘机械数据 (封装 | 引脚)
订购信息

特性

  • 针对 A 端口和 B 端口上的断开隔离提供高达 −2V 的下冲保护
  • 具有接近零传播延迟的双向数据流
  • 低导通状态电阻 (ron) 特性(ron 典型值 = 3Ω)
  • 低输入和输出电容可更大程度减小负载和信号失真(Cio(OFF) 典型值 = 8pF)
  • 数据与控制输入提供下冲钳位二极管
  • 低功耗(ICC 最大值为 3μA)
  • VCC 工作范围为 4V 至 5.5V,数据 I/O 支持 0 至 5V 的信号电平(0.8V、1.2V、1.5V、1.8V、2.5V、3.3V 和 5V)
  • 控制输入可由 TTL 或 5V/3.3V CMOS 输出驱动
  • Ioff 支持局部关断模式运行
  • 闩锁性能超过 100mA,符合 JESD 78 II 类规范
  • ESD 性能测试符合 JESD 22− 2000V 人体放电模型(A114-B,II 类)− 1000V 充电器件模型 (C101) 标准
  • 支持数字和模拟应用:PCI 接口、内存交错、总线隔离、低失真信号门控
GUID-20220513-SS0I-GKGG-WNJ2-0NMMHMH2JFH7-low.png逻辑图(正逻辑)