SLAS396D July   2003  – November 2016 MSP430FE423 , MSP430FE425 , MSP430FE427

PRODUCTION DATA.  

  1. 1Device Overview
    1. 1.1 Features
    2. 1.2 Applications
    3. 1.3 Description
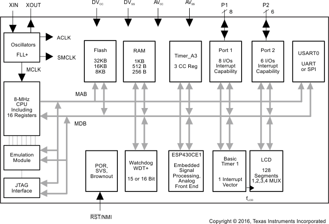
    4. 1.4 Functional Block Diagram
  2. 2Revision History
  3. 3Device Comparison
    1. 3.1 Related Products
  4. 4Terminal Configuration and Functions
    1. 4.1 Pin Diagram
    2. 4.2 Signal Descriptions
  5. 5Specifications
    1. 5.1  Absolute Maximum Ratings
    2. 5.2  ESD Ratings
    3. 5.3  Recommended Operating Conditions
    4. 5.4  Supply Current Into AVCC and DVCC Excluding External Current
    5. 5.5  Thermal Resistance Characteristics, PM Package (LQFP64)
    6. 5.6  Schmitt-Trigger Inputs − Ports (P1 and P2), RST/NMI, JTAG (TCK, TMS, TDI/TCLK,TDO/TDI)
    7. 5.7  Inputs P1.x, P2.x, TAx
    8. 5.8  Leakage Current − Ports (P1 and P2)
    9. 5.9  Outputs − Ports (P1 and P2)
    10. 5.10 Output Frequency
    11. 5.11 Typical Characteristics - Ports P1 and P2
    12. 5.12 Wake-up Time From LPM3
    13. 5.13 RAM
    14. 5.14 LCD
    15. 5.15 USART0
    16. 5.16 POR, BOR
    17. 5.17 SVS (Supply Voltage Supervisor and Monitor)
    18. 5.18 DCO
    19. 5.19 Crystal Oscillator, LFXT1 Oscillator
    20. 5.20 ESP430CE1, SD16 and ESP430 Power Supply and Operating Conditions
    21. 5.21 ESP430CE1, SD16 Input Range
    22. 5.22 ESP430CE1, SD16 Performance
    23. 5.23 ESP430CE1, SD16 Temperature Sensor
    24. 5.24 ESP430CE1, SD16 Built-in Voltage Reference
    25. 5.25 ESP430CE1, SD16 Reference Output Buffer
    26. 5.26 ESP430CE1, SD16 External Reference Input
    27. 5.27 ESP430CE1, Active Energy Measurement Test Conditions and Accuracy
    28. 5.28 ESP430CE1, Active Energy Measurement Test Conditions and Accuracy
    29. 5.29 ESP430CE1 Typical Characteristics (I1 SD16GAINx = 1)
    30. 5.30 ESP430CE1 Typical Characteristics (I1 SD16GAINx = 4)
    31. 5.31 ESP430CE1 Typical Characteristics (I1 SD16GAINx = 8)
    32. 5.32 ESP430CE1 Typical Characteristics (I1 SD16GAINx = 32)
    33. 5.33 Flash Memory
    34. 5.34 JTAG Interface
    35. 5.35 JTAG Fuse
  6. 6Detailed Description
    1. 6.1  CPU
    2. 6.2  Instruction Set
    3. 6.3  Operating Modes
    4. 6.4  Interrupt Vector Addresses
    5. 6.5  Special Function Registers
    6. 6.6  Memory Organization
    7. 6.7  Bootloader (BSL)
    8. 6.8  Flash Memory
    9. 6.9  Peripherals
      1. 6.9.1  Oscillator and System Clock
      2. 6.9.2  Brownout, Supply Voltage Supervisor (SVS)
      3. 6.9.3  Digital I/O
      4. 6.9.4  Basic Timer1
      5. 6.9.5  LCD Drive
      6. 6.9.6  Watchdog Timer (WDT+)
      7. 6.9.7  Timer_A3
      8. 6.9.8  USART0
      9. 6.9.9  ESP430CE1
      10. 6.9.10 Peripheral File Map
    10. 6.10 Input/Output Diagrams
      1. 6.10.1 Port P1 (P1.0 and P1.1) Input/Output With Schmitt Trigger
      2. 6.10.2 Port P1 (P1.2 to P1.7) Input/Output With Schmitt Trigger
      3. 6.10.3 Port P2 (P2.0 and P2.1) Input/Output With Schmitt Trigger
      4. 6.10.4 Port P2 (P2.2 to P2.5) Input/Output With Schmitt Trigger
      5. 6.10.5 Port P2 (P2.6 and P2.7) Unbonded GPIOs
      6. 6.10.6 JTAG Pins TMS, TCK, TDI/TCLK, TDO/TDI, Input/Output With Schmitt-Trigger or Output
      7. 6.10.7 JTAG Fuse Check Mode
  7. 7Device and Documentation Support
    1. 7.1  Getting Started and Next Steps
    2. 7.2  Device Nomenclature
    3. 7.3  Tools and Software
    4. 7.4  Documentation Support
    5. 7.5  Related Links
    6. 7.6  Community Resources
    7. 7.7  Trademarks
    8. 7.8  Electrostatic Discharge Caution
    9. 7.9  Export Control Notice
    10. 7.10 Glossary
  8. 8Mechanical, Packaging, and Orderable Information

封装选项

机械数据 (封装 | 引脚)
散热焊盘机械数据 (封装 | 引脚)
订购信息

Device Overview

Features

  • Low Supply Voltage Range: 2.7 V to 3.6 V
  • Ultra-Low Power Consumption:
    • Active Mode: 400 µA at 1 MHz, 3 V
    • Standby Mode: 1.6 µA
    • Off Mode (RAM Retention): 0.1 µA
  • Five Power-Saving Modes
  • Wake up From Standby Mode in Less Than 6 µs
  • Frequency-Locked Loop, FLL+
  • 16-Bit RISC Architecture, 125-ns Instruction Cycle Time
  • Embedded Signal Processing for Single-Phase Energy Metering With Integrated Analog Front End and Temperature Sensor (ESP430CE1)
  • 16-Bit Timer_A With Three Capture/Compare Registers
  • Integrated LCD Driver for 128 Segments
  • Serial Communication Interface (USART), Asynchronous UART or Synchronous SPI Selectable by Software
  • Brownout Detector
  • Supply Voltage Supervisor and Monitor With Programmable Level Detection
  • Serial Onboard Programming, No External Programming Voltage Needed, Programmable Code Protection by Security Fuse
  • Bootloader (BSL)
  • Family Members Include:
    • MSP430FE423
      8KB + 256 B of Flash Memory, 256 B of RAM
    • MSP430FE425
      16KB + 256 B of Flash Memory, 512 B of RAM
    • MSP430FE427
      32KB + 256 B of Flash Memory, 1KB of RAM
  • Available in 64-Pin Quad Flat Pack (LQFP)
  • For Complete Module Descriptions, See the MSP430x4xx Family User's Guide

Applications

  • 2-Wire and 3-Wire Single-Phase Meters
  • Tamper-Resistant Meters

Description

The TI MSP430™ family of ultra-low-power microcontrollers consists of several devices featuring different sets of peripherals targeted for various applications. The architecture, combined with five low-power modes, is optimized to achieve extended battery life in portable measurement applications. The device features a powerful 16-bit RISC CPU, 16-bit registers, and constant generators that contribute to maximum code efficiency. The digitally controlled oscillator (DCO) allows the device to wake up from low-power modes to active mode in less than 6 µs.

The MSP430FE42x series are microcontroller configurations with three independent 16-bit sigma-delta ADCs and an embedded signal processor core used to measure and calculate single-phase energy in both 2-wire and 3-wire configurations. Also included are a built-in 16-bit timer, 128-segment LCD drive capability, and 14 I/O pins.

Typical applications include 2-wire and 3-wire single-phase metering including tamper-resistant meter implementations.

Device Information(1)

PART NUMBER PACKAGE BODY SIZE(2)
MSP430FE427IPM LQFP (64) 10 mm × 10 mm
MSP430FE425IPM LQFP (64) 10 mm × 10 mm
MSP430FE423IPM LQFP (64) 10 mm × 10 mm
For the most current part, package, and ordering information for all available devices, see the Package Option Addendum in Section 8, or see the TI website at www.ti.com.
The sizes shown here are approximations. For the package dimensions with tolerances, see the Mechanical Data in Section 8.

Functional Block Diagram

Figure 1-1 shows the functional block diagram.

MSP430FE427 MSP430FE425 MSP430FE423 func_block_dgm.gif Figure 1-1 MSP430FE42x Block Diagram