ZHCSGS0 August   2017 DRV5012

PRODUCTION DATA.  

  1. 特性
  2. 应用
  3. 说明
  4. 修订历史记录
  5. Pin Configuration and Functions
  6. Specifications
    1. 6.1 Absolute Maximum Ratings
    2. 6.2 ESD Ratings
    3. 6.3 Recommended Operating Conditions
    4. 6.4 Thermal Information
    5. 6.5 Electrical Characteristics
    6. 6.6 Magnetic Characteristics
    7. 6.7 Typical Characteristics
  7. Detailed Description
    1. 7.1 Overview
    2. 7.2 Functional Block Diagram
    3. 7.3 Feature Description
      1. 7.3.1 Magnetic Flux Direction
      2. 7.3.2 Magnetic Response
      3. 7.3.3 Output Driver
      4. 7.3.4 Sampling Rate
      5. 7.3.5 SEL Pin
      6. 7.3.6 Hall Element Location
    4. 7.4 Device Functional Modes
  8. Application and Implementation
    1. 8.1 Application Information
    2. 8.2 Typical Applications
      1. 8.2.1 BLDC Motor Sensors Application
        1. 8.2.1.1 Design Requirements
        2. 8.2.1.2 Detailed Design Procedure
        3. 8.2.1.3 Application Curve
      2. 8.2.2 Incremental Rotary Encoding Application
        1. 8.2.2.1 Design Requirements
        2. 8.2.2.2 Detailed Design Procedure
        3. 8.2.2.3 Application Curve
    3. 8.3 Do's and Don'ts
  9. Power Supply Recommendations
  10. 10Layout
    1. 10.1 Layout Guidelines
    2. 10.2 Layout Example
  11. 11器件和文档支持
    1. 11.1 器件支持
      1. 11.1.1 开发支持
    2. 11.2 接收文档更新通知
    3. 11.3 社区资源
    4. 11.4 商标
    5. 11.5 静电放电警告
    6. 11.6 Glossary
  12. 12机械、封装和可订购信息

封装选项

请参考 PDF 数据表获取器件具体的封装图。

机械数据 (封装 | 引脚)
  • DMR|4
散热焊盘机械数据 (封装 | 引脚)
订购信息

Detailed Description

Overview

The DRV5012 device is a magnetic sensor with a digital output that latches the most recent pole measured. Applying a south magnetic pole near the top of the package causes the output to drive low, a north pole causes the output to drive high, and the absence of a magnetic field causes the output to continue to drive the previous state, whether low or high.

The device integrates a Hall effect element, analog signal conditioning, and a low-frequency oscillator that enables ultra-low average power consumption. By operating from a 1.65-V to 5.5-V supply, the device periodically measures magnetic flux density, updates the output, and enters a low-power sleep state. A logic input pin, SEL, sets the sampling frequency to 20 Hz or 2.5 kHz with a tradeoff in power consumption.

Functional Block Diagram

DRV5012 FBD.gif

Feature Description

Magnetic Flux Direction

The DRV5012 device is sensitive to the magnetic field component that is perpendicular to the top of the package (as shown in Figure 7).

DRV5012 dir.gif Figure 7. Direction of Sensitivity

Magnetic flux that travels from the bottom to the top of the package is considered positive in this data sheet. This condition exists when a south magnetic pole is near the top of the package. Magnetic flux that travels from the top to the bottom of the package results in negative millitesla values.

DRV5012 pol.gif Figure 8. Flux Direction Polarity

Magnetic Response

Figure 9 shows the device functionality and hysteresis.

DRV5012 graph.gif Figure 9. Device Functionality

Output Driver

The device features a push-pull CMOS output that can drive a VCC or ground level.

DRV5012 pushp.gif Figure 10. Push-Pull Output (Simplified)

Sampling Rate

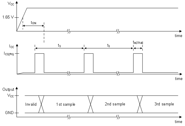
When the DRV5012 device powers up, it measures the first magnetic sample and sets the output within the tON time. The output is latched, and the device enters an ultra-low-power sleep state. After each tS time has passed, the device measures a new sample and updates the output if necessary. If the magnetic field does not change between periods, the output also does not change.

DRV5012 timing.gif Figure 11. Timing Diagram

SEL Pin

The SEL pin is a CMOS input that selects between two sampling rates. When the pin is low, the device samples at 20 Hz and uses low power. When the pin is high, the device samples at 2500 Hz and uses more power. The SEL pin can be tied directly high or low, or it can be changed during device operation. If the SEL voltage changes, the device detects the new voltage during the next tACTIVE time.

Hall Element Location

The sensing element inside the device is in the center of the package when viewed from the top. Figure 12 shows the tolerances and side-view dimensions.

DRV5012 ele.gif Figure 12. Hall Element Location

Device Functional Modes

The DRV5012 device has two operating modes, 20 Hz and 2.5 kHz, as set by the SEL pin. In both cases the Recommended Operating Conditions must be met.