ZHCSF53A April   2016  – June 2016

PRODUCTION DATA.  

  1. 特性
  2. 应用
  3. 说明
  4. 修订历史记录
  5. Device Comparison
  6. Pin Configuration and Functions
  7. Specifications
    1. 7.1 Absolute Maximum Ratings
    2. 7.2 ESD Ratings
    3. 7.3 Recommended Operating Conditions
    4. 7.4 Thermal Information
    5. 7.5 Electrical Characteristics
    6. 7.6 Typical Characteristics
  8. Detailed Description
    1. 8.1 Overview
    2. 8.2 Functional Block Diagram
    3. 8.3 Feature Description
      1. 8.3.1  MP-A5 Coil Specification
      2. 8.3.2  High Voltage Dedicated Charging Port (HVDCP) Negotiation
      3. 8.3.3  Fast Charge Support
      4. 8.3.4  Option Select Pins
      5. 8.3.5  FOD and Parasitic Metal Object Detect (PMOD) Calibration
      6. 8.3.6  FOD Ping Calibration
      7. 8.3.7  Shut Down Through External Thermal Sensor or Trigger
      8. 8.3.8  Fault Handling and Indication
      9. 8.3.9  Power Transfer Start Signal
      10. 8.3.10 Power-On Reset
      11. 8.3.11 External Reset, RESET Pin
      12. 8.3.12 Trickle Charge and CS100
    4. 8.4 Device Functional Modes
      1. 8.4.1 LED Modes
      2. 8.4.2 Power Transfer
      3. 8.4.3 Communication
      4. 8.4.4 Power Trains
      5. 8.4.5 Power Train Voltage Control
      6. 8.4.6 Signal Processing Components
  9. Application and Implementation
    1. 9.1 Application Information
    2. 9.2 Typical Application
      1. 9.2.1 Design Requirements
      2. 9.2.2 Detailed Design Procedure
        1. 9.2.2.1 Capacitor Selection
        2. 9.2.2.2 Current Monitoring Requirements
        3. 9.2.2.3 All Unused Pins
        4. 9.2.2.4 Input Regulators
        5. 9.2.2.5 Input Power Requirements
        6. 9.2.2.6 LED Mode
      3. 9.2.3 Application Curves
  10. 10Power Supply Recommendations
  11. 11Layout
    1. 11.1 Layout Guidelines
    2. 11.2 Layout Example
  12. 12器件和文档支持
    1. 12.1 器件支持
    2. 12.2 接收文档更新通知
    3. 12.3 社区资源
    4. 12.4 商标
    5. 12.5 静电放电警告
    6. 12.6 Glossary
  13. 13机械、封装和可订购信息

封装选项

机械数据 (封装 | 引脚)
散热焊盘机械数据 (封装 | 引脚)
订购信息

9 Application and Implementation

NOTE

Information in the following applications sections is not part of the TI component specification, and TI does not warrant its accuracy or completeness. TI’s customers are responsible for determining suitability of components for their purposes. Customers should validate and test their design implementation to confirm system functionality.

9.1 Application Information

The bq501210 device is a wireless power transmitter controller designed for 15-W WPC compliant applications and 5-W applications with WPC v1.1 low power receivers. It integrates all functions required to control wireless power transfer to a WPC v1.2 compliant receiver. Several tools are available for the design of the system. See the product folder (www.ti.com/product/bq501210) for more details. The following sections highlight some of the system design considerations.

9.2 Typical Application

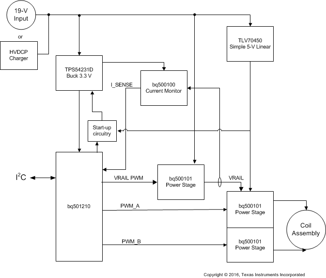
Figure 9 shows the application block diagram for the transmitter.

bq501210 TX_System_Functional_Diagram_sluscf5.gif Figure 9. bq501210 System Diagram

9.2.1 Design Requirements

Table 4. Design Parameters

DESIGN PARAMETER VALUE
WPC coil type MP-A5
Input voltage 15 V to 19 V provides full 15-W operation.
HVDCP negotiated 9 V or 12 V provides < 15 W
5 V provides up to 4.5 W

9.2.2 Detailed Design Procedure

9.2.2.1 Capacitor Selection

Capacitor selection is critical to proper system operation. The total capacitance value of 2 × 100 nF + 47 nF is required in the resonant tank. This is the WPC system compatibility requirement, not a guideline.

NOTE

A total capacitance value of 2 × 100 nF + 47 nF (C0G dielectric type, 100-V rating) is required in the resonant tank to achieve the correct resonance frequency.

The capacitors chosen must be rated for at least 100 V and must be of a high-quality C0G dielectric (sometimes also called NP0). These are typically available in a 5% tolerance, which is adequate. TI does not recommend the use of X7R types or below if WPC compliance is required because critical WPC Certification Testing, such as the minimum modulation or guaranteed power test, might fail.

The designer can combine capacitors to achieve the desired capacitance value. Various combinations can work depending on market availability. All capacitors must be of C0G types (not mixed with any other dielectric types).

9.2.2.2 Current Monitoring Requirements

The bq501210 is WPC v1.2 ready. To enable the PMOD or FOD features, provide current monitoring in the design.

For proper scaling of the current monitor signal, the current sense resistor should be 20 mΩ and the current shunt amplifier should have a gain of 50, such as the bq500100 (SBOS765). For FOD accuracy, the current sense resistor must be a quality component with 0.5% tolerance, at least 1/4-W rating, and a temperature stability of ±200 PPM. Proper current sensing techniques in the application hardware should also be observed.

9.2.2.3 All Unused Pins

All unused pins can be left open unless otherwise indicated. Refer to the table in Pin Configuration and Functions. To improve PCB layout, ground unused pins, if it is an option.

9.2.2.4 Input Regulators

The bq501210 requires 3.3 VDC to operate. A buck converter is used to step down from the supply voltage, such as the TPS54231D used in this design.

9.2.2.5 Input Power Requirements

The bq501210 system works with 5-V to 19-V input voltage. Levels between 15 V and 19 V will deliver 15 W, which is required for a WPC Extended Power Profile (EPP) transmitter.

5-V input supplies are aimed to negotiate to HVDCP voltages of 9 V or 12 V which enables Fast Charging of capable receivers. The system may also deliver power as a normal 5-V transmitter, however, the power level will be reduced and provinging power to higher voltage receivers may not be successful. A typical 5-V receiver has shown to produce 4.5 W consistently. Coupling and other factors will greatly influence the results of each system.

9.2.2.6 LED Mode

The bq501210 can directly drive three LED outputs (LED-A, LED-B, and LED-C). Select one of the desired LED indication schemes by choosing the selection resistor connected between LED_MODE and GND.

9.2.3 Application Curves

bq501210 D002_SLUSCF5.gif
WPC 15-W Receiver Output Voltages
8 V, 10 V, 12 V
Figure 10. bq501210 System Efficiency with 15-W RX
bq501210 D004_SLUSCF5.gif
5-W RX (5-V Out) bq51020, bq51221, bq51013B
10-W RX (7-V Out) bq51025
Figure 12. System Efficiency Comparison: 15-W WPC v1.2 RX and Multiple WPC v1.1 RX
bq501210 D003_SLUSCF5.gif
WPC v1.1 RX (5-V Output)
bq51013B, bq51020, bq51221
Figure 11. bq501210 + v1.1 RX System Efficiency
bq501210 D005_SLUSCF5.gif
5-W RX (5-V Out) bq51020, bq51221, bq51013B
10-W RX (7-V Out) bq51025
Figure 13. VRAIL Voltage Level vs WPC RX Load