ZHCSIY6A October   2018  – January 2019 AFE7422

PRODUCTION DATA.  

  1. 1特性
  2. 2应用
  3. 3说明
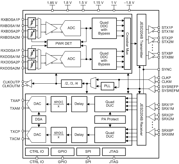
    1.     功能框图
  4. 4修订历史记录
  5. 5器件和文档支持
    1. 5.1 接收文档更新通知
    2. 5.2 社区资源
    3. 5.3 商标
    4. 5.4 静电放电警告
    5. 5.5 术语表
  6. 6"机械、封装和可订购信息

封装选项

机械数据 (封装 | 引脚)
散热焊盘机械数据 (封装 | 引脚)
订购信息

说明

AFE7422 是具有 14 位 9GSPS DAC 和 14 位 3GSPS ADC 的双路通道宽频带射频采样模拟前端 (AFE)。可在高达 6GHz 的射频下工作,此器件支持直接射频采样到 C 频带,无需其他频率转换阶段。密度和灵活性的改进实现了对高通道数、多任务系统的支持。

DAC 信号路径支持插值和数字上变频选项,提供高达 1200MHz 信号带宽。差动输出路径包括支持输出功率调优的数字步进衰减器 (DSA)。

每个 ADC 输入路径包括一个双通道 DSA 和射频数字功率检测器。灵活的抽取选项提供数据带宽优化,并且抽取旁路模式也可用于最大信号带宽。

8 通道 (8 TX + 8 RX) 子类 1 兼容性 JESD204B 接口运行速度高达 15Gbps。可旁路片上 PLL 通过可选时钟输出简化时钟运行。

器件信息(1)

器件型号 封装 封装尺寸(标称值)
AFE7422 FCBGA (400) 17.00mm x 17.00mm
  1. 如需了解所有可用封装,请参阅数据表末尾的封装选项附录。

功能框图

AFE7422 afe7422-functional-block-diagram.gif