ZHCSCA3 March   2014 AMC7832

PRODUCTION DATA.  

  1. 特性
  2. 应用范围
  3. 说明
  4. 功率放大器偏置图表
  5. 修订历史记录
  6. Terminal Configuration and Functions
  7. Specifications
    1. 7.1  Absolute Maximum Ratings
    2. 7.2  Handling Ratings
    3. 7.3  Recommended Operating Conditions
    4. 7.4  Thermal Information
    5. 7.5  Electrical Characteristics
    6. 7.6  Timing Requirements - Serial Interface
    7. 7.7  Typical Characteristics: DAC
    8. 7.8  Typical Characteristics: ADC
    9. 7.9  Typical Characteristics: Reference
    10. 7.10 Typical Characteristics: Temperature Sensor
  8. Detailed Description
    1. 8.1 Overview
    2. 8.2 Functional Block Diagram
    3. 8.3 Feature Description
      1. 8.3.1 Digital-to-Analog Converters (DACs)
        1. 8.3.1.1 DAC Output Range and Clamp Configuration
        2. 8.3.1.2 DAC Register Structure
        3. 8.3.1.3 DAC Clear Operation
      2. 8.3.2 Analog-to-Digital Converter (ADC)
        1. 8.3.2.1 Analog Inputs
          1. 8.3.2.1.1 Bipolar Analog Inputs
          2. 8.3.2.1.2 Unipolar Analog Inputs
        2. 8.3.2.2 ADC Sequencing
        3. 8.3.2.3 ADC Synchronization
        4. 8.3.2.4 Programmable Out-of-Range Alarms
          1. 8.3.2.4.1 Unipolar Inputs Out-of-Range Alarms
          2. 8.3.2.4.2 Internal Temperature Sensor Out-of-Range Alarms
          3. 8.3.2.4.3 ALARMIN Alarm
          4. 8.3.2.4.4 Hysteresis
          5. 8.3.2.4.5 False-Alarm Protection
      3. 8.3.3 Internal Temperature Sensor
      4. 8.3.4 Internal Reference
      5. 8.3.5 General Purpose I/Os
    4. 8.4 Programming
    5. 8.5 Register Map
      1. 8.5.1  Interface Configuration: Address 0x00 - 0x02
      2. 8.5.2  Device Identification: Address 0x03 - 0x0D
      3. 8.5.3  Register Update (Buffered Registers): Address 0x0F
      4. 8.5.4  General Device Configuration: Address 0x10 - 0x17
      5. 8.5.5  DAC Clear And ALARMOUT Source Select: Address 0x1A - 0x1D
      6. 8.5.6  DAC Range: Address 0x1E
      7. 8.5.7  ADC Data: Address 0x20 - 0x41
      8. 8.5.8  DAC Data: Address 0x50 - 0x67
      9. 8.5.9  Status Registers: Address 0x70 - 0x72
      10. 8.5.10 Temperature And GPIO Data: Address 0x78 - 0x7A
      11. 8.5.11 Out-Of-Range ADC Thresholds: Address 0x80 - 0x93
      12. 8.5.12 Hysteresis: Address 0xA0 - 0xA5
      13. 8.5.13 Power-Down Registers: Address 0xB0 - 0xB3
      14. 8.5.14 ADC Trigger: Address 0xC0
  9. Applications and Implementation
    1. 9.1 Application Information
    2. 9.2 Typical Application
      1. 9.2.1 Application Schematic
      2. 9.2.2 Design Requirements
      3. 9.2.3 Detailed Design Procedure
        1. 9.2.3.1 ADC Input Conditioning
        2. 9.2.3.2 DAC Output Range Selection
        3. 9.2.3.3 Temperature Sensing Applications
        4. 9.2.3.4 Application Curves
  10. 10Power Supply Recommendations
  11. 11Layout
    1. 11.1 Layout Guidelines
    2. 11.2 Layout Example
  12. 12器件和文档支持
    1. 12.1 Trademarks
    2. 12.2 Electrostatic Discharge Caution
    3. 12.3 Glossary
  13. 13机械封装和可订购信息

7 Specifications

7.1 Absolute Maximum Ratings

over operating free-air temperature range (unless otherwise noted)(1)
MIN MAX UNIT
Supply voltage range AVDD to GND -0.3 +6 V
DVDD to GND -0.3 +6 V
IOVDD to GND -0.3 DVDD V
AVCC to GND -0.3 +18 V
AVEE to GND -13 +0.3 V
AVSSA,B,C,D to AVEE -0.3 +13 V
AVCC to AVSSA,B,C,D -0.3 +26 V
AVCC to AVEE -0.3 +26 V
DGND to AGND -0.3 +0.3 V
Terminal voltage/
Current range
ADC_[0-11] analog input voltage to GND –13 +13 V
ADC_[0-11] analog input current -10 +10 mA
LV_ADC[12-16] analog input voltage to GND -0.3 AVDD + 0.3 V
LV_ADC[12-16] analog input current -10 +10 mA
DAC outputs to GND AVSS - 0.3 AVCC + 0.3 V
REF_CMP to GND -0.3 AVDD + 0.3 V
REF_OUT[1-2] to GND -0.3 AVDD + 0.3 V
VRANGE[A-D] to GND -0.3 AVDD + 0.3 V
CS, SCLK, SDI and RESET to GND -0.3 IOVDD + 0.3 V
SDO to GND -0.3 IOVDD + 0.3 V
GPIO[0-7] to GND -0.3 IOVDD + 0.3 V
GPIO[0-7] sinking current 5 mA
Operating temperature range -40 +125 °C
Junction temperature range (TJ max) -40 +150 °C
(1) Stresses beyond those listed under Absolute Maximum Ratings may cause permanent damage to the device. These are stress ratings only, which do not imply functional operation of the device at these or any other conditions beyond those indicated under Recommended Operating Conditions. Exposure to absolute-maximum-rated conditions for extended periods may affect device reliability.

7.2 Handling Ratings

PARAMETER DEFINITION MIN MAX UNIT
Tstg Storage temperature range -40 +150 °C
VESD(1) Human body model (HBM) ESD stress voltage(2) 2.0 kV
Charged device model (CDM) ESD stress voltage(3) 750 V
(1) Electrostatic discharge (ESD) to measure device sensitivity and immunity to damage caused by assembly line electrostatic discharges in to the device.
(2) Level listed above is the passing level per ANSI, ESDA, and JEDEC JS-001. JEDEC document JEP155 states that 500-V HBM allows safe manufacturing with a standard ESD control process.
(3) Level listed above is the passing level per EIA-JEDEC JESD22-C101. JEDEC document JEP157 states that 250-V CDM allows safe manufacturing with a standard ESD control process.

7.3 Recommended Operating Conditions

over operating free-air temperature range (unless otherwise noted)
MIN NOM MAX UNIT
Supply voltage AVDD 4.5 5 5.5 V
DVDD (DVDD must be equal to AVDD) 4.5 5 5.5 V
IOVDD (IOVDD must be equal or less than DVDD) 1.8 5.5 V
AVCC 4.5 12 12.5 V
AVEE –12.5 –12 0 V
AVSSA,B,C,D AVEE 0 V
Specified temperature range –40 25 105 °C
Operating temperature range –40 25 125 °C

7.4 Thermal Information

THERMAL METRIC(1) AMC7832 UNIT
PAP (64 TERMINALS)
θJA Junction-to-ambient thermal resistance 26.5 °C/W
θJCtop Junction-to-case (top) thermal resistance 7.9
θJB Junction-to-board thermal resistance 9.9
ψJT Junction-to-top characterization parameter 0.2
ψJB Junction-to-board characterization parameter 9.8
θJCbot Junction-to-case (bottom) thermal resistance 0.3
(1) For more information about traditional and new thermal metrics, see the IC Package Thermal Metrics application report, SPRA953.

7.5 Electrical Characteristics

The electrical ratings specified in this section apply to all specifications in this document, unless otherwise noted. These specifications are interpreted as conditions that do not degrade the device parametric or functional specifications for the life of the product containing it. AVDD = DVDD = +4.5 to +5.5-V, AVCC = +12-V, AVEE = -12-V, IOVDD = +1.8 to +5.5-V, AGND = DGND = 0-V, AVSSA,B,C,D = 0-V (DAC groups in positive ranges) or -12-V (DAC groups in negative range), DAC output range = 0 to 10-V for all groups, no load on the DACs, TA = -40°C to +105°C (unless otherwise noted)
PARAMETER TEST CONDITIONS MIN TYP MAX UNIT
DAC SPECIFICATIONS
DAC DC ACCURACY
Resolution 12 Bits
INL Relative accuracy Measured by line passing through codes 020h and FFFh.
0 to +10-V and -10 to 0-V ranges
±1 LSB
Measured by line passing through codes 040h and FFFh.
0 to +5-V range
±1.5
DNL Differential nonlinearity Specified monotonic.
Measured by line passing through codes 020h and FFFh.
0 to +10-V and -10 to 0-V ranges.
Measured by line passing through codes 040h and FFFh.
0 to +5-V range
±0.3 ±1 LSB
TUE Total unadjusted error(2) TA = 25°C
0 to +10-V range and -10 to 0-V ranges
±20 mV
TA = 25°C
0 to +5-V range
±10 mV
Offset error TA = 25°C, Measured by line passing through codes 020h and FFFh,
0 to +10-V range
±5 mV
TA = 25°C, Measured by line passing through codes 040h and FFFh,
0 to +5-V range
±5 mV
Zero-code error TA = 25°C, Code 000h, -10 to 0-V range ±20 mV
Gain error(2) TA = 25°C, Measured by line passing through codes 020h and FFFh,
0 to +10-V and -10 to 0-V ranges
±0.2 %FSR
TA = 25°C, Measured by line passing through codes 040h and FFFh,
0 to +5-V range
±0.2 %FSR
Offset temperature coefficient 0 to +10-V and 0 to +5-V ranges ±1 ppm/°C
Zero-code temperature coefficient -10 to 0-V range ±2 ppm/°C
Gain temperature coefficient All output ranges ±1 ppm/°C
DAC OUTPUT CHARACTERISTICS
Full-scale output voltage range(1) VRANGEn terminal set to AGND
DAC-5VRANGEn bit set to 0
0 10 V
VRANGEn terminal set to AGND
DAC-5VRANGEn bit set to 1
0 5 V
VRANGEn terminal set to +2.5V
DAC-5VRANGEn bit set to 0
–10 0 V
Output voltage settling time Transition: Code 400h to C00h to within ½ LSB, RL = 2kΩ, CL = 200pF,
0 to +10-V and -10 to 0-V ranges
10 µs
Transition: Code 400h to C00h to within ½ LSB, RL = 2kΩ, CL = 200pF,
0 to +5-V range
8 µs
Slew rate Transition: Code 400h to C00h to within ½ LSB, RL = 2kΩ, CL = 200pF,
all DAC output ranges
1.25 V/µs
Short-circuit current Full-scale current shorted to AVSS or AVCC 45 mA
Load current Source and/or sink with 1V headroom from AVCC/AVSS, voltage drop < 25mV(4) ±15 mA
Source and/or sink with 300mV headroom from AVCC/AVSS, voltage drop < 25mV ±10 mA
Source with 100mV headroom from AVCC(5) 0 mA
Maximum capacitive load(3) RL = ∞ 0 10 nF
DC output impedance Code set to 800h, ±15mA 1 Ω
Power-on overshoot AVEE = AVSSA,B,C,D = GND,
AVCC = 0 to +12V, 2ms ramp
50 mV
Glitch energy Transition: Code 7FFh to 800h; 800h to 7FFh 1 nV-s
Output noise TA = 25°C, 1kHz, code 800h, includes internal reference noise 520 nV/√Hz
TA = 25°C, integrated noise from 0.1Hz to 10Hz, code 800h, includes internal reference noise 20 µVPP
CLAMP OUTPUTS
Clamp output voltage(8) DAC output range: 0 to +10-V 0 V
DAC output range: 0 to +5-V 0 V
DAC output range: -10 to 0-V,
AVSS = -12-V
AVSS + 2 V
ADC AND TEMPERATURE SENSOR SPECIFICATIONS
Resolution 12 Bits
INL Integral nonlinearity Unipolar input channels ±0.5 ±1 LSB
Bipolar input channels ±0.75 ±1.5 LSB
DNL Differential nonlinearity Specified monotonic. All input channels ±0.5 ±1 LSB
UNIPOLAR ANALOG INPUTS: LV_ADC12 to LV_ADC16
Absolute input voltage range GND – 0.2 AVDD + 0.2 V
Full scale input range 0 2 × VREF V
Input capacitance VREF measured at REF_CMP terminal 34 pF
DC input leakage current Unselected ADC input ±10 µA
Offset error ±2 ±5 LSB
Offset error match ±2.5 LSB
Gain error(2) ±1 ±5 LSB
Gain error match ±1 LSB
Update time Single unipolar input, temperature sensor disabled 11.5 µs
BIPOLAR ANALOG INPUTS: ADC_0 to ADC_11
Absolute input voltage range –13 +13 V
Full scale input range -12.5 12.5 V
Input resistance 175
Offset error ±5 ±10 LSB
Gain error(2) ±5 ±10 LSB
Update time Single bipolar input, temperature sensor disabled 34.5 µs
TEMPERATURE SENSOR
Operating range -40 125 °C
Accuracy TA = -40°C to 125°C, AVDD = +5-V ±1.25 ±2.5 °C
Resolution LSB size 0.25 °C
Update time All ADC input channels disabled 256 µs
AUTOCYCLE UPDATE TIME
Autocycle update time All 17 ADC inputs enabled, temperature sensor disabled 471.5 µs
All 17 ADC inputs and temperature sensor enabled 727.5 µs
INTERNAL REFERENCE SPECIFICATIONS
INTERNAL REFERENCE (Internal reference not accessable)
Initial accuracy TA = 25°C 2.4925 2.5 2.5075 V
Reference temp. coefficient(6) 12 35 ppm/°C
REF_OUT[1-2] BUFFERS(7)
Reference buffer offset TA = 25°C ±2.5 mV
Capacitive load stability 100 pF
INTERNAL ADC REFERENCE BUFFER
Reference buffer offset TA = 25°C ±5 mV
GENERAL SPECIFICATIONS
DIGITAL LOGIC: GPIO
VIH High-level input voltage IOVDD =+1.8 to +5.5-V 0.7×IOVDD V
VIL Low-level input voltage IOVDD = +1.8-V 0.45 V
IOVDD = +2.7 to +5.5-V 0.3×IOVDD V
VOL Low-level output voltage IOVDD = +1.8-V, Iload = -2-mA 0.4 V
IOVDD= +5.5-V, Iload = -5-mA 0.4 V
Input impedance To IOVDD 48
DIGITAL LOGIC: All Except GPIO
VIH High-level input voltage IOVDD = +1.8 to +5.5-V 0.7×IOVDD V
VIL Low-level input voltage IOVDD = +1.8-V 0.45 V
IOVDD = +2.7 to +5.5-V 0.3×IOVDD V
VOH High-level output voltage Iload = -1-mA IOVDD-0.4 V
VOL Low-level output voltage Iload = +1-mA 0.4 V
High-impedance leakage ±5 µA
High-impedance output capacitance 10 pF
TIMING REQUIREMENTS
Reset delay Delay to normal operation from reset 100 250 µs
Power-down recovery time 70 µs
Clamp shutdown delay CL = 10nF 100 µs
Convert pulse width 20 ns
Reset pulse width 20 ns
POWER-SUPPLY REQUIREMENTS
IAVDD AVDD supply current No DAC load, all DACs at 800h code and ADC at the fastest auto conversion rate 10 mA
IAVCC AVCC supply current 10 mA
IAVSS AVSS supply current –10 mA
IDVDD DVDD supply current 3 mA
IIOVDD IOVDD supply current 15 µA
Power consumption 160 mW
IAVDD AVDD supply current Power down mode 2 mA
IAVCC AVCC supply current 2 mA
IAVSS AVSS supply current –5.5 mA
IDVDD DVDD supply current 2 mA
IIOVDD IOVDD supply current 12 µA
Power consumption 55 mW
(1) The output voltage cannot be greater than AVCC or lower than AVSS. See the DAC Output Range Selection section for more details.
(2) Internal reference contribution not included.
(3) To be sampled during initial release to ensure compliance; not subject to production testing.
(4) If all channels are loaded with 15mA simultaneously care must be taken to ensure the thermal conditions for the device are not exceeded.
(5) Not tested during production. Specified by design.
(6) Not tested during production. Specified by design and characterization.
(7) Intended to drive the VRANGEA,B,C,D inputs only. An external buffer amplifier with high impedance input is required to drive any additional external load.
(8) No DAC load to AVSS.

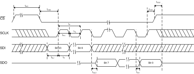
7.6 Timing Requirements - Serial Interface(1)(2)

AVDD = DVDD = +4.5 to +5.5-V, AVCC = +12-V, AVEE = -12-V, AGND = DGND = AVSSA,B,C,D = 0-V, DAC output range = 0 to +10-V for all groups, no load on the DACs, TA = -40°C to +105°C (unless otherwise noted)
PARAMETER TEST CONDITIONS MIN TYP MAX UNIT
IOVDD = +1.8-V to +2.7-V
fSCLK SCLK frequency 15 MHz
tP SCLK period 66.67 ns
tPH SCLK pulse width high 27 ns
tPL SCLK pulse width low 27 ns
tSU SDI setup 10 ns
tH SDI hold 10 ns
tODZ SDO driven to tri-state 0 15 ns
tOZD SDO tri-state to driven 0 20 ns
tOD SDO output delay 0 20 ns
tCSS CS setup 5 ns
tCSH CS hold 20 ns
tIAG Inter-access gap 10 ns
IOVDD = +2.7-V to +5.5-V
fSCLK SCLK frequency 20 MHz
tP SCLK period 50 ns
tPH SCLK pulse width high 22.5 ns
tPL SCLK pulse width low 20 ns
tSU SDI setup 10 ns
tH SDI hold 10 ns
tODZ SDO driven to tri-state 0 9 ns
tOZD SDO tri-state to driven 0 12 ns
tOD SDO output delay 0 15 ns
tCSS CS setup 5 ns
tCSH CS hold 20 ns
tIAG Inter-access gap 10 ns
(1) Specified by design and characterization. Not tested during production.
(2) SDO loaded with 10-pF load capacitance for SDO timing specifications.
ser_wr_tim_las836.gifFigure 1. Serial Interface Write Timing Diagram
ser_rd_tim_las836.gifFigure 2. Serial Interface Read Timing Diagram

7.7 Typical Characteristics: DAC

C001_SLAS836_DNL_vCode_10U.png
T = 25°C, 0V to 10V range
Figure 3. Differential Linearity Error vs Code
C003_SLAS836_DNL_vCode_n10U.png
T = 25°C, -10V to 0V range
Figure 5. Differential Linearity Error vs Code
C005_SLAS836_DNL_vCode_5U.png
T = 25°C, 0V to 5V range
Figure 7. Differential Linearity Error vs Code
C007_SLAS836_INLvsTmp_10U.png
0V to 10V range
Figure 9. Linearity Error vs Temperature
C009_SLAS836_INLvsTmp_n10U.png
-10V to 0V range
Figure 11. Linearity Error vs Temperature
C011_SLAS836_INLvsTmp_5U.png
0V to 5V range
Figure 13. Linearity Error vs Temperature
C013_SLAS836_DOSvsTmp_5U_10U.png
Figure 15. Offset Error vs Temperature
C015_SLAS836_GEvsTmp_ALL.png
Figure 17. Gain Error vs Temperature
C017_SLAS836_DACout_src_10U.png
T = 25°C, AVCC = 10V, AVEE = 0V, Input Code 0xFFF, 0 to 10V range
Figure 19. Source Current
C019_SLAS836_DAC_settling_v_ld.png
T = 25°C, Code 0x400 to 0xC00 to within 1/2 LSB
Figure 21. Settling Time vs Load Capacitance
C020_SLAS836_DAC_Noise_v_Freq.png
T = 25°C, Input Code 0x800
Figure 23. Noise Voltage vs Frequency
C021_SLAS836_DAC_OVRSHT_Single.png
T = 25°C, AVSS = AVEE = AGND, AVCC 0 to 12V, 2 ms ramp
Figure 25. Power-On Overshoot Single Supply
C023_SLAS836_DAC_clamp_response.png
T = 25°C, -10V to 0V range, DAC Code 0xFFF, No Load
Figure 27. Clamp Response
C025_SLAS836_SupplyCollapse.png
T = 25°C, -10V to 0V range, DAC Code 0xFFF, No Load
Figure 29. Supply Collapse DAC Response
C002_SLAS836_INL_vCode_10U.png
T = 25°C, 0V to 10V range
Figure 4. Linearity Error vs Code
C004_SLAS836_INL_vCode_n10U.png
T = 25°C, -10V to 0V range
Figure 6. Linearity Error vs Code
C006_SLAS836_INL_vCode_5U.png
T = 25°C, 0V to 5V range
Figure 8. Linearity Error vs Code
C008_SLAS836_DNLvsTmp_10U.png
0V to 10V range
Figure 10. Differential Linearity Error vs Temperature
C010_SLAS836_DNLvsTmp_n10U.png
-10V to 0V range
Figure 12. Differential Linearity Error vs Temperature
C012_SLAS836_DNLvsTmp_5U.png
0V to 5V range
Figure 14. Differential Linearity Error vs Temperature
C014_SLAS836_ZSEvsTmp_n10U.png
-10V to 0V range
Figure 16. Zero-Scale Error vs Temperature
C016_SLAS836_DACout_v_Load_10U.png
T = 25°C, Input Code 0x800, 0 to 10V range
Figure 18. Output Voltage vs Load Current
C018_SLAS836_DACout_sink_10U.png
T = 25°C, AVCC = 10V, AVEE = 0V, Input Code 0x000, 0 to 10V range
Figure 20. Sink Current
C019a_SLAS836_DAC_settling_vsld.png
T = 25°C, Code 0xC00 to 0x400 to within 1/2 LSB
Figure 22. Settling Time vs Load Capacitance
C020a_SLAS836_DAC_Noise0p1_10Hz.png
T = 25°C, Input Code 0x800
Figure 24. 0.1Hz to 10Hz Noise
C022_SLAS836_DAC_OVRSHT_Dual.png
T = 25°C, AVSS = AVEE = -12V, AVCC 0 to 12V, 2 ms ramp
Figure 26. Power-On Overshoot Dual Supply
C024_SLAS836_DAC_Clamp_Recovery.png
T = 25°C, -10V to 0V range, DAC Code 0xFFF, No Load
Figure 28. Clamp Recovery

7.8 Typical Characteristics: ADC

C026_SLAS836_ADC_INLvCode_Gen.png
T = 25°C, Unipolar Input
Figure 30. Linearity Error vs Code
C028_SLAS836_ADC_INLvCode_BiPol.png
T = 25°C, Bipolar Input
Figure 32. Linearity Error vs Code
C030_SLAS836_INL_v_temp_5U.png
Unipolar input
Figure 34. Linearity Error vs Temperature
C032_SLAS836_INL_v_temp_12p5.png
Bipolar input
Figure 36. Linearity Error vs Temperature
C034_SLAS836_AOS_v_temp_ADC.png
Figure 38. Offset vs Temperature
C027_SLAS836_ADC_DNLvCode_Gen.png
T = 25°C, Unipolar Input
Figure 31. Differential Linearity Error vs Code
C029_SLAS836_ADC_DNLvCode_BiPol.png
T = 25°C, Bipolar Input
Figure 33. Differential Linearity Error vs Code
C031_SLAS836_DNL_v_temp_5U.png
Unipolar input
Figure 35. Differential Linearity Error vs Temperature
C033_SLAS836_DNL_v_temp_12p5.png
Bipolar input
Figure 37. Differential Linearity Error vs Temperature
C035_SLAS836_GE_v_temp_ADC.png
Figure 39. Gain Error vs Temperature

7.9 Typical Characteristics: Reference

C036_SLAS836_Reference_v_temp.png
10 units, REF_OUT1
Figure 40. Output Voltage vs Temperature

7.10 Typical Characteristics: Temperature Sensor

C037_SLAS836_TemSensorErr_vtmp.png
10 units
Figure 41. Temperature Sensor Error vs Temperature