ZHCS960C June   2012  – January 2017 ADS131E04 , ADS131E06 , ADS131E08

PRODUCTION DATA.  

  1. 特性
  2. 应用
  3. 说明
  4. 修订历史记录
  5. Device Comparison
  6. Pin Configuration and Functions
  7. Specifications
    1. 7.1 Absolute Maximum Ratings
    2. 7.2 ESD Ratings
    3. 7.3 Recommended Operating Conditions
    4. 7.4 Thermal Information
    5. 7.5 Electrical Characteristics
    6. 7.6 Timing Requirements
    7. 7.7 Switching Characteristics
    8. 7.8 Typical Characteristics
  8. Parameter Measurement Information
    1. 8.1 Noise Measurements
  9. Detailed Description
    1. 9.1 Overview
    2. 9.2 Functional Block Diagram
    3. 9.3 Feature Description
      1. 9.3.1  Electromagnetic Interference (EMI) Filter
      2. 9.3.2  Input Multiplexer
        1. 9.3.2.1 Device Noise Measurements
        2. 9.3.2.2 Test Signals (TestP and TestN)
        3. 9.3.2.3 Temperature Sensor (TempP, TempN)
        4. 9.3.2.4 Power-Supply Measurements (MVDDP, MVDDN)
      3. 9.3.3  Analog Input
      4. 9.3.4  PGA Settings and Input Range
        1. 9.3.4.1 Input Common-Mode Range
      5. 9.3.5  ΔΣ Modulator
      6. 9.3.6  Clock
      7. 9.3.7  Digital Decimation Filter
      8. 9.3.8  Voltage Reference
      9. 9.3.9  Input Out-of-Range Detection
      10. 9.3.10 General-Purpose Digital I/O (GPIO)
    4. 9.4 Device Functional Modes
      1. 9.4.1 Start
        1. 9.4.1.1 Settling Time
        2. 9.4.1.2 Input Signal Step
      2. 9.4.2 Reset (RESET)
      3. 9.4.3 Power-Down (PWDN)
      4. 9.4.4 Continuous Conversion Mode
      5. 9.4.5 Data Retrieval
        1. 9.4.5.1 Data Ready (DRDY)
        2. 9.4.5.2 Reading Back Data
        3. 9.4.5.3 Status Word
        4. 9.4.5.4 Readback Length
    5. 9.5 Programming
      1. 9.5.1 Data Format
      2. 9.5.2 SPI Interface
        1. 9.5.2.1 Chip Select (CS)
        2. 9.5.2.2 Serial Clock (SCLK)
        3. 9.5.2.3 Data Input (DIN)
        4. 9.5.2.4 Data Output (DOUT)
      3. 9.5.3 SPI Command Definitions
        1. 9.5.3.1  Sending Multibyte Commands
        2. 9.5.3.2  WAKEUP: Exit STANDBY Mode
        3. 9.5.3.3  STANDBY: Enter STANDBY Mode
        4. 9.5.3.4  RESET: Reset Registers to Default Values
        5. 9.5.3.5  START: Start Conversions
        6. 9.5.3.6  STOP: Stop Conversions
        7. 9.5.3.7  OFFSETCAL: Channel Offset Calibration
        8. 9.5.3.8  RDATAC: Start Read Data Continuous Mode
        9. 9.5.3.9  SDATAC: Stop Read Data Continuous Mode
        10. 9.5.3.10 RDATA: Read Data
        11. 9.5.3.11 RREG: Read from Register
        12. 9.5.3.12 WREG: Write to Register
    6. 9.6 Register Map
      1. 9.6.1 Register Descriptions
        1. 9.6.1.1 ID: ID Control Register (Factory-Programmed, Read-Only) (address = 00h) [reset = xxh]
        2. 9.6.1.2 CONFIG1: Configuration Register 1 (address = 01h) [reset = 91h]
        3. 9.6.1.3 CONFIG2: Configuration Register 2 (address = 02h) [reset = E0h]
        4. 9.6.1.4 CONFIG3: Configuration Register 3 (address = 03h) [reset = 40]
        5. 9.6.1.5 FAULT: Fault Detect Control Register (address = 04h) [reset = 00h]
        6. 9.6.1.6 CHnSET: Individual Channel Settings (address = 05h to 0Ch) [reset = 10h]
        7. 9.6.1.7 FAULT_STATP: Fault Detect Positive Input Status (address = 12h) [reset = 00h]
        8. 9.6.1.8 FAULT_STATN: Fault Detect Negative Input Status (address = 13h) [reset = 00h]
        9. 9.6.1.9 GPIO: General-Purpose IO Register (address = 14h) [reset = 0Fh]
  10. 10Application and Implementation
    1. 10.1 Application Information
      1. 10.1.1 Unused Inputs and Outputs
      2. 10.1.2 Setting the Device Up for Basic Data Capture
      3. 10.1.3 Multiple Device Configuration
        1. 10.1.3.1 Synchronizing Multiple Devices
        2. 10.1.3.2 Standard Configuration
        3. 10.1.3.3 Daisy-Chain Configuration
      4. 10.1.4 Power Monitoring Specific Applications
      5. 10.1.5 Current Sensing
      6. 10.1.6 Voltage Sensing
    2. 10.2 Typical Application
      1. 10.2.1 Design Requirements
      2. 10.2.2 Detailed Design Procedure
      3. 10.2.3 Application Curves
  11. 11Power Supply Recommendations
    1. 11.1 Power-Up Timing
    2. 11.2 Recommended External Capacitor Values
    3. 11.3 Device Connections for Unipolar Power Supplies
    4. 11.4 Device Connections for Bipolar Power Supplies
  12. 12Layout
    1. 12.1 Layout Guidelines
    2. 12.2 Layout Example
  13. 13器件和文档支持
    1. 13.1 器件支持
      1. 13.1.1 Third-Party Products Disclaimer
    2. 13.2 相关链接
    3. 13.3 接收文档更新通知
    4. 13.4 社区资源
    5. 13.5 商标
    6. 13.6 静电放电警告
    7. 13.7 Glossary
  14. 14机械、封装和可订购信息

封装选项

机械数据 (封装 | 引脚)
散热焊盘机械数据 (封装 | 引脚)
订购信息

特性

  • 八路差分模数转换器 (ADC) 输入
  • 优异的性能:
    • 动态范围:1kSPS 时为 118dB
    • 串扰:-110dB
    • 总谐波失真 (THD):50Hz 和 60Hz 时为 -90dB
  • 模拟电源范围选项:
    • 3V 至 5V(单极)
    • ±2.5V(双极,允许直流耦合)
  • 数字:1.8V 至 3.6V
  • 低功耗:每通道 2mW
  • 数据速率:1,2,4,8,16,32,和 64kSPS
  • 可编程增益:1、2、4、8 和 12
  • 故障检测和器件测试功能
  • SPI™数据接口和四个通用输入输出接口 (GPIO)
  • 封装:薄型四方扁平封装 (TQFQ)-64 (PAG)
  • 工作温度范围:
    -40°C 至 +105°C

应用

  • 电源保护:断路器和继电器保护
  • 电能计量:单相、多相和电能质量
  • 电池测试系统
  • 测试和测量
  • 同步采样数据采集系统

说明

ADS131E0x 是一系列多通道同步采样、24 位 Δ-Σ 模数转换器 (ADC),内置可编程增益放大器(PGA)、内部基准和板载振荡器。凭借 ADC 的宽动态范围、可扩展数据传输速率以及内部故障检测监测计,ADS131E0x 受到工业电源监测和保护 以及测试和测量应用的青睐。真正的高阻抗输入支持 ADS131E0x 直接与电阻分压器网络或电压互感器相连以测量线路电压或与电流互感器或罗戈夫斯基线圈相连来测量电流。借助于高集成度和出色的性能,ADS131E0x 系列产品可在大大降低尺寸、功耗和总体成本的前提下创建可升级的工业用电源系统。

ADS131E0x 在每通道上有一个灵活输入多路复用器,此多路复用器被独立连接至内部生成信号以实现测试、温度、和故障检测。故障检测可在器件内部执行,此器件使用集成的带有受数模转换器 (DAC) 控制的触发电平的比较器。ADS131E0x 运行的数据速率可高达 64kSPS。

这些完整的模拟前端 (AFE) 解决方案封装在 TQFP-64 封装内并且额定工业用温度范围为 -40°C 至 +105°C。

器件信息(1)

器件型号 封装 封装尺寸(标称值)
ADS131E0x TQFP (64) 10.00mm x 10.00mm
  1. 要了解所有可用封装,请参见数据表末尾的可订购产品附录。

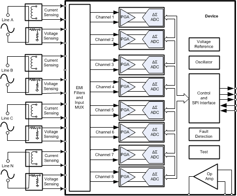
ADS131E08 简化电路原理图

ADS131E04 ADS131E06 ADS131E08 fbd_sbas561.gif

修订历史记录

Changes from B Revision (December 2013) to C Revision

  • Added ESD 额定值表,特性 描述 部分,器件功能模式应用和实施部分,电源相关建议部分,布局部分,器件和文档支持部分以及机械、封装和可订购信息部分Go
  • Changed formatting of Thermal Information table note Go

Changes from A Revision (April 2013) to B Revision

  • Deleted 器件图Go
  • Changed 通篇文档中的 ADS131E0x 系列器件 说明 至仅为 24 位Go
  • Added AVSS to DGND row to Absolute Maximum Ratings tableGo
  • Changed minimum specification to External Reference, VREFP parameter in Electrical Characteristics tableGo
  • Changed conditions in Figure 10Go
  • Changed conditions in Figure 11Go
  • Changed START Opcode to START in Figure 39Go
  • Changed Reset (RESET) section for clarityGo
  • Changed Power-Up Sequencing sectionGo

Changes from * Revision (June 2012) to A Revision

  • Deleted AGND to DGND row from Absolute Maximum Ratings tableGo
  • Changed value of Digital input to DVDD row in Absolute Maximum Ratings tableGo
  • Added minimum and maximum specifications to External Reference, Reference input voltage parameter in Electrical Characteristics tableGo
  • Added minimum and maximum specifications to External Reference, VREFP parameter in Electrical Characteristics tableGo
  • Changed Channel Performance (AC Performance), Accuracy parameter in Electrical Characteristics tableGo
  • Changed Internal Reference, VO parameter in Electrical Characteristics tableGo
  • Changed Internal Reference, Temperature drift parameter in Electrical Characteristics tableGo
  • Added Figure 15 Go