ZHCSEN1A February 2016 – October 2016 TPS720-Q1
PRODUCTION DATA.
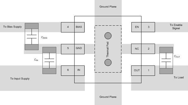
TI recommends designing the board with separate ground planes for VIN and VOUT, with the ground plane connected only at the GND pin of the device to improve ac performance (such as PSRR, output noise, and transient response.) In addition, the ground connection for the output capacitor must be connected directly to the GND pin of the device. High equivalent series resistance (ESR) capacitors can degrade PSRR. The BIAS pin draws very little current and can be routed as a signal. Take care to shield the BIAS pin from high frequency coupling.
Figure 29. Recommended Layout
Thermal protection disables the output when the junction temperature rises to approximately +160°C, allowing the device to cool. When the junction temperature cools to approximately +140°C, the output circuitry is again enabled. Depending on power dissipation, thermal resistance, and ambient temperature, the thermal protection circuit can cycle on and off. This cycling limits the dissipation of the regulator, protecting the regulator from damage as a result of overheating.
Any tendency to activate the thermal protection circuit indicates excessive power dissipation or an inadequate heat sink. For reliable operation, limit junction temperature to a maximum of +125°C. To estimate the margin of safety in a complete design (including heat sink), increase the ambient temperature until the thermal protection is triggered; use worst-case loads and signal conditions. For good reliability, trigger thermal protection at least 35°C above the maximum expected ambient condition of the particular application. This configuration produces a worst-case junction temperature of +125°C at the highest expected ambient temperature and worst-case load.
The internal protection circuitry of the TPS720-Q1 is designed to protect against overload conditions. This circuitry is not intended to replace proper heat sinking. Continuously running the TPS720-Q1 into thermal shutdown degrades device reliability.
The printed-circuit-board (PCB) area around the device that is free of other components moves the heat from the device to ambient air. Performance data for JEDEC boards are given in the Thermal Information table. Using heavier copper increases the effectiveness in removing heat from the device. The addition of plated through-holes to heat-dissipating layers also improves the heat sink effectiveness.
Power dissipation depends on input voltage and load conditions. Power dissipation (PD) is equal to the product of the output current times the voltage drop across the output pass element (VIN to VOUT), as shown in Equation 2:
