ZHCSF62D March   2016  – June 2017 TPS65320C-Q1

PRODUCTION DATA.  

  1. 特性
  2. 应用
  3. 说明
  4. 修订历史记录
  5. Pin Configuration and Functions
  6. Specifications
    1. 6.1 Absolute Maximum Ratings
    2. 6.2 ESD Ratings
    3. 6.3 Recommended Operating Conditions
    4. 6.4 Thermal Information
    5. 6.5 Electrical Characteristics
    6. 6.6 Switching Characteristics
    7. 6.7 Typical Characteristics
  7. Detailed Description
    1. 7.1 Overview
    2. 7.2 Functional Block Diagram
    3. 7.3 Feature Description
      1. 7.3.1 Buck Regulator
        1. 7.3.1.1  Fixed-Frequency PWM Control
        2. 7.3.1.2  Slope Compensation Output
        3. 7.3.1.3  Pulse-Skip Eco-mode™ Control Scheme
        4. 7.3.1.4  Dropout Mode Operation and Bootstrap Voltage (BOOT)
        5. 7.3.1.5  Error Amplifier
        6. 7.3.1.6  Voltage Reference
        7. 7.3.1.7  Adjusting the Output Voltage
        8. 7.3.1.8  Soft-Start Pin (SS)
        9. 7.3.1.9  Overload-Recovery Circuit
        10. 7.3.1.10 Constant Switching Frequency and Timing Resistor (RT/CLK Pin)
        11. 7.3.1.11 Overcurrent Protection and Frequency Shift
        12. 7.3.1.12 Selecting the Switching Frequency
        13. 7.3.1.13 How to Interface to RT/CLK Pin
        14. 7.3.1.14 Overvoltage Transient Protection
        15. 7.3.1.15 Small-Signal Model for Loop Response
        16. 7.3.1.16 Simple Small-Signal Model for Peak-Current Mode Control
        17. 7.3.1.17 Small-Signal Model for Frequency Compensation
      2. 7.3.2 LDO Regulator
        1. 7.3.2.1 Charge-Pump Operation
        2. 7.3.2.2 Low-Voltage Tracking
        3. 7.3.2.3 Adjusting the Output Voltage
      3. 7.3.3 Thermal Shutdown
      4. 7.3.4 Power-Good Output, nRST
      5. 7.3.5 Enable and Undervoltage Lockout
    4. 7.4 Device Functional Modes
      1. 7.4.1 Modes of Operation
  8. Application and Implementation
    1. 8.1 Application Information
      1. 8.1.1 Soft-Start Discharge
      2. 8.1.2 Passive Discharge Through a Resistor in Parallel With the SS Capacitor
      3. 8.1.3 Active Discharge Through A NPN Transistor
    2. 8.2 Typical Application
      1. 8.2.1 2-MHzSwitching Frequency, 9-V to 16-V Input, 5-V Output Buck Regulator, 3.3-V Output LDO Regulator
        1. 8.2.1.1 Design Requirements
        2. 8.2.1.2 Detailed Design Procedure
          1. 8.2.1.2.1  Switching Frequency Selection for the Buck Regulator
          2. 8.2.1.2.2  Output Inductor Selection for the Buck Regulator
          3. 8.2.1.2.3  Output Capacitor Selection for the Buck Regulator
          4. 8.2.1.2.4  Catch Diode Selection for the Buck Regulator
          5. 8.2.1.2.5  Input Capacitor Selection for the Buck Regulator
          6. 8.2.1.2.6  Soft-Start Capacitor Selection for the Buck Regulator
          7. 8.2.1.2.7  Bootstrap Capacitor Selection for the Buck Regulator
          8. 8.2.1.2.8  Output Voltage and Feedback Resistor Selection for the Buck Regulator
          9. 8.2.1.2.9  Frequency Compensation Selection for the Buck Regulator
          10. 8.2.1.2.10 LDO Regulator
          11. 8.2.1.2.11 Power Dissipation
            1. 8.2.1.2.11.1 Power Dissipation Losses of the Buck Regulator
          12. 8.2.1.2.12 Power Dissipation Losses of the LDO Regulator
          13. 8.2.1.2.13 Total Device Power Dissipation Losses and Junction Temperature
        3. 8.2.1.3 Application Curves
  9. Power Supply Recommendations
  10. 10Layout
    1. 10.1 Layout Guidelines
    2. 10.2 Layout Example
  11. 11器件和文档支持
    1. 11.1 文档支持
      1. 11.1.1 相关文档
    2. 11.2 接收文档更新通知
    3. 11.3 社区资源
    4. 11.4 商标
    5. 11.5 静电放电警告
    6. 11.6 Glossary
  12. 12机械、封装和可订购信息

封装选项

机械数据 (封装 | 引脚)
散热焊盘机械数据 (封装 | 引脚)
订购信息

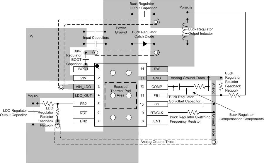
Layout

Layout Guidelines

TI recommends the guidelines that follow for PCB layout of the TPS65320C-Q1 device.

  • Inductor
  • Use a low-EMI inductor with a ferrite-type shielded core. Other types of inductors can also be used, however, these inductors must have low-EMI characteristics and be located away from the low-power traces and components in the circuit.

  • Input Filter Capacitors
  • Locate input ceramic filter capacitors close to the VIN pin. TI recommends surface-mount capacitors to minimize lead length and reduce noise coupling.

  • Feedback
  • Route the feedback trace for minimum interaction with any noise sources associated with the switching components. TI recommends to place the inductor away from the feedback trace to prevent creating an EMI noise source.

  • Traces and Ground Plane
  • All power (high-current) traces must be as thick and short as possible. The inductor and output capacitors must be as close to each other as possible to reduce EMI radiated by the power traces because of high switching currents. In a two-sided PCB, TI recommends using ground planes on both sides of the PCB to help reduce noise and ground loop errors. The ground connection for the input capacitors, output capacitors, and device ground should connect to this ground plane, where the connection between input capacitors and the catch-diode is the most critical. In a multi-layer PCB, the ground plane separates the power plane (where high switching currents and components are) from the signal plane (where the feedback trace and components are) for improved performance. Also, arrange the components such that the switching-current loops curl in the same direction. Place the high-current components such that during conduction the current path is in the same direction. This placement prevents magnetic field reversal caused by the traces between the two half-cycles, and helps reduce radiated EMI.

Layout Example

TPS65320C-Q1 layout_slvscf0.gif Figure 28. TPS65320C-Q1 Layout Example