ZHCSQS5F April   2006  – January 2024 TPS5420

PRODUCTION DATA  

  1.   1
  2. 1特性
  3. 2应用
  4. 3说明
  5. 4静电放电警告
  6. 5Ordering Information
  7. 6Pin Assignments
    1. 6.1 Terminal Functions
  8. 7Specifications
    1. 7.1 Absolute Maximum Ratings
    2. 7.2 ESD Ratings
    3. 7.3 Recommended Operating Conditions
    4. 7.4 Thermal Information 
    5. 7.5 Electrical Characteristics
    6. 7.6 Typical Characteristics
  9. 8Application Information
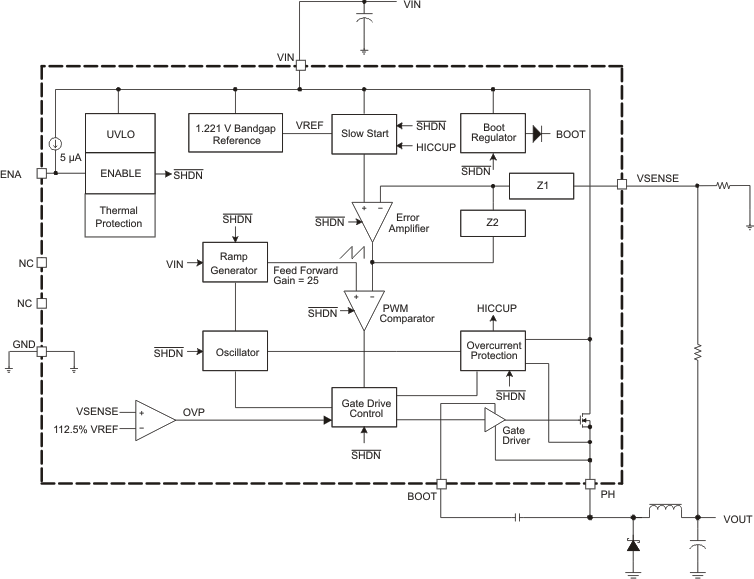
    1. 8.1 Functional Block Diagram
    2. 8.2 Detailed Description
      1. 8.2.1  Oscillator Frequency
      2. 8.2.2  Voltage Reference
      3. 8.2.3  Enable (ENA) and Internal Slow Start
      4. 8.2.4  Undervoltage Lockout (UVLO)
      5. 8.2.5  Boost Capacitor (BOOT)
      6. 8.2.6  Output Feedback (VSENSE)
      7. 8.2.7  Internal Compensation
      8. 8.2.8  Voltage Feed Forward
      9. 8.2.9  Pulse-Width-Modulation (PWM) Control
      10. 8.2.10 Overcurrent Limiting
      11. 8.2.11 Overvoltage Protection
      12. 8.2.12 Thermal Shutdown
      13. 8.2.13 PCB Layout
      14. 8.2.14 Application Circuits
      15. 8.2.15 Design Procedure
        1. 8.2.15.1  Design Parameters
        2. 8.2.15.2  Switching Frequency
        3. 8.2.15.3  Input Capacitors
        4. 8.2.15.4  Output Filter Components
          1. 8.2.15.4.1 Inductor Selection
          2. 8.2.15.4.2 Capacitor Selection
          3.        40
          4.        41
        5. 8.2.15.5  Output Voltage Setpoint
        6. 8.2.15.6  Boot Capacitor
        7. 8.2.15.7  Catch Diode
        8. 8.2.15.8  Additional Circuits
        9. 8.2.15.9  Circuit Using Ceramic Output Filter Capacitors
        10. 8.2.15.10 Output Filter Component Selection
        11. 8.2.15.11 External Compensation Network
    3. 8.3 Advanced Information
      1. 8.3.1 Output Voltage Limitations
      2. 8.3.2 Internal Compensation Network
      3. 8.3.3 Thermal Calculations
    4. 8.4 Performance Graphs
  10. 9Revision History

封装选项

机械数据 (封装 | 引脚)
散热焊盘机械数据 (封装 | 引脚)
订购信息

Functional Block Diagram

GUID-BFC290AF-985A-49FD-867A-A5289C83CC2A-low.gif