SLAS647C December   2009  – May 2016 TLV320AIC3110

PRODUCTION DATA.  

  1. Device Overview
    1. 1.1 Features
    2. 1.2 Applications
    3. 1.3 Description
    4. 1.4 Functional Block Diagram
  2. Revision History
  3. Device Comparison
  4. Pin Configuration and Functions
    1. 4.1 Pin Attributes
  5. Specifications
    1. 5.1  Absolute Maximum Ratings
    2. 5.2  ESD Ratings
    3. 5.3  Recommended Operating Conditions
    4. 5.4  Thermal Information
    5. 5.5  Electrical Characteristics
    6. 5.6  Power Dissipation Ratings
    7. 5.7  I2S, LJF, and RJF Timing in Master Mode
    8. 5.8  I2S, LJF, and RJF Timing in Slave Mode
    9. 5.9  DSP Timing in Master Mode
    10. 5.10 DSP Timing in Slave Mode
    11. 5.11 I2C Interface Timing
    12. 5.12 Typical Characteristics
      1. 5.12.1 Audio ADC Performance
      2. 5.12.2 DAC Performance
      3. 5.12.3 Class-D Speaker Driver Performance
      4. 5.12.4 Analog Bypass Performance H
      5. 5.12.5 MICBIAS Performance H
  6. Parameter Measurement Information
  7. Detailed Description
    1. 7.1 Overview
    2. 7.2 Functional Block Diagram
    3. 7.3 Feature Description
      1. 7.3.1  Power-Supply Sequence
      2. 7.3.2  Reset
      3. 7.3.3  Device Start-Up Lockout Times
      4. 7.3.4  PLL Start-Up
      5. 7.3.5  Power-Stage Reset
      6. 7.3.6  Software Power Down
      7. 7.3.7  Audio Analog I/O
      8. 7.3.8  Digital Processing Low-Power Modes
        1. 7.3.8.1 ADC, Mono, 48 kHz, DVDD = 1.8 V, AVDD = 3.3 V
        2. 7.3.8.2 ADC, Mono, 8 kHz, DVDD = 1.8 V, AVDD = 3.3 V
        3. 7.3.8.3 DAC Playback on Headphones, Stereo, 48 kHz, DVDD = 1.8 V, AVDD = 3.3 V, HPVDD = 3.3 V
        4. 7.3.8.4 DAC Playback on Headphones, Mono, 48 kHz, DVDD = 1.8 V, AVDD = 3.3 V, HPVDD = 3.3 V
        5. 7.3.8.5 DAC Playback on Headphones, Stereo, 8 kHz, DVDD = 1.8 V, AVDD = 3.3 V, HPVDD = 3.3 V
        6. 7.3.8.6 DAC Playback on Headphones, Mono, 8 kHz, DVDD = 1.8 V, AVDD = 3.3 V, HPVDD = 3.3 V
        7. 7.3.8.7 DAC Playback on Headphones, Stereo, 192 kHz, DVDD = 1.8 V, AVDD = 3.3 V, HPVDD = 3.3 V
        8. 7.3.8.8 DAC Playback on Line Out (10 k-Ω load), Stereo, 48 kHz, DVDD = 1.8 V, AVDD = 3 V, HPVDD = 3 V
      9. 7.3.9  Audio ADC and Analog Inputs
        1. 7.3.9.1 MICBIAS and Microphone Preamplifier
        2. 7.3.9.2 Automatic Gain Control (AGC)
        3. 7.3.9.3 Delta-Sigma ADC
        4. 7.3.9.4 ADC Decimation Filtering and Signal Processing
          1. 7.3.9.4.1 ADC Processing Blocks
          2. 7.3.9.4.2 ADC Processing Blocks - Signal Chain Details
            1. 7.3.9.4.2.1 First-Order IIR, AGC, Filter A
            2. 7.3.9.4.2.2 Five Biquads, First-Order IIR, AGC, Filter A
            3. 7.3.9.4.2.3 25-Tap FIR, First-Order IIR, AGC, Filter A
            4. 7.3.9.4.2.4 First-Order IIR, AGC, Filter B
            5. 7.3.9.4.2.5 Three Biquads, First-Order IIR, AGC, Filter B
            6. 7.3.9.4.2.6 20-Tap FIR, First-Order IIR, AGC, Filter B
            7. 7.3.9.4.2.7 First-Order IIR, AGC, Filter C
            8. 7.3.9.4.2.8 Five Biquads, First-Order IIR, AGC, Filter C
            9. 7.3.9.4.2.9 25-Tap FIR, First-Order IIR, AGC, Filter C
          3. 7.3.9.4.3 User-Programmable Filters
            1. 7.3.9.4.3.1 First-Order IIR Section
            2. 7.3.9.4.3.2 Biquad Section
            3. 7.3.9.4.3.3 FIR Section
          4. 7.3.9.4.4 ADC Digital Decimation Filter Characteristics
            1. 7.3.9.4.4.1 Decimation Filter A
            2. 7.3.9.4.4.2 Decimation Filter B
            3. 7.3.9.4.4.3 Decimation Filter C
          5. 7.3.9.4.5 ADC Data Interface
        5. 7.3.9.5 Updating ADC Digital Filter Coefficients During Record
        6. 7.3.9.6 Digital Microphone Function
        7. 7.3.9.7 DC Measurement
      10. 7.3.10 Audio DAC and Audio Analog Outputs
        1. 7.3.10.1  DAC
          1. 7.3.10.1.1 DAC Processing Blocks
          2. 7.3.10.1.2 DAC Processing Blocks — Details
            1. 7.3.10.1.2.1  Three Biquads, Filter A
            2. 7.3.10.1.2.2  Six Biquads, First-Order IIR, DRC, Filter A or B
            3. 7.3.10.1.2.3  Six Biquads, First-Order IIR, Filter A or B
            4. 7.3.10.1.2.4  IIR, Filter B or C
            5. 7.3.10.1.2.5  Four Biquads, DRC, Filter B
            6. 7.3.10.1.2.6  Four Biquads, Filter B
            7. 7.3.10.1.2.7  Four Biquads, First-Order IIR, DRC, Filter C
            8. 7.3.10.1.2.8  Four Biquads, First-Order IIR, Filter C
            9. 7.3.10.1.2.9  Two Biquads, 3D, Filter A
            10. 7.3.10.1.2.10 Five Biquads, DRC, 3D, Filter A
            11. 7.3.10.1.2.11 Five Biquads, DRC, 3D, Beep Generator, Filter A
          3. 7.3.10.1.3 DAC User-Programmable Filters
            1. 7.3.10.1.3.1 First-Order IIR Section
            2. 7.3.10.1.3.2 Biquad Section
          4. 7.3.10.1.4 DAC Interpolation Filter Characteristics
            1. 7.3.10.1.4.1 Interpolation Filter A
            2. 7.3.10.1.4.2 Interpolation Filter B
            3. 7.3.10.1.4.3 Interpolation Filter C
        2. 7.3.10.2  DAC Digital-Volume Control
        3. 7.3.10.3  Volume Control Pin
        4. 7.3.10.4  Dynamic Range Compression
          1. 7.3.10.4.1 DRC Threshold
          2. 7.3.10.4.2 DRC Hysteresis
          3. 7.3.10.4.3 DRC Hold Time
          4. 7.3.10.4.4 DRC Attack Rate
          5. 7.3.10.4.5 DRC Decay Rate
          6. 7.3.10.4.6 Example Setup for DRC
        5. 7.3.10.5  Headset Detection
        6. 7.3.10.6  Interrupts
        7. 7.3.10.7  Key-Click Functionality With Digital Sine-Wave Generator (PRB_P25)
        8. 7.3.10.8  Programming DAC Digital Filter Coefficients
        9. 7.3.10.9  Updating DAC Digital Filter Coefficients During PLAY
        10. 7.3.10.10 Digital Mixing and Routing
        11. 7.3.10.11 Analog Audio Routing
          1. 7.3.10.11.1 Analog Output Volume Control
          2. 7.3.10.11.2 Headphone Analog-Output Volume Control
          3. 7.3.10.11.3 Class-D Speaker Analog Output Volume Control
        12. 7.3.10.12 Analog Outputs
          1. 7.3.10.12.1 Headphone Drivers
          2. 7.3.10.12.2 Speaker Drivers
        13. 7.3.10.13 Audio-Output Stage-Power Configurations
        14. 7.3.10.14 Example Register Setup to Play Digital Data Through DAC and Headphone/Speaker Outputs
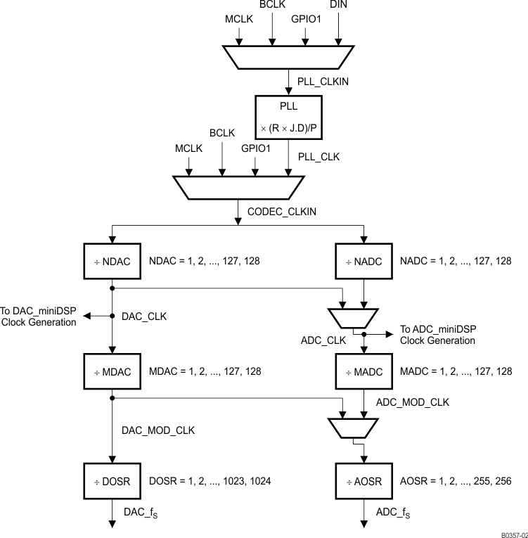
      11. 7.3.11 CLOCK Generation and PLL
        1. 7.3.11.1 PLL
      12. 7.3.12 Timer
      13. 7.3.13 Digital Audio and Control Interface
        1. 7.3.13.1 Digital Audio Interface
          1. 7.3.13.1.1 Right-Justified Mode
          2. 7.3.13.1.2 Left-Justified Mode
          3. 7.3.13.1.3 I2S Mode
          4. 7.3.13.1.4 DSP Mode
        2. 7.3.13.2 Primary and Secondary Digital Audio Interface Selection
        3. 7.3.13.3 Control Interface
          1. 7.3.13.3.1 I2C Control Mode
    4. 7.4 Register Map
      1. 7.4.1 TLV320AIC3110 Register Map
      2. 7.4.2 Registers
        1. 7.4.2.1 Control Registers, Page 0 (Default Page): Clock Multipliers, Dividers, Serial Interfaces, Flags, Interrupts, and GPIOs
        2. 7.4.2.2 Control Registers, Page 1: DAC and ADC Routing, PGA, Power-Controls, and MISC Logic-Related Programmability
        3. 7.4.2.3 Control Registers, Page 3: MCLK Divider for Programmable Delay Timer
        4. 7.4.2.4 Control Registers, Page 4: ADC Digital Filter Coefficients
        5. 7.4.2.5 Control Registers, Page 8: DAC Digital Filter Coefficients
        6. 7.4.2.6 Control Registers, Page 9: DAC Digital Filter Coefficients
        7. 7.4.2.7 Control Registers, Page 12: DAC Programmable Coefficients Buffer B (1:63)
        8. 7.4.2.8 Control Registers, Page 13: DAC Programmable Coefficients RAM Buffer B (65:127)
  8. Application and Implementation
    1. 8.1 Application Information
    2. 8.2 Typical Application
      1. 8.2.1 Design Requirements
      2. 8.2.2 Detailed Design Procedure
      3. 8.2.3 Application Curves
  9. Power Supply Recommendations
  10. 10Layout
    1. 10.1 Layout Guidelines
    2. 10.2 Layout Example
  11. 11Device and Documentation Support
    1. 11.1 Community Resources
    2. 11.2 Trademarks
    3. 11.3 Electrostatic Discharge Caution
    4. 11.4 Glossary
  12. 12Mechanical Packaging and Orderable Information
    1. 12.1 Packaging Information

封装选项

机械数据 (封装 | 引脚)
散热焊盘机械数据 (封装 | 引脚)
订购信息

7 Detailed Description

7.1 Overview

The TLV320AIC3110 device is a highly integrated stereo-audio DAC and monaural ADC for portable computing, communication, and entertainment applications. A register-based architecture eases integration with microprocessor-based systems through standard serial-interface buses. This device supports the two-wire I2C bus interface which provides full register access. All peripheral functions are controlled through these registers and the onboard state machines.

The TLV320AIC3110 device consists of the following blocks:

  • Microphone interfaces (analog and digital)
  • Audio codec (mono ADC and stereo DAC)
  • AGC and DRC
  • Digital audio processing blocks (PRB) for play and record paths
  • Digital sine-wave generator for beeps
  • Stereo headphone and lineout amplifier
  • Class-D stereo amplifier for 8-Ω speakers
  • Pin-controlled or register-controlled volume level
  • Power-down de-pop and power-up soft start
  • Analog inputs
  • I2C control interface
  • Power-down control block

Following a toggle of the RESET pin or a software reset, the device operates in the default mode. The I2C interface is used to write to the control registers to configure the device.

The I2C address assigned to the TLV320AIC3110 device is 001 1000. This device always operates in an I2C slave mode. All registers are 8-bit, and all writable registers have read-back capability. The device auto-increments to support sequential addressing and can be used with the I2C fast mode. When the device is reset, all appropriate registers are updated by the host processor to configure the device as needed by the user.

7.2 Functional Block Diagram

TLV320AIC3110 B0205-07_LAS647.gif

7.3 Feature Description

7.3.1 Power-Supply Sequence

The TLV320AIC3110 requires multiple power supply rails for operation. All the power rails must be powered up for the device to operate at the fullest potention. The following is the recommended power-up sequencing for proper operation:

  1. Power up SPLVDD and SPRVDD
  2. Power up IOVDD
  3. Power up DVDD shortly after IOVDD
  4. Power up AVDD and HPVDD

Although not necessary, if the system requires, during shutdown, remove the power supplies in the reverse order of the above sequence.

7.3.2 Reset

The TLV320AIC3110 internal logic must be initialized to a known condition for proper device function. To initialize the device to its default operating condition, the hardware reset pin (RESET) must be pulled low for at least 10 ns. For this initialization to work, both the IOVDD and DVDD supplies must be powered up. TI recommends that while the DVDD supply powers up, the RESET pin is pulled low.

The device can also be reset via software reset. Writing a 1 into page 0 / register 1, bit D0 resets the device.

7.3.3 Device Start-Up Lockout Times

After the TLV320AIC3110 is initialized through hardware reset at power up or software reset, the internal memories are initialized to default values. This initialization takes place within 1 ms after pulling the RESET signal high. During this initialization phase, no register-read or register-write operation should be performed on ADC or DAC coefficient buffers. Also, no block within the codec should be powered up during the initialization phase.

7.3.4 PLL Start-Up

Whenever the PLL is powered up, a start-up delay of approximately of 10 ms occurs after the power-up command of the PLL and before the clocks are available to the codec. This delay is to ensure stable operation of the PLL and clock-divider logic.

7.3.5 Power-Stage Reset

The power-stage-only reset is used to reset the device after an overcurrent latching shutdown has occurred. Using this reset re-enables the output stage without resetting all of the registers in the device. Each of the four power stages has its own dedicated reset bit. The headphone power-stage reset is performed by setting page 1 / register 31, bit D7 for HPL and by setting page 1 / register 31, bit D6 for HPR. The speaker power-stage reset is performed by setting page 1 / register 32, bit D7 for SPLP and SPLM, and by setting page 1 / register 32, bit D6 for SPRP and SPRM.

7.3.6 Software Power Down

By default, all circuit blocks are powered down following a reset condition. Hardware power up of each circuit block can be controlled by writing to the appropriate control register. This approach allows the lowest power-supply current for the functionality required. However, when a block is powered down, all of the register settings are maintained as long as power is still being applied to the device.

7.3.7 Audio Analog I/O

The TLV320AIC3110 has a stereo audio DAC and a monaural ADC. The device supports a wide range of analog interfaces to support different headsets and analog outputs. The TLV320AIC3110 has features to interface output drivers (8-Ω, 16-Ω, 32-Ω) and a microphone PGA with AGC control. A special circuit has also been included in the TLV320AIC3110 to insert a short key-click sound into the stereo audio output. The key-click sound is used to provide feedback to the user when a particular button is pressed or item is selected. The specific sound of the keyclick can be adjusted by varying several register bits that control its frequency, duration, and amplitude (see Section 7.3.10.7).

7.3.8 Digital Processing Low-Power Modes

The TLV320AIC3110 device can be tuned to minimize power dissipation, to maximize performance, or to an operating point between the two extremes to best fit the application. The choice of processing blocks, PRB_P1 to PRB_P25 for stereo playback and PRB_R4 to PRB_R18 for mono recording, also influences the power consumption. In fact, the numerous processing blocks have been implemented to offer a choice among configurations having a different balance of power optimization and signal-processing capabilities.

7.3.8.1 ADC, Mono, 48 kHz, DVDD = 1.8 V, AVDD = 3.3 V

AOSR = 128, Processing Block = PRB_R4 (Decimation Filter A)

Power consumption = 9.01 mW

Table 7-1 PRB_R4 Alternative Processing Blocks, 9.01 mW

PROCESSING BLOCK FILTER ESTIMATED POWER CHANGE (mW)
PRB_R5 A 0.23
PRB_R6 A 0.22

AOSR = 64, Processing Block = PRB_R11 (Decimation Filter B)

Power consumption = 7.99 mW

Table 7-2 PRB_R11 Alternative Processing Blocks, 7.99 mW

PROCESSING BLOCK FILTER ESTIMATED POWER CHANGE (mW)
PRB_R4 A 0.43
PRB_R5 A 0.67
PRB_R6 A 0.66
PRB_R10 B –0.14
PRB_R12 B 0.04

7.3.8.2 ADC, Mono, 8 kHz, DVDD = 1.8 V, AVDD = 3.3 V

AOSR = 128, Processing Block = PRB_R4 (Decimation Filter A)

Power consumption = 6.77 mW

Table 7-3 PRB_R4 Alternative Processing Blocks, 6.77 mW

PROCESSING BLOCK FILTER ESTIMATED POWER CHANGE (mW)
PRB_R5 A 0.03
PRB_R6 A 0.03

AOSR = 64, Processing Block = PRB_R11 (Decimation Filter B)

Power consumption = 6.61 mW

Table 7-4 PRB_R11 Alternative Processing Blocks, 6.61 mW

PROCESSING BLOCK FILTER ESTIMATED POWER CHANGE (mW)
PRB_R4 A 0.07
PRB_R5 A 0.11
PRB_R6 A 0.11
PRB_R10 B –0.02
PRB_R12 B 0.01

7.3.8.3 DAC Playback on Headphones, Stereo, 48 kHz, DVDD = 1.8 V, AVDD = 3.3 V,
HPVDD = 3.3 V

DOSR = 128, Processing Block = PRB_P7 (Interpolation Filter B)

Power consumption = 24.28 mW

Table 7-5 PRB_P7 Alternative Processing Blocks, 24.28 mW

PROCESSING BLOCK FILTER ESTIMATED POWER CHANGE (mW)
PRB_P1 A 1.34
PRB_P2 A 2.86
PRB_P3 A 2.11
PRB_P8 B 1.18
PRB_P9 B 0.53
PRB_P10 B 1.89
PRB_P11 B 0.87
PRB_P23 A 1.48
PRB_P24 A 2.89
PRB_P25 A 3.23

DOSR = 64, Processing Block = PRB_P7 (Interpolation Filter B)

Power consumption = 24.5 mW

Table 7-6 PRB_P7 Alternative Processing Blocks, 24.5 mW

PROCESSING BLOCK FILTER ESTIMATED POWER CHANGE (mW)
PRB_P1 A 1.17
PRB_P2 A 2.62
PRB_P3 A 2
PRB_P8 B 0.99
PRB_P9 B 0.5
PRB_P10 B 1.46
PRB_P11 B 0.66
PRB_P23 A 1.43
PRB_P24 A 2.69
PRB_P25 A 2.92

7.3.8.4 DAC Playback on Headphones, Mono, 48 kHz, DVDD = 1.8 V, AVDD = 3.3 V,
HPVDD = 3.3 V

DOSR = 128, Processing Block = PRB_P12 (Interpolation Filter B)

Power consumption = 15.4 mW

Table 7-7 PRB_P12 Alternative Processing Blocks, 15.4 mW

PROCESSING BLOCK FILTER ESTIMATED POWER CHANGE (mW)
PRB_P4 A 0.57
PRB_P5 A 1.48
PRB_P6 A 1.08
PRB_P13 B 0.56
PRB_P14 B 0.27
PRB_P15 B 0.89
PRB_P16 B 0.31

DOSR = 64, Processing Block = PRB_P12 (Interpolation Filter B)

Power consumption = 15.54 mW

Table 7-8 PRB_P12 Alternative Processing Blocks, 15.54 mW

PROCESSING BLOCK FILTER ESTIMATED POWER CHANGE (mW)
PRB_P4 A 0.37
PRB_P5 A 1.23
PRB_P6 A 1.15
PRB_P13 B 0.43
PRB_P14 B 0.13
PRB_P15 B 0.85
PRB_P16 B 0.21

7.3.8.5 DAC Playback on Headphones, Stereo, 8 kHz, DVDD = 1.8 V, AVDD = 3.3 V,
HPVDD = 3.3 V

DOSR = 768, Processing Block = PRB_P7 (Interpolation Filter B)

Power consumption = 22.44 mW

Table 7-9 PRB_P7 Alternative Processing Blocks, 22.44 mW

PROCESSING BLOCK FILTER ESTIMATED POWER CHANGE (mW)
PRB_P1 A 0.02
PRB_P2 A 0.31
PRB_P3 A 0.23
PRB_P8 B 0.28
PRB_P9 B –0.03
PRB_P10 B 0.14
PRB_P11 B 0.05
PRB_P23 A 0.29
PRB_P24 A 0.26
PRB_P25 A 0.47

DOSR = 384, Processing Block = PRB_P7 (Interpolation Filter B)

Power consumption = 22.83 mW

Table 7-10 PRB_P7 Alternative Processing Blocks, 22.83 mW

PROCESSING BLOCK FILTER ESTIMATED POWER CHANGE (mW)
PRB_P1 A 0.27
PRB_P2 A 0.4
PRB_P3 A 0.34
PRB_P8 B 0.2
PRB_P9 B 0.08
PRB_P10 B 0.24
PRB_P11 B 0.12
PRB_P23 A 0.23
PRB_P24 A 0.42
PRB_P25 A 0.46

7.3.8.6 DAC Playback on Headphones, Mono, 8 kHz, DVDD = 1.8 V, AVDD = 3.3 V,
HPVDD = 3.3 V

DOSR = 768, Processing Block = PRB_P12 (Interpolation Filter B)

Power consumption = 14.49 mW

Table 7-11 PRB_P12 Alternative Processing Blocks, 14.49 mW

PROCESSING BLOCK FILTER ESTIMATED POWER CHANGE (mW)
PRB_P4 A –0.04
PRB_P5 A 0.2
PRB_P6 A –0.01
PRB_P13 B 0.1
PRB_P14 B 0.05
PRB_P15 B –0.03
PRB_P16 B 0.07

DOSR = 384, Processing Block = PRB_P12 (Interpolation Filter B)

Power consumption = 14.42 mW

Table 7-12 PRB_P12 Alternative Processing Blocks, 14.42 mW

PROCESSING BLOCK FILTER ESTIMATED POWER CHANGE (mW)
PRB_P4 A 0.16
PRB_P5 A 0.3
PRB_P6 A 0.2
PRB_P13 B 0.15
PRB_P14 B 0.07
PRB_P15 B 0.18
PRB_P16 B 0.09

7.3.8.7 DAC Playback on Headphones, Stereo, 192 kHz, DVDD = 1.8 V, AVDD = 3.3 V,
HPVDD = 3.3 V

DOSR = 32, Processing Block = PRB_P17 (Interpolation Filter C)

Power consumption = 27.05 mW

Table 7-13 PRB_P17 Alternative Processing Blocks, 27.05 mW

PROCESSING BLOCK FILTER ESTIMATED POWER CHANGE (mW)
PRB_P18 C 5.28
PRB_P19 C 1.98

7.3.8.8 DAC Playback on Line Out (10 k-Ω load), Stereo, 48 kHz, DVDD = 1.8 V, AVDD = 3 V,
HPVDD = 3 V

DOSR = 64, Processing Block = PRB_P7 (Interpolation Filter B)

Power consumption = 12.85 mW

7.3.9 Audio ADC and Analog Inputs

7.3.9.1 MICBIAS and Microphone Preamplifier

The TLV320AIC3110 device includes a microphone bias circuit that sources up to 4 mA of current and is programmable to a 2-V, 2.5-V, or AVDD level. The level is controlled by writing to page 1 / register 46, bits D1–D0. Table 7-14 lists this functionality.

Table 7-14 MICBIAS Settings

D1 D0 FUNCTIONALITY
0 0 MICBIAS output is powered down
0 1 MICBIAS output is powered to 2 V
1 0 MICBIAS output is powered to 2.5 V
1 1 MICBIAS output is powered to AVDD

During normal operation, MICBIAS can be set to 2.5 V for better performance. However, based on the model of the selected microphone, optimal performance can be obtained at another setting and therefore the performance at a given setting must be verified.

The lowest current consumption occurs when MICBIAS is powered down. The next-lowest current consumption occurs when MICBIAS is set at AVDD.

Because of the oversampling nature of the audio ADC and the integrated digital-decimation filtering, requirements for analog anti-aliasing filtering are very relaxed. The TLV320AIC3110 device integrates a second-order analog anti-aliasing filter with 20-dB attenuation at 1 MHz. This filter, combined with the digital decimal filter, provides sufficient anti-aliasing filtering without requiring any external components.

The MIC PGA supports analog gain control from 0 dB to 59.5 dB in steps of 0.5 dB. These gain levels are controlled by writing to page 1 / register 47, bits D6–D0. The PGA gain changes are implemented with internal soft-stepping. This soft-stepping ensures that volume-control changes occur smoothly with no audible artifacts. On reset, the MIC PGA gain defaults to a mute condition, with soft-stepping enabled. The ADC soft-stepping control is enabled or disabled by writing to page 0 / register 81, bits D1–D0. ADC soft-stepping timing is provided by the internal oscillator and internal divider logic block.

The input feed-forward resistance for the MIC1LP input of the microphone PGA stage has three settings, 10 kΩ, 20 kΩ, and 40 kΩ, which are controlled by writing to page 1 / register 48, bits D7 and D6. The input feed-forward resistance value selected affects the gain of the microphone PGA. The ADC PGA gain for the MIC1LP input depends on the setting of page1 / register 48 and page 1 / register 49, bits D7–D6. If D7–D6 are set to 01, then the ADC PGA has 6 dB more gain with respect to the value programmed using page 1 / register 47. If D7–D6 are set to 10, then the ADC PGA has the same gain as programmed using page 1 / register 47. If D7–D6 are set to 11, then the ADC PGA has 6 dB less gain with respect to the value programmed using page 1 / register 47. The same gain scaling is also valid for the MIC1RP and MIC1LM input, based on the feed-forward resistance selected using page 1 / register 48, bits D5–D2.

Table 7-15 lists the effective gain applied by the PGA.

Table 7-15 PGA Gain Versus Input Impedance

PAGE 1 / REGISTER 47
D6–D0
EFFECTIVE GAIN APPLIED BY PGA
SINGLE-ENDED DIFFERENTIAL
RIN = 10 kΩ RIN = 20 kΩ RIN = 40 kΩ RIN = 10 kΩ RIN = 20 kΩ RIN = 40 kΩ
000 0000 6 dB 0 dB –6 dB 12 dB 6 dB 0 dB
000 0001 6.5 dB 0.5 dB –5.5 dB 12.5 dB 6.5 dB 0.5 dB
000 0010 7 dB 1 dB –5 dB 13 dB 7 dB 1 dB
... ... ... ... ... ... ...

The MIC PGA gain is either controlled by an AGC loop or as a fixed gain. See for the various analog input routings to the MIC PGA that are supported in the single-ended and differential configurations. The AGC is enabled by writing to page 0 / register 86, bit D7. If the AGC is not enabled, then setting a fixed gain occurs by writing to page 1 / register 47, bits D6–D0. Because the TLV320AIC3110 device supports soft-stepping gain changes, a read-only flag on page 0 / register 36, bit D7 is set whenever the gain applied by PGA equals the desired value set by the gain register. The MIC PGA is enabled by writing to page 1 / register 47, bit D7. ADC muting occurs by writing to page 0 / register 82, bit D7 and page 1 / register 47, bit D7. Disabling the MIC PGA sets the gain to 0 dB. Muting the ADC causes the digital output to mute so that the output value remains fixed. When soft-stepping is enabled, the CODEC_CLKIN signal must stay active until after the ADC power-down register is written, in order to ensure that soft-stepping to mute has had time to complete. When the ADC POWER UP flag is no longer set, the CODEC_CLKIN signal can shut down.

7.3.9.2 Automatic Gain Control (AGC)

The TLV320AIC3110 includes automatic gain control (AGC) for the microphone inputs. AGC can be used to maintain nominally constant output-signal amplitude when recording speech signals. This circuitry automatically adjusts the MIC PGA gain as the input signal becomes overly loud or very weak, such as when a person speaking into a microphone moves closer to or farther from the microphone. The AGC algorithm has several programmable settings, including target gain, attack and decay time constants, noise threshold, and maximum PGA applicable, that allow the algorithm to be fine-tuned for any particular application. The algorithm uses the absolute average of the signal (which is the average of the absolute value of the signal) as a measure of the nominal amplitude of the output signal. Because the gain can be changed at the sample interval time, the AGC algorithm operates at the ADC_fS clock rate.

Target level represents the nominal output level at which the AGC attempts to hold the ADC output signal. The TLV320AIC3110 allows programming of eight different target levels, which can be programmed from –5.5 dB to –24 dB relative to a full-scale signal. Because the TLV320AIC3110 reacts to the signal absolute average and not to peak levels, TI recommends that the target level be set with enough margin to avoid clipping at the occurrence of loud sounds.

An AGC low-pass filter is used to help determine the average level of the input signal. This average level is compared to the programmed detection levels in the AGC to provide the correct functionality. This low-pass filter is in the form of a first-order IIR filter. Programming this filter is done by writing to page 4 / register 2 through page 4 / register 7. Two 8-bit registers are used to form the 16-bit digital coefficient as shown on the register map. In this way, a total of six registers are programmed to form the three IIR coefficients.

Attack time determines how quickly the AGC circuitry reduces the PGA gain when the input signal is too loud. Programming the attack time is done by writing to page 0 / register 89, bits D7–D0.

Decay time determines how quickly the PGA gain is increased when the input signal is too low. Programming the decay time is done by writing to page 0 / register 90, bits D7–D0.

Noise threshold is a reference level. If the input speech average value falls below the noise threshold, the AGC considers it as a silence and hence brings down the gain to 0 dB in steps of 0.5 dB every sample period and sets the noise-threshold flag. The gain stays at 0 dB unless the input speech signal average rises above the noise-threshold setting. This ensures that noise is not amplified in the absence of speech. The noise-threshold level in the AGC algorithm is programmable from –30 dB to –90 dB for the microphone input. When the AGC noise threshold is set to –70 dB, –80 db, or –90 dB, the microphone input maximum PGA applicable setting must be greater than or equal to 11.5 dB, 21.5 dB, or 31.5 dB, respectively. This operation includes debounce and hysteresis to prevent the AGC gain from cycling between high gain and 0 dB when signals are near the noise threshold level. When the noise-threshold flag is set, the status of the gain applied by the AGC and the saturation flag has no meaning. Programming the noise debounce is done by writing to page 0 / register 91, bits D4–D0. Programming the signal debounce is done by writing to page 0 / register 92, bits D3–D0.

Max PGA applicable allows the user to restrict the maximum gain applied by the AGC. This can be used for limiting PGA gain in situations where environmental noise is greater than the programmed noise threshold. Microphone input maximum PGA can be programmed from 0 dB to 59.5 dB in steps of 0.5 dB. Programming the maximum PGA gain allowed by the AGC is done by writing to page 0 / register 88, bits D6–D0.

See Table 7-16 for various AGC programming options. AGC can be used only if the microphone input is routed to the ADC channel.

Table 7-16 AGC Settings(1)

CONTROL REGISTER BIT FUNCTION
36 D5 (read-only) AGC saturation flag
39 D3 (read-only) ADC saturation flag
45 D6 (read-only) Signal to level setting of noise threshold
86 D7 AGC enable
86 D6–D4 Target level
87 D7–D6 Hysteresis
87 D5–D1 Noise threshold
88 D6–D0 Maximum PGA applicable
89 D7–D0 Time constants (attack time)
90 D7–D0 Time constants (decay time)
91 D4–D0 Debounce time (noise)
92 D3–D0 Debounce time (signal)
93 D7–D0 (read-only) Gain applied by AGC
(1) All registers shown in this table are located on page 0.
TLV320AIC3110 w0002-01_las510.gif Figure 7-1 AGC Characteristics

The AGC settings should be set based on user and system conditions such as microphone selection and sensitivity, acoustics (plastics) around the microphone which affect the microphone pattern, expected distance and direction between microphone and sound source, and acoustic background noise.

One example of AGC code follows, but actual use of code should be verified based on application usage. Note that the AGC code should be set up before powering up the ADC.

####################### AGC ENABLE EXAMPLE CODE #####################
## Switch to page 0
w 30 00 00
# Set AGC enable and Target Level = -10 dB
# Target level can be set lower if clipping occurs during speech
# Target level is adjusted considering Max Gain also
w 30 56 A0 # AGC hysteresis=DISABLE, noise threshold = -90dB
# Noise threshold should be set at higher level if noisy background is present in application
w 30 57 FE # AGC maximum gain= 40 dB
# Higher Max gain is a trade off between gaining up a low sensitivity MIC, and the background
# acoustic noise
# Microphone bias voltage (MICBIAS) level can be used to change the Microphone Sensitivity
w 30 58 50
# Attack time=864/Fs w 30 59 68
# Decay time=22016/Fs
w 30 5A A8
# Noise debounce 0 ms
# Noise debounce time can be increased if needed
w 30 5B 00
# Signal debounce 0 ms
# Signal debounce time can be increased if needed
w 30 5C 00
######################## END of AGC SET UP #################################

7.3.9.3 Delta-Sigma ADC

The analog-to-digital converter has a delta-sigma modulator with an oversampling ratio (AOSR) up to 128. The ADC can support a maximum output rate of 192 kHz.

ADC power up is controlled by writing to page 0 / register 81, bit D7. An ADC power-up condition can be verified by reading page 0 / register 36, bit D6.

7.3.9.4 ADC Decimation Filtering and Signal Processing

The TLV320AIC3110 ADC channel includes built-in digital decimation filters to process the oversampled data from the delta-sigma modulator to generate digital data at the Nyquist sampling rate with high dynamic range. The decimation filter can be chosen from three different types, depending on the required frequency response, group delay, and sampling rate.

7.3.9.4.1 ADC Processing Blocks

The TLV320AIC3110 offers a range of processing blocks which implement various signal processing capabilities along with decimation filtering. These processing blocks give users the choice of how much and what type of signal processing they may use and which decimation filter is applied.

The choices among these processing blocks allow the system designer to balance power conservation and signal-processing flexibility. Less signal-processing capability reduces the power consumed by the device. Table 7-17 gives an overview of the available processing blocks of the ADC channel and their properties. The Resource Class (RC) column gives a relative indication of power consumption.

The signal processing blocks available are:

  • First-order IIR
  • Scalable number of biquad filters
  • Variable-tap FIR filter
  • AGC

The processing blocks are tuned for common cases and can achieve high anti-alias filtering or low group delay in combination with various signal-processing effects such as audio effects and frequency shaping. The available first-order IIR, biquad, and FIR filters have fully user-programmable coefficients.

Table 7-17 ADC Processing Blocks

PROCESSING BLOCKS CHANNEL DECIMATION
FILTER
1st-ORDER
IIR AVAILABLE
NUMBER
BIQUADS
FIR REQUIRED AOSR VALUE RESOURCE
CLASS
PRB_R4 Mono A Yes 0 No 128, 64 3
PRB_R5 Mono A Yes 5 No 128, 64 4
PRB_R6 Mono A Yes 0 25-tap 128, 64 4
PRB_R10 Mono B Yes 0 No 64 2
PRB_R11 Mono B Yes 3 No 64 2
PRB_R12 Mono B Yes 0 20-tap 64 2
PRB_R16 Mono C Yes 0 No 32 2
PRB_R17 Mono C Yes 5 No 32 2
PRB_R18 Mono C Yes 0 25-tap 32 2

7.3.9.4.2 ADC Processing Blocks – Signal Chain Details

7.3.9.4.2.1 First-Order IIR, AGC, Filter A

TLV320AIC3110 sig_chain1_los585.gif Figure 7-2 Signal Chain for PRB_R4

7.3.9.4.2.2 Five Biquads, First-Order IIR, AGC, Filter A

TLV320AIC3110 sig_chain2_los585.gif Figure 7-3 Signal Chain for PRB_R5

7.3.9.4.2.3 25-Tap FIR, First-Order IIR, AGC, Filter A

TLV320AIC3110 sig_chain3_los585.gif Figure 7-4 Signal Chain for PRB_R6

7.3.9.4.2.4 First-Order IIR, AGC, Filter B

TLV320AIC3110 sig_chain4_los585.gif Figure 7-5 Signal Chain for PRB_R10

7.3.9.4.2.5 Three Biquads, First-Order IIR, AGC, Filter B

TLV320AIC3110 sig_chain5_los585.gif Figure 7-6 Signal Chain for PRB_R11

7.3.9.4.2.6 20-Tap FIR, First-Order IIR, AGC, Filter B

TLV320AIC3110 sig_chain6_los585.gif Figure 7-7 Signal Chain for PRB_R12

7.3.9.4.2.7 First-Order IIR, AGC, Filter C

TLV320AIC3110 sig_chain7_los585.gif Figure 7-8 Signal Chain for PRB_R16

7.3.9.4.2.8 Five Biquads, First-Order IIR, AGC, Filter C

TLV320AIC3110 sig_chain8_los585.gif Figure 7-9 Signal Chain for PRB_R17

7.3.9.4.2.9 25-Tap FIR, First-Order IIR, AGC, Filter C

TLV320AIC3110 sig_chain9_los585.gif Figure 7-10 Signal Chain for PRB_R18

7.3.9.4.3 User-Programmable Filters

Depending on the selected processing block, different types and orders of digital filtering are available. A first-order IIR filter is always available, and is useful to filter out possible dc components of the signal efficiently. Up to five biquad sections or, alternatively, FIR filters of up to 25 taps are available for specific processing blocks. The coefficients of the available filters are arranged as sequentially indexed coefficients.

The coefficients of these filters are each 16 bits wide, in 2s-complement format, and occupy two consecutive 8-bit registers in the register space. Specifically, the filter coefficients are in 1.15 (one dot 15) format with a range from –1.0 (0x8000) to 0.999969482421875 (0x7FFF), as shown in Figure 7-11.

TLV320AIC3110 m0007-03_las550.gif Figure 7-11 1.15 2s-Complement Coefficient Format

7.3.9.4.3.1 First-Order IIR Section

The transfer function for the first-order IIR filter is given by Equation 1.

Equation 1. TLV320AIC3110 Agclpf_LAS550.gif

The frequency response for the first-order IIR section with default coefficients is flat at a gain of 0 dB.

Table 7-18 ADC First-Order IIR Filter Coefficients

FILTER FILTER COEFFICIENT ADC COEFFICIENT DEFAULT (RESET) VALUES
First-order IIR N0 Page 4 / register 8 and page 4 / register 9 0x7FFF (decimal 1.0 – LSB value)
N1 Page 4 / register 10 and page 4 / register 11 0x0000
D1 Page 4 / register 12 and page 4 / register 13 0x0000

7.3.9.4.3.2 Biquad Section

The transfer function of each of the biquad filters is given by Equation 2.

Equation 2. TLV320AIC3110 biquad_las550.gif

The default values for each biquad section yield an all-pass (flat) frequency response at a gain of 0 dB.

Table 7-19 ADC Biquad Filter Coefficients

FILTER FILTER COEFFICIENT FILTER COEFFICIENT RAM LOCATION DEFAULT (RESET) VALUES
Biquad A N0 Page 4 / register 14 and page 4 / register 15 0x7FFF (decimal 1.0 – LSB value)
N1 Page 4 / register 16 and page 4 / register 17 0x0000
N2 Page 4 / register 18 and page 4 / register 19 0x0000
D1 Page 4 / register 20 and page 4 / register 21 0x0000
D2 Page 4 / register 22 and page 4 / register 23 0x0000
Biquad B N0 Page 4 / register 24 and page 4 / register 25 0x7FFF (decimal 1.0 – LSB value)
N1 Page 4 / register 26 and page 4 / register 27 0x0000
N2 Page 4 / register 28 and page 4 / register 29 0x0000
D1 Page 4 / register 30 and page 4 / register 31 0x0000
D2 Page 4 / register 32 and page 4 / register 33 0x0000
Biquad C N0 Page 4 / register 34 and page 4 / register 35 0x7FFF (decimal 1.0 – LSB value)
N1 Page 4 / register 36 and page 4 / register 37 0x0000
N2 Page 4 / register 38 and page 4 / register 39 0x0000
D1 Page 4 / register 40 and page 4 / register 41 0x0000
D2 Page 4 / register 42 and page 4 / register 43 0x0000
Biquad D N0 Page 4 / register 44 and page 4 / register 45 0x7FFF (decimal 1.0 – LSB value)
N1 Page 4 / register 46 and page 4 / register 47 0x0000
N2 Page 4 / register 48 and page 4 / register 49 0x0000
D1 Page 4 / register 50 and page 4 / register 51 0x0000
D2 Page 4 / register 52 and page 4 / register 53 0x0000
Biquad E N0 Page 4 / register 54 and page 4 / register 55 0x7FFF (decimal 1.0 – LSB value)
N1 Page 4 / register 56 and page 4 / register 57 0x0000
N2 Page 4 / register 58 and page 4 / register 59 0x0000
D1 Page 4 / register 60 and page 4 / register 61 0x0000
D2 Page 4 / register 62 and page 4 / register 63 0x0000

7.3.9.4.3.3 FIR Section

Three of the available ADC processing blocks offer FIR filters for signal processing. Processing block PRB_R12 features a 20-tap FIR filter, whereas the processing blocks PRB_R6 and PRB_R18 each feature a 25-tap FIR filter.

Equation 3. TLV320AIC3110 q-fir_las550.gif

The coefficients of the FIR filters are 16-bit 2s-complement format (2 bytes each) and correspond to the ADC coefficient space as listed in Table 7-20. Note that the default (reset) coefficients are not valid for the FIR filter. When the FIR filter is used, all applicable coefficients must be reprogrammed by the user. To reprogram the FIR filter coefficients as an all-pass filter, write value 0x00 to page 4 / registers 24, 25, 34, 35, 44, 45, 54, and 55.

Table 7-20 ADC FIR Filter Coefficients

FILTER COEFFICIENT FILTER COEFFICIENT RAM LOCATION DEFAULT (RESET) VALUES – NOT VALID FOR THE FIR FILTER – MUST BE REPROGRAMMED BY USER
FIR0 Page 4 / register 14 and page 4 / register 15 0x7FFF (decimal 1.0 – LSB value)
FIR1 Page 4 / register 16 and page 4 / register 17 0x0000
FIR2 Page 4 / register 18 and page 4 / register 19 0x0000
FIR3 Page 4 / register 20 and page 4 / register 21 0x0000
FIR4 Page 4 / register 22 and page 4 / register 23 0x0000
FIR5 Page 4 / register 24 and page 4 / register 25 0x7FFF (decimal 1.0 – LSB value)
FIR6 Page 4 / register 26 and page 4 / register 27 0x0000
FIR7 Page 4 / register 28 and page 4 / register 29 0x0000
FIR8 Page 4 / register 30 and page 4 / register 31 0x0000
FIR9 Page 4 / register 32 and page 4 / register 33 0x0000
FIR10 Page 4 / register 34 and page 4 / register 35 0x7FFF (decimal 1.0 – LSB value)
FIR11 Page 4 / register 36 and page 4 / register 37 0x0000
FIR12 Page 4 / register 38 and page 4 / register 39 0x0000
FIR13 Page 4 / register 40 and page 4 / register 41 0x0000
FIR14 Page 4 / register 42 and page 4 / register 43 0x0000
FIR15 Page 4 / register 44 and page 4 / register 45 0x7FFF (decimal 1.0 – LSB value)
FIR16 Page 4 / register 46 and page 4 / register 47 0x0000
FIR17 Page 4 / register 48 and page 4 / register 49 0x0000
FIR18 Page 4 / register 50 and page 4 / register 51 0x0000
FIR19 Page 4 / registe 52 and page 4 / register 53 0x0000
FIR20 Page 4 / register 54 and page 4 / register 55 0x7FFF (decimal 1.0 – LSB value)
FIR21 Page 4 / register 56 and page 4 / register 57 0x0000
FIR22 Page 4 / register 58 and page 4 / register 59 0x0000
FIR23 Page 4 / register 60 and page 4 / register 61 0x0000
FIR24 Page 4 / register 62 and page 4 / register 63 0x0000

7.3.9.4.4 ADC Digital Decimation Filter Characteristics

The TLV320AIC3110 offers three different types of decimation filters. The integrated digital decimation filter removes high-frequency content and downsamples the audio data from an initial sampling rate of AOSR × fS to the final output sampling rate of fS. The decimation filtering is achieved using a higher-order CIC filter followed by linear-phase FIR filters. The decimation filter cannot be chosen by itself; it is implicitly set through the chosen processing block.

The following subsections describe the properties of the available filters A, B, and C.

7.3.9.4.4.1 Decimation Filter A

This filter is intended for use at sampling rates up to 48 kHz. When configuring this filter, the oversampling ratio of the ADC can either be 128 or 64. For highest performance, the oversampling ratio must be set to 128.

Filter A can also be used for 96 kHz at an AOSR of 64.

Table 7-21 ADC Decimation-Filter-A Specifications

PARAMETER CONDITION VALUE (TYPICAL) UNIT
AOSR = 128
Filter gain pass band 0…0.39 fS 0.062 dB
Filter gain stop band 0.55…64 fS –73 dB
Filter group delay 17/fS s
Pass-band ripple, 8 ksps 0…0.39 fS 0.062 dB
Pass-band ripple, 44.1 ksps 0…0.39 fS 0.05 dB
Pass-band ripple, 48 ksps 0…0.39 fS 0.05 dB
AOSR = 64
Filter gain pass band 0…0.39 fS 0.062 dB
Filter gain stop band 0.55…32 fS –73 dB
Filter group delay 17/fS s
Pass-band ripple, 8 ksps 0…0.39 fS 0.062 dB
Pass-band ripple, 44.1 ksps 0…0.39 fS 0.05 dB
Pass-band ripple, 48 ksps 0…0.39 fS 0.05 dB
Pass-band ripple, 96 ksps 0…20 kHz 0.1 dB
TLV320AIC3110 flta_res_las644.gif Figure 7-12 ADC Decimation-Filter-A Frequency Response

7.3.9.4.4.2 Decimation Filter B

Filter B is intended to support sampling rates up to 96 kHz at an oversampling ratio of 64.

Table 7-22 ADC Decimation-Filter-B Specifications

PARAMETER CONDITION VALUE (TYPICAL) UNIT
AOSR = 64
Filter gain pass band 0…0.39 fS ±0.077 dB
Filter gain stop band 0.60 fS…32 fS –46 dB
Filter group delay 11/fS s
Pass-band ripple, 8 ksps 0…0.39 fS 0.076 dB
Pass-band ripple, 44.1 ksps 0…0.39 fS 0.06 dB
Pass-band ripple, 48 ksps 0…0.39 fS 0.06 dB
Pass-band ripple, 96 ksps 0…20 kHz 0.11 dB
TLV320AIC3110 fltb_res_las644.gif Figure 7-13 ADC Decimation-Filter-B Frequency Response

7.3.9.4.4.3 Decimation Filter C

Filter C along with an AOSR of 32 is specially designed for 192-ksps operation for the ADC. The pass band, which extends up to 0.11 × fS (corresponding to 21 kHz), is suited for audio applications.

Table 7-23 ADC Decimation-Filter-C Specifications

PARAMETER CONDITION VALUE (TYPICAL) UNIT
Filter gain from 0 to 0.11 fS 0…0.11 fS ±0.033 dB
Filter gain from 0.28 fS to 16 fS 0.28 fS…16 fS –60 dB
Filter group delay 11/fS s
Pass-band ripple, 8 ksps 0…0.11 fS 0.033 dB
Pass-band ripple, 44.1 ksps 0…0.11 fS 0.033 dB
Pass-band ripple, 48 ksps 0…0.11 fS 0.032 dB
Pass-band ripple, 96 ksps 0…0.11 fS 0.032 dB
Pass-band ripple, 192 ksps 0…20 kHz 0.086 dB
TLV320AIC3110 fltc_res_las644.gif Figure 7-14 ADC Decimation-Filter-C Frequency Response

7.3.9.4.5 ADC Data Interface

The decimation filter and signal processing block in the ADC channel pass 32-bit data words to the audio serial interface once every cycle of ADC_fS. During each cycle of ADC_fS, a pair of data words (for left and right channel) is passed. The audio serial interface rounds the data to the required word length of the interface before converting to serial data. Because the TLV320AIC3110 has only a mono ADC, it passes the same data to both the left and right channels of the audio serial interface.

7.3.9.5 Updating ADC Digital Filter Coefficients During Record

When it is required to update the ADC digital filter coefficients during record, care must be taken to avoid click and pop noise or even a possible oscillation noise. These artifacts can occur if the ADC coefficients are updated without following the proper update sequence. The correct sequence is shown in Figure 7-15. The values for the times listed are conservative and should be used for software purposes.

TLV320AIC3110 f0023-02_las550.gif Figure 7-15 Updating ADC Digital Filter Coefficients During Record

7.3.9.6 Digital Microphone Function

In addition to supporting analog microphones, the TLV320AIC3110 can also interface to one digital microphone using the mono ADC channel. Figure 7-16 shows the digital microphone interface block diagram and Figure 7-17 shows the timing diagram for the digital microphone interface.

TLV320AIC3110 dig_mic_las644.gif Figure 7-16 Digital Microphone in the TLV320AIC3110

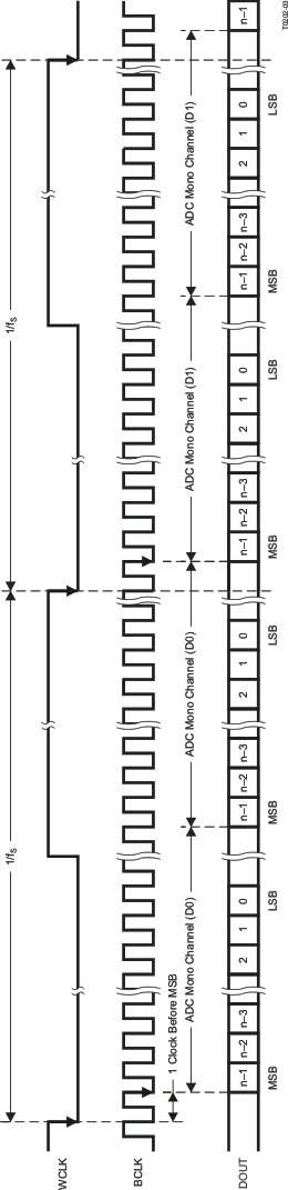
The TLV320AIC3110 outputs internal clock ADC_MOD_CLK on the GPIO1 pin (page 0 / register 51, bits D5–D2 = 1010). This clock can be connected to the external digital microphone device. The single-bit output of the external digital microphone device can be connected to the DIN pin. Internally, the TLV320AIC3110 latches the steady value of the mono ADC data on the rising edge of ADC_MOD_CLK.

TLV320AIC3110 dig_mic_t_las644.gif Figure 7-17 Timing Diagram for Digital Microphone Interface

When the digital microphone mode is enabled, the analog section of the ADC can be powered down and bypassed for power efficiency. The AOSR value for the ADC channel must be configured to select the desired decimation ratio to be achieved, based on the external digital microphone properties.

7.3.9.7 DC Measurement

The TLV320AIC3110 supports a highly flexible dc-measurement feature using the high-resolution oversampling and noise-shaping ADC. This mode can be used when the ADC channel is not used for the voice/audio record function. This mode can be enabled by programming page 0 / register 102, bit D7. The converted data is 24 bits, using the 2.22 numbering format. The value of the converted data for the ADC channel can be read back from page 0 / register 104 through page 1 / register 106. Before reading back the converted data, page 0 / register 103, bit D6 must be programmed to 1 in order to latch the converted data into the read-back registers. After the converted data is read back, page 0 / register 103, bit D6 must be immediately reset to 0. In dc-measurement mode, two measurement modes are supported.

Mode A

In dc-measurement mode A, a variable-length averaging filter is used. The length of averaging filter D can be programmed from 1 to 20 by programming page 0 / register 102, bits D4–D0. To choose mode A, page 0 / register 102, bit D5 must be programmed to 0.

Mode B

To choose mode B, page 0 / register 102, bit D5 must be programmed to 1. In dc-measurement mode B, a first-order IIR filter is used. The coefficients of this filter are determined by D, page 0 / register 102, bits D4–D0. The nature of the filter is given in Table 7-24.

Table 7-24 DC Measurement Bandwidth Settings

D: PAGE 0 / REGISTER 102, BITS D4–D0 –3 dB BW (kHz) –0.5 dB BW (kHz)
 1 688.440 236.500
 2 275.970 96.334
 3 127.400 44.579
 4 61.505 21.532
 5 30.248 10.590
 6 15.004  5.253
 7 7.472 2.616
 8 3.729  1.305
 9 1.862 652
10 931 326
11 465 163
12 232.6 81.5
13 116.3 40.7
14 58.1 20.3
15 29.1 10.2
16 14.54 5.09
17 7.25 2.54
18 3.63 1.27
19 1.8 0.635
20 0.908 0.3165

By programming page 0 / register 103, bit D5 to 1, the averaging filter is periodically reset after 2R number of ADC_MOD_CLK periods, where R is programmed in page 0 / register 103, bits D4–D0. When page 0 / register 103, bit D5 is set to 1, then the value of D should be less than the value of R. When page 0 / register 103, bit D5 is programmed to 0, the averaging filter is never reset.

7.3.10 Audio DAC and Audio Analog Outputs

Each channel of the stereo audio DAC consists of a digital-audio processing block, a digital interpolation filter, a digital delta-sigma modulator, and an analog reconstruction filter. This high oversampling ratio (typically DOSR is between 32 and 128) exhibits good dynamic range by ensuring that the quantization noise generated within the delta-sigma modulator stays outside of the audio frequency band. Audio analog outputs include stereo headphone, or lineouts, and stereo class-D speaker outputs.

7.3.10.1 DAC

The TLV320AIC3110 stereo-audio DAC supports data rates from 8 kHz to 192 kHz. Each channel of the stereo audio-DAC consists of a signal-processing engine with fixed processing blocks, a digital interpolation filter, a multibit digital delta-sigma modulator, and an analog reconstruction filter. The DAC is designed to provide enhanced performance at low sampling rates through increased oversampling and image filtering, thereby keeping quantization noise generated within the delta-sigma modulator and signal images strongly suppressed within the audio band to beyond 20 kHz. To handle multiple input rates and optimize power dissipation and performance, the TLV320AIC3110 device allows the system designer to program the oversampling rates over a wide range from 1 to 1024 by configuring page 0 / register 13 and page 0 / register 14. The system designer can choose higher oversampling ratios for lower input data rates and lower oversampling ratios for higher input data rates.

The TLV320AIC3110 DAC channel includes a built-in digital interpolation filter to generate oversampled data for the delta-sigma modulator. The interpolation filter can be chosen from three different types, depending on required frequency response, group delay, and sampling rate.

DAC power up is controlled by writing to page 0 / register 63, bit D7 for the left channel and bit D6 for the right channel. The left-channel DAC clipping flag is provided as a read-only bit on page 0 / register 39, bit D7. The right-channel DAC clipping flag is provided as a read-only bit on page 0 / register 39, bit D6.

7.3.10.1.1 DAC Processing Blocks

The TLV320AIC3110 device implements signal-processing capabilities and interpolation filtering through processing blocks. These fixed processing blocks give users the choice of how much and what type of signal processing they use and which interpolation filter is applied.

The choices among these processing blocks allow the system designer to balance power conservation and signal-processing flexibility. Table 7-25 gives an overview of all available processing blocks of the DAC channel and their properties. The resource-class column gives an approximate indication of power consumption for the digital (DVDD) supply; however, based on the out-of-band noise spectrum, the analog power consumption of the drivers (HPVDD) may differ.

The signal processing blocks available are:

  • First-order IIR
  • Scalable number of biquad filters
  • 3D effect
  • Digital sine-wave (beep) generator

The processing blocks are tuned for common cases and can achieve high image rejection or low group delay in combination with various signal-processing effects such as audio effects and frequency shaping. The available first-order IIR and biquad filters have fully user-programmable coefficients.

Table 7-25 Overview – DAC Predefined Processing Blocks

PROCESSING
BLOCK NO.
INTERPOLATION FILTER CHANNEL FIRST-ORDER
IIR AVAILABLE
NUMBER OF BIQUADS DRC 3D BEEP GENERATOR RESOURCE CLASS
PRB_P1 A Stereo No 3 No No No 8
PRB_P2 A Stereo Yes 6 Yes No No 12
PRB_P3 A Stereo Yes 6 No No No 10
PRB_P4 A Left No 3 No No No 4
PRB_P5 A Left Yes 6 Yes No No 6
PRB_P6 A Left Yes 6 No No No 6
PRB_P7 B Stereo Yes 0 No No No 6
PRB_P8 B Stereo No 4 Yes No No 8
PRB_P9 B Stereo No 4 No No No 8
PRB_P10 B Stereo Yes 6 Yes No No 10
PRB_P11 B Stereo Yes 6 No No No 8
PRB_P12 B Left Yes 0 No No No 3
PRB_P13 B Left No 4 Yes No No 4
PRB_P14 B Left No 4 No No No 4
PRB_P15 B Left Yes 6 Yes No No 6
PRB_P16 B Left Yes 6 No No No 4
PRB_P17 C Stereo Yes 0 No No No 3
PRB_P18 C Stereo Yes 4 Yes No No 6
PRB_P19 C Stereo Yes 4 No No No 4
PRB_P20 C Left Yes 0 No No No 2
PRB_P21 C Left Yes 4 Yes No No 3
PRB_P22 C Left Yes 4 No No No 2
PRB_P23 A Stereo No 2 No Yes No 8
PRB_P24 A Stereo Yes 5 Yes Yes No 12
PRB_P25 A Stereo Yes 5 Yes Yes Yes 12

7.3.10.1.2 DAC Processing Blocks — Details

7.3.10.1.2.1 Three Biquads, Filter A

TLV320AIC3110 sig_chain10_los585.gif Figure 7-18 Signal Chain for PRB_P1 and PRB_P4

7.3.10.1.2.2 Six Biquads, First-Order IIR, DRC, Filter A or B

TLV320AIC3110 f_3254_b_6bq_iir_drc_interp.gif Figure 7-19 Signal Chain for PRB_P2, PRB_P5, PRB_P10, and PRB_P15

7.3.10.1.2.3 Six Biquads, First-Order IIR, Filter A or B

TLV320AIC3110 sig_chain12_los585.gif Figure 7-20 Signal Chain for PRB_P3, PRB_P6, PRB_P11, and PRB_P16

7.3.10.1.2.4 IIR, Filter B or C

TLV320AIC3110 sig_chain13_los585.gif Figure 7-21 Signal Chain for PRB_P7, PRB_P12, PRB_P17, and PRB_P20

7.3.10.1.2.5 Four Biquads, DRC, Filter B

TLV320AIC3110 f_3254_e_4bq_drc_interp.gif Figure 7-22 Signal Chain for PRB_P8 and PRB_P13

7.3.10.1.2.6 Four Biquads, Filter B

TLV320AIC3110 sig_chain15_los585.gif Figure 7-23 Signal Chain for PRB_P9 and PRB_P14

7.3.10.1.2.7 Four Biquads, First-Order IIR, DRC, Filter C

TLV320AIC3110 f_3254_g_4bq_iir_drc_interp.gif Figure 7-24 Signal Chain for PRB_P18 and PRB_P21

7.3.10.1.2.8 Four Biquads, First-Order IIR, Filter C

TLV320AIC3110 sig_chain17_los585.gif Figure 7-25 Signal Chain for PRB_P19 and PRB_P22

7.3.10.1.2.9 Two Biquads, 3D, Filter A

TLV320AIC3110 sig_chain18_los585.gif

NOTE:

AL means biquad A of the left channel, and similarly, BR means biquad B of the right channel.
Figure 7-26 Signal Chain for PRB_P23

7.3.10.1.2.10 Five Biquads, DRC, 3D, Filter A

TLV320AIC3110 f_3254_j_5bq_drc_3d_interp.gif Figure 7-27 Signal Chain for PRB_P24

7.3.10.1.2.11 Five Biquads, DRC, 3D, Beep Generator, Filter A

TLV320AIC3110 f_3254_k_5bq_drc_3d_beep_interp.gif Figure 7-28 Signal Chain for PRB_P25

7.3.10.1.3 DAC User-Programmable Filters

Based on the selected processing block, different types and orders of digital filtering are available. Up to six biquad sections are available for specific processing blocks.

The coefficients of the available filters are arranged as sequentially-indexed coefficients in two banks. If adaptive filtering is chosen, the coefficient banks can be switched in real time.

When the DAC is running, the user-programmable filter coefficients are locked and cannot be accessed for either read or write.

However, the TLV320AIC3110 device offers an adaptive filter mode as well. Setting page 8 / register 1, bit D2 = 1 turns on double buffering of the coefficients. In this mode, filter coefficients are updated through the host and activated without stopping and restarting the DAC which enables advanced adaptive filtering applications.

In the double-buffering scheme, all coefficients are stored in two buffers (buffers A and B). When the DAC is running and the adaptive filtering mode is turned on, setting page 8 / register 1, bit D0 = 1 switches the coefficient buffers at the next start of a sampling period. This bit is set back to 0 after the switch occurs. At the same time, page 8 / register 1, bit D1 toggles.

The flag in page 8 / register 1, bit D1 indicates which of the two buffers is actually in use.

Page 8 / register 1, bit D1 = 0: buffer A is in use by the DAC engine; bit D1 = 1: buffer B is in use.

While the device is running, coefficient updates are always made to the buffer not in use by the DAC, regardless of the buffer to which the coefficients have been written.

Table 7-26 Adaptive-Mode Filter-Coefficient Buffer Switching

DAC POWERED UP PAGE 8 / REGISTER 1, BIT D1 COEFFICIENT BUFFER IN USE WRITING TO UPDATES
No 0 None Page 8, Reg 2–3, buffer A Page 8, Reg 2–3, buffer A
No 0 None Page 12, Reg 2–3, buffer B Page 12, Reg 2–3, buffer B
Yes 0 Buffer A Page 8, Reg 2–3, buffer A Page 12, Reg 2–3, buffer B
Yes 0 Buffer A Page 12, Reg 2–3, buffer B Page 12, Reg 2–3, buffer B
Yes 1 Buffer B Page 8, Reg 2–3, buffer A Page 8, Reg 2–3, buffer A
Yes 1 Buffer B Page 12, Reg 2–3, buffer B Page 8, Reg 2–3, buffer A

The user-programmable coefficients for the DAC Processing Blocks are defined on page 8 and page 9 for buffer A and page 12 and page 13 for buffer B.

The coefficients of these filters are each 16-bit, 2s-complement format, occupying two consecutive 8-bit registers in the register space. Specifically, the filter coefficients are in 1.15 (one dot 15) format with a range from –1.0 (0x8000) to 0.999969482421875 (0x7FFF) as shown in Figure 7-11.

7.3.10.1.3.1 First-Order IIR Section

The IIR is of first order and its transfer function is given by Equation 4.

Equation 4. TLV320AIC3110 Agclpf_LAS550.gif

The frequency response for the first-order IIR section with default coefficients is flat.

Table 7-27 DAC IIR Filter Coefficients

FILTER COEFFICIENT LEFT DAC CHANNEL RIGHT DAC CHANNEL DEFAULT (RESET) VALUE
First-order IIR N0 Page 9 / register 2 and page 9 / register 3 Page 9 / register 8 and page 9 / register 9 0x7FFF (decimal 1.0 – LSB value)
N1 Page 9 / register 4 and page 9 / register 5 Page 9 / register 10 and page 9 / register 11 0x0000
D1 Page 9 / register 6 and page 9 / register 7 Page 9 / register 12 and page 9 / register 13 0x0000

7.3.10.1.3.2 Biquad Section

The transfer function of each of the biquad filters is given by Equation 5.

Equation 5. TLV320AIC3110 biquad_las550.gif

Table 7-28 DAC Biquad Filter Coefficients

FILTER COEFFICIENT LEFT DAC CHANNEL RIGHT DAC CHANNEL DEFAULT (RESET) VALUE
Biquad A N0 Page 8 / register 2 and page 8 / register 3 Page 8 / register 66 and page 8 / register 67 0x7FFF (decimal 1.0 – LSB value)
N1 Page 8 / register 4 and page 8 / register 5 Page 8 / register 68 and page 8 / register 69 0x0000
N2 Page 8 / register 6 and page 8 / register 7 Page 8 / register 70 and page 8 / register 71 0x0000
D1 Page 8 / register 8 and page 8 / register 9 Page 8 / register 72 and page 8 / register 73 0x0000
D2 Page 8 / register 10 and page 8 / register 11 Page 8 / register 74 and page 8 / register 75 0x0000
Biquad B N0 Page 8 / register 12 and page 8 / register 13 Page 8 / register 76 and page 8 / register 77 0x7FFF (decimal 1.0 – LSB value)
N1 Page 8 / register 14 and page 8 / register 15 Page 8 / register 78 and page 8 / register 79 0x0000
N2 Page 8 / register 16 and page 8 / register 17 Page 8 / register 80 and page 8 / register 81 0x0000
D1 Page 8 / register 18 and page 8 / register 19 Page 8 / register 82 and page 8 / register 83 0x0000
D2 Page 8 / register 20 and page 8 / register 21 Page 8 / register 84 and page 8 / register 85 0x0000
Biquad C N0 Page 8 / register 22 and page 8 / register 23 Page 8 / register 86 and page 8 / register 87 0x7FFF (decimal 1.0 – LSB value)
N1 Page 8 / register 24 and page 8 / register 25 Page 8 / register 88 and page 8 / register 89 0x0000
N2 Page 8 / register 26 and page 8 / register 27 Page 8 / register 90 and page 8 / register 91 0x0000
D1 Page 8 / register 28 and page 8 / register 29 Page 8 / register 92 and page 8 / register 93 0x0000
D2 Page 8 / register 30 and page 8 / register 31 Page 8 / register 94 and page 8 / register 95 0x0000
Biquad D N0 Page 8 / register 32 and page 8 / register 33 Page 8 / register 96 and page 8 / register 97 0x7FFF (decimal 1.0 – LSB value)
N1 Page 8 / register 34 and page 8 / register 35 Page 8 / register 98 and page 8 / register 99 0x0000
N2 Page 8 / register 36 and page 8 / register 37 Page 8 / register 100 and page 8 / register 101 0x0000
D1 Page 8 / register 38 and page 8 / register 39 Page 8 / register 102 and page 8 / register 103 0x0000
D2 Page 8 / register 40 and page 8 / register 41 Page 8 / register 104 and page 8 / register 105 0x0000
Biquad E N0 Page 8 / register 42 and page 8 / register 43 Page 8 / register 106 and page 8 / register 107 0x7FFF (decimal 1.0 – LSB value)
N1 Page 8 / register 44 and page 8 / register 45 Page 8 / register 108 and page 8 / register 109 0x0000
N2 Page 8 / register 46 and page 8 / register 47 Page 8 / register 110 and page 8 / register 111 0x0000
D1 Page 8 / register 48 and page 8 / register 49 Page 8 / register 112 and page 8 / register 113 0x0000
D2 Page 8 / register 50 and page 8 / register 51 Page 8 / register 114 and page 8 / register 115 0x0000
Biquad F N0 Page 8 / register 52 and page 8 / register 53 Page 8 / register 116 and page 8 / register 117 0x7FFF (decimal 1.0 – LSB value)
N1 Page 8 / register 54 and page 8 / register 55 Page 8 / register 118 and page 8 / register 119 0x0000
N2 Page 8 / register 56 and page 8 / register 57 Page 8 / register 120 and page 8 / register 121 0x0000
D1 Page 8 / register 58 and page 8 / register 59 Page 8 / register 122 and page 8 / register 123 0x0000
D2 Page 8 / register 60 and page 8 / register 61 Page 8 / register 124 and page 8 / register 125 0x0000

7.3.10.1.4 DAC Interpolation Filter Characteristics

7.3.10.1.4.1 Interpolation Filter A

Filter A is designed for an fS up to 48 ksps with a flat passband of 0 to 20 kHz.

Table 7-29 Specification for DAC Interpolation Filter A

PARAMETER CONDITION VALUE (TYPICAL) UNIT
Filter-gain pass band 0 … 0.45 fS ±0.015 dB
Filter-gain stop band 0.55… 7.455 fS –65 dB
Filter group delay 21 / fS s
TLV320AIC3110 G016_LOS585.gif Figure 7-29 Frequency Response of DAC Interpolation Filter A

7.3.10.1.4.2 Interpolation Filter B

Filter B is specifically designed for an fS of up to 96 ksps. Thus, the flat passband region easily covers the required audio band of 0 to 20 kHz.

Table 7-30 Specification for DAC Interpolation Filter B

PARAMETER CONDITION VALUE (TYPICAL) UNIT
Filter-gain pass band 0 … 0.45 fS ±0.015 dB
Filter-gain stop band 0.55… 3.45 fS –58 dB
Filter group delay 18 / fS s
TLV320AIC3110 G017_LOS585.gif Figure 7-30 Frequency Response of Channel Interpolation Filter B

7.3.10.1.4.3 Interpolation Filter C

Filter C is specifically designed for the 192-ksps mode. The pass band extends up to 0.4 × fS (corresponds to 80 kHz), more than sufficient for audio applications.

Table 7-31 Specification for DAC Interpolation Filter C

PARAMETER CONDITION VALUE (TYPICAL) UNIT
Filter-gain pass band 0 … 0.35 fS ±0.03 dB
Filter-gain stop band 0.6… 1.4 fS –43 dB
Filter group delay 13 / fS s
TLV320AIC3110 G018_LOS585.gif Figure 7-31 Frequency Response of DAC Interpolation Filter C

7.3.10.2 DAC Digital-Volume Control

The DAC has a digital-volume control block which implements programmable gain. Each channel has an independent volume control that can be varied from 24 dB to –63.5 dB in 0.5-dB steps. The left-channel DAC volume is controlled by writing to page 0 / register 65, bits D7–D0. The right-channel DAC volume can be controlled by writing to page 0 / register 66, bits D7–D0. DAC muting and setting up a master gain control to control both channels occurs by writing to page 0 / register 64, bits D3–D0. The gain is implemented with a soft-stepping algorithm, which only changes the actual volume by 0.125 dB per input sample, either up or down, until the desired volume is reached. The rate of soft-stepping is slowed to one step per two input samples by writing to page 0 / register 63, bits D1–D0. Note that the default source for volume-control level settings is control by register writes (page 0 / register 65 and page 0 / register 66 to control volume). Use of the VOL/MICDET pin to control the DAC volume is ignored until the volume control source selected has been changed to pin control (page 0 / register 116, bit D7 = 1). This functionality is shown in .

During soft-stepping, the host does not receive a signal when the DAC has been completely muted. This may be important if the host must mute the DAC before making a significant change, such as changing sample rates. In order to help with this situation, the device provides a flag back to the host through a read-only register, page 0 / register 38, bit D4 for the left channel and bit D0 for the right channel. This information alerts the host when the part has completed the soft-stepping and the actual volume has reached the desired volume level. The soft-stepping feature can be disabled by writing to page 0 / register 63, bits D1–D0.

If soft-stepping is enabled, the CODEC_CLKIN signal must be kept active until the DAC power-up flag is cleared. When this flag is cleared, the internal DAC soft-stepping process is complete, and CODEC_CLKIN can be stopped if desired. (The analog volume control can be ramped down using an internal oscillator.)

7.3.10.3 Volume Control Pin

The range of voltages used by the 7-bit SAR ADC is shown in Section 5.5.

The volume-control pin is not enabled by default but is enabled by writing 1 to page 0 / register 116, bit D7. The default DAC volume control uses software control of the volume, which occurs if page 0 / register 116, bit D7 = 0. Soft-stepping the volume level is set up by writing to page 0 / register 63, bits D1–D0.

When the volume-pin function is used, a 7-bit Vol ADC reads the voltage on the VOL/MICDET pin and updates the digital volume control by overwriting the current value of the volume control. The new volume setting which has been applied because of a change of voltage on the volume control pin is read on page 0 / register 117, bits D6–D0. The 7-bit Vol ADC clock source is selected on page 0 / register 116, bit D6. The update rate is programmed on page 0 / register 116, bits D2–D0 for this 7-bit SAR ADC.

Table 7-32 lists The VOL/MICDET pin gain mapping.

Table 7-32 VOL/MICDET Pin Gain Mapping

VOL/MICDET PIN SAR OUTPUT DIGITAL GAIN APPLIED
0 18 dB
1 17.5 dB
2 17 dB
: :
35 0.5 dB
36 0.0 dB
37 –0.5 dB
: :
89 –26.5 dB
90 –27 dB
91 –28 dB
: :
125 –62 dB
126 –63 dB
127 Mute

Figure 7-32 shows the VOL/MICDET pin connection and functionality.

TLV320AIC3110 b0210-05_las550.gif Figure 7-32 Digital Volume Controls for Beep Generator and DAC Play Data

As shown in Table 7-32, the VOL/MICDET pin has a range of volume control from 18 dB down to –63 dB, and mute. However, if less maximum gain is required, then a smaller range of voltage must be applied to the VOL/MICDET pin. Applying a smaller range of voltage occurs by increasing the value of R2 relative to the value of (P1 + R1), so that more voltage is available at the bottom of P1. The circuit must also be designed such that for the values of R1, R2, and P1 chosen, the maximum voltage (top of the potentiometer) does not exceed AVDD/2 (see Figure 7-32). The recommended values for R1, R2, and P1 for several maximum gains are shown in Table 7-33.

Table 7-33 VOL/MICDET Pin Gain Scaling

R1
(kΩ)
P1
(kΩ)
R2
(kΩ)
ADC VOLTAGE
for AVDD = 3.3 V
(V)
DIGITAL GAIN RANGE
(dB)
25 25 0 0 to 1.65 18 to –63
33 25 7.68 0.386 to 1.642 3 to –63
34.8 25 9.76 0.463 to 1.649 0 to –63

7.3.10.4 Dynamic Range Compression

Typical music signals are characterized by crest factors, the ratio of peak signal power to average signal power, of 12 dB or more. To avoid audible distortions due to clipping of peak signals, the gain of the DAC channel must be adjusted so as not to cause hard clipping of peak signals. As a result, during nominal periods, the applied gain is low, causing the perception that the signal is not loud enough. To overcome this problem, dynamic range conpression (DRC) in the TLV320AIC3110 continuously monitors the output of the DAC digital volume control to detect its power level relative to 0 dBFS. When the power level is low, DRC increases the input signal gain to make it sound louder. At the same time, if a peaking signal is detected, it autonomously reduces the applied gain to avoid hard clipping. This results in sounds more pleasing to the ear as well as sounding louder during nominal periods.

The DRC functionality in the TLV320AIC3110 is implemented by a combination of processing blocks in the DAC channel as described in Section 7.3.10.1.2.

DRC can be disabled by writing to page 0 / register 68, bits D6–D5.

DRC typically works on the filtered version of the input signal. The input signals have no audio information at dc and extremely low frequencies; however, they can significantly influence the energy estimation function in the dynamic range compressor (the DRC). Also, most of the information about signal energy is concentrated in the low-frequency region of the input signal.

To estimate the energy of the input signal, the signal is first fed to the DRC high-pass filter and then to the DRC low-pass filter. These filters are implemented as first-order IIR filters given by

Equation 6. TLV320AIC3110 q-hhpf_las550.gif
Equation 7. TLV320AIC3110 q-hlpf_las550.gif

The coefficients for these filters are 16 bits wide in 2s-complement format and are user-programmable through register write as given in Table 7-34.

Table 7-34 The DRC HPF and LPF Coefficients

COEFFICIENT LOCATION
HPF N0 C71 page 9 / register 14 and page 9 / register 15
HPF N1 C72 page 9 / registers 16 and page 9 / register 17
HPF D1 C73 page 9 / registers 18 and page 9 / register 19
LPF N0 C74 page 9 / registers 20 and page 9 / register 21
LPF N1 C75 page 9 / registers 22 and page 9 / register 23
LPF D1 C76 page 9 / registers 24 and page 9 / register 25

The default values of these coefficients implement a high-pass filter with a cutoff at 0.00166 × DAC_fS, and a low-pass filter with a cutoff at 0.00033 × DAC_fS.

The output of the DRC high-pass filter is fed to the processing block selected for the DAC channel. The absolute value of the DRC LPF filter is used for energy estimation within the DRC.

The gain in the DAC digital volume control is controlled by page 0 / register 65 and page 0 / register 66. When the DRC is enabled, the applied gain is a function of the digital volume control register setting and the output of the DRC.

The DRC parameters are described in sections that follow.

7.3.10.4.1 DRC Threshold

DRC threshold represents the level of the DAC playback signal at which the gain compression becomes active. The output of the digital volume control in the DAC is compared with the set threshold. The threshold value is programmable by writing to page 0 / register 68, bits D4–D2. The threshold value can be adjusted between –3 dBFS and –24 dBFS in steps of 3 dB. Keeping the DRC threshold value too high may not leave enough time for the DRC block to detect peaking signals, and can cause excessive distortion at the outputs. Keeping the DRC threshold value too low can limit the perceived loudness of the output signal.

The recommended DRC threshold value is –24 dB.

When the output signal exceeds the set DRC threshold, the interrupt flag bits at page 0 / register 44, bits D3–D2 are updated. These flag bits are sticky in nature, and are reset only after they are read back by the user. The non-sticky versions of the interrupt flags are also available at page 0 / register 46, bits D3–D2.

7.3.10.4.2 DRC Hysteresis

DRC hysteresis is programmable by writing to page 0 / register 68, bits D1–D0. These bits can be programmed to represent values between 0 dB and 3 dB in steps of 1dB. DRC hysteresis provides a programmable window around the programmed DRC threshold that must be exceeded for the disabled DRC to become enabled, or the enabled DRC to become disabled. For example, if the DRC threshold is set to –12 dBFS and the DRC hysteresis is set to 3 dB, then if the gain compression in the DRC is inactive, the output of the DAC digital volume control must exceed –9 dBFS before gain compression due to the DRC is activated. Similarly, when the gain compression in the DRC is active, the output of the DAC digital volume control must fall below –15 dBFS for gain compression in the DRC to be deactivated. The DRC hysteresis feature prevents the rapid activation and de-activation of gain compression in the DRC in cases when the output of the DAC digital volume control rapidly fluctuates in a narrow region around the programmed DRC threshold. By programming the DRC hysteresis as 0 dB, the hysteresis action is disabled.

The recommended value of DRC hysteresis is 3 dB.

7.3.10.4.3 DRC Hold Time

DRC hold time is intended to slow the start of decay for a specified period of time in response to a decrease in energy level. To minimize audible artifacts, TI recommends to set the DRC hold time to 0 through programming page 0 / register 69, bits D6–D3 = 0000.

7.3.10.4.4 DRC Attack Rate

When the output of the DAC digital volume control exceeds the programmed DRC threshold, the gain applied in the DAC digital volume control is progressively reduced to avoid the signal from saturating the channel. This process of reducing the applied gain is called attack. To avoid audible artifacts, the gain is reduced slowly with a rate equaling the attack rate, programmable via page 0 / register 70, bits D7–D4. Attack rates can be programmed from 4-dB gain change per 1 / DAC_fS to 1.2207e–5-dB gain change per 1 / DAC_fS.

Attack rates should be programmed such that before the output of the DAC digital volume control can clip, the input signal should be sufficiently attenuated. High attack rates can cause audible artifacts, and too-slow attack rates may not be able to prevent the input signal from clipping.

The recommended DRC attack rate value is 1.9531e–4 dB per 1 / DAC_fS.

7.3.10.4.5 DRC Decay Rate

When the DRC detects a reduction in output signal swing beyond the programmed DRC threshold, the DRC enters a decay state, where the applied gain in the digital-volume control is gradually increased to programmed values. To avoid audible artifacts, the gain is slowly increased with a rate equal to the decay rate programmed through page 0 / register 70, bits D3–D0. The decay rates can be programmed from 1.5625e–3 dB per 1 / DAC_fS to 4.7683e–7 dB per 1 / DAC_fS. If the decay rates are programmed too fast, then sudden gain changes can cause audible artifacts. However, if it is programmed too slow, then the output may be perceived as too low for a long time after the peak signal has passed.

The recommended value of DRC decay rate is 2.4414e–5 dB per 1 / DAC_fS.

7.3.10.4.6 Example Setup for DRC

  • PGA gain = 12 dB
  • Threshold = –24 dB
  • Hysteresis = 3 dB
  • Hold time = 0 ms
  • Attack rate = 1.9531e–4 dB per 1 / DAC_fS
  • Decay rate = 2.4414e–5 dB per 1 / DAC_fS

Script

#Go to Page 0
w 30 00 00
#DAC => 12 db gain left
w 30 41 18
#DAC => 12 db gain right
w 30 42 18
#DAC => DRC Enabled for both channels, Threshold = -24 db, Hysteresis = 3 dB
w 30 44 7F
#DRC Hold = 0 ms, Rate of Changes of Gain = 0.5 dB/Fs'
w 30 45 00
#Attack Rate = 1.9531e-4 dB/Frame , DRC Decay Rate =2.4414e-5 dB/Frame
w 30 46 B6
#Go to Page 9
w 30 00 09
#DRC HPF
w 30 0E 7F AB 80 55 7F 56
#DRC LPF W 30 14 00 11 00 11 7F DE

7.3.10.5 Headset Detection

The TLV320AIC3110 device includes extensive capability to monitor a headphone, microphone, or headset jack, to determine if a plug has been inserted into the jack, and then determine what type of headset or headphone is wired to the plug. The device also includes the capability to detect a button press, even, for example, when starting calls on mobile phones with headsets. Figure 7-33 shows the circuit configuration to enable this feature.

TLV320AIC3110 Jack_con_LAS667.gif Figure 7-33 Jack Connections for Headset Detection

Headset Detection is enabled by programming page 0 / register 67, bit D1. In order to avoid false detections because of mechanical vibrations in headset jacks or microphone buttons, a debounce function is provided for glitch rejection. For the case of headset insertion, a debounce function with a range of 32 ms to 512 ms is provided. This can be programmed through page 0 / register 67, bits D4–D2. For improved button-press detection, the debounce function has a range of 8 ms to 32 ms by programming page 0 / register 67, bits D1–D0.

The TLV320AIC3110 device also provides feedback to the user when a button press or a headset insertion or removal event is detected through the register-readable flags as well as an interrupt on the I/O pins. The value in page 0 / register 46, bits D5–D4 provides the instantaneous state of button press and headset insertion. Page 0 / register 44, bit D5 is a sticky (latched) flag that is set when the button-press event is detected. Page 0 / register 44, bit D4 is a sticky flag which is set when the headset insertion or removal event is detected. These sticky flags are set by the event occurrence, and are reset only when read. This requires polling page 0 / register 44. To avoid polling and the associated overhead, the TLV320AIC3110 device also provides an interrupt feature, whereby events can trigger the INT1, the INT2, or both interrupts. These interrupt events can be routed to one of the digital output pins. See Section 7.3.10.6 for details.

The TLV320AIC3110 device not only detects a headset insertion event, but also is able to distinguish between the different headsets inserted, such as stereo headphones or cellular headphones. After the headset-detection event, the user can read page 0 / register 67, bits D6–D5 to determine the type of headset inserted.

Table 7-35 Headset Detection Block Registers

REGISTER DESCRIPTION
Page 0 / register 67, bit D1 Headset-detection enable/disable
Page 0 / register 67, bits D4–D2 Debounce programmability for headset detection
Page 0 / register 67, bits D1–D0 Debounce programmability for button press
Page 0 / register 44, bit D5 Sticky flag for button-press event
Page 0 / register 44, bit D4 Sticky flag for headset-insertion or -removal event
Page 0 / register 46, bit D5 Status flag for button-press event
Page 0 / register 46, bit D4 Status flag for headset insertion and removal
Page 0 / register 67, bits D6–D5 Flags for type of headset detected

The headset detection block requires AVDD to be powered. The headset detection feature in the TLV320AIC3110 device is achieved with very low power overhead, requiring less than 20 μA of additional current from the AVDD supply.

7.3.10.6 Interrupts

Some specific events in the TLV320AIC3110 device that can require host processor intervention are used to trigger interrupts to the host processor. This avoids polling the status-flag registers continuously. The TLV320AIC3110 device has two defined interrupts, INT1 and INT2, that are configured by programming page 0 / register 48 and page 0 / register 49. A user can configure interrupts INT1 and INT2 to be triggered by one or many events, such as:

  • Headset detection
  • Button press
  • DAC DRC signal exceeding threshold
  • Noise detected by AGC
  • Overcurrent condition in headphone drivers and speaker drivers
  • Data overflow in the ADC and DAC processing blocks and filters
  • DC measurement data available

Each of these INT1 and INT2 interrupts can be routed to output pins GPIO1 or DOUT. These interrupt signals can either be configured as a single pulse or a series of pulses by programming page 0 / register 48, bit D0 and page 0 / register 49, bit D0. If the user configures the interrupts as a series of pulses, the events trigger the start of pulses that stop when the flag registers in page 0 / registers 44, 45, and 50 are read by the user to determine the cause of the interrupt.

7.3.10.7 Key-Click Functionality With Digital Sine-Wave Generator (PRB_P25)

A special algorithm has been included in the digital signal processing block PRB_P25 for generating a digital sine-wave signal that is sent to the DAC. The digital sine-wave generator is also referred to as the beep generator in this document.

This functionality is intended for generating key-click sounds for user feedback. The sine-wave generator is very flexible (see Table 7-36) and is completely register programmable. Programming page 0 / register 71 through page 0 / register 79 (8 bits each) completely controls the functionality of this generator and allows for differentiating sounds.

The two registers used for programming the 16-bit sine-wave coefficient are page 0 / register 76 and page 0 / register 77. The two registers used for programming the 16-bit cosine-wave coefficient are page 0 / register 78 and page 0 / register 79. This coefficient resolution allows virtually any frequency of sine wave in the audio band to be generated, up to fS / 2.

The three registers used to control the length of the sine-burst waveform are page 0 / register 73 through page 0 / register 75. The resolution (bit) in the registers of the sine-burst length is one sample time, so this allows great control on the overall time of the sine-burst waveform. This 24-bit length timer supports
16 777 215 sample times. For example, if fS is set at 48 kHz, and the register value equals 96 000 d (01 7700h), then the sine burst lasts exactly 2 seconds. The default settings for the tone generator, based on using a sample rate of 48 kHz, are 1-kHz (approximately) sine wave, with a sine-burst length of five cycles (5 ms).

Table 7-36 Beep Generator Register Locations (Page 00h)

LEFT BEEP CONTROL RIGHT BEEP CONTROL BEEP LENGTH SINE COSINE
MSB MID LSB MSB LSB MSB LSB
REGISTER 71 72 73 74 75 76 77 78 79

Table 7-37 Example Beep-Generator Settings for a 1000-Hz Tone

BEEP FREQUENCY BEEP LENGTH SINE COSINE SAMPLE RATE
Hz MSB
(hex)
MID
(hex)
LSB
(hex)
MSB
(hex)
LSB
(hex)
MSB
(hex)
LSB
(hex)
Hz
1000(1) 0 0 EE 10 D8 7E E3 48 000
(1) These are the default settings.

Two registers are used to control the left sine-wave volume and the right sine-wave volume independently. The 6-bit digital volume control used allows level control of 2 dB to –61 dB in 1-dB steps. The left-channel volume is controlled by writing to page 0 / register 71, bits D5–D0. The right-channel volume is controlled by writing to page 0, register 72, bits D5–D0. A master volume control that controls the left and right channels of the beep generator are set up by writing to page 0 / register 72, bits D7–D6. The default volume control setting is 2 dB, which provides the maximum tone-generator output level.

For generating other tones, the three tone-generator coefficients are found by running the following script using MATLAB™ :

Sine = dec2hex(round(sin(2*π*Fin/Fs)*2^15)) Cosine = dec2hex(round(cos(2*π*Fin/Fs)*2^15)) Beep Length = dec2hex(floor(Fs*Cycle/Fin))

where,

Fin = Beep frequency desired
Fs = Sample rate
Cycle = Number of beep (sine wave) cycles that are required
dec2hex = Decimal to hexadecimal conversion function

NOTES:

  1. Fin must be less than Fs / 4.
  2. For the sine and cosine values, if the number of bits is less than the full 16-bit value, then the unused MSBs must be written as 0s.
  3. For the beep-length values, if number of bits is less than the full 24-bit value, then the unused MSBs must be written as 0s.

Following the beep-volume control is a digital mixer that mixes in a playback data stream whose level has already been set by the DAC volume control. Therefore, once the key-click volume level is set, the key-click volume is not affected by the DAC volume control, which is the main control available to the end user. shows this functionality.

Following the DAC, the signal can be further scaled by the analog output volume control and power-amplifier level control.

To insert a beep in the middle of an already-playing signal over DAC, use the following sequence.

Before the beep is desired, program the desired beep frequency, volume, and length in the configuration registers. When a beep is desired, use the example configuration script.

w 30 00 00 # change to Page 0 w 30 40 0C # mute DACs f 30 26 xxx1xxx1 # wait for DAC gain flag to be set w 30 0B 02 # power down NDAC divider w 30 47 80 # enable beep generator with left channel volume = 0dB, volume level could # be different as per requirement w 30 0B 82 # power up NDAC divider, in this specific example NDAC = 2, but NDAC could # be different value as per overall setup w 30 40 00 # un-mute DAC to resume playing audio

Note that in this scheme the audio signal on the DAC is temporarily muted to enable beep generation. Because powering down of NDAC clock divider is required, do not use the DAC_CLK or DAC_MOD_CLK for generation of I2S clocks.

7.3.10.8 Programming DAC Digital Filter Coefficients

The digital filter coefficients must be programmed through the I2C interface. All digital filtering for the DAC signal path must be loaded into the RAM before the DAC is powered on. Note that default ALLPASS filter coefficients for programmable biquads are located in boot ROM. The boot ROM automatically loads the default values into the RAM following a hardware reset (toggling the RESET pin) or after a software reset. After resetting the device, loading boot ROM coefficients into the digital filters requires 100 μs of programming time. During this time, reading or writing to page 8 through page 15 for updating DAC filter coefficient values is not permitted. The DAC should not be powered up until after all of the DAC configurations have been done by the system microprocessor.

7.3.10.9 Updating DAC Digital Filter Coefficients During PLAY

When it is required to update the DAC digital filter coefficients or beep generator during play, care must be taken to avoid click and pop noise or even a possible oscillation noise. These artifacts can occur if the DAC coefficients are updated without following the proper update sequence. The correct sequence is shown in Figure 7-34. The values for times listed in Figure 7-34 are conservative and should be used for software purposes.

There is also an adaptive mode, in which DAC coefficients can be updated while the DAC is on. For details, see Section 7.3.10.1.3.

TLV320AIC3110 f0024-02_las550.gif Figure 7-34 Example Flow For Updating DAC Digital Filter Coefficients During Play

7.3.10.10 Digital Mixing and Routing

The TLV320AIC3110 has four digital mixing blocks. Each mixer can provide either mixing or multiplexing of the digital audio data. This arrangement of digital mixers allows independent volume control for both the playback data and the key-click sound. The first set of mixers can be used to make monaural signals from left and right audio data, or they can be used to swap channels to the DAC. This function is accomplished by selecting left audio data for the right DAC input, and right data for the left DAC input. The second set of mixers provides mixing of the audio data stream and the key-click sound. The digital routing can be configured by writing to page 0 / register 63, bits D5–D4 for the left channel and bits D3–D2 for the right channel.

Because the key-click function uses the digital signal processing block, the CODEC_CLKIN, DAC, analog volume control, and output driver must be powered on for the key-click sound to occur.

7.3.10.11 Analog Audio Routing

The TLV320AIC3110 has the capability to route the DAC output to either the headphone or the speaker output. If desirable, both output drivers can operate at the same time while playing at different volume levels. The TLV320AIC3110 provides various digital routing capabilities, allowing digital mixing or even channel swapping in the digital domain. All analog outputs other than the selected ones can be powered down for optimal power consumption.

7.3.10.11.1 Analog Output Volume Control

The output volume control fine tunes the level of the mixer amplifier signal supplied to the headphone driver or the speaker driver. This architecture supports separate and concurrent volume levels for each of the four output drivers. This volume control is also used as part of the output pop-noise reduction scheme. This feature is available even if the ADC and DAC are powered down.

7.3.10.11.2 Headphone Analog-Output Volume Control

For the headphone outputs, the analog volume control has a range from 0 dB to –78 dB in 0.5-dB steps for most of the useful range plus mute, which is shown in Table 7-38. This volume control includes soft-stepping logic. Routing the left-channel DAC output signal to the left-channel analog volume control occurs by writing to page 1 / register 35, bit D6. Routing the right-channel DAC output signal to the right-channel analog volume control occurs by writing to page 1 / register 35, bit D2.

Changing the left-channel analog volume for the headphone is controlled by writing to page 1 / register 36, bits D6–D0. Changing the right-channel analog volume for the headphone is controlled by writing to page 1 / register 37, bits D6–D0. Routing the signal from the output of the left-channel analog volume control to the input of the left-channel headphone power amplifier occurs by writing to page 1 / register 36, bit D7. Routing the signal from the output of the right-channel analog volume control to the input of the right-channel headphone power amplifier occurs by writing to page 1 / register 37, bit D7.

The analog volume-control soft-stepping time is based on the setting in page 0 / register 63, bits D1–D0.

Table 7-38 Analog Volume Control for Headphone and Speaker Outputs (for D7 = 1)(1)

REGISTER VALUE
(D6–D0)
ANALOG GAIN (dB) REGISTER VALUE
(D6–D0)
ANALOG GAIN (dB) REGISTER VALUE
(D6–D0)
ANALOG GAIN (dB) REGISTER VALUE
(D6–D0)
ANALOG GAIN (dB)
 0   0 30 –15 60 –30.1  90 –45.2
 1  –0.5 31 –15.5 61 –30.6  91 –45.8
 2  –1 32 –16 62 –31.1  92 –46.2
 3  –1.5 33 –16.5 63 –31.6  93 –46.7
 4  –2 34 –17 64 –32.1  94 –47.4
 5  –2.5 35 –17.5 65 –32.6  95 –47.9
 6  –3 36 –18.1 66 –33.1  96 –48.2
 7  –3.5 37 –18.6 67 –33.6  97 –48.7
 8  –4 38 –19.1 68 –34.1  98 –49.3
 9  –4.5 39 –19.6 69 –34.6  99 –50
10  –5 40 –20.1 70 –35.2 100 –50.3
11  –5.5 41 –20.6 71 –35.7 101 –51
12  –6 42 –21.1 72 –36.2 102 –51.4
13  –6.5 43 –21.6 73 –36.7 103 –51.8
14  –7 44 –22.1 74 –37.2 104 –52.2
15  –7.5 45 –22.6 75 –37.7 105 –52.7
16  –8 46 –23.1 76 –38.2 106 –53.7
17  –8.5 47 –23.6 77 –38.7 107 –54.2
18  –9 48 –24.1 78 –39.2 108 –55.3
19  –9.5 49 –24.6 79 –39.7 109 –56.7
20 –10 50 –25.1 80 –40.2 110 –58.3
21 –10.5 51 –25.6 81 –40.7 111 –60.2
22 –11 52 –26.1 82 –41.2 112 –62.7
23 –11.5 53 –26.6 83 –41.7 113 –64.3
24 –12 54 –27.1 84 –42.1 114 –66.2
25 –12.5 55 –27.6 85 –42.7 115 –68.7
26 –13 56 –28.1 86 –43.2 116 –72.2
27 –13.5 57 –28.6 87 –43.8 117–127 –78.3
28 –14 58 –29.1 88 –44.3
29 –14.5 59 –29.6 89 –44.8
(1) Mute when D7 = 0 and D6–D0 = 127 (0x7F).

7.3.10.11.3 Class-D Speaker Analog Output Volume Control

For the speaker outputs, the analog volume control has a range from 0 dB to –78 dB in 0.5-dB steps for most of the useful range plus mute, as seen in Table 7-38. The implementation includes soft-stepping logic.

Routing the left-channel DAC output signal to the left-channel analog volume control is done by writing to page 1 / register 35, bit D6. Routing the right-channel DAC output signal to the right-channel analog volume control is done by writing to page 1 / register 35, bit D2. Changing the left-channel analog volume for the speaker is controlled by writing to page 1 / register 38, bits D6–D0. Changing the right-channel analog volume for the speaker is controlled by writing to page 1 / register 39, bits D6–D0.

Routing the signal from the output of the left-channel analog volume control to the input of the left-channel speaker amplifier is done by writing to page 1 / register 38, bit D7. Routing the signal from the output of the right-channel analog volume control to the input of the right-channel speaker amplifier is done by writing to page 1 / register 39, bit D7.

The analog volume-control soft-stepping time is based on the setting in page 0 / register 63, bits D1–D0.

7.3.10.12 Analog Outputs

Various analog routings are supported for playback. All the options can be conveniently viewed on the functional block diagram, .

7.3.10.12.1 Headphone Drivers

The TLV320AIC3110 device features a stereo headphone driver (HPL and HPR) that delivers up to 30 mW per channel, at 3.3-V supply voltage, into a 16-Ω load. The headphones are used in a single-ended configuration where an ac-coupling capacitor (dc-blocking) is connected between the device output pins and the headphones. The headphone driver also supports 32-Ω and 10-kΩ loads without changing any control register settings.

The headphone drivers can be configured to optimize the power consumption in the lineout-drive mode by writing 11 to page 1 / register 44, bits D2–D1.

The output common mode of the headphone and lineout drivers is programmed to 1.35 V, 1.5 V, 1.65 V, or 1.8 V by setting page 1 / register 31, bits D4–D3. Set the common-mode voltage to ≤ AVDD / 2.

The left headphone driver powers on by writing to page 1 / register 31, bit D7. The right headphone driver powers on by writing to page 1 / register 31, bit D6. The left-output driver gain is controlled by writing to page 1 / register 40, bits D6–D3, and it is muted by writing to page 1 / register 40, bit D2. The right-output driver gain is controlled by writing to page 1 / register 41, bits D6–D3, and it is muted by writing to page 1 / register 41, bit D2.

The TLV320AIC3110 device has a short-circuit protection feature for the headphone drivers, which is always enabled to provide protection. The output condition of the headphone driver during short circuit is programmed by writing to page 1 / register 31, bit D1. If D1 = 0 when a short circuit is detected, the device limits the maximum current to the load. If D1 = 1 when a short circuit is detected, the device powers down the output driver. The default condition for headphones is the current-limiting mode. In case of a short circuit on either channel, the output is disabled and a status flag is provided as read-only bits on page 1 / register 31, bit D0. If shutdown mode is enabled, then as soon as the short circuit is detected, page 1 / register 31, bit D7 (for HPL) or page 1 / register 31, bit D6, or both (for HPR) clear automatically. Next, the device requires a reset to re-enable the output stage. Resetting occurs in two ways. First, the device master reset can be used, which requires either toggling the RESET pin or using the software reset. If master reset is used, it resets all of the registers. Second, a dedicated headphone power-stage reset can also be used to re-enable the output stage, and that keeps all of the other device settings. The headphone power stage reset occurs by setting page 1 / register 31, bit D7 for HPL and by setting page 1 / register 31, bit D6 for HPR. If the fault condition has been removed, then the device returns to normal operation. If the fault is still present, then another shutdown occurs. Repeated resetting (more than three times) is not recommended, as this could lead to overheating.

7.3.10.12.2 Speaker Drivers

The TLV320AIC3110 device has an integrated class-D stereo speaker driver (SPLP / SPLM and SPRP / SPRM) capable of driving an 8-Ω differential load. The speaker driver can be powered directly from the battery supply (2.7 V to 5.5 V) on the SPLVDD and SPRVDD pins; however, the voltage (including spike voltage) must be limited below the absolute-maximum voltage of 6 V.

The speaker driver is capable of supplying 400 mW per channel with a 3.6-V power supply. Through the use of digital mixing, the device can connect one or both digital-audio playback data-channels to either speaker driver which also allows for digital channel swapping if needed.

The left class-D speaker driver can be powered on by writing to page 1 / register 32, bit D7. The right class-D speaker driver can be powered on by writing to page 1 / register 32, bit D6. The left-output driver gain can be controlled by writing to page 1 / register 42, bits D4–D3, and it can be muted by writing to page 1 / register 42, bit D2. The right-output driver gain can be controlled by writing to page 1 / register 43, bits D4–D3, and it can be muted by writing to page 1 / register 43, bit D2.

The TLV320AIC3110 device has a short-circuit protection feature for the speaker drivers that is always enabled to provide protection. If the output is shorted, the output stage shuts down on the overcurrent condition. (Current limiting is not an available option for the higher-current speaker driver output stage.) In case of a short circuit on either channel, the output is disabled and a status flag is provided as a read-only bit on page 1 / register 32, bit D0.

If shutdown occurs because of an overcurrent condition, then the device requires a reset to re-enable the output stage. Resetting occurs in two ways. First, the device master reset can be used, which requires either toggling the RESET pin or using the software reset. If master reset is used, it resets all of the registers. Second, a dedicated speaker power-stage reset can be used that keeps all of the other device settings. The speaker power-stage reset occurs by setting page 1 / register 32, bit D7 for SPLP and SPLM and by setting page 1 / register 32, bit D6 for SPRP and SPRM. If the fault condition has been removed, then the device returns to normal operation. If the fault is still present, then another shutdown occurs. Repeated resetting (more than three times) is not recommended as this could lead to overheating.

To minimize battery current leakage, the SPLVDD and SPRVDD voltage levels must not be less than the AVDD voltage level.

The TLV320AIC3110 device has a thermal protection (OTP) feature for the speaker drivers which is always enabled to provide protection. If the device overheats, then the output stops switching. When the device cools down, the device resumes switching. An overtemperature status flag is provided as a read-only bit on page 0 / register 3, bit D1. The OTP feature is for self-protection of the device. If die temperature can be controlled at the system or board level, then overtemperature does not occur.

7.3.10.13 Audio-Output Stage-Power Configurations

After the device has been configured (following a RESET) and the circuitry has been powered up, the audio output stage can be powered up and powered down by register control.

These functions soft-start automatically. By using these register controls, controlling all four output stages independently is possible.

See Table 7-39 for register control of audio output stage power configurations.

Table 7-39 Audio-Output Stage-Power Configurations

AUDIO OUTPUT PINS DESIRED FUNCTION PAGE 1 / REGISTER, BIT VALUES
HPL Power down HPL driver Page 1 / register 31, bit D7 = 0
Power up HPL driver Page 1 / register 31, bit D7 = 1
HPR Power down HPR driver Page 1 / register 31, bit D6 = 0
Power up HPR driver Page 1 / register 31, bit D6 = 1
SPLP / SPLM Power down left class-D drivers Page 1 / register 32, bit D7 = 0
Power up left class-D drivers Page 1 / register 32, bit D7 = 1
SPRP / SPRM Power down right class-D drivers Page 1 / register 32, bit D6 = 0
Power up right class-D drivers Page 1 / register 32, bit D6 = 1

7.3.10.14 Example Register Setup to Play Digital Data Through DAC and Headphone/Speaker Outputs

A typical EVM I2C register control script follows to show how to set up the TLV320AIC3110 in playback mode with fS = 44.1 kHz and MCLK = 11.2896 MHz.


# I2C Script to Setup TLV320AIC3110 in Playback Mode
# Key: w 30 XX YY ==> write to I2C address 0x30, to register 0xXX, data 0xYY
# # ==> comment delimiter
#
# Select Page 0
w 30 00 00
# Software reset
w 30 01 01
# PLL_clkin = MCLK, codec_clkin = PLL_CLK
w 30 04 03
# PLL Power up, P = 1, R = 1
w 30 05 91
# J = 8
w 30 06 08
# D = 0000, D(13:8) = 0, D(7:0) = 0
w 30 07 00 00
# Mode is I2S, Wordlength is 16
w 30 1B 00
# NDAC is powered up and set to 4
w 30 0B 84
# MDAC is powered up and set to 4
w 30 0C 84
# DOSR = 128, DOSR(9:8) = 0, DOSR(7:0) = 128
w 30 0D 00 80
# DAC => volume control thru pin disable
w 30 74 00
# DAC => DRC disable,
w 30 44 00
# DAC => -22 db gain left
w 30 41 D4
# DAC => -22 db gain right
w 30 42 D4
# Select Page 1
w 30 00 01
# De-pop, Power on = 800 ms, Step time = 4 ms
w 30 21 4E
# HPL and HPR powered up
w 30 1F C2
# LDAC routed to HPL, RDAC routed to HPR
w 30 23 44
# HPL unmute and gain = 0db
w 30 28 06
# HPR unmute and gain = 0db
w 30 29 06
# Unmute Class-D Left
w 30 2A 1C
# Unmute Class-D Right
w 30 2B 1C
# Power-up Class-D drivers
w 30 20 C6
# Enable HPL output analog volume, set = -9 dB
w 30 24 92
# Enable HPR output analog volume, set = -9 dB
w 30 25 92
# Enable HPL output analog volume, set = -9 dB
w 30 26 92
# Enable HPR output analog volume, set = -9 dB
w 30 27 92
# Select Page 0
w 30 00 00
# Select DAC DSP Processing Block PRB_P11
w 30 3C 0B
w 30 00 08
w 30 01 04
w 30 00 00
# Powerup DAC left and right channels (soft step disable)
w 30 3F D6
# Unmute DAC left and right channels
w 30 40 00

7.3.11 CLOCK Generation and PLL

The TLV320AIC3110 device supports a wide range of options for generating clocks for the ADC and DAC sections as well as interface and other control blocks as shown in Figure 7-35. The clocks for the ADC and DAC require a source reference clock. This clock is provided on a variety of device pins, such as the MCLK, BCLK, or GPIO1 pins. The source reference clock for the codec is chosen by programming the CODEC_CLKIN value on page 0 / register 4, bits D1–D0. The CODEC_CLKIN is then routed through highly-flexible clock dividers shown in Figure 7-35 to generate the various clocks required for the DAC, and digital processing sections. In the event that the desired audio clocks cannot be generated from the reference clocks on MCLK, BCLK, or GPIO1, the TLV320AIC3110 device also provides the option of using the on-chip PLL which supports a wide range of fractional multiplication values to generate the required clocks. Starting from CODEC_CLKIN, the TLV320AIC3110 device provides several programmable clock dividers to help achieve a variety of sampling rates for the ADC, DAC.

TLV320AIC3110 B0357-02_LAS644_new.gif Figure 7-35 Clock Distribution Tree

Equation 8. TLV320AIC3110 eq_5-8_las644.gif

Table 7-40 CODEC CLKIN Clock Dividers

DIVIDER BITS
NDAC Page 0 / register 11, bits D6–D0
MDAC Page 0 / register 12, bits D6–D0
DOSR Page 0 / register 13, bits D1–D0 and page 0 / register 14, bits D7–D0
NADC Page 0 / register 18, bits D6–D0
MADC Page 0 / register 19, bits D6–D0
AOSR Page 0 / register 20, bits D7–D0

The DAC modulator is clocked by DAC_MOD_CLK. For proper power-up operation of the DAC channel, these clocks must be enabled by configuring the NDAC and MDAC clock dividers (page 0 / register 11, bit D7 = 1 and page 0 / register 12, bit D7 = 1). When the DAC channel is powered down, the device internally initiates a power-down sequence for proper shutdown. During this shutdown sequence, the NDAC and MDAC dividers must not be powered down, or else a proper low-power shutdown may not take place. The user can read back the power-status flag at page 0 / register 37, bit D7 and page 0 / register 37, bit D3. When both of the flags indicate power-down, the MDAC divider may be powered down, followed by the NDAC divider. Note that when the ADC clock dividers are powered down, the ADC clock is derived from the DAC clocks.

The ADC modulator is clocked by ADC_MOD_CLK. For proper power-up of the ADC channel, these clocks are enabled by the NADC and MADC clock dividers (page 0 / register 18, bit D7 = 1 and page 0 / register 19, bit D7 = 1). When the ADC channel is powered down, the device internally initiates a power-down sequence for proper shutdown. During this shutdown sequence, the NADC and MADC dividers must not be powered down, or else a proper low-power shutdown may not take place. The user can read back the power-status flag from page 0 / register 36, bit D6. When this flag indicates power down, the MADC divider may be powered down, followed by NADC divider.

When ADC_CLK (ADC processing clock) is derived from the NDAC divider output, the NDAC must be kept powered up until the power-down status flags for ADC do not indicate power down. When the input to the AOSR clock divider is derived from DAC_MOD_CLK, then MDAC must be powered up when ADC_fS is needed (for example, when WCLK is generated by the TLV320AIC3110 device or AGC is enabled) and can be powered down only after the ADC power-down flags indicate power-down status.

In general, for proper operation, all the root clock dividers must power down only after the child clock dividers have powered down.

The TLV320AIC3110 device also has options for routing some of the internal clocks to the output pins of the device to be used as general-purpose clocks in the system. The feature is shown in Figure 7-37.

TLV320AIC3110 bclk_op_las644.gif Figure 7-36 BCLK Output Options

In the mode when the TLV320AIC3110 device is configured to drive the BCLK pin (page 0 / register 27, bit D3 = 1), the device is driven as the divided value of BDIV_CLKIN. The division value is programmed in page 0 / register 30, bits D6–D0 from 1 to 128. The BDIV_CLKIN is configurable to be one of DAC_CLK (DAC processing clock), DAC_MOD_CLK, ADC_CLK (ADC DSP clock) or ADC_MOD_CLK by configuring the BDIV_CLKIN multiplexer in page 0 / register 29, bits D1–D0. Additionally, a general-purpose clock can be driven out on either GPIO1 or DOUT.

This clock can be a divided-down version of CDIV_CLKIN. The value of this clock divider can be programmed from 1 to 128 by writing to page 0 / register 26, bits D6–D0. CDIV_CLKIN can also be programmed as one of the clocks among the list shown in Figure 7-37. This is controlled by programming the multiplexer in page 0 / register 25, bits D2–D0.

TLV320AIC3110 gen_purp_clk_las644.gif Figure 7-37 General-Purpose Clock Output Options

Table 7-41 Maximum TLV320AIC3110 Clock Frequencies

CLOCK DVDD ≥ 1.65 V
CODEC_CLKIN ≤ 110 MHz
ADC_CLK (ADC processing clock) ≤ 49.152 MHz
ADC_PRB_CLK ≤ 24.576 MHz
ADC_MOD_CLK 6.758 MHz
ADC_fS 0.192 MHz
DAC_CLK (DAC processing clock) ≤ 49.152 MHz
DAC_PRB_CLK ≤ 49.152 MHz with DRC disabled
≤ 48 MHz with DRC enabled
DAC_MOD_CLK 6.758 MHz
DAC_fS 0.192 MHz
BDIV_CLKIN 55 MHz
CDIV_CLKIN 100 MHz when M is odd
110 MHz when M is even

7.3.11.1 PLL

For lower power consumption, the best process is to derive the internal audio processing clocks using the simple dividers. When the input MCLK or other source clock is not an integer multiple of the audio processing clocks then using the on-board PLL is necessary. The TLV320AIC3110 fractional PLL generates an internal master clock that produces the processing clocks required by the ADC, DAC, and digital processing blocks. The programmability of this PLL allows operation from a wide variety of clocks that may be available in the system.

The PLL input supports clocks varying from 512 kHz to 20 MHz and is register-programmable to enable generation of the required sampling rates with fine resolution. The PLL turns on by writing to page 0 / register 5, bit D7. When the PLL is enabled, the PLL output clock, PLL_CLK, is given by Equation 9.

Equation 9. TLV320AIC3110 q-pll_las644.gif

where

  • R = 1, 2, 3, ..., 16 (page 0 / register 5, default value = 1)
  • J = 1, 2,3, … , 63, (page 0 / register 6, default value = 4)
  • D = 0, 1, 2, …, 9999 (page 0 / register 7 and page 0 / register 8, default value = 0)
  • P = 1, 2, 3, …, 8 (page 0 / register 5, default value = 1)

The PLL turns on through page 0 / register 5, bit D7. The variable P is programmed through page 0 / register 5, bits D6–D4. The variable R is programmed through page 0 / register 5, bits D3–D0. The variable J is programmed through page 0 / register 6, bits D5–D0. The variable D is 14 bits and is programmed into two registers. The MSB portion is programmed through page 0 / register 7, bits D5–D0, and the LSB portion is programmed thrugh page 0 / register 8, bits D7–D0. For proper update of the D-divider value, page 0 / register 7 must be programmed first, followed immediately by page 0 / register 8. The new value of D does not take effect unless the write to page 0 / register 8 is complete.

When the PLL is enabled, the following conditions must be satisfied:

  • When the PLL is enabled and D = 0, the following conditions must be satisfied for PLL_CLKIN:
  • Equation 10. TLV320AIC3110 q-pll2_las644.gif

    80 MHz ≤ (PLL_CLKIN × J.D. × R / P) ≤ 110 MHz


    4 ≤ R × J ≤ 259

  • When the PLL is enabled and D ≠ 0, the following conditions must be satisfied for PLL_CLKIN:
  • Equation 11. TLV320AIC3110 q-pll3_las644.gif

    80 MHz ≤ PLL_CLKIN × J.D. × R / P ≤ 110 MHz


    R = 1

The PLL can power up independently from the ADC and DAC blocks, and can also be used as a general-purpose PLL by routing the PLL output to the GPIO output. After powering up the PLL, PLL_CLK is available typically after 10 ms.

The clocks for the codec and various signal processing blocks, CODEC_CLKIN, are generated from the MCLK input, BCLK input, GPIO input, or PLL_CLK (page 0 / register 4, bits D1–D0).

If CODEC_CLKIN is derived from the PLL, then the PLL must be powered up first and powered down last.

Table 7-42 lists several example cases of typical PLL_CLKIN rates and how to program the PLL to achieve a sample rate fS of either 44.1 kHz or 48 kHz.

Table 7-42 PLL Example Configurations

PLL_CLKIN (MHz) PLLP PLLR PLLJ PLLD MADC NADC AOSR MDAC NDAC DOSR
fS = 44.1 kHz
 2.8224 1 3 10    0 3 5 128 3 5 128
 5.6448 1 3 5    0 3 5 128 3 5 128
12      1 1 7  560 3 5 128 3 5 128
13      1 1 6 3504 2 9 104 6 3 104
16      1 1 5 2920 3 5 128 3 5 128
19.2    1 1 4 4100 3 5 128 3 5 128
48      4 1 7  560 3 5 128 3 5 128
fS = 48 kHz
 2.048 1 3 14    0 2 7 128 7 2 128
 3.072 1 4 7    0 2 7 128 7 2 128
 4.096 1 3 7    0 2 7 128 7 2 128
 6.144 1 2 7    0 2 7 128 7 2 128
 8.192 1 4 3    0 2 8 128 4 4 128
12     1 1 7 1680 2 7 128 7 2 128
16     1 1 5 3760 2 7 128 7 2 128
19.2   1 1 4 4800 2 7 128 7 2 128
48     4 1 7 1680 2 7 128 7 2 128

7.3.12 Timer

The internal clock runs nominally at 8.2 MHz. This is used for various internal timing intervals, de-bounce logic, and interrupts. The MCLK divider must be set in such a way that the divider output is approximately 1 MHz for the timers to be closer to the programmed value.

TLV320AIC3110 timer_clk_las647.gifFigure 7-38 Interval Timer Clock Selection

7.3.13 Digital Audio and Control Interface

7.3.13.1 Digital Audio Interface

Audio data is transferred between the host processor and the TLV320AIC3110 device through the digital audio data, serial interface, or audio bus. The audio bus on this device is very flexible, including left- or right-justified data options, support for I2S or DSP protocols, programmable data length options, a TDM mode for multichannel operation, very flexible master and slave configurability for each bus-clock line, and the ability to communicate with multiple devices within a system directly.

The audio bus of the TLV320AIC3110 device can be configured for left-justified or right-justified, I2S, DSP, or TDM modes of operation, where communication with standard telephony interfaces is supported within the TDM mode. These modes are all MSB-first, with data width programmable as 16, 20, 24, or 32 bits by configuring page 0 / register 27, bits D5–D4. In addition, the word clock and bit clock can be independently configured in either master or slave mode, for flexible connectivity to a wide variety of processors. The word clock defines the beginning of a frame, and can be programmed as either a pulse or a square-wave signal. The frequency of this clock corresponds to the maximum of the selected ADC and DAC sampling frequencies.

The bit clock is used to clock-in and clock-out the digital audio data across the serial bus. When in master mode, this signal can be programmed to generate variable clock pulses by controlling the bit-clock divider in page 0 / register 30 (see Figure 7-35). The number of bit-clock pulses in a frame can require adjustment to accommodate various word lengths as well as to support the case when multiple TLV320AIC3110s share the same audio bus.

The TLV320AIC3110 device also includes a feature to offset the position of start-of-data transfer with respect to the word clock. This offset is controlled in terms of number of bit-clocks and can be programmed in page 0 / register 28.

The TLV320AIC3110 device also has the feature of inverting the polarity of the bit clock used for transferring the audio data as compared to the default clock polarity used. This feature can be used independently of the mode of audio interface chosen. This can be configured through page 0 / register 29, bit D3.

The TLV320AIC3110 device further includes programmability (page 0 / register 27, bit D0) to place the DOUT line in the high-impedance state during all bit clocks when valid data is not being sent. By combining this capability with the ability to program at what bit clock in a frame the audio data begins, time-division multiplexing (TDM) is accomplished, enabling the use of multiple codecs on a single audio serial data bus. When the audio serial data bus is powered down while configured in master mode, the pins associated with the interface are put into a high-impedance output condition.

By default, when the word clocks and bit clocks are generated by the TLV320AIC3110 device, these clocks are active only when the codecs (ADC, DAC or both) are powered up within the device. This is done to save power. However, it also supports a feature when both the word clocks and bit clocks can be active even when the codec in the device is powered down. This is useful when using the TDM mode with multiple codecs on the same bus, or when word clocks or bit clocks are used in the system as general-purpose clocks.

7.3.13.1.1 Right-Justified Mode

The audio interface of the TLV320AIC3110 can enter the right-justified mode by programming page 0 / register 27, bits D7–D6 = 10. In right-justified mode, the LSB of the left channel is valid on the rising edge of the bit clock preceding the falling edge of the word clock. Similarly, the LSB of the right channel is valid on the rising edge of the bit clock preceding the rising edge of the word clock.

TLV320AIC3110 t_rt_jus_las644.gif Figure 7-39 Timing Diagram for Right-Justified Mode

For the right-justified mode, the number of bit clocks per frame should be greater-than or equal-to twice the programmed word length of the data.

7.3.13.1.2 Left-Justified Mode

The audio interface of the TLV320AIC3110 can enter the left-justified mode by programming page 0 / register 27, bits D7–D6 = 11. In left-justified mode, the MSB of the right channel is valid on the rising edge of the bit clock following the falling edge of the word clock. Similarly, the MSB of the left channel is valid on the rising edge of the bit clock following the rising edge of the word clock.

TLV320AIC3110 t_lft_jus_los585.gif Figure 7-40 Timing Diagram for Left-Justified Mode
TLV320AIC3110 t_lft_offset_los585.gif Figure 7-41 Timing Diagram for Left-Justified Mode With Offset = 1
TLV320AIC3110 t_lft_inv_los585.gif Figure 7-42 Timing Diagram for Left-Justified Mode With Offset = 0 and Inverted Bit Clock

For the left-justified mode, the number of bit clocks per frame should be greater-than or equal-to twice the programmed word length of the data. Also, the programmed offset value should be less than the number of bit clocks per frame by at least the programmed word length of the data.

7.3.13.1.3 I2S Mode

The audio interface of the TLV320AIC3110 device enters I2S mode by programming page 0 / register 27, bits D7–D6 = to 00. In I2S mode, the MSB of the left channel is valid on the second rising edge of the bit clock after the falling edge of the word clock. Similarly, the MSB of the right channel is valid on the second rising edge of the bit clock after the rising edge of the word clock.

TLV320AIC3110 t_dia_los585.gif Figure 7-43 Timing Diagram for I2S Mode
TLV320AIC3110 t_dis_offset_los585.gif Figure 7-44 Timing Diagram for I2S Mode With Offset = 2
TLV320AIC3110 t_dis_inv_los585.gif Figure 7-45 Timing Diagram for I2S Mode With Offset = 0 and Bit Clock Inverted

For I2S mode, the number of bit clocks per channel should be greater-than or equal-to the programmed word length of the data. Also, the programmed offset value should be less than the number of bit clocks per frame by at least the programmed word length of the data.

Figure 7-46 shows the timing diagram for I2S mode for the monaural audio ADC.

TLV320AIC3110 t0202-03_las644.gif Figure 7-46 Timing Diagram for I2S Mode for Monaural Audio ADC

7.3.13.1.4 DSP Mode

The audio interface of the TLV320AIC3110 can enter DSP mode by programming page 0 / register 27, bits D7–D6 = 01. In DSP mode, the falling edge of the word clock starts the data transfer with the left-channel data first and immediately followed by the right-channel data. Each data bit is valid on the falling edge of the bit clock.

TLV320AIC3110 t_dsp_los585.gif Figure 7-47 Timing Diagram for DSP Mode
TLV320AIC3110 t_dsp_offset_los585.gif Figure 7-48 Timing Diagram for DSP Mode With Offset = 1
TLV320AIC3110 t_dsp_inv_los585.gif Figure 7-49 Timing Diagram for DSP Mode With Offset = 0 and Bit Clock Inverted

For the DSP mode, the number of bit clocks per frame should be greater-than or equal-to twice the programmed word length of the data. Also, the programmed offset value should be less than the number of bit clocks per frame by at least the programmed word length of the data.

7.3.13.2 Primary and Secondary Digital Audio Interface Selection

The audio serial interface on the TLV320AIC3110 has extensive I/O control to allow communication with two independent processors for audio data. The processors can communicate with the device one at a time. This feature is enabled by register programming of the various pin selections. Table 7-43 shows the primary and secondary audio interface selection and registers. Table 7-44 shows the selection criteria for generating ADC_WCLK. Figure 7-50 is a high-level diagram showing the general signal flow and multiplexing for the primary and secondary audio interfaces. For detailed information, see Table 7-43, Table 7-44, and the register definitions in .

Table 7-43 Primary and Secondary Audio Interface Selection

DESIRED PIN FUNCTION POSSIBLE PINS PAGE 0 REGISTERS COMMENT
Primary WCLK (OUT) WCLK R27/D2 = 1 Primary WCLK is output from codec
R33/D5–D4 Select source of primary WCLK (DAC_fs, ADC_fs, or secondary WCLK)
Primary WCLK (IN) WCLK R27/D2 = 0 Primary WCLK is input to codec
Primary BCLK (OUT) BCLK R27/D3 = 1 Primary BCLK is output from codec
R33/D7 Select source of primary WCLK (internal BCLK or secondary BCLK)
Primary BCLK (IN) BCLK R27/D3 = 0 Primary BCLK is input to codec
Primary DIN (IN) DIN R32/D0 Select DIN to internal interface (0 = primary DIN; 1 = secondary DIN)
Primary DOUT (OUT) DOUT R53/D3–D1 = 001 DOUT = primary DOUT for codec interface
R33/D1 Select source for DOUT (0 = DOUT from interface block; 1 = secondary DIN)
Secondary WCLK (OUT) GPIO1 R31/D4–D2 = 000 Secondary WCLK obtained from GPIO1 pin
R51/D5–D2 = 1001 GPIO1 = secondary WCLK output
R33/D3–D2 Select source of secondary WCLK (DAC_fs, ADC_fs, or primary WCLK)
DOUT R31/D4–D2 = 011 Secondary WCLK obtained from DOUT pin
R53/D3–D1 = 111 DOUT = secondary WCLK output
R33/D3–D2 Select source of secondary WCLK (DAC_fs, ADC_fs, or primary WCLK)
Secondary WCLK (IN) GPIO1 R31/D4–D2 = 000 Secondary WCLK obtained from GPIO1 pin
R51/D5–D2 = 0001 GPIO1 enabled as secondary input
Secondary BCLK (OUT) GPIO1 R31/D7–D5 = 000 Secondary BCLK obtained from GPIO1 pin
R51/D5–D2 = 1000 GPIO1 = secondary BCLK output
R33/D6 Select source of secondary BCLK (primary BCLK or internal BCLK)
DOUT R31/D7–D5 = 011 Secondary BCLK obtained from DOUT pin
R53/D3–D1 = 110 DOUT = secondary BCLK output
R33/D6 Select source of secondary BCLK (primary BCLK or internal BCLK)
Secondary BCLK (IN) GPIO1 R31/D7–D5 = 000 Secondary BCLK obtained from GPIO1 pin
R51/D5–D2 = 0001 GPIO1 enabled as secondary input
Secondary DIN (IN) GPIO1 R31/D1–D0 = 00 Secondary DIN obtained from GPIO1 pin
R51/D5–D2 = 0001 GPIO1 enabled as secondary input
Secondary DOUT (OUT) GPIO1 R51/D5–D2 = 1011 GPIO1 = secondary DOUT
R33/D0 Select source for secondary DOUT (0 = primary DIN; 1 = DOUT from interface block)

Table 7-44 Generation of ADC_WCLK

ADC_WCLK DIRECTION POSSIBLE PINS PAGE 0 REGISTERS COMMENT
OUTPUT GPIO1 R32/D7–D5 = 000 ADC_WCLK obtained from GPIO1 pin
R51/D5–D2 = 0111 GPIO1 = ADC_WCLK
R32/D1 Select source of Internal ADC_WCLK (0 = DAC_WCLK; 1 = ADC_WCLK)
INPUT GPIO1 R32/D7–D5 = 000 ADC_WCLK obtained from GPIO1 pin
R51/D5–D2 = 0001 GPIO1 enabled as secondary input
R32/D1 Select source of internal ADC_WCLK (0 = DAC_WCLK; 1 = ADC_WCLK)
TLV320AIC3110 i2c_pcm_bus_las644.gif Figure 7-50 Audio Serial Interface Multiplexing

7.3.13.3 Control Interface

The TLV320AIC3110 control interface supports the I2C communication protocol.

7.3.13.3.1 I2C Control Mode

The TLV320AIC3110 supports the I2C control protocol, and responds to the I2C address of 0011 000. I2C is a two-wire, open-drain interface supporting multiple devices and masters on a single bus. Devices on the I2C bus only drive the bus lines LOW by connecting them to ground; they never drive the bus lines HIGH. Instead, the bus wires are pulled HIGH by pullup resistors, so the bus wires are HIGH when no device is driving them LOW. This way, two devices cannot conflict; if two devices drive the bus simultaneously, there is no driver contention.

Communication on the I2C bus always takes place between two devices, one acting as the master and the other acting as the slave. Both masters and slaves can read and write, but slaves can only do so under the direction of the master. Some I2C devices can act as masters or slaves, but the TLV320AIC3110 can only act as a slave device.

An I2C bus consists of two lines, SDA and SCL. SDA carries data, and the SCL signal provides the clock. All data is transmitted across the I2C bus in groups of eight bits. To send a bit on the I2C bus, the SDA line is driven to the appropriate level while SCL is LOW (a LOW on SDA indicates the bit is zero, while a HIGH indicates the bit is one).

Once the SDA line has settled, the SCL line is brought HIGH, then LOW. This pulse on the SCL line clocks the SDA bit into the receiver shift register.

The I2C bus is bidirectional: the SDA line is used both for transmitting and receiving data. When a master reads from a slave, the slave drives the data line; when a master sends to a slave, the master drives the data line.

Most of the time the bus is idle, no communication is taking place, and both lines are HIGH. When communication is taking place, the bus is active. Only master devices can start communication on the bus. Generally, the data line is only allowed to change state while the clock line is LOW. If the data line changes state while the clock line is HIGH, it is either a START condition or the counterpart, a STOP condition. A START condition is when the clock line is HIGH and the data line goes from HIGH to LOW. A STOP condition is when the clock line is HIGH and the data line goes from LOW to HIGH.

After the master issues a START condition, it sends a byte that selects the slave device for communication. This byte is called the address byte. Each device on an I2C bus has a unique 7-bit address to which it responds. (Slaves can also have 10-bit addresses; see the I2C specification for details.) The master sends an address in the address byte, together with a bit that indicates whether it is to read from or write to the slave device.

Every byte transmitted on the I2C bus, whether it is address or data, is acknowledged with an acknowledge bit. When a master has finished sending a byte (eight data bits) to a slave, it stops driving SDA and waits for the slave to acknowledge the byte. The slave acknowledges the byte by pulling SDA LOW. The master then sends a clock pulse to clock the acknowledge bit. Similarly, when a master has finished reading a byte, it pulls SDA LOW to acknowledge this to the slave. It then sends a clock pulse to clock the bit. (Remember that the master always drives the clock line.)

A not-acknowledge is performed by simply leaving SDA HIGH during an acknowledge cycle. If a device is not present on the bus, and the master attempts to address the device, the master receives a not-acknowledge because no device is present at that address to pull the line LOW.

When a master has finished communicating with a slave, it may issue a STOP condition. When a STOP condition is issued, the bus becomes idle again. A master may also issue another START condition. When a START condition is issued while the bus is active, it is called a repeated START condition.

The TLV320AIC3110 can also respond to and acknowledge a general call, which consists of the master issuing a command with a slave address byte of 00h. This feature is disabled by default, but can be enabled through page 0 / register 34, bit D5.

TLV320AIC3110 i2c_wrt_los585.gif Figure 7-51 I2C Write
TLV320AIC3110 i2c_read_los585.gif Figure 7-52 I2C Read

In the case of an I2C register write, if the master does not issue a STOP condition, then the device enters auto-increment mode. So in the next eight clocks, the data on SDA is treated as data for the next incremental register.

Similarly, in the case of an I2C register read, after the device has sent out the 8-bit data from the addressed register, if the master issues a ACKNOWLEDGE, the slave takes over control of the SDA bus and transmits for the next eight clocks the data of the next incremental register.

7.4 Register Map

7.4.1 TLV320AIC3110 Register Map

All features on this device are addressed using the I2C bus. All of the writable registers can be read back. However, some registers contain status information or data, and are only available for reading.

The TLV320AIC3110 device contains several pages of 8-bit registers, and each page can contain up to 128 registers. The register pages are divided up based on functional blocks for this device. Page 0 is the default home page after RESET. Page control occurs by writing a new page value into register 0 of the current page.

The control registers for the TLV320AIC3110 device are described in detail as follows. All registers are 8 bits in width, with D7 referring to the most-significant bit of each register, and D0 referring to the least-significant bit.

Pages 0, 1, 3, 4, 8–9, 12–13 are available for use. All other pages and registers are reserved. Do not read from or write to reserved pages and registers. Also, do not write other than the reset values for the reserved bits and read-only bits of non-reserved registers; otherwise, device functionality failure can occur.

NOTE

Note that the page and register numbers are shown in decimal format. For use in microcode, these decimal values may need to be converted to hexadecimal format. For convenience, the register numbers are shown in both formats, whereas the page numbers are shown only in decimal format.

Table 7-45 Summary of Register Map

PAGE NUMBER DESCRIPTION
0 Page 0 is the default page on power up. Configuration for serial interface, digital I/O, clocking, ADC, DAC settings, and other circuitry.
1 Configuration for analog PGAs, ADC, DAC, output drivers, volume controls, and other circuitry.
3 Register 16 controls the MCLK divider that controls the interrupt pulse duration, debounce timing, and detection block clock.
4 ADC AGC and filter coefficients
8–9 DAC Buffer A filter and DRC coefficients
12–13 DAC Buffer B filter and DRC coefficients

7.4.2 Registers

7.4.2.1 Control Registers, Page 0 (Default Page): Clock Multipliers, Dividers, Serial Interfaces, Flags, Interrupts, and GPIOs

Table 7-46 Page 0 / Register 0 (0x00): Page Control Register

BIT READ/
WRITE
RESET
VALUE
DESCRIPTION
D7–D0 R/W 0000 0000 0000 0000: Page 0 selected
0000 0001: Page 1 selected
...
1111 1110: Page 254 selected
1111 1111: Page 255 selected

Table 7-47 Page 0 / Register 1 (0x01): Software Reset

BIT READ/
WRITE
RESET
VALUE
DESCRIPTION
D7–D1 R/W 0000 000 Reserved. Write only zeros to these bits.
D0 R/W 0 0: Don't care
1: Self-clearing software reset for control register

Table 7-48 Page 0 / Register 2 (0x02): Reserved

BIT READ/
WRITE
RESET
VALUE
DESCRIPTION
D7–D0 R XXXX XXXX Reserved. Do not write to this register.

Table 7-49 Page 0 / Register 3 (0x03): OT FLAG

BIT READ/
WRITE
RESET
VALUE
DESCRIPTION
D7-D2 R XXXX XX Reserved. Do not write to these bits.
D1 R 1 0: Overtemperature protection flag (active-low). Valid only if speaker amplifier is powered up
1: Normal operation
D0 R/W X Reserved. Do not write to these bits.

Table 7-50 Page 0 / Register 4 (0x04): Clock-Gen Muxing(1)

BIT READ/
WRITE
RESET
VALUE
DESCRIPTION
D7–D4 R/W 0000 Reserved. Write only zeros to these bits.
D3–D2 R/W 00 00: PLL_CLKIN = MCLK (device pin)
01: PLL_CLKIN = BCLK (device pin)
10: PLL_CLKIN = GPIO1 (device pin)
11: PLL_CLKIN = DIN (can be used for the system where DAC is not used)
D1–D0 R/W 00 00: CODEC_CLKIN = MCLK (device pin)
01: CODEC_CLKIN = BCLK (device pin)
10: CODEC_CLKIN = GPIO1 (device pin)
11: CODEC_CLKIN = PLL_CLK (generated on-chip)
(1) See Section 7.3.11 for more details on clock generation mutiplexing and dividers.

Table 7-51 Page 0 / Register 5 (0x05): PLL P and R Values

BIT READ/
WRITE
RESET
VALUE
DESCRIPTION
D7 R/W 0 0: PLL is powered down.
1: PLL is powered up.
D6–D4 R/W 001 000: PLL divider P = 8
001: PLL divider P = 1
010: PLL divider P = 2
...
110: PLL divider P = 6
111: PLL divider P = 7
D3–D0 R/W 0001 0000: PLL multiplier R = 16
0001: PLL multiplier R = 1
0010: PLL multiplier R = 2
...
1110: PLL multiplier R = 14
1111: PLL multiplier R = 15

Table 7-52 Page 0 / Register 6 (0x06): PLL J-Value

BIT READ/
WRITE
RESET
VALUE
DESCRIPTION
D7–D6 R/W 00 Reserved. Write only zeros to these bits.
D5–D0 R/W 00 0100 00 0000: Do not use (reserved)
00 0001: PLL multiplier J = 1
00 0010: PLL multiplier J = 2
...
11 1110: PLL multiplier J = 62
11 1111: PLL multiplier J = 63

Table 7-53 Page 0 / Register 7 (0x07): PLL D-Value MSB(1)

BIT READ/
WRITE
RESET
VALUE
DESCRIPTION
D7–D6 R/W 00 Reserved. Write only zeros to these bits.
D5–D0 R/W 00 0000 PLL fractional multiplier D-value MSB bits D[13:8]
(1) Note that this register is updated only when Page 0 / Register 8 is written immediately after Page 0 / Register 7.

Table 7-54 Page 0 / Register 8 (0x08): PLL D-Value LSB(1)

BIT READ/
WRITE
RESET
VALUE
DESCRIPTION
D7–D0 R/W 0000 0000 PLL fractional multiplier D-value LSB bits D[7:0]
(1) Note that Page 0 / Register 8 must be written immediately after Page 0 / Register 7.

Table 7-55 Page 0 / Register 9 (0x09) and Page 0 / Register 10 (0x0A): Reserved

BIT READ/
WRITE
RESET
VALUE
DESCRIPTION
D7–D0 R/W XXXX XXXX Reserved. Write only zeros to these bits.

Table 7-56 Page 0 / Register 11 (0x0B): DAC NDAC_VAL

BIT READ/
WRITE
RESET
VALUE
DESCRIPTION
D7 R/W 0 0: DAC NDAC divider is powered down.
1: DAC NDAC divider is powered up.
D6–D0 R/W 000 0001 000 0000: DAC NDAC divider = 128
000 0001: DAC NDAC divider = 1
000 0010: DAC NDAC divider = 2
...
111 1110: DAC NDAC divider = 126
111 1111: DAC NDAC divider = 127

Table 7-57 Page 0 / Register 12 (0x0C): DAC MDAC_VAL

BIT READ/
WRITE
RESET
VALUE
DESCRIPTION
D7 R/W 0 0: DAC MDAC divider is powered down.
1: DAC MDAC divider is powered up.
D6–D0 R/W 000 0001 000 0000: DAC MDAC divider = 128
000 0001: DAC MDAC divider = 1
000 0010: DAC MDAC divider = 2
...
111 1110: DAC MDAC divider = 126
111 1111: DAC MDAC divider = 127

Table 7-58 Page 0 / Register 13 (0x0D): DAC DOSR_VAL MSB

BIT READ/
WRITE
RESET
VALUE
DESCRIPTION
D7–D2 R/W 0000 00 Reserved. Write only reset vlaues.
D1–D0 R/W 00 DAC OSR (DOSR) Setting
DAC OSR(MSB) & DAC OSR(LSB)
00 0000 0000: DOSR=1024
00 0000 0001: DOSR=1
00 0000 0010: DOSR=2
...
11 1111 1110: DOSR=1022
11 1111 1111: DOSR=1023
Note: This register is updated when Page-0, Reg-14 is written to immediately after Page-0, Reg-13
Note: DOSR should be a multiple of 2 while using DAC Filter Type A, Multiple of 4 while using DAC Filter Type B and Multiple of 8 while using DAC Filter Type C

Table 7-59 Page 0 / Register 14 (0x0E): DAC DOSR_VAL LSB

BIT READ/
WRITE
RESET
VALUE
DESCRIPTION
D7–D0 R/W 1000 0000 DAC OSR (DOSR) (7:0)
0000 0000: DAC DOSR (7:0) = 1024 (MSB page 0 / register 13, bits D1-D0 = 00)
0000 0001: Reserved. Do not use
0000 0010: DAC DOSR (7:0) = 2 (MSB page 0 / register 13, bits D1-D0 = 00)
0000 0100: : DAC DOSR (7:0) = 4 (MSB page 0 / register 13, bits D1-D0 = 00)
...
1111 1110: DAC DOSR (7:0) = 1022 (MSB page 0 / register 13, bits D1-D0 = 00)
1111 1111: Reserved. Do not use
Note: This register must be written immediately after Page 0 / Register 13
Note: DOSR must be a multiple of 8 while using DAC Filter Type A, a multiple of 4 while using DAC Filter Type B and a multiple of 2 while using DAC Filter Type C

Table 7-60 Page 0 / Register 15 (0x0F) through Page 0 / Register 17: Reserved

BIT READ/
WRITE
RESET
VALUE
DESCRIPTION
D7–D0 R XXXX XXXX Reserved. Do not write to these registers.

Table 7-61 Page 0 / Register 18 (0x12): ADC NADC_VAL

BIT READ/
WRITE
RESET
VALUE
DESCRIPTION
D7 R/W 0 0: ADC NADC divider is powered down and ADC_CLK = DAC_CLK.
1: ADC NADC divider is powered up.
D6–D0 R/W 000 0001 000 0000: ADC NADC divider = 128
000 0001: ADC NADC divider = 1
000 0010: ADC NADC divider = 2
...
111 1110: ADC NADC divider = 126
111 1111: ADC NADC divider = 127

Table 7-62 Page 0 / Register 19 (0x13): ADC MADC_VAL

BIT READ/
WRITE
RESET
VALUE
DESCRIPTION
D7 R/W 0 0: ADC MADC divider is powered down and ADC_MOD_CLK = DAC_MOD_CLK.
1: ADC MADC divider is powered up.
D6–D0 R/W 000 0001 000 0000: ADC MADC divider = 128
000 0001: ADC MADC divider = 1
000 0010: ADC MADC divider = 2
...
111 1110: ADC MADC divider = 126
111 1111: ADC MADC divider = 127

Table 7-63 Page 0 / Register 20 (0x14): ADC AOSR_VAL(1)

BIT READ/
WRITE
RESET
VALUE
DESCRIPTION
D7–D0 R/W 1000 0000 0000 0000: ADC OSR AOSR divider = 256
0000 0001: ADC OSR AOSR divider = 1
0000 0010: ADC OSR AOSR divider = 2
...
1111 1110: ADC OSR AOSR divider = 254
1111 1111: ADC OSR AOSR divider = 255
(1) ADC OSR must be an integral multiple of the decimation in the ADC PRB engine (specified in register 22). When PRB modes are used, decimation ratio is 4 while using Filter-A, 2 while using Filter-B and 1 while using Filter-C

Table 7-64 Page 0 / Register 21 through Page 0 / Register 24: Reserved

BIT READ/
WRITE
RESET
VALUE
DESCRIPTION
D7–D0 R XXXX XXXX Reserved. Do not write to these registers.

Table 7-65 Page 0 / Register 25 (0x19): CLKOUT MUX

BIT READ/
WRITE
RESET
VALUE
DESCRIPTION
D7–D3 R/W 0000 0 Reserved
D2–D0 R/W 000 000: CDIV_CLKIN = MCLK (device pin)
001: CDIV_CLKIN = BCLK (device pin)
010: CDIV_CLKIN = DIN (can be used for the systems where DAC is not required)
011: CDIV_CLKIN = PLL_CLK (generated on-chip)
100: CDIV_CLKIN = DAC_CLK (DAC DSP clock - generated on-chip)
101: CDIV_CLKIN = DAC_MOD_CLK (generated on-chip)
110: CDIV_CLKIN = ADC_CLK (ADC DSP clock - generated on-chip)
111: CDIV_CLKIN = ADC_MOD_CLK (generated on-chip)

Table 7-66 Page 0 / Register 26 (0x1A): CLKOUT M_VAL

BIT READ/
WRITE
RESET
VALUE
DESCRIPTION
D7 R/W 0 0: CLKOUT M divider is powered down.
1: CLKOUT M divider is powered up.
D6–D0 R/W 000 0001 000 0000: CLKOUT divider M = 128
000 0001: CLKOUT divider M = 1
000 0010: CLKOUT divider M = 2
...
111 1110: CLKOUT divider M = 126
111 1111: CLKOUT divider M = 127

Table 7-67 Page 0 / Register 27 (0x1B): Codec Interface Control

BIT READ/
WRITE
RESET
VALUE
DESCRIPTION
D7–D6 R/W 00 00: Codec interface = I2S
01: Codec Interface = DSP
10: Codec interface = RJF
11: Codec interface = LJF
D5–D4 R/W 00 00: Codec interface word length = 16 bits
01: Codec interface word length = 20 bits
10: Codec interface word length = 24 bits
11: Codec interface word length = 32 bits
D3 R/W 0 0: BCLK is input
1: BCLK is output
D2 R/W 0 0: WCLK is input
1: WCLK is output
D1 R/W 0 Reserved
D0 R/W 0 Driving DOUT to High-Impedance for the Extra BCLK Cycle When Data Is Not Being Transferred
0: Disabled
1: Enabled

Table 7-68 Page 0 / Register 28 (0x1C): Data-Slot Offset Programmability

BIT READ/
WRITE
RESET
VALUE
DESCRIPTION
D7–D0 R/W 0000 0000 Offset (Measured With Respect to WCLK Rising Edge in DSP Mode)
0000 0000: Offset = 0 BCLKs
0000 0001: Offset = 1 BCLK
0000 0010: Offset = 2 BCLKs
...
1111 1110: Offset = 254 BCLKs
1111 1111: Offset = 255 BCLKs

Table 7-69 Page 0 / Register 29 (0x1D): Codec Interface Control 2

BIT READ/
WRITE
RESET
VALUE
DESCRIPTION
D7–D6 R/W 00 Reserved
D5 R/W 0 0: DIN-to-DOUT loopback is disabled
1: DIN-to-DOUT loopback is enabled
D4 R/W 0 0: ADC-to-DAC loopback is disabled
1: ADC-to-DAC loopback is enabled
D3 R/W 0 0: BCLK is not inverted (valid for both primary and secondary BCLK)
1: BCLK is inverted (valid for both primary and secondary BCLK)
D2 R/W 0 BCLK and WCLK Active Even With Codec Powered Down (Valid for Both Primary and Secondary BCLK)
0: Disabled
1: Enabled
D1–D0 R/W 00 00: BDIV_CLKIN = DAC_CLK (generated on-chip)
01: BDIV_CLKIN = DAC_MOD_CLK (generated on-chip)
10: BDIV_CLKIN = ADC_CLK (ADC DSP clock - generated on-chip)
11: BDIV_CLKIN = ADC_MOD_CLK (generated on-chip)

Table 7-70 Page 0 / Register 30 (0x1E): BCLK N_VAL

BIT READ/
WRITE
RESET
VALUE
DESCRIPTION
D7 R/W 0 0: BCLK N-divider is powered down.
1: BCLK N-divider is powered up.
D6–D0 R/W 000 0001 000 0000: BCLK divider N = 128
000 0001: BCLK divider N = 1
000 0010: BCLK divider N = 2
...
111 1110: BCLK divider N = 126
111 1111: BCLK divider N = 127

Table 7-71 Page 0 / Register 31 (0x1F): Codec Secondary Interface Control 1

BIT READ/
WRITE
RESET
VALUE
DESCRIPTION
D7–D5 R/W 000 000: Secondary BCLK is obtained from GPIO1 pin.
001: Reserved.
010: Reserved.
011: Secondary BCLK is obtained from DOUT pin.
100: Reserved.
101: Reserved.
110: Reserved.

111: Reserved.
D4–D2 R/W 000 000: Secondary WCLK is obtained from GPIO1 pin.
001: Reserved.
010: Reserved.
011: Secondary WCLK is obtained from DOUT pin.
100: Reserved.
101: Reserved.
110: Reserved.

111: Reserved.
D1–D0 R/W 00 00: Secondary DIN is obtained from the GPIO1 pin.
01: Reserved.
10: Reserved.

11: Reserved.

Table 7-72 Page 0 / Register 32 (0x20): Codec Secondary Interface Control 2

BIT READ/
WRITE
RESET
VALUE
DESCRIPTION
D7–D5 R/W 000 000: ADC_WCLK is obtained from GPIO1 pin.
001: Reserved.
010: Reserved.
011: Reserved.
100: Reserved.
101: Reserved.
110: Reserved.

111: Reserved.
D4 R/W 0 Reserved
D3 R/W 0 0: Primary BCLK is fed to codec serial-interface and ClockGen blocks.
1: Secondary BCLK is fed to codec serial-interface and ClockGen blocks.
D2 R/W 0 0: Primary WCLK is fed to codec serial-interface block.
1: Secondary WCLK is fed to codec serial-interface block.
D1 R/W 0 0: ADC_WCLK used in the codec serial-interface block is the same as DAC_WCLK.
1: ADC_WCLK used in the codec serial-interface block = ADC_WCLK.
D0 R/W 0 0: Primary DIN is fed to codec serial-interface block.
1: Secondary DIN is fed to codec serial-interface block.

Table 7-73 Page 0 / Register 33 (0x21): Codec Secondary Interface Control 3

BIT READ/
WRITE
RESET
VALUE
DESCRIPTION
D7 R/W 0 0: Primary BCLK output = internally generated BCLK clock
1: Primary BCLK output = secondary BCLK
D6 R/W 0 0: Secondary BCLK output = primary BCLK
1: Secondary BCLK output = internally generated BCLK clock
D5–D4 R/W 00 00: Primary WCLK output = internally generated DAC_fS
01: Primary WCLK output = internally generated ADC_fS clock
10: Primary WCLK output = secondary WCLK
11: Reserved
D3–D2 R/W 00 00: Secondary WCLK output = primary WCLK
01: Secondary WCLK output = internally generated DAC_fS clock
10: Secondary WCLK output = internally generated ADC_fS clock
11: Reserved
D1 R/W 0 0: Primary DOUT = DOUT from codec serial-interface block
1: Primary DOUT = secondary DIN
D0 R/W 0 0: Secondary DOUT = primary DIN
1: Secondary DOUT = DOUT from codec serial interface block

Table 7-74 Page 0 / Register 34 (0x22): I2C Bus Condition

BIT READ/
WRITE
RESET
VALUE
DESCRIPTION
D7–D6 R/W 00 Reserved. Write only the reset value to these bits.
D5 R/W 0 0: I2C general-call address is ignored.
1: Device accepts I2C general-call address.
D4–D0 R/W 0 0000 Reserved. Write only zeros to these bits.

Table 7-75 Page 0 / Register 35: Reserved

BIT READ/
WRITE
RESET
VALUE
DESCRIPTION
D7–D0 R/W XXXX XXXX Reserved. Write only zeros to these bits.

Table 7-76 Page 0 / Register 36 (0x24): ADC Flag Register

BIT READ/
WRITE
RESET
VALUE
DESCRIPTION
D7 R 0 0: ADC PGA applied gain ≠ programmed gain
1: ADC PGA applied gain = programmed gain
D6 R 0 0: ADC powered down
1: ADC powered up
D5(1) R 0 0: AGC not saturated
1: AGC applied gain = maximum applicable gain by AGC
D4–D0 R/W X XXXX Reserved. Write only zeros to these bits.
(1) Sticky flag bIt. These is a read-only bit. This bit is automatically cleared once it is read and is set only if the source trigger occurs again.

Table 7-77 Page 0 / Register 37 (0x25): DAC Flag Register

BIT READ/
WRITE
RESET
VALUE
DESCRIPTION
D7 R 0 0: Left-channel DAC powered down
1: Left-channel DAC powered up
D6 R/W X Reserved. Write only zero to this bit.
D5 R 0 0: HPL driver powered down
1: HPL driver powered up
D4 R 0 0: Left-channel class-D driver powered down
1: Left-channel class-D driver powered up
D3 R 0 0: Right-channel DAC powered down
1: Right-channel DAC powered up
D2 R/W X Reserved. Write only zero to this bit.
D1 R 0 0: HPR driver powered down
1: HPR driver powered up
D0 R 0 0: Right-channel class-D driver powered down
1: Right-channel class-D driver powered up

Table 7-78 Page 0 / Register 38 (0x26): DAC Flag Register

BIT READ/
WRITE
RESET
VALUE
DESCRIPTION
D7–D5 R/W XXX Reserved. Do not write to these bits.
D4 R 0 0: Left-channel DAC PGA applied gain ≠ programmed gain
1: Left-channel DAC PGA applied gain = programmed gain
D3–D1 R/W XXX Reserved. Write only zeros to these bits.
D0 R 0 0: Right-channel DAC PGA applied gain ≠ programmed gain
1: Right-channel DAC PGA applied gain = programmed gain

Table 7-79 Page 0 / Register 39 (0x27): Overflow Flags

BIT READ/
WRITE
RESET
VALUE
DESCRIPTION
D7(1) R 0 Left-Channel DAC Overflow Flag
0: Overflow has not occurred.
1: Overflow has occurred.
D6(1) R 0 Right-Channel DAC Overflow Flag
0: Overflow has not occurred.
1: Overflow has occurred.
D5(1) R 0 DAC Barrel Shifter Output Overflow Flag
0: Overflow has not occurred.
1: Overflow has occurred.
D4 R/W 0 Reserved. Write only zeros to these bits.
D3(1) R 0 Delta-Sigma Mono ADC Overflow Flag
0: Overflow has not occurred.
1: Overflow has occurred.
D2 R/W 0 Reserved. Write only zero to this bit.
D1(1) R 0 ADC Barrel Shifter Output Overflow Flag
0: Overflow has not occurred.
1: Overflow has occurred.
D0 R/W 0 Reserved. Write only zero to this bit.
(1) Sticky flag bIt. These is a read-only bit. This bit is automatically cleared once it is read and is set only if the source trigger occurs again.

Table 7-80 Page 0 / Register 40 (0x28) Through Page 0 / Register 43 (0x2B): Reserved

BIT READ/
WRITE
RESET
VALUE
DESCRIPTION
D7–D0 R XXXX XXXX Reserved. Write only the reset value to these bits.

Table 7-81 Page 0 / Register 44 (0x2C): Interrupt Flags—DAC

BIT READ/
WRITE
RESET
VALUE
DESCRIPTION
D7(1) R 0 0: No short circuit is detected at HPL / left class-D driver.
1: Short circuit is detected at HPL / left class-D driver.
D6(1) R 0 0: No short circuit is detected at HPR / right class-D driver.
1: Short circuit is detected at HPR / right class-D driver.
D5(1) R X 0: No headset button pressed.
1: Headset button pressed.
D4(1) R X 0: No headset insertion or removal is detected.
1: Headset insertion or removal is detected.
D3(1) R 0 0: Left DAC signal power is less than or equal to the signal threshold of DRC.
1: Left DAC signal power is above the signal threshold of DRC.
D2(1) R 0 0: Right DAC signal power is less than or equal to the signal threshold of DRC.
1: Right DAC signal power is above the signal threshold of DRC.
D1-D0 R 0 Reserved. Do not write to these registers.

Table 7-82 Page 0 / Register 45 (0x2D): Interrupt Flags—ADC

BIT READ/
WRITE
RESET
VALUE
DESCRIPTION
D7 R/W 0 Reserved. Write only zero to this bit.
D6(1) R 0 0: ADC signal power greater than noise threshold for AGC.
1: ADC signal power less than noise threshold for AGC.
D5-D3 R 0 Reserved. Write only zeros to these bits.
D2 R 0 0: DC measurement using delta-sigma audio ADC is not available.
1: DC measurement using delta-sigma audio ADC is not available.
D1–D0 R/W 00 Reserved. Write only zeros to these bits.

Table 7-83 Page 0 / Register 46 (0x2E): Interrupt Flags—DAC

BIT READ/
WRITE
RESET
VALUE
DESCRIPTION
D7 R 0 0: No short circuit detected at HPL / left class-D driver.
1: Short circuit detected at HPL / left class-D driver.
D6 R 0 0: No short circuit detected at HPR / right class-D driver
1: Short circuit detected at HPR / right class-D driver
D5 R X 0: No headset button pressed.
1: Headset button pressed.
D4 R X 0: Headset removal detected.
1: Headset insertion detected.
D3 R 0 0: Left DAC signal power is below signal threshold of DRC.
1: Left DAC signal power is above signal threshold of DRC.
D2 R 0 0: Right DAC signal power is below signal threshold of DRC.
1: Right DAC signal power is above signal threshold of DRC.
D1–D0 R 00 Reserved.

Table 7-84 Page 0 / Register 47 (0x2F): Interrupt Flags – ADC

BIT READ/
WRITE
RESET
VALUE
DESCRIPTION
D7 R/W 0 Reserved
D6 R 0 0: Delta-sigma mono ADC signal power greater than noise threshold for left AGC
1: Delta-sigma mono ADC signal power less than noise threshold for left AGC
D5 R/W 0 Reserved
D4–D3 R 00 Reserved.
D2 R 0 0: DC measurement using delta-sigma audio ADC is not available
1: DC measurement using delta-sigma audio ADC is not available
D1–D0 R/W 00 Reserved. Write only zeros to these bits.

Table 7-85 Page 0 / Register 48 (0x30): INT1 Control Register

BIT READ/
WRITE
RESET
VALUE
DESCRIPTION
D7 R/W 0 0: Headset-insertion detect interrupt is not used in the generation of INT1 interrupt.
1: Headset-insertion detect interrupt is used in the generation of INT1 interrupt.
D6 R/W 0 0: Button-press detect interrupt is not used in the generation of INT1 interrupt.
1: Button-press detect interrupt is used in the generation of INT1 interrupt.
D5 R/W 0 0: DAC DRC signal-power interrupt is not used in the generation of INT1 interrupt.
1: DAC DRC signal-power interrupt is used in the generation of INT1 interrupt.
D4 R/W 0 0: ADC AGC noise interrupt is not used in the generation of INT1 interrupt.
1: ADC AGC noise interrupt is used in the generation of INT1 interrupt.
D3 R/W 0 0: Short-circuit interrupt is not used in the generation of INT1 interrupt.
1: Short-circuit interrupt is used in the generation of INT1 interrupt.
D2 R/W 0 0: DAC data overflow does not result in an INT1 interrupt.
1: DAC data overflow results in an INT1 interrupt.
D2 R 0 Reserved. Write only zero.
D1 R/W 0 0: DC measurement using delta-sigma audio ADC data-available interrupt is not used in the generation of INT1 interrupt
1: DC measurement using delta-sigma audio ADC data-available interrupt is used in the generation of INT1 interrupt
D0 R/W 0 0: INT1 is only one pulse (active-high) of typical 2-ms duration.
1: INT1 is multiple pulses (active-high) of typical 2-ms duration and 4-ms period, until flag registers 44 and 45 are read by the user.

Table 7-86 Page 0 / Register 49 (0x31): INT2 Control Register

BIT READ/
WRITE
RESET
VALUE
DESCRIPTION
D7 R/W 0 0: Headset-insertion detect interrupt is not used in the generation of INT2 interrupt.
1: Headset-insertion detect interrupt is used in the generation of INT2 interrupt.
D6 R/W 0 0: Button-press detect interrupt is not used in the generation of INT2 interrupt.
1: Button-press detect interrupt is used in the generation of INT2 interrupt.
D5 R/W 0 0: DAC DRC signal-power interrupt is not used in the generation of INT2 interrupt.
1: DAC DRC signal-power interrupt is used in the generation of INT2 interrupt.
D4 R/W 0 0: ADC AGC noise interrupt is not used in the generation of INT2 interrupt.
1: ADC AGC noise interrupt is used in the generation of INT2 interrupt.
D3 R/W 0 0: Short-circuit interrupt is not used in the generation of INT2 interrupt.
1: Short-circuit interrupt is used in the generation of INT2 interrupt.
D2 R 0 Reserved. Write only zero.
D1 R/W 0 0: DC measurement using delta-sigma audio ADC data-available interrupt is not used in the generation of INT2 interrupt
1: DC measurement using delta-sigma audio ADC data-available interrupt is used in the generation of INT2 interrupt
D0 R/W 0 0: INT2 is only one pulse (active-high) of typical 2-ms duration.
1: INT2 is multiple pulses (active-high) of typical 2-ms duration and 4-ms period, until flag registers 44 and 45 are read by the user.

Table 7-87 Page 0 / Register 50 (0x32): Reserved

BIT READ/
WRITE
RESET
VALUE
DESCRIPTION
D7-D0 R/W 0000 0000 Reserved. Write only reset values.

Table 7-88 Page 0 / Register 52 (0x34): Reserved

BIT READ/
WRITE
RESET
VALUE
DESCRIPTION
D7–D0 R/W XXXX XXXX Reserved. Do not write any value other than reset value.

Table 7-89 Page 0 / Register 53 (0x35): DOUT (OUT Pin) Control

BIT READ/
WRITE
RESET
VALUE
DESCRIPTION
D7–D5 R/W 000 Reserved
D4 R/W 1 0: DOUT bus keeper enabled
1: DOUT bus keeper disabled
D3–D1 R/W 001 000: DOUT disabled (output buffer powered down)
001: DOUT = primary DOUT output for codec interface
010: DOUT = general-purpose output
011: DOUT = CLKOUT output
100: DOUT = INT1 output
101: DOUT = INT2 output
110: DOUT = secondary BCLK output for codec interface
111: DOUT = secondary WCLK output for codec interface
D0 R/W 0 0: DOUT general-purpose output value = 0
1: DOUT general-purpose output value = 1

Table 7-90 Page 0 / Register 54 (0x36): DIN (IN Pin) Control

BIT READ/
WRITE
RESET
VALUE
DESCRIPTION
D7–D3 R/W 0000 0 Reserved
D2–D1 R/W 01 00: DIN disabled (input buffer powered down)
01: DIN enabled (can be used as DIN for codec interface, Dig_Mic_In or into ClockGen block)
10: DIN is used as general-purpose input (GPI)
11: Reserved
D0 R X DIN input-buffer value

Table 7-91 Page 0 / Register 55 (0x37) through Page 0 / Register 59 (0x3B): Reserved

BIT READ/
WRITE
RESET
VALUE
DESCRIPTION
D7–D0 R XXXX XXXX Reserved. Do not write to these registers.

Table 7-92 Page 0 / Register 60 (0x3C): DAC Processing Blocks Selection

BIT READ/
WRITE
RESET
VALUE
DESCRIPTION
D7–D5 R/W 000 Reserved. Write only default value.
D4–D0 R/W 00 0001 0 0000: Reserved. Write only reset value.
0 0001: DAC signal-processing block PRB_P1
0 0010: DAC signal-processing block PRB_P2
0 0011: DAC signal-processing block PRB_P3
0 0100: DAC signal-processing block PRB_P4
...
1 1000: DAC signal-processing block PRB_P24
1 1001: DAC signal-processing block PRB_P25
1 1010–1 1111: Reserved. Do not use.

Table 7-93 Page 0 / Register 61 (0x3D): ADC Processing Blocks Selection

BIT READ/
WRITE
RESET
VALUE
DESCRIPTION
D7–D5 R/W 000 Reserved. Write only default values.
D4–D0 R/W 0  0100 0 0000: Reserved. Write only reset value.
0 0001–0 0011: Reserved
0 0100: ADC signal-processing block PRB_R4
0 0101: ADC signal-processing block PRB_R5
0 0110: ADC signal-processing block PRB_R6
0 0111–01001: Reserved
0 1010: ADC signal-processing block PRB_R10
0 1011: ADC signal-processing block PRB_R11
0 1100: ADC signal-processing block PRB_R12
0 1101–0 1111: Reserved
1 0000: ADC signal-processing block PRB_R16
1 0001: ADC signal-processing block PRB_R17
1 0010: ADC signal-processing block PRB_R18
1 0011–1 1111: Reserved. Do not write these sequences to these bits.

Table 7-94 Page 0 / Register 62 (0x3E): Reserved

BIT READ/
WRITE
RESET
VALUE
DESCRIPTION
D7–D0 R 0000 0000 Reserved. write only reset values.

Table 7-95 Page 0 / Register 63 (0x3F): DAC Data-Path Setup

BIT READ/
WRITE
RESET
VALUE
DESCRIPTION
D7 R/W 0 0: Left-channel DAC is powered down.
1: Left-channel DAC is powered up.
D6 R/W 0 0: Right-channel DAC is powered down.
1: Right-channel DAC is powered up.
D5–D4 R/W 01 00: Left-channel DAC data path = off
01: Left-channel DAC data path = left data
10: Left-channel DAC data path = right data
11: Left-channel DAC data path = left-channel and right-channel data [(L + R) / 2]
D3–D2 R/W 01 00: Right-channel DAC data path = off
01: Right-channel DAC data path = right data
10: Right-channel DAC data path = left data
11: Right-channel DAC data path = left-channel and right-channel data [(L + R) / 2]
D1–D0 R/W 00 00: DAC-channel volume-control soft-stepping is enabled for one step per sample period.
01: DAC-channel volume-control soft-stepping is enabled for one step per two sample periods.
10: DAC-channel volume-control soft-stepping is disabled.
11: Reserved. Do not write this sequence to these bits.

Table 7-96 Page 0 / Register 64 (0x40): DAC Volume Control

BIT READ/
WRITE
RESET
VALUE
DESCRIPTION
D7–D4 R/W 0000 Reserved. Write only zeros to these bits.
D3 R/W 1 0: Left-channel DAC not muted
1: Left-channel DAC muted
D2 R/W 1 0: Right-channel DAC not muted
1: Right-channel DAC muted
D1–D0 R/W 00 00: Left and right channels have independent volume control.(1)
01: Left-channel volume control Is the programmed value of right-channel volume control.
10: Right-channel volume control is the programmed value of left-channel volume control.
11: Same as 00
(1) When DRC is enabled, left and right channel volume controls are always independent. Program bits D1–D0 to 00.

Table 7-97 Page 0 / Register 65 (0x41): DAC Left Volume Control

BIT READ/
WRITE
RESET
VALUE
DESCRIPTION
D7–D0 R/W 0000 0000 0111 1111–0011 0001: Do not use.
0011 0000: Left-channel DAC digital volume = 24 dB
0010 1111: Left-channel DAC digital volume = 23.5 dB
...

0000 0001: Left-channel DAC digital volume = 0.5 dB
0000 0000: Left-channel DAC digital volume = 0 dB
1111 1111: Left-channel DAC digital volume = –0.5 dB
...
1000 0010: Left-channel DAC digital volume = –63 dB
1000 0001: Left-channel DAC digital volume = –63.5 dB
1000 0000: Reserved. Do not use.

Table 7-98 Page 0 / Register 66 (0x42): DAC Right Volume Control

BIT READ/
WRITE
RESET
VALUE
DESCRIPTION
D7–D0 R/W 0000 0000 0111 1111–0011 0001: Do not use.
0011 0000: Right-channel DAC digital volume = 24 dB
0010 1111: Right-channel DAC digital volume = 23.5 dB
...

0000 0001: Right-channel DAC digital volume = 0.5 dB
0000 0000: Right-channel DAC digital volume = 0 dB
1111 1111: Right-channel DAC digital volume = –0.5 dB
...
1000 0010: Right-channel DAC digital volume = –63 dB
1000 0001: Right-channel DAC digital volume = –63.5 dB
1000 0000: Reserved. Do not use.

Table 7-99 Page 0 / Register 67 (0x43): Headset Detection

BIT READ/
WRITE
RESET
VALUE
DESCRIPTION
D7 R/W 0 0: Headset detection disabled
1: Headset detection enabled
D6–D5 R XX 00: No headset detected
01: Headset without microphone is detected
10: Reserved
11: Headset with microphone is detected
D4–D2 R/W 000 Debounce Programming for Glitch Rejection During Headset Detection(1)
000: 16 ms (sampled with 2-ms clock)
001: 32 ms (sampled with 4-ms clock)
010: 64 ms (sampled with 8-ms clock)
011: 128 ms (sampled with 16-ms clock)
100: 256 ms (sampled with 32-ms clock)
101: 512 ms (sampled with 64-ms clock)
110: Reserved
111: Reserved
D1–D0 R/W 00 Debounce programming for glitch rejection during headset button-press detection
00: 0 ms
01: 8 ms (sampled with 1-ms clock)
10: 16 ms (sampled with 2-ms clock)
11: 32 ms (sampled with 4-ms clock)
(1) Note that these times are generated using the 1 MHz reference clock which is defined in Page 3 / Register 16.

Table 7-100 Page 0 / Register 68 (0x44): DRC Control 1

BIT READ/
WRITE
RESET
VALUE
DESCRIPTION
D7 R/W 0 Reserved. Write only the reset value to these bits.
D6 R/W 0 0: DRC disabled for left channel
1: DRC enabled for left channel
D5 R/W 0 0: DRC disabled for right channel
1: DRC enabled for right channel
D4–D2 R/W 011 000: DRC threshold = –3 dB
001: DRC threshold = –6 dB
010: DRC threshold = –9 dB
011: DRC threshold = –12 dB
100: DRC threshold = –15 dB
101: DRC threshold = –18 dB
110: DRC threshold = –21 dB
111: DRC threshold = –24 dB
D1–D0 R/W 11 00: DRC hysteresis = 0 dB
01: DRC hysteresis = 1 dB
10: DRC hysteresis = 2 dB
11: DRC hysteresis = 3 dB

Table 7-101 Page 0 / Register 69 (0x45): DRC Control 2

BIT READ/
WRITE
RESET
VALUE
DESCRIPTION
D R 0  Reserved. Write only the reset value to these bits.
D6–D3 R/W 0111 DRC Hold Time
0000: DRC Hold Disabled
0001: DRC Hold Time = 32 DAC Word Clocks
0010: DRC Hold Time = 64 DAC Word Clocks
0011: DRC Hold Time = 128 DAC Word Clocks
0100: DRC Hold Time = 256 DAC Word Clocks
0101: DRC Hold Time = 512 DAC Word Clocks
0110: DRC Hold Time = 1024 DAC Word Clocks
0111: DRC Hold Time = 2048 DAC Word Clocks
1000: DRC Hold Time = 4096 DAC Word Clocks
1001: DRC Hold Time = 8192 DAC Word Clocks
1010: DRC Hold Time = 16 384 DAC Word Clocks
1011: DRC Hold Time = 32 768 DAC Word Clocks
1100: DRC Hold Time = 65 536 DAC Word Clocks
1101: DRC Hold Time = 98 304 DAC Word Clocks
1110: DRC Hold Time = 131 072 DAC Word Clocks
1111: DRC Hold Time = 163 840 DAC Word Clocks
D2-D0 R 000 Reserved. Write only the reset value to these bits.

Table 7-102 Page 0 / Register 70 (0x46): DRC Control 3

BIT READ/
WRITE
RESET
VALUE
DESCRIPTION
D7–D4 R/W 0000 0000: DRC attack rate = 4 dB per DAC Word Clock
0001: DRC attack rate = 2 dB per DAC word clock
0010: DRC attack rate = 1 dB per DAC word clock
...
1110: DRC attack rate = 2.4414e–5 dB per DAC word clock
1111: DRC attack rate = 1.2207e–5 dB per DAC word clock
D3–D0 R/W 0000 Decay Rate is defined as DR / 2[bits D3-D0 value] dB per DAC Word Clock, where DR = 0.015625 dB
0000: DRC decay rate (DR) = 0.015625 dB per DAC Word Clock
0001: DRC decay rate = DR / 2 dB per DAC Word Clock
0010: DRC decay rate = DR / 22 dB per DAC Word Clock
0011: DRC decay rate = DR / 23 dB per DAC Word Clock
0100: DRC decay rate = DR / 24 dB per DAC Word Clock
0101: DRC decay rate = DR / 25 dB per DAC Word Clock
0110: DRC decay rate = DR / 26 dB per DAC Word Clock
0111: DRC decay rate = DR / 27 dB per DAC Word Clock
1000: DRC decay rate = DR / 28 dB per DAC Word Clock
1001: DRC decay rate = DR / 29 dB per DAC Word Clock
1010: DRC decay rate = DR / 210 dB per DAC Word Clock
1011: DRC decay rate = DR / 211 dB per DAC Word Clock
1100: DRC decay rate = DR / 212 dB per DAC Word Clock
1101: DRC decay rate = DR / 213 dB per DAC Word Clock
1110: DRC decay rate = DR / 214 dB per DAC Word Clock
1111: DRC decay rate = DR / 215 dB per DAC Word Clock

Table 7-103 Page 0 / Register 71 (0x47): Left Beep Generator (1)

BIT READ/
WRITE
RESET
VALUE
DESCRIPTION
D7 R/W 0 0: Beep generator is disabled.
1: Beep generator is enabled (self-clearing based on beep duration).
D6 R/W 0 Reserved. Write only reset value.
D5–D0 R/W 00 0000 00 0000: Left-channel beep volume control = 2 dB
00 0001: Left-channel beep volume control = 1 dB
00 0010: Left-channel beep volume control = 0 dB
00 0011: Left-channel beep volume control = –1 dB
...
11 1110: Left-channel beep volume control = –60 dB
11 1111: Left-channel beep volume control = –61 dB
(1) The beep generator is only available in PRB_P25 DAC processing mode.

Table 7-104 Page 0 / Register 72 (0x48): Right Beep Generator(1)

BIT READ/
WRITE
RESET
VALUE
DESCRIPTION
D7–D6 R/W 00 00: Left and right channels have independent beep volume control.
01: Left-channel beep volume control is the programmed value of right-channel beep volume control.
10: Right-channel beep volume control is the programmed value of left-channel beep volume control.
11: Same as 00
D5–D0 R/W 00 0000 00 0000: Right-channel beep volume control = 2 dB
00 0001: Right-channel beep volume control = 1 dB
00 0010: Right-channel beep volume control = 0 dB
00 0011: Right-channel beep volume control = –1 dB
...
11 1110: Right-channel beep volume control = –60 dB
11 1111: Right-channel beep volume control = –61 dB

Table 7-105 Page 0 / Register 73 (0x49): Beep Length MSB

BIT READ/
WRITE
RESET
VALUE
DESCRIPTION
D7–D0 R/W 0000 0000 8 MSBs out of 24 bits for the number of samples for which the beep must be generated.

Table 7-106 Page 0 / Register 74 (0x4A): Beep-Length Middle Bits

BIT READ/
WRITE
RESET
VALUE
DESCRIPTION
D7–D0 R/W 0000 0000 8 middle bits out of 24 bits for the number of samples for which the beep must be generated.

Table 7-107 Page 0 / Register 75 (0x4B): Beep Length LSB

BIT READ/
WRITE
RESET
VALUE
DESCRIPTION
D7–D0 R/W 1110 1110 8 LSBs out of 24 bits for the number of samples for which beep must be generated.

Table 7-108 Page 0 / Register 76 (0x4C): Beep Sin(x) MSB

BIT READ/
WRITE
RESET
VALUE
DESCRIPTION
D7–D0 R/W 0001 0000 8 MSBs out of 16 bits for sin(2π × fin / fS), where fin is the beep frequency and fS is the DAC sample rate.

Table 7-109 Page 0 / Register 77 (0x4D): Beep Sin(x) LSB

BIT READ/
WRITE
RESET
VALUE
DESCRIPTION
D7–D0 R/W 1101 1000 8 LSBs out of 16 bits for sin(2π × fin / fS), where fin is the beep frequency and fS is the DAC sample rate.

Table 7-110 Page 0 / Register 78 (0x4E): Beep Cos(x) MSB

BIT READ/
WRITE
RESET
VALUE
DESCRIPTION
D7–D0 R/W 0111 1110 8 MSBs out of 16 bits for cos(2π × fin / fS), where fin is the beep frequency and fS is the DAC sample rate.

Table 7-111 Page 0 / Register 79 (0x4F): Beep Cos(x) LSB

BIT READ/
WRITE
RESET
VALUE
DESCRIPTION
D7–D0 R/W 1110 0011 8 LSBs out of 16 bits for cos(2π × fin / fS), where fin is the beep frequency and fS is the DAC sample rate.

Table 7-112 Page 0 / Register 80 (0x50): Reserved

BIT READ/
WRITE
RESET
VALUE
DESCRIPTION
D7–D0 R/W XXXX XXXX Reserved. Write only the reset value to these bits.

Table 7-113 Page 0 / Register 81 (0x51): ADC Digital Mic

BIT READ/
WRITE
RESET
VALUE
DESCRIPTION
D7 R/W 0 0: ADC channel is powered down.
1: ADC channel is powered up.
D6 R/W 0 Reserved
D5–D4 R/W 00 00: Digital microphone input is obtained from GPIO1 pin.
01: Reserved.
10: Digital microphone input is obtained from DIN pin.
11: Reserved.
D3 R/W 0 0: Digital microphone is not enabled for delta-sigma mono ADC channel.
1: Digital microphone is enabled for delta-sigma mono ADC channel
D2 R/W 0 Reserved
D1–D0 R/W 00 00: ADC channel volume control soft-stepping is enabled for one step per sample period.
01: ADC channel volume control soft-stepping is enabled for one step per two sample periods.
10: ADC channel volume control soft-stepping is disabled.
11: Reserved. Do not write this sequence to these bits.

Table 7-114 Page 0 / Register 82 (0x52): ADC Digital Volume Control Fine Adjust

BIT READ/
WRITE
RESET
VALUE
DESCRIPTION
D7 R/W 1 0: ADC channel not muted
1: ADC channel muted
D6–D4 R/W 000 Delta-Sigma Mono ADC Channel Volume Control Fine Gain
000: 0 dB
001: –0.1 dB
010: –0.2 dB
011: –0.3 dB
100: –0.4 dB
101–111: Reserved
D3–D0 R/W 0000 Reserved. Write only zeros to these bits.

Table 7-115 Page 0 / Register 83 (0x53): ADC Digital Volume Control Coarse Adjust

BIT READ/
WRITE
RESET
VALUE
DESCRIPTION
D7 R/W 0 Reserved
D6–D0 000 0000 100 0000–110 0111: Reserved
110 1000: –12 dB
110 1001: –11.5 dB
...
111 1111: –0.5 dB
000 0000: 0 dB
000 0001: 0.5 dB
...
010 0111: 19.5 dB
010 1000: 20 dB
010 1001–011 1111: Reserved

Table 7-116 Page 0 / Register 84 and Page 0 / Register 85: Reserved

BIT READ/
WRITE
RESET
VALUE
DESCRIPTION
D7 R/W XXXX XXXX Reserved. Write only the reset value to these bits.

Table 7-117 Page 0 / Register 86 (0x56): AGC Control 1

BIT READ/
WRITE
RESET
VALUE
DESCRIPTION
D7 R/W 0 0: AGC disabled
1: AGC enabled
D6–D4 R/W 000 000: AGC target level = –5.5 dB
001: AGC target level = –8 dB
010: AGC target level = –10 dB
011: AGC target level = –12 dB
100: AGC target level = –14 dB
101: AGC target level = –17 dB
110: AGC target level = –20 dB
111: AGC target level = –24 dB
D3–D0 R/W 0000 Reserved. Write only zeros to these bits.

Table 7-118 Page 0 / Register 87 (0x57): AGC Control 2

BIT READ/
WRITE
RESET
VALUE
DESCRIPTION
D7–D6 R/W 00 00: AGC hysterysis setting of 1 dB
01: AGC hysterysis setting of 2 dB
10: AGC hysterysis setting of 4 dB
11: AGC hysterysis disabled
D5–D1 R/W 00 000 00 000: AGC noise and silence detection is disabled.
00 001: AGC noise threshold = –30 dB
00 010: AGC noise threshold = –32 dB
00 011: AGC noise threshold = –34 dB
...
11 101: AGC noise threshold = –86 dB
11 110: AGC noise threshold = –88 dB
11 111: AGC noise threshold = –90 dB
D0 R/W 0 Reserved. Write only zero to this bit.

Table 7-119 Page 0 / Register 88 (0x58): AGC Maximum Gain

BIT READ/
WRITE
RESET
VALUE
DESCRIPTION
D7 R/W 0 Reserved. Write only zero to this bit.
D6–D0 R/W 111 1111 000 0000: AGC maximum gain = 0 dB
000 0001: AGC maximum gain = 0.5 dB
000 0010: AGC maximum gain = 1 dB
...
111 0011: AGC maximum gain = 57.5 dB
111 0100: AGC maximum gain = 58 dB
111 0101: AGC maximum gain = 58.5 dB
111 0110: AGC maximum gain = 59 dB
111 0111: AGC maximum gain = 59.5 dB
111 1000–111 1111: Reserved. Do not write these sequences to these bits.

Table 7-120 Page 0 / Register 89 (0x59): AGC Attack Time

BIT READ/
WRITE
RESET
VALUE
DESCRIPTION
D7–D3 R/W 0000 0 0000 0: AGC attack time = 1 × (32 / fS) where fS is the ADC sample rate
0000 1: AGC attack time = 3 × (32 / fS) where fS is the ADC sample rate
0001 0: AGC attack time = 5 × (32 / fS) where fS is the ADC sample rate
0001 1: AGC attack time = 7 × (32 / fS) where fS is the ADC sample rate
0010 0: AGC attack time = 9 × (32 / fS) where fS is the ADC sample rate
...
1111 0: AGC attack time = 61 × (32 / fS) where fS is the ADC sample rate
1111 1: AGC attack time = 63 × (32 / fS) where fS is the ADC sample rate
D2–D0 R/W 000 000: Multiply factor for the programmed AGC attack time = 1
001: Multiply factor for the programmed AGC attack time = 2
010: Multiply factor for the programmed AGC attack time = 4
...
111: Multiply factor for the programmed AGC attack time = 128

Table 7-121 Page 0 / Register 90 (0x5A): AGC Decay Time

BIT READ/
WRITE
RESET
VALUE
DESCRIPTION
D7–D3 R/W 0000 0 0000 0: AGC decay time = 1 × (512 / fS)
0000 1: AGC decay time = 3 × (512 / fS)
0001 0: AGC decay time = 5 × (512 / fS)
0001 1: AGC decay time = 7 × (512 / fS)
0010 0: AGC decay time = 9 × (512 / fS)
...
1111 0: AGC decay time = 61 × (512 / fS)
1111 1: AGC decay time = 63 × (512 / fS)
D2–D0 R/W 000 000: Multiply factor for the programmed AGC decay time = 1
001: Multiply factor for the programmed AGC decay time = 2
010: Multiply factor for the programmed AGC decay time = 4
...
111: Multiply factor for the programmed AGC decay time = 128

Table 7-122 Page 0 / Register 91 (0x5B): AGC Noise Debounce

BIT READ/
WRITE
RESET
VALUE
DESCRIPTION
D7–D5 R/W 000 Reserved. Write only zeros to these bits.
D4–D0 R/W 0 0000 0 0000: AGC noise debounce = 0 / fS
0 0001: AGC noise debounce = 4 / fS
0 0010: AGC noise debounce = 8 / fS
0 0011: AGC noise debounce = 16 / fS
0 0100: AGC noise debounce = 32 / fS
0 0101: AGC noise debounce = 64 / fS
0 0110: AGC noise debounce = 128 / fS
0 0111: AGC noise debounce = 256 / fS
0 1000: AGC noise debounce = 512 / fS
0 1001: AGC noise debounce = 1024 / fS
0 1010: AGC noise debounce = 2048 / fS
0 1011: AGC noise debounce = 4096 / fS
0 1100: AGC noise debounce = 2 × 4096 / fS
0 1101: AGC noise debounce = 3 × 4096 / fS
0 1110: AGC noise debounce = 4 × 4096 / fS
...
1 1110: AGC noise debounce = 20 × 4096 / fS
1 1111: AGC noise debounce = 21 × 4096 / fS

Table 7-123 Page 0 / Register 92 (0x5C): AGC Signal Debounce

BIT READ/
WRITE
RESET
VALUE
DESCRIPTION
D7–D4 R/W 0000 Reserved. Write only zeros to these bits.
D3–D0 R/W 0000 0000: AGC signal debounce = 0 / fS
0001: AGC signal debounce = 4 / fS
0010: AGC signal debounce = 8 / fS
0011: AGC signal debounce = 16 / fS
0100: AGC signal debounce = 32 / fS
0101: AGC signal debounce = 64 / fS
0110: AGC signal debounce = 128 / fS
0111: AGC signal debounce = 256 / fS
1000: AGC signal debounce = 512 / fS
1001: AGC signal debounce = 1024 / fS
1010: AGC signal debounce = 2048 / fS
1011: AGC signal debounce = 2 × 2048 / fS
1100: AGC signal debounce = 3 × 2048 / fS
1101: AGC signal debounce = 4 × 2048 / fS
1110: AGC signal debounce = 5 × 2048 / fS
1111: AGC signal debounce = 6 × 2048 / fS

Table 7-124 Page 0 / Register 93 (0x5D): AGC Gain-Applied Reading

BIT READ/
WRITE
RESET
VALUE
DESCRIPTION
D7–D0 R XXXX XXXX 1110 1000: Gain applied by AGC = –12 dB
1110 1001: Gain applied by AGC = –11.5 dB

...
0000 0000: Gain applied by AGC = 0 dB
...
0111 0011: Gain applied by AGC = 57.5 dB
0111 0100: Gain applied by AGC = 58 dB

0111 0101: Gain applied by AGC = 58.5 dB
0111 0110: Gain applied by AGC = 59 dB
0111 0111: Gain applied by AGC = 59.5 dB

Table 7-125 Page 0 / Register 94 Through Page 0 / Register 101: Reserved

BIT READ/
WRITE
RESET
VALUE
DESCRIPTION
D7–D0 R/W XXXX XXXX Reserved. Do not write to these registers.

Table 7-126 Page 0 / Register 102 (0x66): ADC DC Measurement 1

BIT READ/
WRITE
RESET
VALUE
DESCRIPTION
D7 R/W 0 0: DC measurement is disabled for mono ADC channel
1: DC measurement is enabled for mono ADC channel
D6 R/W 0 Reserved. Write only reset value.
D5 R/W 0 0: DC measurement occurs based on first-order sync filter with averaging of 2D
1: DC measurement occurs based on first-order low-pass IIR filter whose coefficients are calculated based on D value
D4–D0 R/W 00000 DC Measurement D setting:
00000: Reserved. Don't use.
00001: D = 1
00010: D = 2
...
10011: D = 19
10100: D = 20
10101 to 11111: Reserved. Don't use.

Table 7-127 Page 0 / Register 103 (0x67): ADC DC Measurement 2

BIT READ/
WRITE
RESET
VALUE
DESCRIPTION
D7 R/W 0 Reserved. Write only reset value.
D6 R/W 0 0: DC measurement data update is enabled.
1: DC measurement data update is disabled. User can read the last updated data without any data corruption.
D5 R/W 0 0: For IIR based DC measurement, the measurement value is the instantaneous output of the IIR filter
1: For IIR based DC measurement, the measurement value is update before periodic clearing of the IIR filter
D4–D0 R/W 00000 IIR based DC measurement, average time setting:
00000: Infinite average is used
00001: Averaging time is 21 ADC modulator clock periods
00010: Averaging time is 22 ADC modulator clock periods
...
10011: Averaging time is 219 ADC modulator clock periods
10100: Averaging time is 220 ADC modulator clock periods
10101 to 11111: Reserved. Don't use.

Table 7-128 Page 0 / Register 104 (0x67): ADC DC Measurement Output 1

BIT READ/
WRITE
RESET
VALUE
DESCRIPTION
D7–D0 R 0000 0000 ADC DC Measurement Output (23:16)

Table 7-129 Page 0 / Register 105 (0x68): ADC DC Measurement Output 2

BIT READ/
WRITE
RESET
VALUE
DESCRIPTION
D7–D0 R 0000 0000 ADC DC Measurement Output (15:8)

Table 7-130 Page 0 / Register 106 (0x69): ADC DC Measurement Output 3

BIT READ/
WRITE
RESET
VALUE
DESCRIPTION
D7–D0 R 0000 0000 ADC DC Measurement Output (7:0)

Table 7-131 Page 0 / Register 107 Through Page 0 / Register 115: Reserved

BIT READ/
WRITE
RESET
VALUE
DESCRIPTION
D7–D0 R/W XXXX XXXX Reserved. Do not write to these registers.

Table 7-132 Page 0 / Register 116 (0x74): VOL/MICDET-Pin SAR ADC — Volume Control

BIT READ/
WRITE
RESET
VALUE
DESCRIPTION
D7 R/W 0 0: DAC volume control is controlled by control register. (7-bit Vol ADC is powered down)
1: DAC volume control is controlled by pin.
D6 R/W 0 0: Internal on-chip RC oscillator is used for the 7-bit Vol ADC for pin volume control.
1: MCLK is used for the 7-bit Vol ADC for pin volume control.
D5–D4 R/W 00 00: No hysteresis for volume control ADC output
01: Hysteresis of ±1 bit
10: Hysteresis of ±2 bits
11: Reserved. Do not write this sequence to these bits.
D3 R/W 0 Reserved. Write only reset value.
D2–D0 R/W 000 Throughput of the 7-bit Vol ADC for pin volume control, frequency based on  MCLK or internal oscillator.
MCLK = 12 MHz Internal Oscillator Source
000: Throughput =
001: Throughput =
010: Throughput =
011: Throughput =
100: Throughput =
101: Throughput =
110: Throughput =
111: Throughput =
15.625 Hz
31.25 Hz
62.5 Hz
125 Hz
250 Hz
500 Hz
1 kHz
2 kHz
10.68 Hz
21.35 Hz
42.71 Hz
8.2 Hz
170 Hz
340 Hz
680 Hz
1.37 kHz
Note: These values are based on a nominal oscillator frequency of 8.2 MHz. The values scale to the actual oscillator frequency.

Table 7-133 Page 0 / Register 117 (0x75): VOL/MICDET-Pin Gain

BIT READ/
WRITE
RESET
VALUE
DESCRIPTION
D7 R/W 0 Reserved. Write only zero to this bit.
D6–D0 R XXX XXXX 000 0000: Gain applied by pin volume control = 18 dB
000 0001: Gain applied by pin volume control = 17.5 dB
000 0010: Gain applied by pin volume control = 17 dB
...
010 0011: Gain applied by pin volume control = 0.5 dB
010 0100: Gain applied by pin volume control = 0 dB
010 0101: Gain applied by pin volume control = –0.5 dB
...
101 1001: Gain applied by pin volume control = –26.5 dB
101 1010: Gain applied by pin volume control = –27 dB
101 1011: Gain applied by pin volume control = –28 dB
...
111 1101: Gain applied by pin volume control = –62 dB
111 1110: Gain applied by pin volume control = –63 dB
111 1111: Reserved.

Table 7-134 Page 0 / Register 118 (0x76) Through Page 0 / Register 127 (0x7F): Reserved

BIT READ/
WRITE
RESET
VALUE
DESCRIPTION
D7–D0 R/W XXXX XXXX Reserved. Do not write to these registers.

7.4.2.2 Control Registers, Page 1: DAC and ADC Routing, PGA, Power-Controls, and MISC Logic-Related Programmability

Table 7-135 Page 1 / Register 0 (0x00): Page Control Register

BIT READ/
WRITE
RESET
VALUE
DESCRIPTION
D7–D0 R/W 0000 0000 0000 0000: Page 0 selected
0000 0001: Page 1 selected
...
1111 1110: Page 254 selected
1111 1111: Page 255 selected

Table 7-136 Page 1 / Register 1 (0x01) Through Page 1 / Register 29 (0x1D): Reserved

BIT READ/
WRITE
RESET
VALUE
DESCRIPTION
D7–D0 R/W XXXX XXXX Reserved. Do not write to these registers.

Table 7-137 Page 1 / Register 30 (0x1E): Headphone and Speaker Amplifier Error Control

BIT READ/
WRITE
RESET
VALUE
DESCRIPTION
D7–D2 R/W 0000 00 Reserved
D1 R/W 0 0: Reset SPL and SPR power-up control bits on short-circuit detection.
1: SPL and SPR power-up control bits remain unchanged on short-circuit detection.
D0 R/W 0 0: Reset HPL and HPR power-up control bits on short-circuit detection if page 1 / register 31, D1 = 1.
1: HPL and HPR power-up control bits remain unchanged on short-circuit detection.

Table 7-138 Page 1 / Register 31 (0x1F): Headphone Drivers

BIT READ/
WRITE
RESET
VALUE
DESCRIPTION
D7 R/W 0 0: HPL output driver is powered down.
1: HPL output driver is powered up.
D6 R/W 0 0: HPR output driver is powered down.
1: HPR output driver is powered up.
D5 R/W 0 Reserved. Write only zero to this bit.
D4–D3 R/W 00 00: Output common-mode voltage = 1.35 V
01: Output common-mode voltage = 1.5 V
10: Output common-mode voltage = 1.65 V
11: Output common-mode voltage = 1.8 V
D2 R/W 1 Reserved. Write only 1 to this bit.
D1 R/W 0 0: If short-circuit protection is enabled for headphone driver and short circuit detected, device limits the
    maximum current to the load.
1: If short-circuit protection is enabled for headphone driver and short circuit detected, device powers
    down the output driver.
D0 R 0 0: Short circuit is not detected on the headphone driver.
1: Short circuit is detected on the headphone driver.

Table 7-139 Page 1 / Register 32 (0x20): Class-D Speaker Amplifier

BIT READ/
WRITE
RESET
VALUE
DESCRIPTION
D7 R/W 0 0: Left-channel class-D output driver is powered down.
1: Left-channel class-D output driver is powered up.
D6 R/W 0 0: Right-channel class-D output driver is powered down.
1: Right-channel class-D output driver is powered up.
D5–D1 R/W 00 011 Reserved. Write only the reset value to this bit.
D0 R 0 0: Short circuit is not detected on the class-D driver. Valid only if class-D amplifier is powered up. For
    short-circuit flag sticky bit, see page 0 / register 44.
1: Short circuit is detected on the class-D driver. Valid only if class-D amp is powered-up. For short-
    circuit flag sticky bit, see page 0 / register 44.

Table 7-140 Page 1 / Register 33 (0x21): HP Output Drivers POP Removal Settings

BIT READ/
WRITE
RESET
VALUE
DESCRIPTION
D7 R/W 0 0: If the power down sequence is activated by device software, power down using page 1 / register 46,
││ bit D7, then power down the DAC simultaneously with the HP and SP amplifiers.
1: If the power down sequence is activated by device software, power down using page 1 / register 46,
││ bit D7, then power down DAC only after HP and SP amplifiers are completely powered down. This is to
││ optimize power-down POP.
D6–D3 R/W 0111 0000: Driver power-on time = 0 μs
0001: Driver power-on time = 15.3 μs
0010: Driver power-on time = 153 μs
0011: Driver power-on time = 1.53 ms
0100: Driver power-on time = 15.3 ms
0101: Driver power-on time = 76.2 ms
0110: Driver power-on time = 153 ms
0111: Driver power-on time = 304 ms
1000: Driver power-on time = 610 ms
1001: Driver power-on time = 1.22 s
1010: Driver power-on time = 3.04 s
1011: Driver power-on time = 6.1 s
1100–1111: Reserved. Do not write these sequences to these bits.
Note: These values are based on typical oscillator frequency of 8.2 MHz. Scale according to the actual oscillator frequency.
D2–D1 R/W 11 00: Driver ramp-up step time = 0 ms
01: Driver ramp-up step time = 0.98 ms
10: Driver ramp-up step time = 1.95 ms
11: Driver ramp-up step time = 3.9 ms
Note: These values are based on typical oscillator frequency of 8.2 MHz. Scale according to the actual oscillator frequency.
D0 R/W 0 0: Weakly driven output common-mode voltage is generated from resistor divider of the AVDD supply.
1: Reserved

Table 7-141 Page 1 / Register 34 (0x22): Output Driver PGA Ramp-Down Period Control

BIT READ/
WRITE
RESET
VALUE
DESCRIPTION
D7 R/W 0 Reserved. Write only the reset value to this bit.
D6–D4 R/W 000 Speaker power-up wait time (duration based on using internal oscillator)
000: Wait time = 0 ms
001: Wait time = 3.04 ms
010: Wait time = 7.62 ms
011: Wait time = 12.2 ms
100: Wait time = 15.3 ms
101: Wait time = 19.8 ms
110: Wait time = 24.4 ms
111: Wait time = 30.5 ms
Note: These values are based on typical oscillator frequency of 8.2 MHz. Scale according to the actual oscillator frequency.
D3–D0 R/W 0000 Reserved. Write only the reset value to these bits.

Table 7-142 Page 1 / Register 35 (0x23): DAC_L and DAC_R Output Mixer Routing

BIT READ/
WRITE
RESET
VALUE
DESCRIPTION
D7–D6 R/W 00 00: DAC_L is not routed anywhere.
01: DAC_L is routed to the left-channel mixer amplifier.
10: DAC_L is routed directly to the HPL driver.
11: Reserved
D5 R/W 0 0: MIC1LP input is not routed to the left-channel mixer amplifier.
1: MIC1LP input is routed to the left-channel mixer amplifier.
D4 0 0: MIC1RP input is not routed to the left-channel mixer amplifier.
1: MIC1RP input is routed to the left-channel mixer amplifier.
D3–D2 R/W 00 00: DAC_R is not routed anywhere.
01: DAC_R is routed to the right-channel mixer amplifier.
10: DAC_R is routed directly to the HPR driver.
11: Reserved
D1 R/W 0 0: MIC1RP input is not routed to the right-channel mixer amplifier.
1: MIC1RP input is routed to the right-channel mixer amplifier.
D0 R/W 0 0: HPL driver output is not routed to the HPR driver.
1: HPL driver output is routed to the HPR driver input (used for differential output mode).

Table 7-143 Page 1 / Register 36 (0x24): Left Analog Volume to HPL

BIT READ/
WRITE
RESET
VALUE
DESCRIPTION
D7 R/W 0 0: Left-channel analog volume to left-channel headphone output driver is muted if bits D6–D0 are also 111 1111.
1: Left-channel analog volume control is routed to HPL output driver.
D6–D0 R/W 111 1111 Left-channel analog volume control gain (non-linear) for the HPL output driver, 0 dB to –78 dB. See Table 7-38.

Table 7-144 Page 1 / Register 37 (0x25): Right Analog Volume to HPR

BIT READ/
WRITE
RESET
VALUE
DESCRIPTION
D7 R/W 0 0: Right-channel analog volume to right-channel headphone output driver is muted if bits D6–D0 are also 111 1111.
1: Right-channel analog volume control is routed to HPR output driver.
D6–D0 R/W 111 1111 Right-channel analog volume control gain (non-linear) for the HPR output driver, 0 dB to –78 dB. See Table 7-38.

Table 7-145 Page 1 / Register 38 (0x26): Left Analog Volume to SPL

BIT READ/
WRITE
RESET
VALUE
DESCRIPTION
D7 R/W 0 0: Left-channel analog volume to left-channel class-D output driver is muted if bits D6–D0 are also 111 1111.
1: Left-channel analog volume control output is routed to left-channel class-D output driver.
D6–D0 R/W 111 1111 Left-channel analog volume control output gain (non-linear) for the left-channel class-D output driver, 0 dB to –78 dB. See Table 7-38.

Table 7-146 Page 1 / Register 39 (0x27): Right Analog Volume to SPR

BIT READ/
WRITE
RESET
VALUE
DESCRIPTION
D7 R/W 0 0: Right-channel analog volume to right-channel class-D output driver is muted if bits D6–D0 are also 111 1111.
1: Right-channel analog volume control output is routed to right-channel class-D output driver.
D6–D0 R/W 111 1111 Right-channel analog volume control output gain (non-linear) for the right-channel class-D output driver, 0 dB to –78 dB. See Table 7-38.

Table 7-147 Page 1 / Register 40 (0x28): HPL Driver

BIT READ/
WRITE
RESET
VALUE
DESCRIPTION
D7 R/W 0 Reserved. Write only zero to this bit.
D6–D3 R/W 0000 0000: HPL driver PGA = 0 dB
0001: HPL driver PGA = 1 dB
0010: HPL driver PGA = 2 dB
...
1000: HPL driver PGA = 8 dB
1001: HPL driver PGA = 9 dB
1010–1111: Reserved. Do not write these sequences to these bits.
D2 R/W 0 0: HPL driver is muted.
1: HPL driver is not muted.
D1 R/W 1 Reserved
D0 R 0 0: Not all programmed gains to HPL have been applied yet.
1: All programmed gains to HPL have been applied.

Table 7-148 Page 1 / Register 41 (0x29): HPR Driver

BIT READ/
WRITE
RESET
VALUE
DESCRIPTION
D7 R/W 0 Reserved. Write only zero to this bit.
D6–D3 R/W 0000 0000: HPR driver PGA = 0 dB
0001: HPR driver PGA = 1 dB
0010: HPR driver PGA = 2 dB
...
1000: HPR driver PGA = 8 dB
1001: HPR driver PGA = 9 dB
1010–1111: Reserved. Do not write these sequences to these bits.
D2 R/W 0 0: HPR driver is muted.
1: HPR driver is not muted.
D1 R/W 1 Reserved. Write only '1' to this bit.
D0 R 0 0: Not all programmed gains to HPR have been applied yet.
1: All programmed gains to HPR have been applied.

Table 7-149 Page 1 / Register 42 (0x2A): SPL Driver

BIT READ/
WRITE
RESET
VALUE
DESCRIPTION
D7–D5 R/W 000 Reserved. Write only zeros to these bits.
D4–D3 R/W 00 00: Left-channel class-D driver output stage gain = 6 dB
01: Left-channel class-D driver output stage gain = 12 dB
10: Left-channel class-D driver output stage gain = 18 dB
11: Left-channel class-D driver output stage gain = 24 dB
D2 R/W 0 0: Left-channel class-D driver is muted.
1: Left-channel class-D driver is not muted.
D1 R/W 0 Reserved. Write only zero to this bit.
D0 R 0 0: Not all programmed gains to the Left-channel class-D driver have been applied yet.
1: All programmed gains to the Left-channel class-D driver have been applied.

Table 7-150 Page 1 / Register 43 (0x2B): SPR Driver

BIT READ/
WRITE
RESET
VALUE
DESCRIPTION
D7–D5 R/W 000 Reserved. Write only zeros to these bits.
D4–D3 R/W 00 00: Right-channel class-D driver output stage gain = 6 dB
01: Right-channel class-D driver output stage gain = 12 dB
10: Right-channel class-D driver output stage gain = 18 dB
11: Right-channel class-D driver output stage gain = 24 dB
D2 R/W 0 0: Right-channel class-D driver is muted.
1: Right-channel class-D driver is not muted.
D1 R/W 0 Reserved. Write only zero to this bit.
D0 R 0 0: Not all programmed gains to right-channel class-D driver have been applied yet.
1: All programmed gains to right-channel class-D driver have been applied.

Table 7-151 Page 1 / Register 44 (0x2C): HP Driver Control

BIT READ/
WRITE
RESET
VALUE
DESCRIPTION
D7–D5 R/W 000 Debounce time for the headset short-circuit detection
(1) MCLK/DIV (Page 3 / register 16) = 1-MHz Source Internal Oscillator Source
000: Debounce time =
001: Debounce time =
010: Debounce time =
011: Debounce time =
100: Debounce time =
101: Debounce time =
110: Debounce time =
111: Debounce time =
0 μs
8 μs
16 μs
32 μs
64 μs
128 μs
256 μs
512 μs
0 μs
7.8 μs
15.6 μs
31.2 μs
62.4 μs
124.9 μs
250 μs
500 μs
Note: These values are based on a nominal oscillator frequency of 8.2 MHz. The values scale to the actual oscillator frequency.
D4–D3 R/W 00 00: Default mode for the DAC
01: DAC performance increased by increasing the current
10: Reserved
11: DAC performance increased further by increasing the current again
D2 R/W 0 0: HPL output driver is programmed as headphone driver.
1: HPL output driver is programmed as lineout driver.
D1 R/W 0 0: HPR output driver is programmed as headphone driver.
1: HPR output driver is programmed as lineout driver.
D0 R/W 0 Reserved. Write only zero to this bit.
(1) The clock used for the debounce has a clock period = debounce duration / 8.

Table 7-152 Page 1 / Register 45 (0x2D): Reserved

BIT READ/
WRITE
RESET
VALUE
DESCRIPTION
D7–D0 R/W XXXX XXXX Reserved. Do not write to these registers.

Table 7-153 Page 1 / Register 46 (0x2E): MICBIAS

BIT READ/
WRITE
RESET
VALUE
DESCRIPTION
D7 R/W 0 0: Device software power down is not enabled.
1: Device software power down is enabled.
D6–D4 R/W 000 Reserved. Write only zeros to these bits.
D3 R/W 0 0: Programmed MICBIAS is not powered up if headset detection is enabled but headset is not inserted.
1: Programmed MICBIAS is powered up even if headset is not inserted.
D2 R/W 0 Reserved. Write only zero to this bit.
D1–D0 R/W 00 00: MICBIAS output is powered down.
01: MICBIAS output is powered to 2 V.
10: MICBIAS output is powered to 2.5 V.
11: MICBIAS output is powered to AVDD.

Table 7-154 Page 1 / Register 48 (0x30): Delta-Sigma Mono ADC Channel Fine-Gain Input Selection for P-Terminal

BIT READ/
WRITE
RESET
VALUE
DESCRIPTION
D7–D6
(1)
R/W 00 00: MIC1LP is not selected for the MIC PGA.
01: MIC1LP is selected for the MIC PGA with feed-forward resistance RIN = 10 kΩ.
10: MIC1LP is selected for the MIC PGA with feed-forward resistance RIN = 20 kΩ.
11: MIC1LP is selected for the MIC PGA with feed-forward resistance RIN = 40 kΩ.
D5–D4 R/W 00 00: MIC1RP is not selected for the MIC PGA.
01: MIC1RP is selected for the MIC PGA with feed-forward resistance RIN = 10 kΩ
10: MIC1RP is selected for the MIC PGA with feed-forward resistance RIN = 20 kΩ
11: MIC1RP is selected for the MIC PGA with feed-forward resistance RIN = 40 kΩ
D3–D2 R/W 00 00: MIC1LM is not selected for the MIC PGA.
01: MIC1LM is selected for the MIC PGA with feed-forward resistance RIN = 10 kΩ
10: MIC1LM is selected for the MIC PGA with feed-forward resistance RIN = 20 kΩ
11: MIC1LM is selected for the MIC PGA with feed-forward resistance RIN = 40 kΩ
D1–D0 R/W 00 Reserved. Write only zeros to these bits.
(1) Input impedance selection affects the microphone PGA gain. See Section 7.3.9.1 for details.

Table 7-155 Page 1 / Register 49 (0x31): ADC Input Selection for M-Terminal

BIT READ/
WRITE
RESET
VALUE
DESCRIPTION
D7–D6 (1) R/W 00 00: CM is not selected for the MIC PGA.
01: CM is selected for the MIC PGA with feed-forward resistance RIN = 10 kΩ.
10: CM is selected for the MIC PGA with feed-forward resistance RIN = 20 kΩ.
11: CM is selected for the MIC PGA with feed-forward resistance RIN = 40 kΩ.
D5–D4 00 00: MIC1LM is not selected for the MIC PGA.
01: MIC1LM is selected for the MIC PGA with feed-forward resistance RIN = 10 kΩ.
10: MIC1LM is selected for the MIC PGA with feed-forward resistance RIN = 20 kΩ.
11: MIC1LM is selected for the MIC PGA with feed-forward resistance RIN = 40 kΩ.
D3–D0 R/W 0000 Reserved. Write only zeros to these bits.

Table 7-156 Page 1 / Register 50 (0x32): Input CM Settings

BIT READ/
WRITE
RESET
VALUE
DESCRIPTION
D7 R/W 0 0: MIC1LP input is floating, if it is not used for the MIC PGA and analog bypass.
1: MIC1LP input is connected to CM internally, if it is not used for the MIC PGA and analog bypass.
D6 R/W 0 0: MIC1RP input is floating, if it is not used for the MIC PGA and analog bypass.
1: MIC1RP input is connected to CM internally, if it is not used for the MIC PGA and analog bypass.
D5 R/W 0 0: MIC1LM input is floating, if it is not used for the MIC PGA.
1: MIC1LM input is connected to CM internally, if it is not used for the MIC PGA.
D4–D1 R/W 00 00 Reserved. Write only zeros to these bits.
D0 R 0 0: Not all programmed analog gains to the ADC have been applied yet.
1: All programmed analog gains to the ADC have been applied.

Table 7-157 Page 1 / Register 51 (0x33) Through Page 1 / Register 127 (0x7F): Reserved

BIT READ/
WRITE
RESET
VALUE
DESCRIPTION
D7–D0 R/W XXXX XXXX Reserved. Write only the reset value to these bits.

7.4.2.3 Control Registers, Page 3: MCLK Divider for Programmable Delay Timer

Default values shown for this page only become valid 100 μs following a hardware or software reset.

Table 7-158 Page 3 / Register 0 (0x00): Page Control Register

BIT READ/
WRITE
RESET
VALUE
DESCRIPTION
D7–D0 R/W 0000 0000 0000 0000: Page 0 selected
0000 0001: Page 1 selected
...
1111 1110: Page 254 selected
1111 1111: Page 255 selected

The only register used in page 3 is register 16. The remaining page-3 registers are reserved and must not be written to.

Table 7-159 Page 3 / Register 16 (0x10): Timer Clock MCLK Divider

BIT READ/
WRITE
RESET
VALUE
DESCRIPTION
D7 R/W 1 0: Internal oscillator is used for programmable delay timer.
1: External MCLK(1) is used for programmable delay timer.
D6–D0 R/W 000 0001 MCLK Divider to Generate 1-MHz Clock for the Programmable Delay Timer
000 0000: MCLK divider = 128
000 0001: MCLK divider = 1
000 0010: MCLK divider = 2
...
111 1110: MCLK divider = 126
111 1111: MCLK divider = 127
(1) External clock is used only to control the delay programmed between the conversions and not used for doing the actual conversion. This feature is provided in case a more accurate delay is desired because the internal oscillator frequency varies from device to device.

7.4.2.4 Control Registers, Page 4: ADC Digital Filter Coefficients

Default values shown for this page only become valid 100 μs following a hardware or software reset.

Table 7-160 Page 4 / Register 0 (0x00): Page Control Register

BIT READ/
WRITE
RESET
VALUE
DESCRIPTION
D7–D0 R/W 0000 0000 0000 0000: Page 0 selected
0000 0001: Page 1 selected
...
1111 1110: Page 254 selected
1111 1111: Page 255 selected

The remaining page-4 registers are either reserved registers or are used for setting coefficients for the various filters in the TLV320AIC3110. Reserved registers must not be written to.

The filter coefficient registers are arranged in pairs, with two adjacent 8-bit registers containing the 16-bit coefficient for a single filter. The 16-bit integer contained in the MSB and LSB registers for a coefficient are interpreted as a 2s-complement integer, with possible values ranging from –32 768 to 32 767. When programming any coefficient value for a filter, the MSB register must always be written first, immediately followed by the LSB register. Even if only the MSB or LSB portion of the coefficient changes, both registers must be written in this sequence. is a list of the page-4 registers, excepting the previously described register 0.

Table 7-161 Page-4 Registers

REGISTER NUMBER RESET VALUE REGISTER NAME
 1 (0x01) XXXX XXXX Reserved. Do not write to this register.
 2 (0x02) 0000 0001 8 MSBs of N0 coefficient for AGC LPF (first-order IIR) used as averager to detect level
 3 (0x03) 0001 0111 8 LSBs of N0 coefficient for AGC LPF (first-order IIR) used as averager to detect level
 4 (0x04) 0000 0001 8 MSBs of N1 coefficient for AGC LPF (first-order IIR) used as averager to detect level
 5 (0x05) 0001 0111 8 LSBs of N1 coefficient for AGC LPF (first-order IIR) used as averager to detect level
 6 (0x06) 0111 1101 8 MSBs of D1 coefficient for AGC LPF (first-order IIR) used as averager to detect level
 7 (0x07) 1101 0011 8 LSBs of D1 coefficient for AGC LPF (first-order IIR) used as averager to detect level
 8 (0x08) 0111 1111 8 MSBs of N0 coefficient for ADC-programmable first-order IIR
 9 (0x09) 1111 1111 8 LSBs of N0 coefficient for ADC-programmable first-order IIR
10 (0x0A) 0000 0000 8 MSBs of N1 coefficient for ADC-programmable first-order IIR
11 (0x0B) 0000 0000 8 LSBs of N1 coefficient for ADC-programmable first-order IIR
12 (0x0C) 0000 0000 8 MSBs of D1 coefficient for ADC-programmable first-order IIR
13 (0x0D) 0000 0000 8 LSBs of D1 coefficient for ADC-programmable first-order IIR
14 (0x0E) 0111 1111 Coefficient N0(15:8) for ADC biquad A or coefficient FIR0(15:8) for ADC FIR filter
15 (0x0F) 1111 1111 Coefficient N0(7:0) for ADC biquad A or coefficient FIR0(7:0) for ADC FIR filter
16 (0x10) 0000 0000 Coefficient N1(15:8) for ADC biquad A or coefficient FIR1(15:8) for ADC FIR filter
17 (0x11) 0000 0000 Coefficient N1(7:0) for ADC biquad A or coefficient FIR1(7:0) for ADC FIR filter
18 (0x12) 0000 0000 Coefficient N2(15:8) for ADC biquad A or coefficient FIR2(15:8) for ADC FIR filter
19 (0x13) 0000 0000 Coefficient N2(7:0) for ADC biquad A or coefficient FIR2(7:0) for ADC FIR filter
20 (0x14) 0000 0000 Coefficient D1(15:8) for ADC biquad A or coefficient FIR3(15:8) for ADC FIR filter
21 (0x15) 0000 0000 Coefficient D1(7:0) for ADC biquad A or coefficient FIR3(7:0) for ADC FIR filter
22 (0x16) 0000 0000 Coefficient D2(15:8) for ADC biquad A or coefficient FIR4(15:8) for ADC FIR filter
23 (0x17) 0000 0000 Coefficient D2(7:0) for ADC biquad A or coefficient FIR4(7:0) for ADC FIR filter
24 (0x18) 0111 1111 Coefficient N0(15:8) for ADC biquad B or coefficient FIR5(15:8) for ADC FIR filter
25 (0x19) 1111 1111 Coefficient N0(7:0) for ADC biquad B or coefficient FIR5(7:0) for ADC FIR filter
26 (0x1A) 0000 0000 Coefficient N1(15:8) for ADC biquad B or coefficient FIR6(15:8) for ADC FIR filter
27 (0x1B) 0000 0000 Coefficient N1(7:0) for ADC biquad B or coefficient FIR6(7:0) for ADC FIR filter
28 (0x1C) 0000 0000 Coefficient N2(15:8) for ADC biquad B or coefficient FIR7(15:8) for ADC FIR filter
29 (0x1D) 0000 0000 Coefficient N2(7:0) for ADC biquad B or coefficient FIR7(7:0) for ADC FIR filter
30 (0x1E) 0000 0000 Coefficient D1(15:8) for ADC biquad B or coefficient FIR8(15:8) for ADC FIR filter
31 (0x1F) 0000 0000 Coefficient D1(7:0) for ADC biquad B or coefficient FIR8(7:0) for ADC FIR filter
32 (0x20) 0000 0000 Coefficient D2(15:8) for ADC biquad B or coefficient FIR9(15:8) for ADC FIR filter
33 (0x21) 0000 0000 Coefficient D2(7:0) for ADC biquad B or coefficient FIR9(7:0) for ADC FIR filter
34 (0x22) 0111 1111 Coefficient N0(15:8) for ADC biquad C or coefficient FIR10(15:8) for ADC FIR filter
35 (0x23) 1111 1111 Coefficient N0(7:0) for ADC biquad C or coefficient FIR10(7:0) for ADC FIR filter
36 (0x24) 0000 0000 Coefficient N1(15:8) for ADC biquad C or coefficient FIR11(15:8) for ADC FIR filter
37 (0x25) 0000 0000 Coefficient N1(7:0) for ADC biquad C or coefficient FIR11(7:0) for ADC FIR filter
38 (0x26) 0000 0000 Coefficient N2(15:8) for ADC biquad C or coefficient FIR12(15:8) for ADC FIR filter
39 (0x27) 0000 0000 Coefficient N2(7:0) for ADC biquad C or coefficient FIR12(7:0) for ADC FIR filter
40 (0x28) 0000 0000 Coefficient D1(15:8) for ADC biquad C or coefficient FIR13(15:8) for ADC FIR filter
41 (0x29) 0000 0000 Coefficient D1(7:0) for ADC biquad C or coefficient FIR13(7:0) for ADC FIR filter
42 (0x2A) 0000 0000 Coefficient D2(15:8) for ADC biquad C or coefficient FIR14(15:8) for ADC FIR filter
43 (0x2B) 0000 0000 Coefficient D2(7:0) for ADC biquad C or coefficient FIR14(7:0) for ADC FIR filter
44 (0x2C) 0111 1111 Coefficient N0(15:8) for ADC biquad D or coefficient FIR15(15:8) for ADC FIR filter
45 (0x2D) 1111 1111 Coefficient N0(7:0) for ADC biquad D or coefficient FIR15(7:0) for ADC FIR filter
46 (0x2E) 0000 0000 Coefficient N1(15:8) for ADC biquad D or coefficient FIR16(15:8) for ADC FIR filter
47 (0x2F) 0000 0000 Coefficient N1(7:0) for ADC biquad D or coefficient FIR16(7:0) for ADC FIR filter
48 (0x30) 0000 0000 Coefficient N2(15:8) for ADC biquad D or coefficient FIR17(15:8) for ADC FIR filter
49 (0x31) 0000 0000 Coefficient N2(7:0) for ADC biquad D or coefficient FIR17(7:0) for ADC FIR filter
50 (0x32) 0000 0000 Coefficient D1(15:8) for ADC biquad D or coefficient FIR18(15:8) for ADC FIR filter
51 (0x33) 0000 0000 Coefficient D1(7:0) for ADC biquad D or coefficient FIR18(7:0) for ADC FIR filter
52 (0x34) 0000 0000 Coefficient D2(15:8) for ADC biquad D or coefficient FIR19(15:8) for ADC FIR filter
53 (0x35) 0000 0000 Coefficient D2(7:0) for ADC biquad D or coefficient FIR19(7:0) for ADC FIR filter
54 (0x36) 0111 1111 Coefficient N0(15:8) for ADC biquad E or coefficient FIR20(15:8) for ADC FIR filter
55 (0x37) 1111 1111 Coefficient N0(7:0) for ADC biquad E or coefficient FIR20(7:0) for ADC FIR filter
56 (0x38) 0000 0000 Coefficient N1(15:8) for ADC biquad E or coefficient FIR21(15:8) for ADC FIR filter
57 (0x39) 0000 0000 Coefficient N1(7:0) for ADC biquad E or coefficient FIR21(7:0) for ADC FIR filter
58 (0x3A) 0000 0000 Coefficient N2(15:8) for ADC biquad E or coefficient FIR22(15:8) for ADC FIR filter
59 (0x3B) 0000 0000 Coefficient N2(7:0) for ADC biquad E or coefficient FIR22(7:0) for ADC FIR filter
60 (0x3C) 0000 0000 Coefficient D1(15:8) for ADC biquad E or coefficient FIR23(15:8) for ADC FIR filter
61 (0x3D) 0000 0000 Coefficient D1(7:0) for ADC biquad E or coefficient FIR23(7:0) for ADC FIR filter
62 (0x3E) 0000 0000 Coefficient D2(15:8) for ADC biquad E or coefficient FIR24(15:8) for ADC FIR filter
63 (0x3F) 0000 0000 Coefficient D2(7:0) for ADC biquad E or coefficient FIR24(7:0) for ADC FIR filter
64-127 0000 0000 Reserved. Write only reset values.

7.4.2.5 Control Registers, Page 8: DAC Digital Filter Coefficients

Default values shown for this page only become valid 100 μs following a hardware or software reset.

Table 7-162 Page 8 / Register 0: Page Control Register

BIT READ/
WRITE
RESET
VALUE
DESCRIPTION
D7–D0 R/W 0000 0000 0000 0000: Page 0 selected
0000 0001: Page 1 selected
...
1111 1110: Page 254 selected
1111 1111: Page 255 selected

The remaining page-8 registers are either reserved registers or are used for setting coefficients for the various filters in the TLV320AIC3110. Reserved registers must not be written to.

The filter coefficient registers are arranged in pairs, with two adjacent 8-bit registers containing the 16-bit coefficient for a single filter. The 16-bit integer contained in the MSB and LSB registers for a coefficient are interpreted as a 2s-complement integer, with possible values ranging from –32 768 to 32 767. When programming any coefficient value for a filter, the MSB register must always be written first, immediately followed by the LSB register. Even if only the MSB or LSB portion of the coefficient changes, both registers must be written in this sequence. is a list of the page-8 registers, excepting the previously described register 0.

Table 7-163 Page 8 / Register 1 (0x01) : DAC Coefficient Buffer Control

BIT READ/
WRITE
RESET
VALUE
DESCRIPTION
D7–D4 R/W 0000 Reserved. Write only the reset value.
D3 R 0 DAC PRB generated flag for toggling MSB of coefficient RAM address (only used in non-adaptive mode)
D2 R/W 0 DAC Adaptive Filtering Control
0: Adaptive filtering disabled in DAC Processing Blocks
1: Adaptive filtering enabled in DAC Processing Blocks
D1 R 0 DAC Adaptive Filter Buffer Control Flag
0: In adaptive filter mode, DAC Processing Blocks accesses DAC coefficient Buffer A and the external control interface accesses DAC coefficient Buffer B
1: In adaptive filter mode, DAC Processing Blocks accesses DAC coefficient Buffer B and the external control interface accesses DAC coefficient Buffer A
D0 R/W 0 DAC Adaptive Filter Buffer Switch Control
0: DAC coefficient buffers are not switched at the next frame boundary.
1: DAC coefficient buffers are switched at the next frame boundary, if adaptive filtering mode is enabled. This bit self-clears on switching.

Table 7-164 Page-8 DAC Buffer A Registers

REGISTER NUMBER RESET VALUE REGISTER NAME
 2 (0x02) 0111 1111 8 MSBs of n0 coefficient for left DAC-programmable biquad A
 3 (0x03) 1111 1111 8 LSBs of n0 coefficient for left DAC-programmable biquad A
 4 (0x04) 0000 0000 8 MSBs of n1 coefficient for left DAC-programmable biquad A
 5 (0x05) 0000 0000 8 LSBs of n1 coefficient for left DAC-programmable biquad A
 6 (0x06) 0000 0000 8 MSBs of n2 coefficient for left DAC-programmable biquad A
 7 (0x07) 0000 0000 8 LSBs of n2 coefficient for left DAC-programmable biquad A
 8 (0x08) 0000 0000 8 MSBs of d1 coefficient for left DAC-programmable biquad A
 9 (0x09) 0000 0000 8 LSBs of d1 coefficient for left DAC-programmable biquad A
10 (0x0A) 0000 0000 8 MSBs of d2 coefficient for left DAC-programmable biquad A
11 (0x0B) 0000 0000 8 LSBs of d2 coefficient for left DAC-programmable biquad A
12 (0x0C) 0111 1111 8 MSBs of n0 coefficient for left DAC-programmable biquad B
13 (0x0D) 1111 1111 8 LSBs of n0 coefficient for left DAC-programmable biquad B
14 (0x0E) 0000 0000 8 MSBs of n1 coefficient for left DAC-programmable biquad B
15 (0x0F) 0000 0000 8 LSBs of n1 coefficient for left DAC-programmable biquad B
16 (0x10) 0000 0000 8 MSBs of n2 coefficient for left DAC-programmable biquad B
17 (0x11) 0000 0000 8 LSBs of n2 coefficient for left DAC-programmable biquad B
18 (0x12) 0000 0000 8 MSBs of d1 coefficient for left DAC-programmable biquad B
19 (0x13) 0000 0000 8 LSBs of d1 coefficient for left DAC-programmable biquad B
20 (0x14) 0000 0000 8 MSBs of d2 coefficient for left DAC-programmable biquad B
21 (0x15) 0000 0000 8 LSBs of d2 coefficient for left DAC-programmable biquad B
22 (0x16) 0111 1111 8 MSBs of n0 coefficient for left DAC-programmable biquad C
23 (0x17) 1111 1111 8 LSBs of n0 coefficient for left DAC-programmable biquad C
24 (0x18) 0000 0000 8 MSBs of n1 coefficient for left DAC-programmable biquad C
25 (0x19) 0000 0000 8 LSBs of n1 coefficient for left DAC-programmable biquad C
26 (0x1A) 0000 0000 8 MSBs of n2 coefficient for left DAC-programmable biquad C
27 (0x1B) 0000 0000 8 LSBs of n2 coefficient for left DAC-programmable biquad C
28 (0x1C) 0000 0000 8 MSBs of d1 coefficient for left DAC-programmable biquad C
29 (0x1D) 0000 0000 8 LSBs of d1 coefficient for left DAC-programmable biquad C
30 (0x1E) 0000 0000 8 MSBs of d2 coefficient for left DAC-programmable biquad C
31 (0x1F) 0000 0000 8 LSBs of d2 coefficient for left DAC-programmable biquad C
32 (0x20) 0111 1111 8 MSBs of n0 coefficient for left DAC-programmable biquad D
33 (0x21) 1111 1111 8 LSBs of n0 coefficient for left DAC-programmable biquad D
34 (0x22) 0000 0000 8 MSBs of n1 coefficient for left DAC-programmable biquad D
35 (0x23) 0000 0000 8 LSBs of n1 coefficient for left DAC-programmable biquad D
36 (0x24) 0000 0000 8 MSBs of n2 coefficient for left DAC-programmable biquad D
37 (0x25) 0000 0000 8 LSBs of n2 coefficient for left DAC-programmable biquad D
38 (0x26) 0000 0000 8 MSBs of d1 coefficient for left DAC-programmable biquad D
39 (0x27) 0000 0000 8 LSBs of d1 coefficient for left DAC-programmable biquad D
40 (0x28) 0000 0000 8 MSBs of d2 coefficient for left DAC-programmable biquad D
41 (0x29) 0000 0000 8 LSBs of d2 coefficient for left DAC-programmable biquad D
42 (0x2A) 0111 1111 8 MSBs of n0 coefficient for left DAC-programmable biquad E
43 (0x2B) 1111 1111 8 LSBs of n0 coefficient for left DAC-programmable biquad E
44 (0x2C) 0000 0000 8 MSBs of n1 coefficient for left DAC-programmable biquad E
45 (0x2D) 0000 0000 8 LSBs of n1 coefficient for left DAC-programmable biquad E
46 (0x2E) 0000 0000 8 MSBs of n2 coefficient for left DAC-programmable biquad E
47 (0x2F) 0000 0000 8 LSBs of n2 coefficient for left DAC-programmable biquad E
48 (0x30) 0000 0000 8 MSBs of d1 coefficient for left DAC-programmable biquad E
49 (0x31) 0000 0000 8 LSBs of d1 coefficient for left DAC-programmable biquad E
50 (0x32) 0000 0000 8 MSBs of d2 coefficient for left DAC-programmable biquad E
51 (0x33) 0000 0000 8 LSBs of d2 coefficient for left DAC-programmable biquad E
52 (0x34) 0111 1111 8 MSBs of n0 coefficient for left DAC-programmable biquad F
53 (0x35) 1111 1111 8 LSBs of n0 coefficient for left DAC-programmable biquad F
54 (0x36) 0000 0000 8 MSBs of n1 coefficient for left DAC-programmable biquad F
55 (0x37) 0000 0000 8 LSBs of n1 coefficient for left DAC-programmable biquad F
56 (0x38) 0000 0000 8 MSBs of n2 coefficient for left DAC-programmable biquad F
57 (0x39) 0000 0000 8 LSBs of n2 coefficient for left DAC-programmable biquad F
58 (0x3A) 0000 0000 8 MSBs of d1 coefficient for left DAC-programmable biquad F
59 (0x3B) 0000 0000 8 LSBs of d1 coefficient for left DAC-programmable biquad F
60 (0x3C) 0000 0000 8 MSBs of d2 coefficient for left DAC-programmable biquad F
61 (0x3D) 0000 0000 8 LSBs of d2 coefficient for left DAC-programmable biquad F
62 (0x3E) 0000 0000 Reserved
63 (0x3F) 0000 0000 Reserved
64 (0x40) 0000 0000 8 MSBs 3D PGA Gain for PRB_P23, PRB_P24 and PRB_P25
65 (0x41) 0000 0000 8 LSBs 3D PGA Gain for PRB_P23, PRB_P24 and PRB_P25
66 (0x42) 0111 1111 8 MSBs of n0 coefficient for right DAC-programmable biquad A
67 (0x43) 1111 1111 8 LSBs of n0 coefficient for right DAC-programmable biquad A
68 (0x44) 0000 0000 8 MSBs of n1 coefficient for right DAC-programmable biquad A
69 (0x45) 0000 0000 8 LSBs of n1 coefficient for right DAC-programmable biquad A
70 (0x46) 0000 0000 8 MSBs of n2 coefficient for right DAC-programmable biquad A
71 (0x47) 0000 0000 8 LSBs of n2 coefficient for right DAC-programmable biquad A
72 (0x48) 0000 0000 8 MSBs of d1 coefficient for right DAC-programmable biquad A
73 (0x49) 0000 0000 8 LSBs of d1 coefficient for right DAC-programmable biquad A
74 (0x4A) 0000 0000 8 MSBs of d2 coefficient for right DAC-programmable biquad A
75 (0x4B) 0000 0000 8 LSBs of d2 coefficient for right DAC-programmable biquad A
76 (0x4C) 0111 1111 8 MSBs of n0 coefficient for right DAC-programmable biquad B
77 (0x4D) 1111 1111 8 LSBs of n0 coefficient for right DAC-programmable biquad B
78 (0x4E) 0000 0000 8 MSBs of n1 coefficient for right DAC-programmable biquad B
79 (0x4F) 0000 0000 8 LSBs of n1 coefficient for right DAC-programmable biquad B
80 (0x50) 0000 0000 8 MSBs of n2 coefficient for right DAC-programmable biquad B
81 (0x51) 0000 0000 8 LSBs of n2 coefficient for right DAC-programmable biquad B
82 (0x52) 0000 0000 8 MSBs of d1 coefficient for right DAC-programmable biquad B
83 (0x53) 0000 0000 8 LSBs of d1 coefficient for right DAC-programmable biquad B
84 (0x54) 0000 0000 8 MSBs of d2 coefficient for right DAC-programmable biquad B
85 (0x55) 0000 0000 8 LSBs of d2 coefficient for right DAC-programmable biquad B
86 (0x56) 0111 1111 8 MSBs of n0 coefficient for right DAC-programmable biquad C
87 (0x57) 1111 1111 8 LSBs of n0 coefficient for right DAC-programmable biquad C
88 (0x58) 0000 0000 8 MSBs of n1 coefficient for right DAC-programmable biquad C
89 (0x59) 0000 0000 8 LSBs of n1 coefficient for right DAC-programmable biquad C
90 (0x5A) 0000 0000 8 MSBs of n2 coefficient for right DAC-programmable biquad C
91 (0x5B) 0000 0000 8 LSBs of n2 coefficient for right DAC-programmable biquad C
92 (0x5C) 0000 0000 8 MSBs of d1 coefficient for right DAC-programmable biquad C
93 (0x5D) 0000 0000 8 LSBs of d1 coefficient for right DAC-programmable biquad C
94 (0x5E) 0000 0000 8 MSBs of d2 coefficient for right DAC-programmable biquad C
95 (0x5F) 0000 0000 8 LSBs of d2 coefficient for right DAC-programmable biquad C
96 (0x60) 0111 1111 8 MSBs of n0 coefficient for right DAC-programmable biquad D
97 (0x61) 1111 1111 8 LSBs of n0 coefficient for right DAC-programmable biquad D
98 (0x62) 0000 0000 8 MSBs of n1 coefficient for right DAC-programmable biquad D
99 (0x63) 0000 0000 8 LSBs of n1 coefficient for right DAC-programmable biquad D
100 (0x64) 0000 0000 8 MSBs of n2 coefficient for right DAC-programmable biquad D
101 (0x65) 0000 0000 8 LSBs of n2 coefficient for right DAC-programmable biquad D
102 (0x66) 0000 0000 8 MSBs of d1 coefficient for right DAC-programmable biquad D
103 (0x67) 0000 0000 8 LSBs of d1 coefficient for right DAC-programmable biquad D
104 (0x68) 0000 0000 8 MSBs of d2 coefficient for right DAC-programmable biquad D
105 (0x69) 0000 0000 8 LSBs of d2 coefficient for right DAC-programmable biquad D
106 (0x6A) 0111 1111 8 MSBs of n0 coefficient for right DAC-programmable biquad E
107 (0x6B) 1111 1111 8 LSBs of n0 coefficient for right DAC-programmable biquad E
108 (0x6C) 0000 0000 8 MSBs of n1 coefficient for right DAC-programmable biquad E
109 (0x6D) 0000 0000 8 LSBs of n1 coefficient for right DAC-programmable biquad E
110 (0x6E) 0000 0000 8 MSBs of n2 coefficient for right DAC-programmable biquad E
111 (0x6F) 0000 0000 8 LSBs of n2 coefficient for right DAC-programmable biquad E
112 (0x70) 0000 0000 8 MSBs of d1 coefficient for right DAC-programmable biquad E
113 (0x71) 0000 0000 8 LSBs of d1 coefficient for right DAC-programmable biquad E
114 (0x72) 0000 0000 8 MSBs of d2 coefficient for right DAC-programmable biquad E
115 (0x73) 0000 0000 8 LSBs of d2 coefficient for right DAC-programmable biquad E
116 (0x74) 0111 1111 8 MSBs of n0 coefficient for right DAC-programmable biquad F
117 (0x75) 1111 1111 8 LSBs of n0 coefficient for right DAC-programmable biquad F
118 (0x76) 0000 0000 8 MSBs of n1 coefficient for right DAC-programmable biquad F
119 (0x77) 0000 0000 8 LSBs of n1 coefficient for right DAC-programmable biquad F
120 (0x78) 0000 0000 8 MSBs of n2 coefficient for right DAC-programmable biquad F
121 (0x79) 0000 0000 8 LSBs of n2 coefficient for right DAC-programmable biquad F
122 (0x7A) 0000 0000 8 MSBs of d1 coefficient for right DAC-programmable biquad F
123 (0x7B) 0000 0000 8 LSBs of d1 coefficient for right DAC-programmable biquad F
124 (0x7C) 0000 0000 8 MSBs of d2 coefficient for right DAC-programmable biquad F
125 (0x7D) 0000 0000 8 LSBs of d2 coefficient for right DAC-programmable biquad F
126 (0x7E) 0000 0000 Reserved
127 (0x7F) 0000 0000 Reserved

7.4.2.6 Control Registers, Page 9: DAC Digital Filter Coefficients

Default values shown for this page only become valid 100 μs following a hardware or software reset.

Table 7-165 Page 9 / Register 0 (0x00): Page Control Register

BIT READ/
WRITE
RESET
VALUE
DESCRIPTION
D7–D0 R/W 0000 0000 0000 0000: Page 0 selected
0000 0001: Page 1 selected
...
1111 1110: Page 254 selected
1111 1111: Page 255 selected

The remaining page-9 registers are either reserved registers or are used for setting coefficients for the various filters in the TLV320AIC3110. Reserved registers must not be written to.

The filter-coefficient registers are arranged in pairs, with two adjacent 8-bit registers containing the 16-bit coefficient for a single filter. The 16-bit integer contained in the MSB and LSB registers for a coefficient are interpreted as a 2s-complement integer, with possible values ranging from –32 768 to 32 767. When programming any coefficient value for a filter, the MSB register must always be written first, immediately followed by the LSB register. Even if only the MSB or LSB portion of the coefficient changes, both registers must be written in this sequence. is a list of the page-9 registers, excepting the previously described register 0.

Table 7-166 Page-9 DAC Buffer A Registers

REGISTER NUMBER RESET VALUE REGISTER NAME
 1 XXXX XXXX Reserved. Do not write to this register.
 2 (0x02) 0111 1111 8 MSBs of n0 coefficient for left DAC-programmable first-order IIR
 3 (0x03) 1111 1111 8 LSBs of n0 coefficient for left DAC-programmable first-order IIR
 4 (0x04) 0000 0000 8 MSBs of n1 coefficient for left DAC-programmable first-order IIR
 5 (0x05) 0000 0000 8 LSBs of n1 coefficient for left DAC-programmable first-order IIR
 6 (0x06) 0000 0000 8 MSBs of d1 coefficient for left DAC-programmable first-order IIR
 7 (0x07) 0000 0000 8 LSBs of d1 coefficient for left DAC-programmable first-order IIR
 8 (0x08) 0111 1111 8 MSBs of n0 coefficient for right DAC-programmable first-order IIR
 9 (0x09) 1111 1111 8 LSBs of n0 coefficient for right DAC-programmable first-order IIR
10 (0x0A) 0000 0000 8 MSBs of n1 coefficient for right DAC-programmable first-order IIR
11 (0x0B) 0000 0000 8 LSBs of n1 coefficient for right DAC-programmable first-order IIR
12 (0x0C) 0000 0000 8 MSBs of d1 coefficient for right DAC-programmable first-order IIR
13 (0x0D) 0000 0000 8 LSBs of d1 coefficient for right DAC-programmable first-order IIR
14 (0x0E) 0111 1111 8 MSBs of n0 coefficient for DRC first-order high-pass filter
15 (0x0F) 1111 0111 8 LSBs of n0 coefficient for DRC first-order high-pass filter
16 (0x10) 1000 0000 8 MSBs of n1 coefficient for DRC first-order high-pass filter
17 (0x11) 0000 1001 8 LSBs of n1 coefficient for DRC first-order high-pass filter
18 (0x12) 0111 1111 8 MSBs of d1 coefficient for DRC first-order high-pass filter
19 (0x13) 1110 1111 8 LSBs of d1 coefficient for DRC first-order high-pass filter
20 (0x14) 0000 0000 8 MSBs of n0 coefficient for DRC first-order low-pass filter
21 (0x15) 0001 0001 8 LSBs of n0 coefficient for DRC first-order low-pass filter
22 (0x16) 0000 0000 8 MSBs of n1 coefficient for DRC first-order low-pass filter
23 (0x17) 0001 0001 8 LSBs of n1 coefficient for DRC first-order low-pass filter
24 (0x18) 0111 1111 8 MSBs of d1 coefficient for DRC first-order low-pass filter
25 (0x19) 1101 1110 8 LSBs of d1 coefficient for DRC first-order low-pass filter
26-127 0000 0000 Reserved

7.4.2.7 Control Registers, Page 12: DAC Programmable Coefficients Buffer B (1:63)

Table 7-167 Page-12 DAC Buffer B Registers

REGISTER NUMBER RESET VALUE REGISTER NAME
 1 0000 0000 Reserved. Do not write to this register.
 2 (0x02) 0111 1111 8 MSBs of n0 coefficient for left DAC-programmable biquad A
 3 (0x03) 1111 1111 8 LSBs of n0 coefficient for left DAC-programmable biquad A
 4 (0x04) 0000 0000 8 MSBs of n1 coefficient for left DAC-programmable biquad A
 5 (0x05) 0000 0000 8 LSBs of n1 coefficient for left DAC-programmable biquad A
 6 (0x06) 0000 0000 8 MSBs of n2 coefficient for left DAC-programmable biquad A
 7 (0x07) 0000 0000 8 LSBs of n2 coefficient for left DAC-programmable biquad A
 8 (0x08) 0000 0000 8 MSBs of d1 coefficient for left DAC-programmable biquad A
 9 (0x09) 0000 0000 8 LSBs of d1 coefficient for left DAC-programmable biquad A
10 (0x0A) 0000 0000 8 MSBs of d2 coefficient for left DAC-programmable biquad A
11 (0x0B) 0000 0000 8 LSBs of d2 coefficient for left DAC-programmable biquad A
12 (0x0C) 0111 1111 8 MSBs of n0 coefficient for left DAC-programmable biquad B
13 (0x0D) 1111 1111 8 LSBs of n0 coefficient for left DAC-programmable biquad B
14 (0x0E) 0000 0000 8 MSBs of n1 coefficient for left DAC-programmable biquad B
15 (0x0F) 0000 0000 8 LSBs of n1 coefficient for left DAC-programmable biquad B
16 (0x10) 0000 0000 8 MSBs of n2 coefficient for left DAC-programmable biquad B
17 (0x11) 0000 0000 8 LSBs of n2 coefficient for left DAC-programmable biquad B
18 (0x12) 0000 0000 8 MSBs of d1 coefficient for left DAC-programmable biquad B
19 (0x13) 0000 0000 8 LSBs of d1 coefficient for left DAC-programmable biquad B
20 (0x14) 0000 0000 8 MSBs of d2 coefficient for left DAC-programmable biquad B
21 (0x15) 0000 0000 8 LSBs of d2 coefficient for left DAC-programmable biquad B
22 (0x16) 0111 1111 8 MSBs of n0 coefficient for left DAC-programmable biquad C
23 (0x17) 1111 1111 8 LSBs of n0 coefficient for left DAC-programmable biquad C
24 (0x18) 0000 0000 8 MSBs of n1 coefficient for left DAC-programmable biquad C
25 (0x19) 0000 0000 8 LSBs of n1 coefficient for left DAC-programmable biquad C
26 (0x1A) 0000 0000 8 MSBs of n2 coefficient for left DAC-programmable biquad C
27 (0x1B) 0000 0000 8 LSBs of n2 coefficient for left DAC-programmable biquad C
28 (0x1C) 0000 0000 8 MSBs of d1 coefficient for left DAC-programmable biquad C
29 (0x1D) 0000 0000 8 LSBs of d1 coefficient for left DAC-programmable biquad C
30 (0x1E) 0000 0000 8 MSBs of d2 coefficient for left DAC-programmable biquad C
31 (0x1F) 0000 0000 8 LSBs of d2 coefficient for left DAC-programmable biquad C
32 (0x20) 0111 1111 8 MSBs of n0 coefficient for left DAC-programmable biquad D
33 (0x21) 1111 1111 8 LSBs of n0 coefficient for left DAC-programmable biquad D
34 (0x22) 0000 0000 8 MSBs of n1 coefficient for left DAC-programmable biquad D
35 (0x23) 0000 0000 8 LSBs of n1 coefficient for left DAC-programmable biquad D
36 (0x24) 0000 0000 8 MSBs of n2 coefficient for left DAC-programmable biquad D
37 (0x25) 0000 0000 8 LSBs of n2 coefficient for left DAC-programmable biquad D
38 (0x26) 0000 0000 8 MSBs of d1 coefficient for left DAC-programmable biquad D
39 (0x27) 0000 0000 8 LSBs of d1 coefficient for left DAC-programmable biquad D
40 (0x28) 0000 0000 8 MSBs of d2 coefficient for left DAC-programmable biquad D
41 (0x29) 0000 0000 8 LSBs of d2 coefficient for left DAC-programmable biquad D
42 (0x2A) 0111 1111 8 MSBs of n0 coefficient for left DAC-programmable biquad E
43 (0x2B) 1111 1111 8 LSBs of n0 coefficient for left DAC-programmable biquad E
44 (0x2C) 0000 0000 8 MSBs of n1 coefficient for left DAC-programmable biquad E
45 (0x2D) 0000 0000 8 LSBs of n1 coefficient for left DAC-programmable biquad E
46 (0x2E) 0000 0000 8 MSBs of n2 coefficient for left DAC-programmable biquad E
47 (0x2F) 0000 0000 8 LSBs of n2 coefficient for left DAC-programmable biquad E
48 (0x30) 0000 0000 8 MSBs of d1 coefficient for left DAC-programmable biquad E
49 (0x31) 0000 0000 8 LSBs of d1 coefficient for left DAC-programmable biquad E
50 (0x32) 0000 0000 8 MSBs of d2 coefficient for left DAC-programmable biquad E
51 (0x33) 0000 0000 8 LSBs of d2 coefficient for left DAC-programmable biquad E
52 (0x34) 0111 1111 8 MSBs of n0 coefficient for left DAC-programmable biquad F
53 (0x35) 1111 1111 8 LSBs of n0 coefficient for left DAC-programmable biquad F
54 (0x36) 0000 0000 8 MSBs of n1 coefficient for left DAC-programmable biquad F
55 (0x37) 0000 0000 8 LSBs of n1 coefficient for left DAC-programmable biquad F
56 (0x38) 0000 0000 8 MSBs of n2 coefficient for left DAC-programmable biquad F
57 (0x39) 0000 0000 8 LSBs of n2 coefficient for left DAC-programmable biquad F
58 (0x3A) 0000 0000 8 MSBs of d1 coefficient for left DAC-programmable biquad F
59 (0x3B) 0000 0000 8 LSBs of d1 coefficient for left DAC-programmable biquad F
60 (0x3C) 0000 0000 8 MSBs of d2 coefficient for left DAC-programmable biquad F
61 (0x3D) 0000 0000 8 LSBs of d2 coefficient for left DAC-programmable biquad F
62 (0x3E) 0000 0000 Reserved
63 (0x3F) 0000 0000 Reserved
64 (0x40) 0000 0000 8 MSBs 3D PGA Gain for PRB_P23, PRB_P24 and PRB_P25
65 (0x41) 0000 0000 8 LSBs 3D PGA Gain for PRB_P23, PRB_P24 and PRB_P25
66 (0x42) 0111 1111 8 MSBs of n0 coefficient for right DAC-programmable biquad A
67 (0x43) 1111 1111 8 LSBs of n0 coefficient for right DAC-programmable biquad A
68 0000 0000 8 MSBs of n1 coefficient for right DAC-programmable biquad A
69 (0x45) 0000 0000 8 LSBs of n1 coefficient for right DAC-programmable biquad A
70 (0x46) 0000 0000 8 MSBs of n2 coefficient for right DAC-programmable biquad A
71 (0x47) 0000 0000 8 LSBs of n2 coefficient for right DAC-programmable biquad A
72 (0x48) 0000 0000 8 MSBs of d1 coefficient for right DAC-programmable biquad A
73 (0x49) 0000 0000 8 LSBs of d1 coefficient for right DAC-programmable biquad A
74 (0x4A) 0000 0000 8 MSBs of d2 coefficient for right DAC-programmable biquad A
75 (0x4B) 0000 0000 8 LSBs of d2 coefficient for right DAC-programmable biquad A
76 (0x4C) 0111 1111 8 MSBs of n0 coefficient for right DAC-programmable biquad B
77 (0x4D) 1111 1111 8 LSBs of n0 coefficient for right DAC-programmable biquad B
78 (0x4E) 0000 0000 8 MSBs of n1 coefficient for right DAC-programmable biquad B
79 (0x4F) 0000 0000 8 LSBs of n1 coefficient for right DAC-programmable biquad B
80 (0x50) 0000 0000 8 MSBs of n2 coefficient for right DAC-programmable biquad B
81 (0x51) 0000 0000 8 LSBs of n2 coefficient for right DAC-programmable biquad B
82 (0x52) 0000 0000 8 MSBs of d1 coefficient for right DAC-programmable biquad B
83 (0x53) 0000 0000 8 LSBs of d1 coefficient for right DAC-programmable biquad B
84 (0x54) 0000 0000 8 MSBs of d2 coefficient for right DAC-programmable biquad B
85 (0x55) 0000 0000 8 LSBs of d2 coefficient for right DAC-programmable biquad B
86 (0x56) 0111 1111 8 MSBs of n0 coefficient for right DAC-programmable biquad C
87 (0x57) 1111 1111 8 LSBs of n0 coefficient for right DAC-programmable biquad C
88 (0x58) 0000 0000 8 MSBs of n1 coefficient for right DAC-programmable biquad C
89 (0x59) 0000 0000 8 LSBs of n1 coefficient for right DAC-programmable biquad C
90 (0x5A) 0000 0000 8 MSBs of n2 coefficient for right DAC-programmable biquad C
91 (0x5B) 0000 0000 8 LSBs of n2 coefficient for right DAC-programmable biquad C
92 (0x5C) 0000 0000 8 MSBs of d1 coefficient for right DAC-programmable biquad C
93 (0x5D) 0000 0000 8 LSBs of d1 coefficient for right DAC-programmable biquad C
94 (0x5E) 0000 0000 8 MSBs of d2 coefficient for right DAC-programmable biquad C
95 (0x5F) 0000 0000 8 LSBs of d2 coefficient for right DAC-programmable biquad C
96 (0x60) 0111 1111 8 MSBs of n0 coefficient for right DAC-programmable biquad D
97 (0x61) 1111 1111 8 LSBs of n0 coefficient for right DAC-programmable biquad D
98 (0x62) 0000 0000 8 MSBs of n1 coefficient for right DAC-programmable biquad D
99 (0x63) 0000 0000 8 LSBs of n1 coefficient for right DAC-programmable biquad D
100 (0x64) 0000 0000 8 MSBs of n2 coefficient for right DAC-programmable biquad D
101 (0x65) 0000 0000 8 LSBs of n2 coefficient for right DAC-programmable biquad D
102 (0x66) 0000 0000 8 MSBs of d1 coefficient for right DAC-programmable biquad D
103 (0x67) 0000 0000 8 LSBs of d1 coefficient for right DAC-programmable biquad D
104 (0x68) 0000 0000 8 MSBs of d2 coefficient for right DAC-programmable biquad D
105 (0x69) 0000 0000 8 LSBs of d2 coefficient for right DAC-programmable biquad D
106 (0x6A) 0111 1111 8 MSBs of n0 coefficient for right DAC-programmable biquad E
107 (0x6B) 1111 1111 8 LSBs of n0 coefficient for right DAC-programmable biquad E
108 (0x6C) 0000 0000 8 MSBs of n1 coefficient for right DAC-programmable biquad E
109 (0x6D) 0000 0000 8 LSBs of n1 coefficient for right DAC-programmable biquad E
110 (0x6E) 0000 0000 8 MSBs of n2 coefficient for right DAC-programmable biquad E
111 (0x6F) 0000 0000 8 LSBs of n2 coefficient for right DAC-programmable biquad E
112 (0x70) 0000 0000 8 MSBs of d1 coefficient for right DAC-programmable biquad E
113 (0x71) 0000 0000 8 LSBs of d1 coefficient for right DAC-programmable biquad E
114 (0x72) 0000 0000 8 MSBs of d2 coefficient for right DAC-programmable biquad E
115 (0x73) 0000 0000 8 LSBs of d2 coefficient for right DAC-programmable biquad E
116 (0x74) 0111 1111 8 MSBs of n0 coefficient for right DAC-programmable biquad F
117 (0x75) 1111 1111 8 LSBs of n0 coefficient for right DAC-programmable biquad F
118 (0x76) 0000 0000 8 MSBs of n1 coefficient for right DAC-programmable biquad F
119 (0x77) 0000 0000 8 LSBs of n1 coefficient for right DAC-programmable biquad F
120 (0x78) 0000 0000 8 MSBs of n2 coefficient for right DAC-programmable biquad F
121 (0x79) 0000 0000 8 LSBs of n2 coefficient for right DAC-programmable biquad F
122 (0x7A) 0000 0000 8 MSBs of d1 coefficient for right DAC-programmable biquad F
123 (0x7B) 0000 0000 8 LSBs of d1 coefficient for right DAC-programmable biquad F
124 (0x7C) 0000 0000 8 MSBs of d2 coefficient for right DAC-programmable biquad F
125 (0x7D) 0000 0000 8 LSBs of d2 coefficient for right DAC-programmable biquad F
126 0000 0000 Reserved
127 0000 0000 Reserved

7.4.2.8 Control Registers, Page 13: DAC Programmable Coefficients RAM Buffer B (65:127)

Table 7-168 Page-13 DAC Buffer B Registers

REGISTER NUMBER RESET VALUE REGISTER NAME
 1 0000 0000 Reserved. Do not write to this register.
 2 (0x02) 0111 1111 8 MSBs of n0 coefficient for left DAC-programmable first-order IIR
 3 (0x03) 1111 1111 8 LSBs of n0 coefficient for left DAC-programmable first-order IIR
 4 (0x04) 0000 0000 8 MSBs of n1 coefficient for left DAC-programmable first-order IIR
 5 (0x05) 0000 0000 8 LSBs of n1 coefficient for left DAC-programmable first-order IIR
 6 (0x06) 0000 0000 8 MSBs of d1 coefficient for left DAC-programmable first-order IIR
 7 (0x07) 0000 0000 8 LSBs of d1 coefficient for left DAC-programmable first-order IIR
 8 (0x08) 0111 1111 8 MSBs of n0 coefficient for right DAC-programmable first-order IIR
 9 (0x09) 1111 1111 8 LSBs of n0 coefficient for right DAC-programmable first-order IIR
10 (0x0A) 0000 0000 8 MSBs of n1 coefficient for right DAC-programmable first-order IIR
11 (0x0B) 0000 0000 8 LSBs of n1 coefficient for right DAC-programmable first-order IIR
12 (0x0C) 0000 0000 8 MSBs of d1 coefficient for right DAC-programmable first-order IIR
13 (0x0D) 0000 0000 8 LSBs of d1 coefficient for right DAC-programmable first-order IIR
14 (0x0E) 0111 1111 8 MSBs of n0 coefficient for DRC first-order high-pass filter
15 (0x0F) 1111 0111 8 LSBs of n0 coefficient for DRC first-order high-pass filter
16 (0x10) 1000 0000 8 MSBs of n1 coefficient for DRC first-order high-pass filter
17 (0x11) 0000 1001 8 LSBs of n1 coefficient for DRC first-order high-pass filter
18 (0x12) 0111 1111 8 MSBs of d1 coefficient for DRC first-order high-pass filter
19 (0x13) 1110 1111 8 LSBs of d1 coefficient for DRC first-order high-pass filter
20 (0x14) 0000 0000 8 MSBs of n0 coefficient for DRC first-order low-pass filter
21 (0x15) 0001 0001 8 LSBs of n0 coefficient for DRC first-order low-pass filter
22 (0x16) 0000 0000 8 MSBs of n1 coefficient for DRC first-order low-pass filter
23 (0x17) 0001 0001 8 LSBs of n1 coefficient for DRC first-order low-pass filter
24 (0x18) 0111 1111 8 MSBs of d1 coefficient for DRC first-order low-pass filter
25 (0x19) 1101 1110 8 LSBs of d1 coefficient for DRC first-order low-pass filter
26–127 0000 0000 Reserved