SLAS354C September   2001  – September 2015 TLV2553

PRODUCTION DATA.  

  1. Features
  2. Applications
  3. Description
  4. Revision History
  5. Pin Configuration and Functions
  6. Specifications
    1. 6.1  Absolute Maximum Ratings
    2. 6.2  ESD Ratings
    3. 6.3  Recommended Operating Conditions
    4. 6.4  Thermal Information
    5. 6.5  Electrical Characteristics
    6. 6.6  External Reference Specifications
    7. 6.7  Operating Characteristics
    8. 6.8  Timing Requirements: VREF+ = 5 V
    9. 6.9  Timing Requirements: VREF+ = 2.5 V
    10. 6.10 Typical Characteristics
  7. Parameter Measurement Information
  8. Detailed Description
    1. 8.1 Overview
    2. 8.2 Functional Block Diagram
    3. 8.3 Feature Description
      1. 8.3.1 Analog MUX
      2. 8.3.2 Reference
    4. 8.4 Device Functional Modes
      1. 8.4.1  Converter Operation
      2. 8.4.2  Data I/O Cycle
      3. 8.4.3  Sampling Cycle
      4. 8.4.4  Conversion Cycle
      5. 8.4.5  Power Up and Initialization
        1. 8.4.5.1 Example
      6. 8.4.6  Data Input
      7. 8.4.7  Data Input—Address/Command Bits
      8. 8.4.8  Data Output Length
      9. 8.4.9  LSB Out First
      10. 8.4.10 Bipolar Output Format
      11. 8.4.11 EOC Output
      12. 8.4.12 Chip-Select Input (CS)
      13. 8.4.13 Power-Down Features
  9. Application and Implementation
    1. 9.1 Application Information
    2. 9.2 Typical Application
      1. 9.2.1 Design Requirements
      2. 9.2.2 Detailed Design Procedure
      3. 9.2.3 Application Curve
  10. 10Power Supply Recommendations
  11. 11Layout
    1. 11.1 Layout Guidelines
    2. 11.2 Layout Example
  12. 12Device and Documentation Support
    1. 12.1 Community Resources
    2. 12.2 Trademarks
    3. 12.3 Electrostatic Discharge Caution
    4. 12.4 Glossary
  13. 13Mechanical, Packaging, and Orderable Information

封装选项

机械数据 (封装 | 引脚)
散热焊盘机械数据 (封装 | 引脚)
订购信息

1 Features

  • 12-Bit-Resolution A/D Converter
  • Up to 200 KSPS (150 KSPS for 3 V) Throughput Over Operating Temperature Range With 12-Bit Output Mode
  • 11 Analog Input Channels
  • 3 Built-In Self-Test Modes
  • Inherent Sample and Hold Function
  • Linearity Error, ±1 LSB Maximum
  • On-Chip Conversion Clock
  • Unipolar or Bipolar Output Operation
  • Programmable MSB or LSB First
  • Programmable Power Down
  • Programmable Output Data Length
  • SPI Compatible Serial Interface With I/O Clock Frequencies up to 15 MHz (CPOL=0, CPHA=0)

2 Applications

  • Process Control
  • Portable Data Logging
  • Battery-Powered Instruments

3 Description

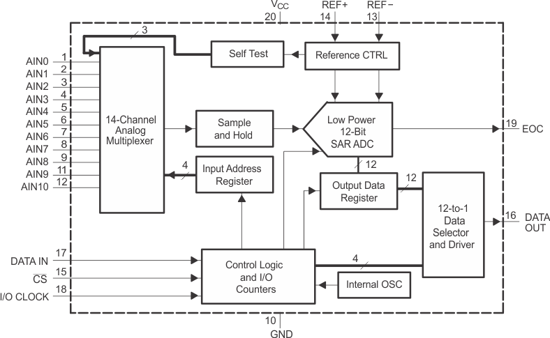
The TLV2553 is a 12-bit, switched-capacitor, successive-approximation, analog-to-digital converter. The ADC has three control inputs [chip select (CS), the input-output clock, and the address/control input (DATAIN)], designed for communication with the serial port of a host processor or peripheral through a serial 3-state output.

In addition to the high-speed converter and versatile control capability, the device has an on-chip 14-channel multiplexer that can select any one of 11 inputs or any one of three internal self-test voltages using configuration register 1. The sample-and-hold function is automatic. At the end of conversion, when programmed as EOC, the pin 19 output goes high to indicate that conversion is complete. The converter incorporated in the device features differential, high- impedance reference inputs that facilitate ratiometric conversion, scaling, and isolation of analog circuitry from logic and supply noise. A switched-capacitor design allows low-error conversion over the full operating temperature range.

The TLV2553I is characterized for operation from
TA = –40°C to 85°C.

Device Information(1)

PART NUMBER PACKAGE BODY SIZE (NOM)
TLV2553IPW TSSOP (20) 6.50 mm × 4.40 mm
TLV2553IDW SOIC (20) 12.80 mm × 7.50 mm
  1. For all available packages, see the orderable addendum at the end of the data sheet.

Block Diagram

TLV2553 fbd_las579.gif