ZHCSD28C November   2012  – December 2014 RF430FRL152H , RF430FRL153H , RF430FRL154H

PRODUCTION DATA.  

  1. 1器件概述
    1. 1.1 特性
    2. 1.2 应用
    3. 1.3 说明
    4. 1.4 功能方框图
  2. 2修订历史记录
  3. 3Device Comparison
  4. 4Terminal Configuration and Functions
    1. 4.1 Pin Diagram
    2. 4.2 Signal Descriptions
    3. 4.3 Pin Multiplexing
    4. 4.4 Connections for Unused Pins
  5. 5Specifications
    1. 5.1  Absolute Maximum Ratings
    2. 5.2  ESD Ratings
    3. 5.3  Recommended Operating Conditions
    4. 5.4  Recommended Operating Conditions, Resonant Circuit
    5. 5.5  Active Mode Supply Current Into VDDB Excluding External Current
    6. 5.6  Low-Power Mode Supply Current (Into VDDB) Excluding External Current
    7. 5.7  Digital I/Os (P1, RST/NMI)
    8. 5.8  High-Frequency Oscillator (4 MHz), HFOSC
    9. 5.9  Low-Frequency Oscillator (256 kHz), LFOSC
    10. 5.10 Wake-Up From Low-Power Modes
    11. 5.11 Timer_A
    12. 5.12 eUSCI (SPI Master Mode) Recommended Operating Conditions
    13. 5.13 eUSCI (SPI Master Mode)
    14. 5.14 eUSCI (SPI Slave Mode)
    15. 5.15 eUSCI (I2C Mode)
    16. 5.16 FRAM
    17. 5.17 JTAG
    18. 5.18 RFPMM, Power Supply Switch
    19. 5.19 RFPMM, Bandgap Reference
    20. 5.20 RFPMM, Voltage Doubler
    21. 5.21 RFPMM, Voltage Supervision
    22. 5.22 SD14, Performance
    23. 5.23 SVSS Generator
    24. 5.24 Thermistor Bias Generator
    25. 5.25 Temperature Sensor
    26. 5.26 RF13M, Power Supply and Recommended Operating Conditions
    27. 5.27 RF13M, ISO/IEC 15693 ASK Demodulator
    28. 5.28 RF13M, ISO/IEC 15693 Compliant Load Modulator
  6. 6Detailed Description
    1. 6.1 CPU
    2. 6.2 Instruction Set
    3. 6.3 Operating Modes
    4. 6.4 Interrupt Vector Addresses
    5. 6.5 Memory
      1. 6.5.1 FRAM
      2. 6.5.2 SRAM
      3. 6.5.3 Application ROM
    6. 6.6 Peripherals
      1. 6.6.1  Digital I/O, (P1.x)
      2. 6.6.2  Versatile I/O Port P1
      3. 6.6.3  Oscillator and System Clock
      4. 6.6.4  Compact System Module (C-SYS_A)
      5. 6.6.5  Watchdog Timer (WDT_A)
      6. 6.6.6  Reset, NMI, SVMOUT System
      7. 6.6.7  Timer_A (Timer0_A3)
      8. 6.6.8  Enhanced Universal Serial Communication Interface (eUSCI_B0)
      9. 6.6.9  ISO/IEC 15693 Analog Front End (RF13M)
      10. 6.6.10 ISO/IEC 15693 Decoder/Encoder (RF13M)
      11. 6.6.11 CRC16 Module (CRC16)
      12. 6.6.12 14-Bit Sigma-Delta ADC (SD14)
      13. 6.6.13 Programmable Gain Amplifier (SD14)
      14. 6.6.14 Peripheral Register Map
    7. 6.7 Port Schematics
      1. 6.7.1 Port P1.0 Input/Output
      2. 6.7.2 Port P1.1 Input/Output
      3. 6.7.3 Port P1.2 Input/Output
      4. 6.7.4 Port P1.3 Input/Output
      5. 6.7.5 Port P1.4 Input/Output
      6. 6.7.6 Port P1.5 Input/Output
      7. 6.7.7 Port P1.6 Input/Output
      8. 6.7.8 Port P1.7 Input/Output
    8. 6.8 Device Descriptors (TLV)
  7. 7Applications, Implementation, and Layout
  8. 8器件和文档支持
    1. 8.1 器件支持
      1. 8.1.1 开发支持
      2. 8.1.2 器件和开发工具命名规则
    2. 8.2 文档支持
    3. 8.3 相关链接
    4. 8.4 Community Resources
    5. 8.5 商标
    6. 8.6 静电放电警告
    7. 8.7 术语表
  9. 9机械封装和可订购信息
    1. 9.1 封装信息

封装选项

机械数据 (封装 | 引脚)
散热焊盘机械数据 (封装 | 引脚)
订购信息

1 器件概述

1.1 特性

  • 兼容 ISO/IEC 15693 和 ISO/IEC 18000-3(模式 1)标准的射频 (RF) 接口
  • 电源系统采用电池或 13.56MHz 磁场供电
  • 14 位 Σ-Δ 模数转换器 (ADC)
  • 内部温度传感器
  • 电阻传感器偏置接口
  • CRC16 CCITT 发生器
  • MSP430™ 混合信号微控制器
    • 2KB FRAM
    • 4KB SRAM
    • 8KB ROM
    • 电源电压范围:1.45V 至 1.65V
    • 低功耗
      • 激活模式 (AM):140µA/MHz (1.5V)
      • 待机模式 (LPM3):16µA
    • 16 位精简指令集计算机 (RISC) 架构
    • 最高 2MHz CPU 系统时钟
    • 紧凑型时钟系统
      • 4MHz 高频时钟
      • 256kHz 内部低频时钟源
      • 外部时钟输入
    • 具有 3 个捕捉/比较寄存器的 16 位 Timer_A
    • LV 端口逻辑
      • 400µA 时,VOL 低于 0.15V
      • 400µA 时,VOH 高于 (VDDB – 0.15V)
      • 所有端口均可提供 Timer_A PWM 信号
    • eUSCI_B 模块支持 3 线和 4 线 SPI 和 I2C
    • 32 位看门狗定时器 (WDT_A)
    • ROM 开发模式(将 ROM 地址映射到 SRAM 以进行固件开发)
    • 全 4 线制 JTAG 调试接口
  • 如需完整的模块描述,请参见《RF430FRL15xH 系列技术参考手册》(文献编号:SLAU506
  • 关于应用操作和编程,请参见《RF430FRL15xH 固件用户指南》(文献编号:SLAU603

1.2 应用

  • 工业无线传感器
  • 医用无线传感器

1.3 说明

RF430FRL15xH 器件是一款 13.56MHz 应答器芯片,该芯片中包含可编程的 16 位 MSP430™ 低功耗微控制器。 该器件采用嵌入式通用 FRAM 非易失性存储器来存储程序代码或用户数据,例如校准和测量数据。 RF430FRL15xH 支持通过兼容 ISO/IEC 15693 和 ISO/IEC 18000-3(模式 1)标准的 RFID 接口以及 SPI 或 I2C 接口进行通信、参数设置和配置。 该器件具有内部温度传感器功能和板载 14 位 Σ-Δ 模数转换器 (ADC),支持传感器测量,并且可通过 SPI 或 I2C 来连接数字传感器。

RF430FRL15xH 器件经过优化可在完全无源(无电池)或单节电池供电(半有源)模式下运行,从而延长便携式和无线传感应用中电池的使用寿命。 FRAM 是非易失性存储器,其完美结合了 SRAM 的速度、灵活性和耐用性与闪存的稳定性和可靠性,并且总功耗更低。

器件信息(1)

器件型号 封装 封装尺寸(2)
RF430FRL152H VQFN (24) 4mm x 4mm
RF430FRL153H VQFN (24) 4mm x 4mm
RF430FRL154H VQFN (24) 4mm x 4mm
(1) 要获得所有可用器件的最新部件、封装和订购信息,请参见Section 9中的封装选项附录或浏览 TI 网站 www.ti.com
(2) 这里显示的尺寸为近似值。 要获得包含误差值的封装尺寸,请参见Section 9中的机械数据

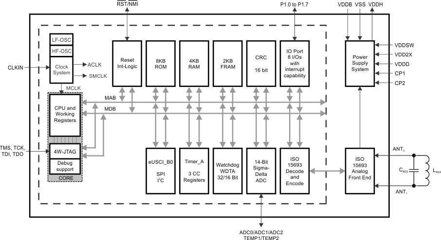
1.4 功能方框图

Figure 1-1 显示了 RF430FRL15xH 器件的框图。

fbd_rf430frl152h_slas833.gifFigure 1-1 功能框图