SNVS030O April   2000  – June 2016 LM2673

PRODUCTION DATA.  

  1. Features
  2. Applications
  3. Description
  4. Revision History
  5. Pin Configuration and Functions
  6. Specifications
    1. 6.1  Absolute Maximum Ratings
    2. 6.2  ESD Ratings
    3. 6.3  Recommended Operating Conditions
    4. 6.4  Thermal Information
    5. 6.5  Electrical Characteristics: LM2673 - 3.3 V
    6. 6.6  Electrical Characteristics: LM2673 - 5 V
    7. 6.7  Electrical Characteristics: LM2673 - 12 V
    8. 6.8  Electrical Characteristics: LM2673 - Adjustable
    9. 6.9  Electrical Characteristics - All Output Voltage Versions
    10. 6.10 Typical Characteristics
  7. Detailed Description
    1. 7.1 Overview
    2. 7.2 Functional Block Diagram
    3. 7.3 Feature Description
      1. 7.3.1 Switch Output
      2. 7.3.2 Input
      3. 7.3.3 C Boost
      4. 7.3.4 Ground
      5. 7.3.5 Current Adjust
      6. 7.3.6 Feedback
    4. 7.4 Device Functional Modes
      1. 7.4.1 Soft-Start
  8. Application and Implementation
    1. 8.1 Application Information
      1. 8.1.1 Design Considerations
      2. 8.1.2 Inductor
      3. 8.1.3 Output Capacitor
      4. 8.1.4 Input Capacitor
      5. 8.1.5 Catch Diode
      6. 8.1.6 Boost Capacitor
      7. 8.1.7 RADJ, Adjustable Current Limit
      8. 8.1.8 CSS Soft-Start Capacitor
      9. 8.1.9 Additional Application Information
    2. 8.2 Typical Applications
      1. 8.2.1 Typical Application for All Output Voltage Versions
        1. 8.2.1.1 Design Requirements
        2. 8.2.1.2 Detailed Design Procedure
          1. 8.2.1.2.1 Capacitor Selection Guides
          2. 8.2.1.2.2 Inductor Selection Guide
        3. 8.2.1.3 Application Curves
      2. 8.2.2 Fixed Output Voltage Application
        1. 8.2.2.1 Design Requirements
        2. 8.2.2.2 Detailed Design Procedure
          1. 8.2.2.2.1 Capacitor Selection
      3. 8.2.3 Adjustable Output Design Example
        1. 8.2.3.1 Design Requirements
        2. 8.2.3.2 Detailed Design Procedure
          1. 8.2.3.2.1 Capacitor Selection
  9. Power Supply Recommendations
  10. 10Layout
    1. 10.1 Layout Guidelines
    2. 10.2 Layout Example
  11. 11Device and Documentation Support
    1. 11.1 Related Documentation
    2. 11.2 Receiving Notification of Documentation Updates
    3. 11.3 Community Resources
    4. 11.4 Trademarks
    5. 11.5 Electrostatic Discharge Caution
    6. 11.6 Glossary
  12. 12Mechanical, Packaging, and Orderable Information
    1. 12.1 DAP (VSON Package)

封装选项

机械数据 (封装 | 引脚)
散热焊盘机械数据 (封装 | 引脚)
订购信息

10 Layout

10.1 Layout Guidelines

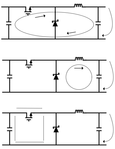
Board layout is critical for the proper operation of switching power supplies. First, the ground plane area must be sufficient for thermal dissipation purposes. Second, appropriate guidelines must be followed to reduce the effects of switching noise. Switch mode converters are very fast switching devices. In such cases, the rapid increase of input current combined with the parasitic trace inductance generates unwanted L di/dt noise spikes. The magnitude of this noise tends to increase as the output current increases. This noise may turn into electromagnetic interference (EMI) and can also cause problems in device performance. Therefore, take care in layout to minimize the effect of this switching noise. The most important layout rule is to keep the AC current loops as small as possible. Figure 20 shows the current flow in a buck converter. The top schematic shows a dotted line which represents the current flow during the top switch ON-state. The middle schematic shows the current flow during the top switch OFF-state. The bottom schematic shows the currents referred to as AC currents. These ac currents are the most critical because they are changing in a very short time period. The dotted lines of the bottom schematic are the traces to keep as short and wide as possible. This also yields a small loop area reducing the loop inductance. To avoid functional problems due to layout, review the PCB layout example. Best results are achieved if the placement of the LM2679 device, the bypass capacitor, the Schottky diode, RFBB, RFBT, and the inductor are placed as shown in the example. Note that, in the layout shown, R1 = RFBB and R2 = RFBT. TI also recommends using 2-oz. copper boards or heavier to help thermal dissipation and to reduce the parasitic inductances of board traces. See application note AN-1229 SIMPLE SWITCHER® PCB Layout Guidelines for more information.

LM2673 layout_guide_SNVS026.gif Figure 20. Typical Current Flow in a Buck Converter

10.2 Layout Example

LM2673 layout_example_SNVS026.gif Figure 21. Top Layer Foil Pattern of Printed-Circuit Board