ZHCSEN9A NOVEMBER   2014  – January 2016 DS90UB940-Q1

PRODUCTION DATA.  

  1. 特性
  2. 应用
  3. 说明
  4. 应用 图
  5. 修订历史记录
  6. Pin Configurations and Functions
  7. Specifications
    1. 7.1  Absolute Maximum Ratings
    2. 7.2  ESD Ratings—JEDEC
    3. 7.3  ESD Ratings—IEC and ISO
    4. 7.4  Recommended Operating Conditions
    5. 7.5  Thermal Information
    6. 7.6  DC Electrical Characteristics
    7. 7.7  AC Electrical Characteristics
    8. 7.8  Timing Requirements for the Serial Control Bus
    9. 7.9  Switching Characteristics
    10. 7.10 Timing Diagrams and Test Circuits
    11. 7.11 Power Sequence
    12. 7.12 Typical Characteristics
  8. Detailed Description
    1. 8.1 Overview
    2. 8.2 Functional Block Diagram
    3. 8.3 Feature Description
      1. 8.3.1  High Speed Forward Channel Data Transfer
      2. 8.3.2  Low Speed Back Channel Data Transfer
      3. 8.3.3  FPD-Link III Port Register Access
      4. 8.3.4  Clock and Output Status
      5. 8.3.5  LVCMOS VDDIO Option
      6. 8.3.6  Power Down (PDB)
      7. 8.3.7  Interrupt Pin — Functional Description and Usage (INTB_IN)
      8. 8.3.8  General-purpose I/O
        1. 8.3.8.1 GPIO[3:0] and D_GPIO[3:0] Configuration
        2. 8.3.8.2 Back Channel Configuration
        3. 8.3.8.3 GPIO_REG[8:5] Configuration
      9. 8.3.9  SPI Communication
        1. 8.3.9.1 SPI Mode Configuration
        2. 8.3.9.2 Forward Channel SPI Operation
        3. 8.3.9.3 Reverse Channel SPI Operation
      10. 8.3.10 Backward Compatibility
      11. 8.3.11 Input Equalization
      12. 8.3.12 I2S Audio Interface
        1. 8.3.12.1 I2S Transport Modes
        2. 8.3.12.2 I2S Jitter Cleaning
        3. 8.3.12.3 MCLK
      13. 8.3.13 Built-In Self Test (BIST)
        1. 8.3.13.1 BIST Configuration And Status
          1. 8.3.13.1.1 Sample BIST Sequence
        2. 8.3.13.2 Forward Channel and Back Channel Error Checking
      14. 8.3.14 Internal Pattern Generation
    4. 8.4 Device Functional Modes
      1. 8.4.1 Configuration Select
        1. 8.4.1.1 1-lane FPD-Link III Input, 4 MIPI lanes Output
        2. 8.4.1.2 1-lane FPD-Link III Input, 2 MIPI lanes Output
        3. 8.4.1.3 2-lane FPD-Link III Input, 4 MIPI lanes Output
        4. 8.4.1.4 2-lane FPD-Link III Input, 2 MIPI lanes Output
        5. 8.4.1.5 1- or 2-lane FPD-Link III Input, 2 or 4 MIPI lanes Output in Replicate
      2. 8.4.2 MODE_SEL[1:0]
      3. 8.4.3 CSI-2 Interface
      4. 8.4.4 Input Display Timing
      5. 8.4.5 MIPI CSI-2 Output Data Formats
      6. 8.4.6 Non-Continuous / Continuous Clock
      7. 8.4.7 Ultra Low Power State (ULPS)
      8. 8.4.8 CSI-2 Data Identifier
    5. 8.5 Programming
      1. 8.5.1 Serial Control Bus
      2. 8.5.2 Multi-Master Arbitration Support
      3. 8.5.3 I2C Restrictions on Multi-Master Operation
      4. 8.5.4 Multi-Master Access to Device Registers for Newer FPD-Link III Devices
      5. 8.5.5 Multi-Master Access to Device Registers for Older FPD-Link III Devices
      6. 8.5.6 Restrictions on Control Channel Direction for Multi-Master Operation
    6. 8.6 Register Maps
  9. Application and Implementation
    1. 9.1 Application Information
    2. 9.2 Typical Applications
      1. 9.2.1 Design Requirements
      2. 9.2.2 Detailed Design Procedure
        1. 9.2.2.1 PCB Layout and Power System Considerations
        2. 9.2.2.2 CML Interconnect Guidelines
      3. 9.2.3 Application Performance Plots
  10. 10Power Supply Recommendations
    1. 10.1 Power Up Requirements and PDB Pin
  11. 11Layout
    1. 11.1 Layout Guidelines
    2. 11.2 Layout Example
  12. 12器件和文档支持
    1. 12.1 文档支持
      1. 12.1.1 相关文档 
    2. 12.2 社区资源
    3. 12.3 商标
    4. 12.4 静电放电警告
    5. 12.5 Glossary
  13. 13机械、封装和可订购信息

封装选项

机械数据 (封装 | 引脚)
散热焊盘机械数据 (封装 | 引脚)
订购信息

Detailed Description

Overview

The DS90UB940-Q1 receives a 35-bit symbol over single or dual serial FPD-Link III pairs operating at up to 3.36 Gbp line rate in 1-lane FPD-Link III mode and 2.975 Gbps per lane in 2-lane FPD-Link III mode. The DS90UB940-Q1 converts this stream into a CSI-2 MIPI Interface (4 data channels + 1 clock, or 8 data channels + 2 clocks in replicate mode). The FPD-Link III serial stream contains an embedded clock, video control signals, audio, GPIOs, I2C, and the DC-balanced video data and audio data which enhance signal quality to support AC coupling.

The DS90UB940-Q1 is intended for use with the DS90UB949-Q1 or DS90UB947-Q1 Serializers, but is also backward compatible to the DS90UB925Q-Q1, DS90UB925AQ-Q1, and DS90UB927Q-Q1 FPD-Link III Serializers.

The DS90UB940-Q1 deserializer attains lock to a data stream without the use of a separate reference clock source, which greatly simplifies system complexity and overall cost. The deserializer also synchronizes to the serializer regardless of the data pattern, delivering true automatic “plug and lock” performance. It can lock to the incoming serial stream without the need of special training patterns or sync characters. The deserializer recovers the clock and data by extracting the embedded clock information, validating then deserializing the incoming data stream.

The DS90UB940-Q1 deserializer incorporates an I2C compatible interface. The I2C compatible interface allows programming of serializer or deserializer devices from a local host controller. In addition, the devices incorporate a bidirectional control channel (BCC) that allows communication between serializer/deserializer as well as remote I2C slave devices.

The bidirectional control channel (BCC) is implemented via embedded signaling in the high-speed forward channel (serializer to deserializer) combined with lower speed signaling in the reverse channel (deserializer to serializer). Through this interface, the BCC provides a mechanism to bridge I2C transactions across the serial link from one I2C bus to another. The implementation allows for arbitration with other I2C compatible masters at either side of the serial link.

Functional Block Diagram

DS90UB940-Q1 UB_bd_940_snls473.gif

Feature Description

High Speed Forward Channel Data Transfer

The High Speed Forward Channel is composed of 35 bits of data containing RGB data, sync signals, I2C, GPIOs, and I2S audio transmitted from serializer to deserializer. Figure 19 illustrates the serial stream per clock cycle. This data payload is optimized for signal transmission over an AC coupled link. Data is randomized, balanced and scrambled.

DS90UB940-Q1 30196337.gif Figure 19. FPD-Link III Serial Stream

The DS90UB940-Q1 supports clocks in the range of 25 MHz to 96 MHz over a 1-lane, or 50MHz to 170MHz over 2-lanes. The FPD-Link III serial stream rate is 3.36 Gbps maximum (875 Mbps minimum) or 2.975 Gbps maximum per lane (875 Mbps minimum) respectively.

Low Speed Back Channel Data Transfer

The Low-Speed Backward Channel provides bidirectional communication between the display and host processor. The information is carried from the deserializer to the serializer as serial frames. The back channel control data is transferred over both serial links along with the high-speed forward data, DC balance coding and embedded clock information. This architecture provides a backward path across the serial link together with a high speed forward channel. The back channel contains the I2C, CRC and 4 bits of standard GPIO information with 5 or 20 Mbps line rate (configured by MODE_SEL1).

FPD-Link III Port Register Access

Since the DS90UB940-Q1 contains two ports, some registers need to be duplicated to allow control and monitoring of the two ports. To facilitate this, PORT1_SEL and PORT0_SEL bits (0x34[1:0]) register controls access to the two sets of registers. Registers that are shared between ports (not duplicated) will be available independent of the settings in the PORT_SEL register.

Setting the PORT1_SEL and PORT0_SEL bit will allow a read of the register for the selected port. If both bits are set, port1 registers will be returned. Writes will occur to ports for which the select bit is set, allowing simultaneous writes to both ports if both select bits are set.

Clock and Output Status

When PDB is driven HIGH, the CDR PLL begins locking to the serial input and LOCK is tri-state or LOW (depending on the value of the OUTPUT ENABLE setting). After the deserializer completes its lock sequence to the input serial data, the LOCK output is driven HIGH, indicating valid data and clock recovered from the serial input is available on the LVCMOS and LVDS outputs. The State of the outputs is based on the OUTPUT ENABLE and OUTPUT SLEEP STATE SELECT register settings. See register 0x02 in Table 12.

Table 2. Output State Table

Inputs Outputs
Serial Input PDB OUTPUT ENABLE
Reg 0x02 [7]
OUTPUT SLEEP STATE SELECT
Reg 0x02 [4]
LOCK PASS Data
GPIO / D_GPIO
I2S
CSI-2 Output
X L X X Z Z Z Z
X H L L L or H L L HS0
X H L H L or H Z Z Z
Static H H L L L L HS0
Static H H H L Previous Status L HS0
Active H H L L L L HS0
Active H H H H Valid Valid Valid

LVCMOS VDDIO Option

The 1.8V or 3.3V Inputs and Outputs are powered from a separate VDDIO supply to offer compatibility with external system interface signals.

NOTE

When configuring the VDDIO power supplies, all the single-ended data and control input pins for device need to scale together with the same operating VDDIO levels.

Power Down (PDB)

The deserializer has a PDB input pin to ENABLE or POWER DOWN the device. This pin can be controlled by the host or through the VDDIO, where VDDIO = 3. 0 V to 3.6 V or VDD33. To save power, disable the link when the display is not needed (PDB = LOW). When the pin is driven by the host, make sure to release it after VDD33 and VDDIO have reached final levels; no external components are required. In the case of driven by the VDDIO = 3.0 V to 3.6 V or VDD33 directly, a 10kΩ resistor to the VDDIO = 3.0 V to 3.6 V or VDD33, and a >10 µF capacitor to the GND are required (see Figure 37 Typical Connection Diagram).

Interrupt Pin — Functional Description and Usage (INTB_IN)

The INTB_IN pin is an active low interrupt input pin. This interrupt signal, when configured, will propagate to the paired serializer. Consult the appropriate Serializer datasheet for details of how to configure this interrupt functionality.

  1. On the Serializer, set register 0xC6[5] = 1 and 0xC6[0] = 1
  2. Deserializer INTB_IN (pin 4) is set LOW by some downstream device.
  3. Serializer pulls INTB pin LOW. The signal is active LOW, so a LOW indicates an interrupt condition.
  4. External controller detects INTB = LOW; to determine interrupt source, read ISR register.
  5. A read to ISR will clear the interrupt at the Serializer, releasing INTB.
  6. The external controller typically must then access the remote device to determine downstream interrupt source and clear the interrupt driving the Deserializer INTB_IN. This would be when the downstream device releases the INTB_IN (pin 4) on the Deserializer. The system is now ready to return to step (2) at next falling edge of INTB_IN.

General-purpose I/O

GPIO[3:0] and D_GPIO[3:0] Configuration

In normal operation, GPIO[3:0] may be used as general purpose IOs in either forward channel (outputs) or back channel (inputs) mode. GPIO and D_GPIO modes may be configured from the registers (Table 11). The same registers configure either GPIO or D_GPIO, depending on the status of PORT1_SEL and PORT0_SEL bits (0x34[1:0]). D_GPIO operation requires 2-lane FPD-Link III mode. Consult the appropriate Serializer datasheet for details on D_GPIO configuration. Note: if paired with a DS90UB925Q-Q1serializer, the devices must be configured into 18-bit mode to allow usage of GPIO pins on the serializer. To enable 18-bit mode, set serializer register 0x12[2] = 1. 18-bit mode will be auto-loaded into the deserializer from the serializer. See Table 3 for GPIO enable and configuration.

Table 3. GPIO Enable and Configuration

Description Device Forward Channel Back Channel
GPIO3 / D_GPIO3 Serializer 0x0F[3:0] = 0x3 0x0F[3:0] = 0x5
Deserializer 0x1F[3:0] = 0x5 0x1F[3:0] = 0x3
GPIO2 / D_GPIO2 Serializer 0x0E[7:4] = 0x3 0x0E[7:4] = 0x5
Deserializer 0x1E[7:4] = 0x5 0x1E[7:4] = 0x3
GPIO1 / D_GPIO1 Serializer 0x0E[3:0] = 0x3 0x0E[3:0] = 0x5
Deserializer 0x1E[3:0] = 0x5 0x1E[3:0] = 0x3
GPIO0 / D_GPIO0 Serializer 0x0D[3:0] = 0x3 0x0D[3:0] = 0x5
Deserializer 0x1D[3:0] = 0x5 0x1D[3:0] = 0x3

The input value present on GPIO[3:0] or D_GPIO[3:0] may also be read from register, or configured to local output mode (Table 11).

Back Channel Configuration

The D_GPIO[3:0] pins can be configured to obtain different sampling rates depending on the mode as well as back channel frequency. The mode is controlled by register 0x43 (Table 11). The back channel frequency can be controlled several ways:

  1. Register 0x23[6] sets the divider that controls the back channel frequency based on the internal oscillator. 0x23[6] = 0 sets the divider to 4 and 0x23[6] = 1 sets the divider to 2. As long as BC_HS_CTL (0x23[4]) is set to 0, the back channel frequency would be either 5 Mbps or 10Mbps based on this bit.
  2. Register 0x23[4] enables the high-speed back channel. This can also be pin-strapped via MODE_SEL1 (SeeTable 4). This bit overrides 0x23[6], and sets the divider for the back channel frequency to 1. Setting this bit to 1 sets the back channel frequency to 20 Mbps.
The back channel frequency has variation of ±20%. Note: The back channel frequency must be set to 5 Mbps when paired with a DS90UB925Q-Q1, DS90UB925AQ-Q1, or DS90UB927Q-Q1. See Table 4 for details about configuring the D_GPIOs in various modes.

Table 4. Back Channel D_GPIO Effective Frequency

HSCC_MODE (0x43[2:0]) Mode Number of D_GPIOs Samples per Frame D_GPIO Effective Frequency(1) (kHz) D_GPIOs Allowed
5 Mbps BC(2) 10 Mbps BC(3) 20 Mbps BC(4)
000 Normal 4 1 33 66 133 D_GPIO[3:0]
011 Fast 4 6 200 400 800 D_GPIO[3:0]
010 Fast 2 10 333 666 1333 D_GPIO[1:0]
001 Fast 1 15 500 1000 2000 D_GPIO0
The effective frequency assumes the worst case back channel frequency (-20%) and a 4X sampling rate.
5 Mbps corresponds to BC FREQ SELECT = 0 & BC_HS_CTL = 0
10 Mbps corresponds to BC FREQ SELECT = 1 & BC_HS_CTL = 0
20 Mbps corresponds to BC FREQ SELECT = X & BC_HS_CTL = 1

GPIO_REG[8:5] Configuration

GPIO_REG[8:5] are register-only GPIOs and may be programmed as outputs or read as inputs through local register bits only. Where applicable, these bits are shared with I2S pins and will override I2S input if enabled into GPIO_REG mode. See Table 5 for GPIO enable and configuration.

Note: Local GPIO value may be configured and read either through local register access, or remote register access through the Low-Speed Bidirectional Control Channel. Configuration and state of these pins are not transported from serializer to deserializer as is the case for GPIO[3:0].

Table 5. GPIO_REG and GPIO Local Enable and Configuration

Description Register Configuration Function
GPIO_REG8 0x21[7:4] = 0x1 Output, L
0x21[7:4] = 0x9 Output, H
0x21[7:4] = 0x3 Input, Read: 0x6F[0]
GPIO_REG7 0x21[3:0] = 0x1 Output, L
0x21[3:0] = 0x9 Output, H
0x21[3:0] = 0x3 Input, Read: 0x6E[7]
GPIO_REG6 0x20[7:4] = 0x1 Output, L
0x20[7:4] = 0x9 Output, H
0x20[7:4] = 0x3 Input, Read: 0x6E[6]
GPIO_REG5 0x20[3:0] = 0x1 Output, L
0x20[3:0] = 0x9 Output, H
0x20[3:0] = 0x3 Input, Read: 0x6E[5]
GPIO3 0x1F[3:0] = 0x1 Output, L
0x1F[3:0] = 0x9 Output, H
0x1F[3:0] = 0x3 Input, Read: 0x6E[3]
GPIO2 0x1E[7:4] = 0x1 Output, L
0x1E[7:4] = 0x9 Output, H
0x1E[7:4] = 0x3 Input, Read: 0x6E[2]
GPIO1 0x1E[3:0] = 0x1 Output, L
0x1E[3:0] = 0x9 Output, H
0x1E[3:0] = 0x3 Input, Read: 0x6E[1]
GPIO0 0x1D[3:0] = 0x1 Output, L
0x1D[3:0] = 0x9 Output, H
0x1D[3:0] = 0x3 Input, Read: 0x6E[0]

SPI Communication

The SPI Control Channel utilizes the secondary link in a 2-lane FPD-Link III implementation.  Two possible modes are available, Forward Channel and Reverse Channel modes.  In Forward Channel mode, the SPI Master is located at the Serializer, such that the direction of sending SPI data is in the same direction as the video data.  In Reverse Channel mode, the SPI Master is located at the Deserializer, such that the direction of sending SPI data is in the opposite direction as the video data.

The SPI Control Channel can operate in a high speed mode when writing data, but must operate at lower frequencies when reading data.  During SPI reads, data is clocked from the slave to the master on the SPI clock falling edge.  Thus, the SPI read must operate with a clock period that is greater than the round trip data latency.  On the other hand, for SPI writes, data can be sent at much higher frequencies where the MISO pin can be ignored by the master.

SPI data rates are not symmetrical for the two modes of operation.  Data over the forward channel can be sent much faster than data over the reverse channel.

Note: SPI cannot be used to access Serializer / Deserializer registers.

SPI Mode Configuration

SPI is configured over I2C using the High-Speed Control Channel Configuration (HSCC_CONTROL) register, 0x43 (Table 12). HSCC_MODE (0x43[2:0]) must be configured for either High-Speed, Forward Channel SPI mode (110) or High-Speed, Reverse Channel SPI mode (111).

Forward Channel SPI Operation

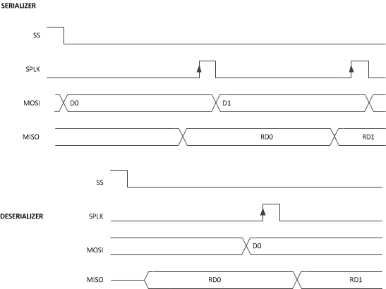
In Forward Channel SPI operation, the SPI master located at the Serializer generates the SPI Clock (SPLK), Master Out / Slave In data (MOSI), and active low Slave Select (SS).  The Serializer oversamples the SPI signals directly using the video pixel clock.  The three sampled values for SPLK, MOSI, and SS are each sent on data bits in the forward channel frame.  At the Deserializer, the SPI signals are regenerated using the pixel clock.  In order to preserve setup and hold time, the Deserializer will hold MOSI data while the SPLK signal is high.  In addition, it delays SPLK by one pixel clock relative to the MOSI data, increasing setup by one pixel clock. 

DS90UB940-Q1 forward_spi_timing.gif Figure 20. Forward Channel SPI Write
DS90UB940-Q1 forward_spi_read_timing.gif Figure 21. Forward Channel SPI Read

Reverse Channel SPI Operation

In Reverse Channel SPI operation, the Deserializer samples the Slave Select (SS), SPI clock (SCLK) into the internal oscillator clock domain.  In addition, upon detection of the active SPI clock edge, the Deserializer samples the SPI data (MOSI).  The SPI data samples are stored in a buffer to be passed to the Serializer over the back channel.  The Deserializer sends SPI information in a back channel frame to the Serializer.  In each back channel frame, the Deserializer sends an indication of the Slave Select value. The Slave Select should be inactive (high) for at least one back-channel frame period to ensure propagation to the Serializer.

Because data is delivered in separate back channel frames and buffered, the data may be regenerated in bursts.  The following figure (Figure 22) shows an example of the SPI data regeneration when the data arrives in three back channel frames.  The first frame delivered the SS active indication, the second frame delivered the first three data bits, and the third frame delivers the additional data bits.

DS90UB940-Q1 reverse_spi_timing.gif Figure 22. Reverse Channel SPI Write

For Reverse Channel SPI reads, the SPI master must wait for a round-trip response before generating the sampling edge of the SPI clock.  This is similar to operation in Forward channel mode.  Note that at most one data/clock sample will be sent per back channel frame.

DS90UB940-Q1 reverse_spi_read_timing.gif Figure 23. Reverse Channel SPI Read

For both Reverse Channel SPI writes and reads, the SPI_SS signal should be deasserted for at least one back channel frame period.

Table 6. SPI SS Deassertion Requirement

Back Channel Frequency Deassertion Requirement
5 Mbps 7.5 µs
10 Mbps 3.75 µs
20 Mbps 1.875 µs

Backward Compatibility

The DS90UB940-Q1 is also backward compatible to the DS90UB925Q-Q1, DS90UB925AQ-Q1, and DS90UB927Q-Q1 for PCLK frequencies ranging from 25MHz to 85MHz. Backward compatibility does not need to be enabled. When paired with a backward compatible device, the Deserializer will auto-detect to 1-lane FPD-Link III on the primary channel (RIN0±).

Input Equalization

An FPD-Link III input adaptive equalizer provides compensation for transmission medium losses and reduces medium-induced deterministic jitter. It equalizes up to 15m STP or 50Ω Coaxial cables with 3 connection breaks at maximum serializer stream payload of 3.36 Gbps.

I2S Audio Interface

This Deserializer features six I2S output pins that, when paired with a compatible serializer, supports surround sound audio applications. The bit clock (I2S_CLK) supports frequencies between 1MHz and the smaller of <PCLK/2 or <13MHz. Four I2S data outputs carry two channels of I2S-formatted digital audio each, with each channel delineated by the word select (I2C_WC) input.

DS90UB940-Q1 I2S_CONN_DES.gif Figure 24. I2S Connection Diagram
DS90UB940-Q1 I2S_TIMING_STEREO.gif Figure 25. I2S Frame Timing Diagram

When paired with a DS90UB925Q, the Deserializer I2S interface supports a single I2S data output through I2S_DA (24-bit video mode), or two I2S data outputs through I2S_DA and I2S_DB (18-bit video mode).

I2S Transport Modes

By default, packetized audio is received during video blanking periods in dedicated Data Island Transport frames. The transport mode is set in the serializer and auto-loaded into the deserializer by default. The audio configuration may be disabled from control registers if Forward Channel Frame Transport of I2S data is desired. In frame transport, only I2S_DA is received to the Deserializer. Surround Sound Mode, which transmits all four I2S data inputs (I2S_D[D:A]), may only be operated in Data Island Transport mode. This mode is only available when connected to a DS90UB927Q, DS90UB949-Q1, DS90UB947-Q1, or DS90UB929-Q1 serializer. If connected to a DS90UB925Q serializer, only I2S_DA and I2S_DB may be received.

I2S Jitter Cleaning

This device features a standalone PLL to clean the I2S data jitter, supporting high-end car audio systems. If I2S_CLK frequency is less than 1MHz, this feature must be disabled through register 0x2B[7]. See Table 12.

MCLK

The deserializer has an I2S Master Clock Output (MCLK). It supports x1, x2, or x4 of I2S CLK Frequency. When the I2S PLL is disabled, the MCLK output is off. Table 7 covers the range of I2S sample rates and MCLK frequencies. By default, all the MCLK output frequencies are x2 of the I2S CLK frequencies. The MCLK frequencies can also be enabled through the register bits 0x3A[6:4] (I2S DIVSEL), shown in Table 12. To select desired MCLK frequency, write 0x3A[7], then write to bit [6:4] accordingly.

Table 7. Audio Interface Frequencies

Sample Rate (kHz) I2S Data Word Size (bits) I2S_CLK (MHz) MCLK Output (MHz) Register 0x3A[6:4]
32 16 1.024 I2S_CLK x1 000
I2S_CLK x2 001
I2S_CLK x4 010
44.1 1.4112 I2S_CLK x1 000
I2S_CLK x2 001
I2S_CLK x4 010
48 1.536 I2S_CLK x1 000
I2S_CLK x2 001
I2S_CLK x4 010
96 3.072 I2S_CLK x1 001
I2S_CLK x2 010
I2S_CLK x4 011
192 6.144 I2S_CLK x1 010
I2S_CLK x2 011
I2S_CLK x4 100
32 24 1.536 I2S_CLK x1 000
I2S_CLK x2 001
I2S_CLK x4 010
44.1 2.117 I2S_CLK x1 001
I2S_CLK x2 010
I2S_CLK x4 011
48 2.304 I2S_CLK x1 001
I2S_CLK x2 010
I2S_CLK x4 011
96 4.608 I2S_CLK x1 010
I2S_CLK x2 011
I2S_CLK x4 100
192 9.216 I2S_CLK x1 011
I2S_CLK x2 100
I2S_CLK x4 101
32 32 2.048 I2S_CLK x1 001
I2S_CLK x2 010
I2S_CLK x4 011
44.1 2.8224 I2S_CLK x1 001
I2S_CLK x2 010
I2S_CLK x4 011
48 3.072 I2S_CLK x1 001
I2S_CLK x2 010
I2S_CLK x4 011
96 6.144 I2S_CLK x1 010
I2S_CLK x2 011
I2S_CLK x4 100
192 12.288 I2S_CLK x1 011
I2S_CLK x2 100
I2S_CLK x4 110

Built-In Self Test (BIST)

An optional At-Speed Built-In Self Test (BIST) feature supports testing of the high speed serial link and the low-speed back channel without external data connections. This is useful in the prototype stage, equipment production, in-system test, and system diagnostics.

BIST Configuration And Status

The BIST mode is enabled at the deserializer by pin (BISTEN) or BIST configuration register. The test may select either an external PCLK or the 33 MHz internal Oscillator clock (OSC) frequency in the Serializer. In the absence of PCLK, the user can select the internal OSC frequency at the deserializer through the BISTC pin or BIST configuration register.

When BIST is activated at the deserializer, a BIST enable signal is sent to the serializer through the Back Channel. The serializer outputs a test pattern and drives the link at speed. The deserializer detects the test pattern and monitors it for errors. The deserializer PASS output pin toggles to flag each frame received containing one or more errors. The serializer also tracks errors indicated by the CRC fields in each back channel frame.

The BIST status can be monitored real time on the deserializer PASS pin, with each detected error resulting in a half pixel clock period toggled LOW. After BIST is deactivated, the result of the last test is held on the PASS output until reset (new BIST test or Power Down). A high on PASS indicates NO ERRORS were detected. A Low on PASS indicates one or more errors were detected. The duration of the test is controlled by the pulse width applied to the deserializer BISTEN pin. LOCK status is valid throughout the entire duration of BIST.

See Figure 26 for the BIST mode flow diagram.

Sample BIST Sequence

Note: Before BIST can be enabled, D_GPIO0 (pin 19) must be strapped HIGH and D_GPIO[3:1] (pins 16, 17, and 18) must be strapped LOW.

  1. BIST Mode is enabled via the BISTEN pin of Deserializer. The desired clock source is selected through the deserializer BISTC pin.
  2. The serializer is awakened through the back channel if it is not already on. An all-zeros pattern is balanced, scrambled, randomized, and sent through the FPD-Link III interface to the deserializer. Once the serializer and the deserializer are in BIST mode and the deserializer acquires LOCK, the PASS pin of the deserializer goes high and BIST starts checking the data stream. If an error in the payload (1 to 35) is detected, the PASS pin will switch low for one half of the clock period. During the BIST test, the PASS output can be monitored and counted to determine the payload error rate per 35 bits.
  3. To Stop BIST mode, set the BISTEN pin LOW. The deserializer stops checking the data, and the final test result is held on the PASS pin. If the test ran error free, the PASS output will remain HIGH. If there one or more errors were detected, the PASS output will output constant LOW. The PASS output state is held until a new BIST is run, the device is RESET, or the device is powered down. BIST duration is user-controlled and may be of any length.

The link returns to normal operation after the deserializer BISTEN pin is low. Figure 27 shows the waveform diagram of a typical BIST test for two cases. Case 1 is error free, and Case 2 shows one with multiple errors. In most cases it is difficult to generate errors due to the robustness of the link (differential data transmission etc.), thus they may be introduced by greatly extending the cable length, faulting the interconnect medium, or reducing signal condition enhancements (Rx Equalization).

DS90UB940-Q1 BIST_FLOW.gif Figure 26. BIST Mode Flow Diagram

Forward Channel and Back Channel Error Checking

The Deserializer, on locking to the serial stream, compares the recovered serial stream with all-zeroes and records any errors in status registers. Errors are also dynamically reported on the PASS pin of the deserializer. Forward channel errors may also be read from register 0x25 (Table 12).

The back-channel data is checked for CRC errors once the serializer locks onto the back-channel serial stream, as indicated by link detect status (register bit 0x0C[0] - Table 12). CRC errors are recorded in an 8-bit register in the serializer. The register is cleared when the serializer enters the BIST mode. As soon as the serializer enters BIST mode, the functional mode CRC register starts recording any back channel CRC errors. The BIST mode CRC error register is active in BIST mode only and keeps the record of the last BIST run until cleared or the serializer enters BIST mode again.

DS90UB940-Q1 BIST_WAVEFORMS.gif Figure 27. BIST Waveforms

Internal Pattern Generation

The deserializer supports the internal pattern generation feature. It allows basic testing and debugging of an integrated panel. The test patterns are simple and repetitive and allow for a quick visual verification of panel operation. As long as the device is not in power down mode, the test pattern will be displayed even if no parallel input is applied. If no PCLK is received, the test pattern can be configured to use a programmed oscillator frequency. For detailed information, refer to Application Note AN-2198 (SNLA132).

Device Functional Modes

Configuration Select

The DS90UB940-Q1 can be configured for several different operating modes via the MODE_SEL[1:0] input pins, or via the register bits 0x23 [4:3] (MODE_SEL1) and 0x6A [5:4] (MODE_SEL0) . A pull-up resistor and a pull-down resistor of suggested values may be used to set the voltage ratio of the MODE_SEL[1:0] input and VDD33 to select one of the possible selected modes.

The DS90UB940-Q1 is capable of operating in either in 1-lane or 2-lane modes for FPD-Link III. By default, the FPD-Link III receiver automatically configures the input based on 1- or 2-lane mode operation. Programming register 0x34 [4:3] settings will override the automatic detection. For each FPD-Link III pair, the serial datastream is composed of a 35-bit symbol.

The DS90UB940-Q1 recovers the FPD-Link III serial datastream(s) and produces CSI-2 TX data driven to the MIPI DPHY interface. There are two CSI-2 ports (CSI0_Dn and CSI1_Dn) and each consist of one clock lane and four data lanes. The DS90UB940-Q1 supports two CSI-2 TX ports, and each may be configured to support either two or four CSI-2 data lanes. Unused CSI-2 outputs are driven to LP11 states. The MIPI DPHY transmission operates in both differential (HS) and single-ended (LP) modes. During HS transmission, the pair of outputs operates in differential mode; and in LP mode, the pair operates as two independent single-ended traces. Both the data and clock lanes enter LP mode during the horizontal and vertical blanking periods.

The configurations outlined in (1-lane FPD-Link III Input, 4 MIPI lanes Output, 1-lane FPD-Link III Input, 2 MIPI lanes Output, 1- or 2-lane FPD-Link III Input, 2 or 4 MIPI lanes Output in Replicate) will apply to DS90UB949-Q1, DS90UB947-Q1, DS90UB929-Q1, DS90UB925Q-Q1, DS90UB925AQ-Q1, and DS90UB927Q-Q1 FPD-Link III Serializers.

The configurations outlined in (2-lane FPD-Link III Input, 4 MIPI lanes Output, 2-lane FPD-Link III Input, 2 MIPI lanes Output, 1- or 2-lane FPD-Link III Input, 2 or 4 MIPI lanes Output in Replicate) will apply to DS90UB949-Q1 and DS90UB947-Q1 FPD-Link III Serializers.

The device can be configured in following modes:

  • 1-lane FPD-Link III Input, 4 MIPI lanes Output
  • 1-lane FPD-Link III Input, 2 MIPI lanes Output
  • 2-lane FPD-Link III Input, 4 MIPI lanes Output
  • 2-lane FPD-Link III Input, 4 MIPI lanes Output
  • 1- or 2-lane FPD-Link III Input, 2 or 4 MIPI lanes Output (Replicate)

1-lane FPD-Link III Input, 4 MIPI lanes Output

In this configuration the PCLK rate embedded within the 1-lane FPD-Link III frame can range from 25 MHz to 96 MHz, resulting in a link rate of 875 Mbps (35 bit * 25 MHz) to 3.36 Gbps (35 bit * 96 MHz). Each MIPI data lane will operate at a speed of 7 * PCLK frequency; resulting in a data rate of 175 Mbps to 672 Mbps. The corresponding MIPI transmit clock rate will operate between 87.5 MHz to 336 MHz.

1-lane FPD-Link III Input, 2 MIPI lanes Output

In this configuration the PCLK rate embedded within the 1-lane FPD-Link III frame can range from 25 MHz to 96 MHz, resulting in a link rate of 875 Mbps (35 bit * 25 MHz) to 3.36 Gbps (35 bit * 96 MHz). Each MIPI data lane will operate at a speed of 14 * PCLK frequency; resulting in a data rate of 350 Mbps to 1344 Mbps. The corresponding MIPI transmit clock rate will operate between 175 MHz to 672 MHz.

2-lane FPD-Link III Input, 4 MIPI lanes Output

In this configuration the PCLK rate embedded is split into 2-lane FPD-Link III frame and can range from 50 MHz to 170 MHz, resulting in a link rate of 875 Mbps (35 bit * 25 MHz) to 2.975 Gbps (35 bit * 85 MHz). The embedded datastreams from the received FPD-Link III inputs are merged in HS mode to form packets that carry the video stream. Each MIPI data lane will operate at a speed of 7 * PCLK frequency, resulting in a data rate of 350 Mbps to 1190 Mbps. The corresponding MIPI transmit clock rate will operate between 175 MHz to 595 MHz.

2-lane FPD-Link III Input, 2 MIPI lanes Output

In this configuration the PCLK rate embedded is split into 2-lane FPD-Link III frame and can range from 25 MHz to 48 MHz, resulting in a link rate of 875 Mbps (35 bit * 25 MHz) to 1.680 Gbps (35 bit * 48 MHz). The embedded datastreams from the received FPD-Link III inputs are merged in HS mode to form packets that carry the video stream. Each MIPI data lane will operate at a speed of 14 * PCLK frequency, resulting in a data rate of 700 Mbps to 1344 Mbps. The corresponding MIPI transmit clock rate will operate between 350 MHz to 672 MHz.

1- or 2-lane FPD-Link III Input, 2 or 4 MIPI lanes Output in Replicate

Same as 1- or 2-lane FPD-Link III Input(s), duplicates the MIPI CSI-2 lanes on CSI1_D[3:0] and CSI1_CLK outputs.

MODE_SEL[1:0]

Configuration of the device may be done via the MODE_SEL[1:0] input pins, or via the configuration register bits. A pull-up resistor and a pull-down resistor of suggested values may be used to set the voltage ratio of the MODE_SEL[1:0] inputs (VR4) and VDD33 to select one of the other 8 possible selected modes. See Table 8 and Table 9. Possible configurations are shown in Figure 28.

DS90UB940-Q1 940_mode_sel.gif Figure 28. Datapath Configurations

Configuration of the device may be done via the MODE_SEL[1:0] input pins, or via the configuration register bits. A pull-up resistor and a pull-down resistor of suggested values may be used to set the voltage ratio of the MODE_SEL[1:0] inputs (VR1) and VDD33 to select one of the other 8 possible selected modes. See Table 8 and Table 9.

DS90UB940-Q1 MODE_SEL.gif Figure 29. MODE_SEL[1:0] Connection Diagram

Table 8. Configuration Select (MODE_SEL0)

# Ideal Ratio
VR1/VDD33
Target VR1
(V)
Suggested Resistor R1 kΩ (1% tol) Suggested Resistor R2 kΩ (1% tol) Output
Mode
1 0 0 Open 40.2 or Any 4 data lanes
1 CSI port active (determined by MODE_SEL1 CSI_SEL bit)
2 0.169 0.559 232 47.5 4 data lanes
both CSI ports active (overrides MODE_SEL1)
3 0.230 0.757 107 31.6 2 data lanes
1 CSI port active (determined by MODE_SEL1 CSI_SEL bit)
4 0.295 0.974 113 47.5 2 data lanes
both CSI port active (overrides MODE_SEL1)
5 0.376 1.241 113 68.1 RESERVED
6 0.466 1.538 107 93.1 RESERVED
7 0.556 1.835 90.9 113 RESERVED
8 0.801 2.642 45.3 182 RESERVED

Table 9. Configuration Select (MODE_SEL1)

# Ideal Ratio
VR1/VDD33
Target VR1
(V)
Suggested Resistor R1 kΩ (1% tol) Suggested Resistor R2 kΩ (1% tol) CSI_SEL
(CSI PORT)
High Speed Back Channel Input
Mode
1 0 0 Open 40.2 or Any CSI0 5 Mbps STP
2 0.169 0.559 232 47.5 CSI0 5 Mbps Coax
3 0.230 0.757 107 31.6 CSI0 20 Mbps STP
4 0.295 0.974 113 47.5 CSI0 20 Mbps Coax
5 0.376 1.241 113 68.1 CSI1 5 Mbps STP
6 0.466 1.538 107 93.1 CSI1 5 Mbps Coax
7 0.556 1.835 90.9 113 CSI1 20 Mbps STP
8 0.801 2.642 45.3 182 CSI1 20 Mbps Coax

CSI-2 Interface

The DS90UB940-Q1 (in default mode) takes RGB 24-bpp data bits defined in the serializer and directly maps to the pixel color space in the data frame. The DS90UB940-Q1 follows the general frame format as described per the CSI-2 standard (Figure 30). Upon the end of the vertical sync pulse (VS), the DS90UB940-Q1 generates the Frame End and Frame Start synchronization packets within the vertical blanking period. The timing of the Frame Start will not reflect the timing of the VS signal.

Upon the rising edge of the DE signal, each active line is output in a long data packet with the defined data format (Figure 13). At the end of each packet, the data lanes Dn± return to the LP-11 state, while the clock lane CLK± continue outputting the high speed clock.

The DS90UB940-Q1 CSI-2 transmitter consists of a high speed clock (CLK±) and data (Dn±) outputs based on a source synchronous interface. The half rate clock at CLK± is derived from the pixel clock sourced by the clock/data recovery circuit of the DS90UB940-Q1 . The CSI-2 clock frequency is 3.5 times (4 MIPI lanes) or 7 times (2 MIPI lanes) the recovered pixel clock frequency. The MIPI DPHY outputs either 2 or 4 high speed data lanes (Dn±) according to the CSI-2 protocol. The data rate of each lane is 7 times (4 MIPI lanes) or 14 times (2 MIPI lanes) the pixel clock. As an example in a 4 MIPI lane configuration, at a pixel clock of 150 MHz, the CLK± runs at 525 MHz, and each data lane runs at 1050 Mbps.

The half-rate clock maintains a quadrature phase relationship to the data signals and allows receiver to sample data at the rising and falling edges of the clock (DDR). Figure 10 shows the timing relationship of the clock and data lines. The DS90UB940-Q1 supports continuous high speed clock. High speed data are sent out at data lanes Dn± in bursts. In between data bursts, the data lanes return to Low Power (LP) States in according to protocol defined in D-PHY standard. The rising edge of the differential clock (CSI_CLK+ – CSI_CLK-) is sent during the first payload bit of a transmission burst in the data lanes.  

DS90UB940-Q1 CSI_frame_packets.gif Figure 30. CSI-2 General Frame Format

Input Display Timing

The DS90UB940-Q1 has built−in support to detect the incoming video format extracted from the FPD-Link III datastream(s) and automatically generate CSI-2 output timing parameters accordingly. The input video format detection is derived from progressive display resolutions based on the CEA−861D specification. The video data rate and frame rate is determined by measuring internal VS and DE signals.

MIPI CSI-2 Output Data Formats

The DS90UB940-Q1 CSI-2 Tx supports multiple data types. These can be seen in Table 10.

Table 10. CSI-2 Output Data Formats(1)

Data Format CSI-2 Data Type [5:0] Reg0x6B [3:2]
IFMT
Reg0x6B [7:4]
OFMT
Description
RGB888 0x24 00 0000 RGB888  image data – using 24-bit container for RGB 24-bpp
RGB666 0x23 00 0001 RGB666 image data
RGB565 0x22 00 0010 RGB565 image data
YUV420 0x1A 00 0011 YUV4:2:0 image data, Legacy YUV420 8-bit
YUV420 8-bit 0x18 00 0100 YUV4:2:0 image data
YUV422 8-bit 0x1E 00 0101 YUV4:2:2 image data
RAW8 0x2A 11 0110 RAW Bayer, 8-bit image data D[0:7] of Serializer inputs are used as RAW data; Alignment is configured with CSIIA_{0x6C}_0x09 [4]
RAW10 0x2B 11 0111 RAW Bayer, 10-bit image data D[0:9] of Serializer inputs are used as RAW data; Alignment is configured with CSIIA_{0x6C}_0x09 [4]
RAW12 0x2C 11 1000 RAW Bayer, 12-bit image data D[0:11] of Serializer inputs are used as RAW data; Alignment is configured with CSIIA_{0x6C}_0x09 [4]
YUV420 8-bit (CSPS) 0x1C 00 1001 YUV4:2:0 image data, YUV420 Chroma Shifted Pixel Sampling
Note: Color space conversion is only available from RGB to YUV.

Non-Continuous / Continuous Clock

DS90UB940-Q1 D-PHY supports Continuous clock mode and Non-Continuous clock mode on the CSI-2 interface. Default mode is Non-Continuous Clock mode, where the Clock Lane enters in LP mode between the transmissions of data packets. Non-continuous clock mode will only be non-continuous during the vertical blanking period for lower PCLK rates. For higher PCLK rates, the clock will be non-continuous between line and frame packets. Operating modes are configurable through 0x6A [1].

Clock lane enters LP11 during horizontal blanking if the horizontal blanking period is longer than the overhead time to start/stop the clock lane. There is auto-detection of the length of the horizontal blank period. The fixed threshold is 96 PCLK cycles.

Ultra Low Power State (ULPS)

The DS90UB940-Q1 supports the MIPI defined Ultra-Low Power State (ULPS). DS90UB940-Q1 D-PHY lanes will enter ULPS mode upon software standby mode through 0x6A [2] generated by the processor. When ULPS is issued, all active CSI-2 lanes including the clock and data lanes of the enabled CSI-2 port are put in ULPS according to the MIPI DPHY protocol. D-PHY can reduce power consumption by entering ULPS mode. Ultra Low Power State is exited by means of a Mark-1 state with a length TWAKEUP followed by a Stop state.

DS90UB940-Q1 CSI_ULPS.gif Figure 31. Ultra Low Power State

CSI-2 Data Identifier

The DS90UB940-Q1 MIPI CSI-2 protocol interface transmits the data identifier byte containing the values for the virtual channel ID (VC) and data type (DT) for the application specific payload data, as shown in Figure 32. The virtual channel ID is contained in the 2 MSBs of the data identifier byte and identify the data as directed to one of four virtual channels. The value of the data type is contained in the 6 LSBs of the data identifier byte.

  • CSIIA_{0x6C}_0x2E[7:6] CSI_VC_ID: Configures the virtual ID linked to the current context.
  • CSICFG1_0x6B[7:4] OFMT: Configures the data format linked to the current context.

DS90UB940-Q1 virtual_channel.gif Figure 32. CSI-2 Data Identifier Structure

Programming

Serial Control Bus

The device may also be configured by the use of a I2C compatible serial control bus. Multiple devices may share the serial control bus (up to 8 device addresses supported). The device address is set via a resistor divider (R1 and R2 — see Figure 33 below) connected to the IDx pin.

DS90UB940-Q1 i2c_diag.gif Figure 33. Serial Control Bus Connection

The serial control bus consists of two signals, SCL and SDA. SCL is a Serial Bus Clock Input. SDA is the Serial Bus Data Input / Output signal. Both SCL and SDA signals require an external pull-up resistor to 1.8 V or 3.3 V VDDIO. For most applications, a 4.7kΩ pull-up resistor to VDD33 is recommended. However, the pull-up resistor value may be adjusted for capacitive loading and data rate requirements. The signals are either pulled High, or driven Low.

The IDx pin configures the control interface to one of 8 possible device addresses. A pull-up resistor and a pull-down resistor may be used to set the appropriate voltage ratio between the IDx input pin (VR2) and VDD33, each ratio corresponding to a specific device address. See Table 11 below.

Table 11. Serial Control Bus Addresses for IDx

# Ideal Ratio
VR2 / VDD33
Ideal VR2
(V)
Suggested Resistor R1 kΩ (1% tol) Suggested Resistor R2 kΩ (1% tol) 7-bit Address 8-bit Address
1 0 0 Open 40.2 or >10 0x2C 0x58
2 0.169 0.559 232 47.5 0x2E 0x5C
3 0.230 0.757 107 31.6 0x30 0x60
4 0.295 0.974 113 47.5 0x32 0x64
5 0.376 1.241 113 68.1 0x34 0x68
6 0.466 1.538 107 93.1 0x36 0x6C
7 0.556 1.835 90.9 113 0x38 0x70
8 0.801 2.642 45.3 182 0x3C 0x78

The Serial Bus protocol is controlled by START, START-Repeated, and STOP phases. A START occurs when SCL transitions Low while SDA is High. A STOP occurs when SDA transitions High while SCL is also HIGH. See Figure 34

DS90UB940-Q1 30193351.gif Figure 34. START and STOP Conditions

To communicate with a remote device, the host controller (master) sends the slave address and listens for a response from the slave. This response is referred to as an acknowledge bit (ACK). If a slave on the bus is addressed correctly, it Acknowledges (ACKs) the master by driving the SDA bus low. If the address doesn't match a device's slave address, it Not-acknowledges (NACKs) the master by letting SDA be pulled High. ACKs also occur on the bus when data is being transmitted. When the master is writing data, the slave ACKs after every data byte is successfully received. When the master is reading data, the master ACKs after every data byte is received to let the slave know it wants to receive another data byte. When the master wants to stop reading, it NACKs after the last data byte and creates a stop condition on the bus. All communication on the bus begins with either a Start condition or a Repeated Start condition. All communication on the bus ends with a Stop condition. A READ is shown in Figure 35 and a WRITE is shown in Figure 36.

DS90UB940-Q1 30193338.gif Figure 35. Serial Control Bus — READ
DS90UB940-Q1 30193339.gif Figure 36. Serial Control Bus — WRITE

The I2C Master located at the Deserializer must support I2C clock stretching. For more information on I2C interface requirements and throughput considerations, please refer to TI Application Note SNLA131.

Multi-Master Arbitration Support

The Bidirectional Control Channel in the FPD-Link III devices implements I2C compatible bus arbitration in the proxy I2C master implementation. When sending a data bit, each I2C master senses the value on the SDA line. If the master is sending a logic 1 but senses a logic 0, the master has lost arbitration. It will stop driving SDA, retrying the transaction when the bus becomes idle. Thus, multiple I2C masters may be implemented in the system.

For example, there might also be a local I2C master at each camera. The local I2C master could access the Image Sensor and EEPROM. The only restriction would be that the remote I2C master at the camera should not attempt to access a remote slave through the BCC that is located at the host controller side of the link. In other words, the control channel should only operate in camera mode for accessing remote slave devices to avoid issues with arbitration across the link. The remote I2C master should also not attempt to access the deserializer registers to avoid a conflict in register access with the Host controller.

If the system does require master-slave operation in both directions across the BCC, some method of communication must be used to ensure only one direction of operation occurs at any time. The communication method could include using available read/write registers in the deserializer to allow masters to communicate with each other to pass control between the two masters. An example would be to use register 0x18 or 0x19 in the deserializer as a mailbox register to pass control of the channel from one master to another.

I2C Restrictions on Multi-Master Operation

The I2C specification does not provide for arbitration between masters under certain conditions. The system should make sure the following conditions cannot occur to prevent undefined conditions on the I2C bus:

  • One master generates a repeated Start while another master is sending a data bit.
  • One master generates a Stop while another master is sending a data bit.
  • One master generates a repeated Start while another master sends a Stop.

Note that these restrictions mainly apply to accessing the same register offsets within a specific I2C slave.

Multi-Master Access to Device Registers for Newer FPD-Link III Devices

When using the latest generation of FPD-Link III devices (DS90UB94x-Q1), serializers or deserializer registers may be accessed simultaneously from both local and remote I2C masters. These devices have internal logic to properly arbitrate between sources to allow proper read and write access without risk of corruption.

Access to remote I2C slaves would still be allowed in only one direction at a time (Camera or Display mode).

Multi-Master Access to Device Registers for Older FPD-Link III Devices

When using older FPD-Link III devices (in backward compatible), simultaneous access to serializer or deserializer registers from both local and remote I2C masters may cause incorrect operation, thus restrictions should be imposed on accessing of serializer and deserializer registers. The likelihood of an error occurrence is relatively small, but it is possible for collision on reads and writes to occur, resulting in an errored read or write.

Two basic options are recommended. The first is to allow device register access only from one controller. In a Display mode system, this would allow only the Host controller to access the serializer registers (local) and the deserializer registers (remote). A controller at the deserializer (local to the Display) would not be allowed to access the deserializer or serializer registers.

The second basic option is to allow local register access only with no access to remote serializer or deserializer registers. The Host controller would be allowed to access the serializer registers while a controller at the deserializer could access those register only. Access to remote I2C slaves would still be allowed in one direction (Camera or Display mode).

In a very limited case, remote and local access could be allowed to the deserializer registers at the same time. Register access is ensured to work correctly if both local and remote masters are accessing the same deserializer register. This allows a simple method of passing control of the Bidirectional Control Channel from one master to another.

Restrictions on Control Channel Direction for Multi-Master Operation

Only Display or Camera mode operation should be active at any time across the Bidirectional Control Channel. If both directions are required, some method of transferring control between I2C masters should be implemented.

Register Maps

Table 12. Serial Control Bus Registers

ADD (hex) Register Name Bit(s) Function Type Default Value (hex) Description
0x00 I2C Device ID 7:1 DEVICE ID RW Strap 7-bit address of Deserializer;
Defaults to the address configured by the IDx strap pin. See Table 11.
0 DES ID RW 0 0: Device ID is from IDx strap
1: Register I2C Device ID overrides IDx strap
0x01 Reset 7:3 RESERVED RW 0 Reserved
2 RESERVED R 1 Reserved
1 DIGITAL RESET0 RW 0 Digital Reset. Resets the entire digital block including registers. This bit is self-clearing.
1: Reset
0: Normal operation.
Registers which are loaded by pin strap will be restored to their original strap value when this bit is set. These registers show ‘Strap’ as their default value in this table.
0 DIGITAL RESET1 RW 0 Digital Reset. Resets the entire digital block except registers. This bit is self-clearing.
1: Reset
0: Normal operation
0x02 General Configuration 0 7 OUTPUT ENABLE RW 1 Output Enable Override Value (in conjunction with Output Sleep State Select) If the Override control is not set, the Output Enable will be set to 1.
A Digital reset 0x01[0] should be asserted after toggling Output Enable bit LOW to HIGH
6 OUTPUT ENABLE OVERRIDE RW 0 Overrides Output Enable and Output Sleep State default
0: Disable override
1: Enable override
5 OSC CLOCK OUTPUT ENABLE (AUTO_CLOCK_EN) RW 0 OSC clock output enable
If loss of lock OSC clock is output onto PCLK. The frequency is selected in register 0x24.
1: Enable
0: Disable
4 OUTPUT SLEEP STATE SELECT RW 0 OSS Select Override value to control output state when LOCK is low (used in conjunction with Output Enable)
If the Override control is not set, the Output Sleep State Select will be set to 1.
3:0 RESERVED RW 0 Reserved
0x03 General Configuration 1 7 RESERVED RW 1 Reserved
6 BC CRC GENERATOR ENABLE RW 1 Back Channel CRC Generator Enable
0: Enable
1: Disable (Default)
5 FAILSAFE LOW RW 1 Controls the pull direction for undriven LVCMOS inputs
1: Pull down
0: Pull up
4 FILTER ENABLE RW 1 HS,VS,DE two clock filter
When enabled, pulses less than two full PCLK cycles on the DE, HS, and VS inputs will be rejected.
1: Filtering enable
0: Filtering disable
3 I2C PASS-THROUGH RW 0 I2C Pass-Through to Serializer if decode matches
0: Pass-Through Disabled
1: Pass-Through Enabled
2 AUTO ACK RW 0 Automatically Acknowledge I2C writes independent of the forward channel lock state
1: Enable
0: Disable
1 DE GATE RGB RW 0 Gate RGB data with DE signal. RGB data is gated with DE in order to allow packetized audio and block unencrypted data when paired with a serializer that supports HDCP. When paired with a serializer that does not support HDCP, RGB data is not gated with DE by default. However, to enable packetized autio this bit must be set.
1: Gate RGB data with DE (has no effect when paired with a serializer that supports HDCP)
0: Pass RGB data independent of DE (has no effect when paired with a serializer that does not support HDCP)
0 RESERVED RW 0 Reserved
0x04 BCC Watchdog Control 7:1 BCC WATCHDOG TIMER RW 0x7F The watchdog timer allows termination of a control channel transaction if it fails to complete within a programmed amount of time. This field sets the Bidirectional Control Channel Watchdog Timeout value in units of 2 milliseconds. This field should not be set to 0.
0 BCC WATCHDOG TIMER DISABLE RW 0 Disable Bidirectional Control Channel Watchdog Timer
1: Disables BCC Watchdog Timer operation
0: Enables BCC Watchdog Timer operation
0x05 I2C Control 1 7 I2C PASS THROUGH ALL RW 0 I2C Pass-Through All Transactions
0: Disabled
1: Enabled
6:4 I2C SDA HOLD RW 0x1 Internal SDA Hold Time
This field configures the amount of internal hold time provided for the SDA input relative to the SCL input. Units are 50 nanoseconds.
3:0 I2C FILTER DEPTH RW 0xE I2C Glitch Filter Depth
This field configures the maximum width of glitch pulses on the SCL and SDA inputs that will be rejected. Units are 5 nanoseconds.
0x06 I2C Control 2 7 FORWARD CHANNEL SEQUENCE ERROR R 0 Control Channel Sequence Error Detected
This bit indicates a sequence error has been detected in forward control channel. If this bit is set, an error may have occurred in the control channel operation.
6 CLEAR SEQUENCE ERROR RW 0 Clears the Sequence Error Detect bit
5 RESERVED R 0 Reserved.
4:3 SDA Output Delay RW 0 SDA Output Delay
This field configures output delay on the SDA output. Setting this value will increase output delay in units of 50ns. Nominal output delay values for SCL to SDA are:
00 : 250ns
01: 300ns
10: 350ns
11: 400ns
2 LOCAL WRITE DISABLE RW 0 Disable Remote Writes to Local Registers
Setting this bit to a 1 will prevent remote writes to local device registers from across the control channel. This prevents writes to the Deserializer registers from an I2C master attached to the Serializer. Setting this bit does not affect remote access to I2C slaves at the Deserializer.
1 I2C BUS TIMER SPEEDUP RW 0 Speed up I2C Bus Watchdog Timer
1: Watchdog Timer expires after approximately 50 microseconds
0: Watchdog Timer expires after approximately 1 second.
0 I2C BUS TIMER DISABLE RW 0 Disable I2C Bus Watchdog Timer
When the I2C Watchdog Timer may be used to detect when the I2C bus is free or hung up following an invalid termination of a transaction. If SDA is high and no signalling occurs for approximately 1 second, the I2C bus will assumed to be free. If SDA is low and no signaling occurs, the device will attempt to clear the bus by driving 9 clocks on SCL
0x07 REMOTE ID 7:1 REMOTE ID
(Loaded from remote SER)
RW 0x00 7-bit Serializer Device ID
Configures the I2C Slave ID of the remote Serializer. A value of 0 in this field disables I2C access to the remote Serializer. This field is automatically loaded from the Serializer once RX Lock has been detected. Software may overwrite this value, but should also assert the FREEZE DEVICE ID bit to prevent loading by the Bidirectional Control Channel.
0 FREEZE DEVICE ID RW 0 Freeze Serializer Device ID
Prevent auto-loading of the Serializer Device ID from the Forward Channel. The ID will be frozen at the value written.
0x08 SlaveID[0] 7:1 SLAVE ID0 RW 0 7-bit Remote Slave Device ID 0
Configures the physical I2C address of the remote I2C Slave device attached to the remote Serializer. If an I2C transaction is addressed to the Slave Alias ID0, the transaction will be remapped to this address before passing the transaction across the Bidirectional Control Channel to the Serializer.
0 RESERVED RW 0 Reserved.
0x09 SlaveID[1] 7:01 SLAVE ID1 RW 0 7-bit Remote Slave Device ID 1
Configures the physical I2C address of the remote I2C Slave device attached to the remote Serializer. If an I2C transaction is addressed to the Slave Alias ID1, the transaction will be remapped to this address before passing the transaction across the Bidirectional Control Channel to the Serializer.
0 RESERVED RW 0 Reserved.
0x0A SlaveID[2] 7:1 SLAVE ID2 RW 0 7-bit Remote Slave Device ID 2
Configures the physical I2C address of the remote I2C Slave device attached to the remote Serializer. If an I2C transaction is addressed to the Slave Alias ID2, the transaction will be remapped to this address before passing the transaction across the Bidirectional Control Channel to the Serializer.
0 RESERVED RW 0 Reserved.
0x0B SlaveID[3] 7:1 SLAVE ID3 RW 0 7-bit Remote Slave Device ID 3
Configures the physical I2C address of the remote I2C Slave device attached to the remote Serializer. If an I2C transaction is addressed to the Slave Alias ID3, the transaction will be remapped to this address before passing the transaction across the Bidirectional Control Channel to the Serializer.
0 RESERVED RW 0 Reserved.
0x0C SlaveID[4] 7:1 SLAVE ID4 RW 0 7-bit Remote Slave Device ID 4
Configures the physical I2C address of the remote I2C Slave device attached to the remote Serializer. If an I2C transaction is addressed to the Slave Alias ID4, the transaction will be remapped to this address before passing the transaction across the Bidirectional Control Channel to the Serializer.
0 RESERVED RW 0 Reserved.
0x0D SlaveID[5] 7:1 SLAVE ID5 RW 0 7-bit Remote Slave Device ID 5
Configures the physical I2C address of the remote I2C Slave device attached to the remote Serializer. If an I2C transaction is addressed to the Slave Alias ID5, the transaction will be remapped to this address before passing the transaction across the Bidirectional Control Channel to the Serializer.
0 RESERVED RW 0 Reserved.
0x0E SlaveID[6] 7:1 SLAVE ID6 RW 0 7-bit Remote Slave Device ID 6
Configures the physical I2C address of the remote I2C Slave device attached to the remote Serializer. If an I2C transaction is addressed to the Slave Alias ID6, the transaction will be remapped to this address before passing the transaction across the Bidirectional Control Channel to the Serializer.
0 RESERVED RW 0 Reserved.
0x0F SlaveID[7] 7:1 SLAVE ID7 RW 0 7-bit Remote Slave Device ID 7
Configures the physical I2C address of the remote I2C Slave device attached to the remote Serializer. If an I2C transaction is addressed to the Slave Alias ID7, the transaction will be remapped to this address before passing the transaction across the Bidirectional Control Channel to the Serializer.
0 RESERVED RW 0 Reserved.
0x10 SlaveAlias[0] 7:1 SLAVE ALIAS ID0 RW 0 7-bit Remote Slave Device Alias ID 0
Configures the decoder for detecting transactions designated for an I2C Slave device attached to the remote Serializer. The transaction will be remapped to the address specified in the Slave ID0 register. A value of 0 in this field disables access to the remote I2C Slave.
0 RESERVED 0 Reserved.
0x11 SlaveAlias[1] 7:1 SLAVE ALIAS ID1 RW 0 7-bit Remote Slave Device Alias ID 1
Configures the decoder for detecting transactions designated for an I2C Slave device attached to the remote Serializer. The transaction will be remapped to the address specified in the Slave ID1 register. A value of 0 in this field disables access to the remote I2C Slave.
0 RESERVED 0 Reserved.
0x12 SlaveAlias[2] 7:1 SLAVE ALIAS ID2 RW 0 7-bit Remote Slave Device Alias ID 2
Configures the decoder for detecting transactions designated for an I2C Slave device attached to the remote Serializer. The transaction will be remapped to the address specified in the Slave ID2 register. A value of 0 in this field disables access to the remote I2C Slave.
0 RESERVED 0 Reserved.
0x13 SlaveAlias[3] 7:1 SLAVE ALIAS ID3 RW 0 7-bit Remote Slave Device Alias ID 3
Configures the decoder for detecting transactions designated for an I2C Slave device attached to the remote Serializer. The transaction will be remapped to the address specified in the Slave ID3 register. A value of 0 in this field disables access to the remote I2C Slave.
0 RESERVED 0 Reserved.
0x14 SlaveAlias[4] 7:1 SLAVE ALIAS ID4 RW 0 7-bit Remote Slave Device Alias ID 4
Configures the decoder for detecting transactions designated for an I2C Slave device attached to the remote Serializer. The transaction will be remapped to the address specified in the Slave ID4 register. A value of 0 in this field disables access to the remote I2C Slave.
0 RESERVED 0 Reserved.
0x15 SlaveAlias[5] 7:1 SLAVE ALIAS ID5 RW 0 7-bit Remote Slave Device Alias ID 5
Configures the decoder for detecting transactions designated for an I2C Slave device attached to the remote Serializer. The transaction will be remapped to the address specified in the Slave ID5 register. A value of 0 in this field disables access to the remote I2C Slave.
0 RESERVED 0 Reserved
0x16 SlaveAlias[6] 7:1 SLAVE ALIAS ID6 RW 0 7-bit Remote Slave Device Alias ID 6
Configures the decoder for detecting transactions designated for an I2C Slave device attached to the remote Serializer. The transaction will be remapped to the address specified in the Slave ID6 register. A value of 0 in this field disables access to the remote I2C Slave.
0 RESERVED 0 Reserved.
0x17 SlaveAlias[7] 7:1 SLAVE ALIAS ID7 RW 0 7-bit Remote Slave Device Alias ID 7
Configures the decoder for detecting transactions designated for an I2C Slave device attached to the remote Serializer. The transaction will be remapped to the address specified in the Slave ID7 register. A value of 0 in this field disables access to the remote I2C Slave.
0 RESERVED 0 Reserved.
0x18 MAILBOX_
18
7:0 MAILBOX_18 RW 0 Mailbox Register
This register is an unused read/write register that can be used for any purpose such as passing messages between I2C masters on opposite ends of the link.
0x19 MAILBOX_
19
7:0 MAILBOX_19 RW 0x01 Mailbox Register
This register is an unused read/write register that can be used for any purpose such as passing messages between I2C masters on opposite ends of the link.
0x1A GPIO[9] and Global GPIO Config 7 GLOBAL GPIO OUTPUT VALUE RW 0 Global GPIO Output Value
This value is output on each GPIO pin when the individual pin is not otherwise enabled as a GPIO and the global GPIO direction is Output
6 RESERVED RW 0 Reserved
5 GLOBAL GPIO FORCE DIR RW 0 The GLOBAL GPIO DIR and GLOBAL GPIO EN bits configure the pad in input direction or output direction for functional mode or GPIO mode. The GLOBAL bits are overridden by the individual GPIO DIR and GPIO EN bits.
{GLOBAL GPIO DIR, GLOBAL GPIO EN}
00: Functional mode; output
10: Tri-state
01: Force mode; output
11: Force mode; input
4 GLOBAL GPIO FORCE EN RW 0
3 GPIO9 OUTPUT VALUE RW 0 Local GPIO Output Value
This value is output on the GPIO pin when the GPIO function is enabled, the local GPIO direction is Output, and remote GPIO control is disabled.
2 RESERVED RW 0 Reserved
1 GPIO9 DIR RW 0 The GPIO DIR and GPIO EN bits configure the pad in input direction or output direction for functional mode or GPIO mode.
{GPIO DIR, GPIO EN}
00: Functional mode; output
10: Tri-state
01: GPIO mode; output
11: GPIO mode; input
0 GPIO9 EN RW 0
0x1B Frequency Counter 7:0 Frequency Count RW 0 Frequency Counter control
A write to this register will enable a frequency counter to count the number of pixel clock during a specified time interval. The time interval is equal to the value written multiplied by the oscillator clock period (nominally 50ns). A read of the register returns the number of pixel clock edges seen during the enabled interval. The frequency counter will freeze at 0xff if it reaches the maximum value. The frequency counter will provide a rough estimate of the pixel clock period. If the pixel clock frequency is known, the frequency counter may be used to determine the actual oscillator clock frequency.
0x1C General Status 7:5 RESERVED R 0 Reserved.
4 DUAL_RX_STS R 0 Receiver Dual Link Status:
This bit indicates the current operating mode of the FPD-Link III Receive port
1: 2-lane mode active
0: 1-lane mode active
3 I2S LOCKED R 0 I2S LOCK STATUS
0: I2S PLL controller not locked
1: I2S PLL controller locked to input I2S clock
2 RESERVED R 0 Reserved.
1 RESERVED R 0/1 Reserved.
0 LOCK R 0 De-Serializer CDR, PLL's clock to recovered clock frequency
1: De-Serializer locked to recovered clock
0: De-Serializer not locked
In Dual Link mode, this indicates both channels are locked.
0x1D GPIO0 Config GPIO0 and D_GPIO0 Configuration
If PORT1_SEL is set, this register controls the D_GPIO0 pin
7:4 Rev-ID R Revision ID
3 GPIO0 OUTPUT VALUE
D_GPIO0 OUTPUT VALUE
RW 0 Local GPIO Output Value
This value is output on the GPIO pin when the GPIO function is enabled, the local GPIO direction is Output, and remote GPIO control is disabled.
2 GPIO0 REMOTE ENABLE
D_GPIO0 REMOTE ENABLE
RW 0 Remote GPIO Control
1: Enable GPIO control from remote Serializer. The GPIO pin will be an output, and the value is received from the remote Serializer.
0: Disable GPIO control from remote Serializer.
1 GPIO0 DIR
D_GPIO0 DIR
RW 0 The GPIO DIR and GPIO EN configures the pad in input direction or output direction for functional mode or GPIO mode.
{GPIO DIR, GPIO EN}
00: Functional mode; output
10: Tri-state
01: GPIO mode; output
11: GPIO mode; input
0 GPIO0 EN
D_GPIO0 EN
RW 0
0x1E GPIO1_2 Config GPIO1/GPIO2 and D_GPIO1/D_GPIO2 Configuration
If PORT1_SEL is set, this register controls the D_GPIO1 and D_GPIO2 pins
7 GPIO2 OUTPUT VALUE
D_GPIO2 OUTPUT VALUE
RW 0 Local GPIO Output Value
This value is output on the GPIO pin when the GPIO function is enabled, the local GPIO direction is Output, and remote GPIO control is disabled.
6 GPIO2 REMOTE ENABLE
D_GPIO2 REMOTE ENABLE
RW 0 Remote GPIO Control
1: Enable GPIO control from remote Serializer. The GPIO pin will be an output, and the value is received from the remote Serializer.
0: Disable GPIO control from remote Serializer.
5 GPIO2 DIR
D_GPIO2 DIR
RW 0 The GPIO DIR and GPIO EN configures the pad in input direction or output direction for functional mode or GPIO mode.
{GPIO DIR, GPIO EN}
00: Functional mode; output
10: Tri-state
01: GPIO mode; output
11: GPIO mode; input
4 GPIO2 EN
D_GPIO2 EN
RW 0
3 GPIO1 OUTPUT VALUE
D_GPIO1 OUTPUT VALUE
RW 0 Local GPIO Output Value
This value is output on the GPIO pin when the GPIO function is enabled, the local GPIO direction is Output, and remote GPIO control is disabled.
2 GPIO1 REMOTE ENABLE
D_GPIO1 REMOTE ENABLE
RW 0 Remote GPIO Control
1: Enable GPIO control from remote Serializer. The GPIO pin will be an output, and the value is received from the remote Serializer.
0: Disable GPIO control from remote Serializer.
1 GPIO1 DIR
D_GPIO1 DIR
RW 0 The GPIO DIR and GPIO EN configures the pad in input direction or output direction for functional mode or GPIO mode.
{GPIO DIR, GPIO EN}
00: Functional mode; output
10: Tri-state
01: GPIO mode; output
11: GPIO mode; input
0 GPIO1 EN
D_GPIO1 EN
RW 0
0x1F GPIO3 Config GPIO3 and D_GPIO3 Configuration
If PORT1_SEL is set, this register controls the D_GPIO3 pin
7:4 RESERVED RW 0 Reserved (No GPIO 4)
3 GPIO3 OUTPUT VALUE
D_GPIO3 OUTPUT VALUE
RW 0 Local GPIO Output Value
This value is output on the GPIO pin when the GPIO function is enabled, the local GPIO direction is Output, and remote GPIO control is disabled.
2 GPIO3 REMOTE ENABLE
D_GPIO3 REMOTE ENABLE
RW 0 Remote GPIO Control
1: Enable GPIO control from remote Serializer. The GPIO pin will be an output, and the value is received from the remote Serializer.
0: Disable GPIO control from remote Serializer.
1 GPIO3 DIR
D_GPIO3 DIR
RW 0 The GPIO DIR and GPIO EN configures the pad in input direction or output direction for functional mode or GPIO mode.
{GPIO DIR, GPIO EN}
00: Functional mode; output
10: Tri-state
01: GPIO mode; output
11: GPIO mode; input
0 GPIO3 EN
D_GPIO3 EN
RW 0
0x20 GPIO5_6 Config 7 GPIO6 OUTPUT VALUE RW 0 Local GPIO Output Value
This value is output on the GPIO pin when the GPIO function is enabled, the local GPIO direction is Output, and remote GPIO control is disabled.
6 GPIO6 REMOTE ENABLE RW 0 Remote GPIO Control
1: Enable GPIO control from remote Serializer. The GPIO pin will be an output, and the value is received from the remote Serializer.
0: Disable GPIO control from remote Serializer.
5 GPIO6 DIR RW 0 The GPIO DIR and GPIO EN configures the pad in input direction or output direction for functional mode or GPIO mode.
{GPIO DIR, GPIO EN}
00: Functional mode; output
10: Tri-state
01: GPIO mode; output
11: GPIO mode; input
4 GPIO6 EN RW 0
3 GPIO5 OUTPUT VALUE RW 0 Local GPIO Output Value
This value is output on the GPIO pin when the GPIO function is enabled, the local GPIO direction is Output, and remote GPIO control is disabled.
2 GPIO5 REMOTE ENABLE RW 0 Remote GPIO Control
1: Enable GPIO control from remote Serializer. The GPIO pin will be an output, and the value is received from the remote Serializer.
0: Disable GPIO control from remote Serializer.
1 GPIO5 DIR RW 0 The GPIO DIR and GPIO EN configures the pad in input direction or output direction for functional mode or GPIO mode.
{GPIO DIR, GPIO EN}
00: Functional mode; output
10: Tri-state
01: GPIO mode; output
11: GPIO mode; input
0 GPIO5 EN RW 0
0x21 GPIO7_8 Config 7 GPIO8 OUTPUT VALUE RW 0 Local GPIO Output Value
This value is output on the GPIO pin when the GPIO function is enabled, the local GPIO direction is Output, and remote GPIO control is disabled.
6 GPIO8 REMOTE ENABLE RW 0 Remote GPIO Control
1: Enable GPIO control from remote Serializer. The GPIO pin will be an output, and the value is received from the remote Serializer.
0: Disable GPIO control from remote Serializer.
5 GPIO8 DIR RW 0 The GPIO DIR and GPIO EN configures the pad in input direction or output direction for functional mode or GPIO mode.
{GPIO DIR, GPIO EN}
00: Functional mode; output
10: Tri-state
01: GPIO mode; output
11: GPIO mode; input
4 GPIO8 EN RW 0
3 GPIO7 OUTPUT VALUE RW 0 Local GPIO Output Value
This value is output on the GPIO pin when the GPIO function is enabled, the local GPIO direction is Output, and remote GPIO control is disabled.
2 GPIO7 REMOTE ENABLE RW 0 Remote GPIO Control
1: Enable GPIO control from remote Serializer. The GPIO pin will be an output, and the value is received from the remote Serializer.
0: Disable GPIO control from remote Serializer.
1 GPIO7 DIR RW 0 The GPIO DIR and GPIO EN configures the pad in input direction or output direction for functional mode or GPIO mode.
{GPIO DIR, GPIO EN}
00: Functional mode; output
10: Tri-state
01: GPIO mode; output
11: GPIO mode; input
0 GPIO7 EN RW 0
0x22 Datapath Control 7 OVERRIDE FC CONFIG RW 0 1: Disable loading of this register from the forward channel, keeping locally written values intact
0: Allow forward channel loading of this register
6 PASS RGB
(Loaded from remote SER)
RW 0 Setting this bit causes RGB data to be sent independent of DE. This allows operation in systems which may not use DE to frame video data or send other data when DE is deasserted. Note that this bit prevents HDCP operation and blocks packetized audio. This bit has no effect when paired with a serializer that does not support HDCP.
1: Pass RGB independent of DE
0: Normal operation
Note: this bit is automatically loaded from the remote serializer unless bit 7 of this register is set.
5 DE POLARITY
(Loaded from remote SER)
RW 0 This bit indicates the polarity of the DE (Data Enable) signal.
1: DE is inverted (active low, idle high)
0: DE is positive (active high, idle low)
Note: this bit is automatically loaded from the remote serializer unless bit 7 of this register is set.
4 I2S_RPTR_REGEN
(Loaded from remote SER)
RW 0 Regenerate I2S Data from Repeater I2S pins.
1: Don't output packetized audio data on RGB video output pins
0: Output packetized audio on RGB video output pins (Default).
Note: this bit is automatically loaded from the remote serializer unless bit 7 of this register is set.
3 I2S 4-CHANNEL ENABLE OVERRIDE
(Loaded from remote SER)
RW 0 1: Set I2S 4-Channel Enable from bit of this register
0: Set I2S 4-Channel disabled
Note: this bit is automatically loaded from the remote serializer unless bit 7 of this register is set.
2 18-BIT VIDEO SELECT
(Loaded from remote SER)
RW 0 1: Select 18-bit video mode
0: Select 24-bit video mode
Note: this bit is automatically loaded from the remote serializer unless bit 7 of this register is set.
1 I2S TRANSPORT SELECT
(Loaded from remote SER)
RW 0 1: Enable I2S In-Band Transport
0: Enable I2S Data Island Transport
Note: this bit is automatically loaded from the remote serializer unless bit 7 of this register is set.
0 I2S 4-CHANNEL ENABLE
(Loaded from remote SER)
RW 0 I2S 4-Channel Enable
1: Enable I2S 4-Channel
0: Disable I2S 4-Channel
Note: this bit is automatically loaded from the remote serializer unless bit 7 of this register is set.
0x23 RX Mode Status 7 RESERVED RW 0 Reserved
6 BC FREQ SELECT RW 0 Back Channel Frequency Select
0: Divide-by-4 frequency based on the internal oscillator
1: Divide-by-2 frequency based on the internal oscillator
This bit will be ignored if BC_HIGH_SPEED is set to a 1. Note that changing this setting will result in some errors on the back channel for a short period of time. If set over the control channel, the Serializer should first be programmed to Auto-Ack operation (Serializer register 0x03, bit 5) to avoid a control channel timeout due to lack of response from the Deserializer.
5 AUTO_I2S RW 1 Auto I2S
Determine I2S mode from the AUX data codes.
4 BC_HS_CTL RW 0 Back-Channel High-Speed control
Enables high-speed back-channel at 20Mbps.
This bit will override the BC_FREQ_SELECT setting.
Note that changing this setting will result in some errors on the back channel for a short period of time. If set over the control channel, the Serializer should first be programmed to Auto-Ack operation (Serializer register 0x03, bit 5) to avoid a control channel timeout due to lack of response from the Deserializer.
BC_HIGH_SPEED is loaded from the MODE_SEL1 pin strap options.
3 COAX_MODE RW 0 Coax Mode
Configures the FPD3 Receiver for operation over Coax or STP cabling:
0 : Shielded Twisted pair (STP)
1 : Coax
Coax Mode is loaded from the MODE_SEL1 pin strap options.
2 REPEATER_
MODE
RW 0 Repeater Mode
Indicates device is strapped to repeater mode. Repeater Mode is loaded from the MODE_SEL1 pin strap options.
1 RESERVED RW 0 Reserved
0 RESERVED RW 0 Reserved
0x24 BIST Control 7:6 BIST_OUT_
MODE
RW 0 BIST Output Mode
00 : No toggling
01 : Alternating 1/0 toggling
1x : Toggle based on BIST data
5:4 AUTO_OSC_FREQ RW 0 When register 0x02 bit 5 (AUTO)CLOCK_EN) is set, this field controls the nominal frequency of the oscillator-based receive clock.
00: 50 MHz
01: 25 MHz
10: 10 MHz
11: Reserved
3 BIST PIN CONFIG RW 1 Bist Configured through Pin.
1: Bist configured through pin.
0: Bist configured through bits 2:0 in this register
2:1 BIST CLOCK SOURCE RW 0 BIST Clock Source
This register field selects the BIST Clock Source at the Serializer. These register bits are automatically written to the CLOCK SOURCE bits (register offset 0x14) in the Serializer after BIST is enabled. See the appropriate Serializer register descriptions for details.
00: External Pixel Clock
01: Internal Pixel Clock
1x: Internal Pixel Clock
0 BIST_EN RW 0 BIST Control
1: Enabled
0: Disabled
0x25 BIST ERROR COUNT 7:0 BIST ERROR COUNT R 0 Bist Error Count
Returns BIST error count for selected port. Port selected is based on the PORT_SEL control in the DUAL_RX_CTL register 0x34 [1:0].
0x26 SCL High Time 7:0 SCL HIGH TIME RW 0x83 I2C Master SCL High Time
This field configures the high pulse width of the SCL output when the De-Serializer is the Master on the local I2C bus. Units are 50 ns for the nominal oscillator clock frequency. The default value is set to provide a minimum 5us SCL high time with the internal oscillator clock running at 26MHz rather than the nominal 20MHz.
0x27 SCL Low Time 7:0 SCL LOW TIME RW 0x84 I2C SCL Low Time
This field configures the low pulse width of the SCL output when the De-Serializer is the Master on the local I2C bus. This value is also used as the SDA setup time by the I2C Slave for providing data prior to releasing SCL during accesses over the Bidirectional Control Channel. Units are 50 ns for the nominal oscillator clock frequency. The default value is set to provide a minimum 5us SCL low time with the internal oscillator clock running at 26MHz rather than the nominal 20MHz.
0x28 Datapath Control 2 7 OVERRIDE FC CONFIG RW 0 1: Disable loading of this register from the forward channel, keeping locally witten values intact
0: Allow forward channel loading of this register
6 RESERVED RW 0 Reserved
5 VIDEO_
DISABLED
(Loaded from remote SER)
RW 0 Forward channel video disabled
0 : Normal operation
1 : Video is disabled, control channel is enabled
This is a status bit only, indicating the forward channel is not sending active video. In this mode, the control channel and GPIO functions are enabled. Setting OVERRIDE_FC_CONFIG will prevent this bit from changing.
4 DUAL_LINK
(Loaded from remote SER)
R 1: Dual Link mode enabled
0: Single Link mode enabled
This bit will always be loaded from forward channel and cannot be written locally. To force DUAL_LINK receive mode, use the RX_PORT_SEL register (address 0x34)
3 ALTERNATE I2S ENABLE
(Loaded from remote SER)
RW 0 1: Enable alternate I2S output on GPIO1 (word clock) and GPIO0 (data)
0: Normal Operation
2 I2S DISABLED
(Loaded from remote SER)
RW 0 1: I2S DISABLED
0: Normal Operation
1 28BIT VIDEO
(Loaded from remote SER)
RW 0 1: 28 bit Video enable. i.e. HS, VS, DE are present in forward channel.
0: Normal Operation
0 I2S SURROUND
(Loaded from remote SER)
RW 0 1: I2S Surround enabled
0: I2S Surround disabled
0x2B I2S Control 7:4 RESERVED RW 0 Reserved
3 I2S FIFO OVERRUN STATUS R 0 I2S FIFO Overrun Status
2 I2S FIFO UNDERRUN STATUS R 0 I2S FIFO Underrun Status
1 I2S FIFO ERROR RESET RW 0 I2S Fifo Error Reset
1: Clears FIFO Error
0 I2S DATA FALLING EDGE RW 0 I2S Clock Edge Select
1: I2S Data is strobed on the Rising Clock Edge.
0: I2S Data is strobed on the Falling Clock Edge.
0x2E PCLK Test Mode 7 EXTERNAL PCLK RW 0 Select pixel clock from BISTC input
6:0 RESERVED RW 0 Reserved
0x34 DUAL_RX_
CTL
7 RESERVED R 0 Reserved
6 RX_LOCK_
MODE
RW 0 RX Lock Mode:
Determines operating conditions for indication of RX_LOCK and generation of video data.
0 : RX_LOCK asserted only when receiving active video (Forward channel VIDEO_DISABLED bit is 0)
1 : RX_LOCK asserted when device is linked to a Serializer even if active video is not being sent. This allows indication of valid link where Bidirectional Control Channel is enabled, but Deserializer is not receiving Audio/Video data.
5 RAW_2ND_BC RW 0 Enable Raw Secondary Back channel
If this bit is set to a 1, the secondary back channel will operate in a raw mode, passing D_GPIO0 from the Deserializer to the Serializer, without any oversampling or filtering.
4:3 FPD3 INPUT MODE RW 0 FPD-Link III Input Mode
Determines operating mode of FPD-Link III Receive interface
00: Auto-detect based on received data
01: Forced Mode: 2-lane
10: Forced Mode: 1-lane, primary input
11: Forced Mode: 1-lane, secondary input
2 RESERVED RW 0 Reserved
1 PORT1_SEL RW 0 Selects Port 1 for Register Access from primary I2C Address
For writes, port1 registers and shared registers will both be written.
For reads, port1 registers and shared registers will be read. This bit must be cleared to read port0 registers.
0 PORT0_SEL RW 1 Selects Port 0 for Register Access from primary I2C Address
For writes, port0 registers and shared registers will both be written.
For reads, port0 registers and shared registers will both be read.
Note that if PORT1_SEL is also set, then port1 registers will be read.
0x35 AEQ TEST AEQ Test register
If PORT1_SEL is set, this register sets port1 AEQ controls
7 RESERVED RW 0 Reserved
6 AEQ_RESTART RW 0 Set high to restart AEQ adaptation from initial value. Method is write HIGH then write LOW - not self clearing. Adaption will be restarted on both ports.
5 OVERRIDE_AEQ_
FLOOR
RW 0 Enable operation of SET_AEQ_FLOOR
4 SET_AEQ_
FLOOR
RW 0 AEQ adaptation starts from a pre-set floor value rather than from zero - recommended for long cable situations
3:0 RESERVED RW 0x0 Reserved
0x37 MODE_SEL 7 MODE_SEL1 DONE RW 0 MODE_SEL1 Done:
0: indicates the MODE_SEL1 decode has not been latched into the MODE_SEL1 status bits.
1: indicates the MODE_SEL1 decode has completed and latched into the MODE_SEL1 status bits.
6:4 MODE_SEL1 RW 0 MODE_SEL1 Decode
3-bit decode from MODE_SEL1 pin, see MODE_SEL1 table first column "#" for mode selection:
000: CSI0 / 5 Mbps / STP (#1 on MODE_SEL1)
001: CSI0 / 5 Mbps / coax (#2 on MODE_SEL1)
010: CSI0 / 20 Mbps / STP (#3 on MODE_SEL1)
011: CSI0 / 20 Mbps / coax (#4 on MODE_SEL1)
100: CSI1 / 5 Mbps / STP (#5 on MODE_SEL1)
101: CSI1 / 5 Mbps / coax (#6 on MODE_SEL1)
110: CSI1 / 20 Mbps / STP (#7 on MODE_SEL1)
111: CSI1 / 20 Mbps / coax (#8 on MODE_SEL1)
Note: 0x37[6] is the MSB; 0x37[4] is the LSB
3 MODE_SEL0 DONE RW 0 MODE_SEL0 Done:
0: indicates the MODE_SEL0 decode has not been latched into the MODE_SEL0 status bits.
1: indicates the MODE_SEL0 decode has completed and latched into the MODE_SEL0 status bits.
2:0 MODE_SEL0 RW 0 MODE_SEL0 Decode
3-bit decode from MODE_SEL0 pin, see MODE_SEL0 table first column "#" for mode selection:
000: 4 data lanes, 1 CSI port active
..........Active CSI port determined by MODE_SEL1 CSI_SEL bit.
.......... (#1 on MODE_SEL0)
001: 4 data lanes, both CSI ports active
..........overrides MODE_SEL1. (#2 on MODE_SEL0)
010: 2 data lanes, 1 CSI port active
..........Active CSI port determined by MODE_SEL1 CSI_SEL bit.
.......... (#3 on MODE_SEL0)
011: 2 data lanes, both CSI port active
..........overrides MODE_SEL1. (#4 on MODE_SEL0)
100: RESERVED (#5 on MODE_SEL0)
101: RESERVED (#6 on MODE_SEL0)
110: RESERVED (#7 on MODE_SEL0)
111: RESERVED (#8 on MODE_SEL0)
Note: 0x37[2] is the MSB; 0x37[0] is the LSB
0x3A I2S_DIVSEL 7 reg_ov_mdiv RW 0x0 0: No override for MCLK divider
1: Override divider select for MCLK
6:4 reg_mdiv RW 0x0 Divide ratio select for VCO output (32*REF/M)
000: Divide by 32 (=REF/M)
001: Divide by 16 (=2*REF/M)
010: Divide by 8 (=4*REF/M)
011: Divide by 4 (=8*REF/M)
100: Reserved
101: Divide by 2 (=16*REF/M)
110: Reserved
111: Divide by 1 (32*REF/M)
3 RESERVED R 0x0
2 reg_ov_mselect RW 0x0 0: Divide ratio of reference clock VCO selected by PLL-SM
1: Override divide ratio of clock to VCO
1:0 reg_mselect RW 0x0 Divide ratio select for VCO input (M)
00: Divide by 1
01: Divide by 2
10: Divide by 4
11: Divide by 8
0x41 LINK ERROR COUNT 7:5 RESERVED RW 0 Reserved
4 LINK ERROR COUNT ENABLE RW 0 Enable serial link data integrity error count
1: Enable error count
0: DISABLE
3:0 LINK ERROR COUNT RW 0x3 Link error count threshold. Counter is pixel clock based. clk0, clk1 and DCA are monitored for link errors, if error count is enabled, deserializer loose lock once error count reaches threshold. If disabled deserilizer loose lock with one error.
0x43 HSCC_
CONTROL
7:5 RESERVED RW 0 Reserved
4 SPI_MISO_
MODE
RW 0 SPI MISO pin mode during Reverse SPI mode
During Reverse SPI mode, SPI_MISO is typically an output signal. For bused SPI applications, it may be necessary to tri-state the SPI_MISO output if the device is not selected (SPI_SS = 0).
0 : Always enable SPI_MISO output driver
1 : Tri-state SPI_MISO output if SPI_SS is not asserted (low)
3 SPI_CPOL RW 0 SPI Clock Polarity Control
0 : SPI Data driven on Falling clock edge, sampled on Rising clock edge
1 : SPI Data driven on Rising clock edge, sampled on Falling clock edge
2:0 HSCC_MODE RW 0 High-Speed Control Channel Mode
Enables high-speed modes for the secondary link back-channel, allowing higher speed signaling of GPIOs or SPI interface:
These bits indicates the High Speed Control Channel mode of operation:
000: Normal frame, GPIO mode
001: High Speed GPIO mode, 1 GPIO
010: High Speed GPIO mode, 2 GPIOs
011: High Speed GPIO mode: 4 GPIOs
100: Reserved
101: Reserved
110: High Speed, Forward Channel SPI mode
111: High Speed, Reverse Channel SPI mode
0x44 ADAPTIVE EQ BYPASS Adaptive Equalizer Bypass register
If PORT1_SEL is set, this register sets port1 AEQ controls
7:5 EQ STAGE 1 SELECT VALUE RW 0x3 EQ select value[5:3] - Used if adaptive EQ is bypassed.
4 RESERVED RW 0 Reserved
3:1 EQ STAGE 2 SELECT VALUE RW 0 EQ select value [2:0] - Used if adaptive EQ is bypassed.
0 ADAPTIVE EQ BYPASS RW 0 1: Disable adaptive EQ
0: Enable adaptive EQ
0x45 ADAPTIVE EQ MIN MAX Adaptive Equalizer Configuration
If PORT1_SEL is set, this register sets port1 AEQ configuration
7:4 RESERVED RW 0x08 Reserved
3:0 ADAPTIVE EQ FLOOR VALUE RW When AEQ floor is enabled by mode-sel pin or register (reg_35[5:4]) the starting setting is given by this register.
0x52 CML OUTPUT CTL1 7 CML CHANNEL SELECT 1 RW 0 Selects between PORT0 and PORT1 to output onto CMLOUT±.
0: Recovered forward channel data from RIN0± is output on CMLOUT±
1: Recovered forward channel data from RIN1± is output on CMLOUT±
CMLOUT driver must be enabled by setting 0x56[3] = 1.
Note: This bit must match 0x57[2:1] setting for PORT0 or PORT1.
6:0 RESERVED RW 0 Reserved
0x56 CML OUTPUT ENABLE 7:4 RESERVED RW 0 Reserved
3 CMLOUT ENABLE RW 0 Enable CMLOUT± Loop-through Driver
0: Disabled (Default)
1: Enabled
2:0 RESERVED RW 0 Reserved
0x57 CML OUTPUT CTL2 7:3 RESERVED RW 0 Reserved
2:1 CML CHANNEL SELECT 2 RW 0 Selects between PORT0 and PORT1 to output onto CMLOUT±.
01: Recovered forward channel data from RIN0± is output on CMLOUT±
10: Recovered forward channel data from RIN1± is output on CMLOUT±
CMLOUT driver must be enabled by setting 0x56[3] = 1.
Note: This must match 0x52[7] setting for PORT0 or PORT1.
0 RESERVED RW 0 Reserved
0x64 PGCTL 7:4 PATGEN_SEL RW 1 Fixed Pattern Select
This field selects the pattern to output when in Fixed Pattern Mode. Scaled patterns are evenly distributed across the horizontal or vertical active regions. This field is ignored when Auto-Scrolling Mode is enabled. The following table shows the color selections in non-inverted followed by inverted color mode:
0000: Reserved
0001: White/Black
0010: Black/White
0011: Red/Cyan
0100: Green/Magenta
0101: Blue/Yellow
0110: Horizontally Scaled Black to White/White to Black
0111: Horizontally Scaled Black to Red/White to Cyan
1000: Horizontally Scaled Black to Green/White to Magenta
1001: Horizontally Scaled Black to Blue/White to Yellow
1010: Vertically Scaled Black to White/White to Black
1011: Vertically Scaled Black to Red/White to Cyan
1100: Vertically Scaled Black to Green/White to Magenta
1101: Vertically Scaled Black to Blue/White to Yellow
1110: Custom color (or its inversion) configured in PGRS, PGGS, PGBS registers
1111: Reserved
See TI App Note AN-2198
3 PATGEN_UNH RW 0 Enables the UNH-IOL compliance test pattern:
0: Pattern type selected by PATGEN_SEL
1: Compliance test pattern is selected. Value of PATGEN_SEL is ignored.
2 PATGEN_
COLOR
RW 0 Enable Color Bars Pattern
0: Color Bars disabled (default)
1: Color bars enabled
Overides the selection from bits [7:4]
1 PATGEN_
VCOM_REV
RW 0 Reverse the order of color bands in VCOM pattern
0: Color sequence from top left is (YCBR) (default)
1: Color sequence from top left is (RBCY)
0 PATGEN_EN RW 0 Pattern Generator Enable:
1: Enable Pattern Generator
0: Disable Pattern Generator
0x65 PGCFG 7:5 RESERVED R 0 Reserved
4 PATGEN_18B RW 0 18-bit Mode Select:
1: Enable 18-bit color pattern generation. Scaled patterns will have 64 levels of brightness and the R, G, and B outputs use the six most significant color bits.
0: Enable 24-bit pattern generation. Scaled patterns use 256 levels of brightness.
This bit has no effect in external timing mode (PATGEN_TSEL = 0).
3 PATGEN_
EXTCLK
RW 0 Select PCLK of Pattern generator


1: Selects the external pixel clock when using internal timing.
0: Selects the internal divided clock when using internal timing.
This bit has no effect in external timing mode (PATGEN_TSEL = 0).

2 PATGEN_TSEL RW 0 Timing Select Control:
1: The Pattern Generator creates its own video timing as configured in the Pattern Generator Total Frame Size, Active Frame Size, Horizontal Sync Width, Vertical Sync Width, Horizontal Back Porch, Vertical Back Porch, and Sync Configuration registers.
0: the Pattern Generator uses external video timing from the pixel clock, Data Enable, Horizontal Sync, and Vertical Sync signals.
1 PATGEN_INV RW 0 Enable Inverted Color Patterns:
1: Invert the color output.
0: Do not invert the color output.
0 PATGEN_
ASCRL
RW 0 Auto-Scroll Enable:
1: The Pattern Generator will automatically move to the next enabled pattern after the number of frames specified in the Pattern Generator Frame Time (PGFT) register.
0: The Pattern Generator retains the current pattern.
0x66 PGIA 7:0 PATGEN_IA RW 0 Indirect Address:
This 8-bit field sets the indirect address for accesses to indirectly-mapped registers. It should be written prior to reading or writing the Pattern Generator Indirect Data register.
See TI App Note AN-2198.
0x67 PGID 7:0 PATGEN_ID RW 0 Indirect Data:
When writing to indirect registers, this register contains the data to be written. When reading from indirect registers, this register contains the readback value.
See TI App Note AN-2198.
0x68 PGDBG 7:4 RESERVED RW 0 Reserved
3 PATGEN_BIST_EN RW 0 Pattern Generator BIST Enable:
Enables Pattern Generator in BIST mode. Pattern Generator will compare received video data with local generator pattern. Upstream device must be programmed to the same pattern.
2:0 RESERVED RW 0 Reserved
0x69 PGTSTDAT 7 PATGEN_BIST_ERR R 0 Pattern Generator BIST Error Flag
During Pattern Generator BIST mode, this bit indicates if the BIST engine has detected errors. If the BIST Error Count (available in the Pattern Generator indirect registers) is non-zero, this flag will be set.
6:0 RESERVED R 0
0x6A CSICFG0 7:6 RESERVED RW 00 Reserved
5:4 LANE_CNT RW 00 Setup number of data lanes for the CSI ports.
00/01: 4 data lanes
10: 2 data lanes
3 ULPM RW 0 When set, put the data lanes in ultra-low power mode (LP00) by sending out a LP signalling sequence.
2 ULPS RW 0 When set with ULPM, put the clock lane into ultra-low power mode. No effect if ULPM is not set.
1 CONTS_CLK RW 0 When set, keep the clock lane running (in HS mode) during line blank (DE=0) and frame black (VS not active)
0 CSI_DIS RW 0 When set, disable the CSI state machine. Function as a soft reset.
0x6B CSICFG1 7:4 OFMT RW 0000 Program the output CSI data formats
0000: RGB888
0001: RGB666
0010: RGB565
0011: YUV420 Legacy
0100: YUV420
0101: YUV422_8
0110: RAW8
0111: RAW10
1000: RAW12
1001: YUV420 (CSPS)
3:2 IFMT RW 00 Program the input data format in HDMI terminology
00: RGB444
01: YUV422
10: YUV444
11: RAW
1 INV_VS RW 0 When set, the VS received from the digital receiver will be inverted. Because the CSI logic works on active-high VS, this bit is typically set when the VS from the data source is active-low.
0 INV_DE RW 0 When set, the DE received from the digital receiver will be inverted. Because the CSI logive works on active-high DE, this bit is typically set when the DE from the data source is active-low.
0x6C CSIIA 7:0 CSI_IA RW 0 Indirect address port for accessing CSI registers. Refer to Table 13
0x6D CSIID 7:0 CSI_ID RW 0 Indirect data port for accessing CSI registers. Refer to Table 13
0x6E GPI Pin Status 1 7 GPI7 Pin Status R 0 GPI7/I2S_WC pin status
6 GPI6 Pin Status R 0 GPI6/I2S_DA pin status
5 GPI5 Pin Status R 0 GPI5/I2S_DB pin status
4 RESERVED R 0 Reserved for future use
3 GPI3 Pin Status R 0 GPI3 / I2S_DD pin status
2 GPI2 Pin Status R 0 GPI2 / I2S_DC pin status
1 GPI1 Pin Status R 0 GPI1 pin status
0 GPI0 Pin Status R 0 GPI0 pin status
0x6F GPI Pin Status 2 7:1 RESERVED R 0 Reserved for future use
0 GPI8 Pin Status R 0 GPI8/I2S_CLK pin status
0xF0 RX ID 7:0 ID0 R 0x5F First byte ID code, ‘_’
0xF1 7:0 ID1 R 0x55 2nd byte of ID code, ‘U’
0xF2 7:0 ID2 R 0x48 3rd byte of ID code. Value will be either ‘B’ or ‘H’. ‘H’ indicates an HDCP capable device.
0xF3 7:0 ID3 R 0x39 4th byte of ID code: ‘9’
0xF4 7:0 ID4 R 0x34 5th byte of ID code: '4'
0xF5 7:0 ID5 R 0x30 6th byte of ID code: '0'

Table 13. CSI Indirect Register Table

Offset (hex) Register Name Bit(s) Default Value (hex) Function
0x09 RAW_ALIGN 7:5 0x00 Reserved
4 Raw Align.
0: RAW Output onto LSB's of RGB Bus
1: RAW Output onto MSB's of RGB Bus
3:0 Reserved
0x13 CSI_EN_PORT0 7 0 Register Control
0 = Disable
1 = Enable
6 0 Reserved
5:0 0x3F 0x00 = Disable CSI Port 0
0x3F = Enable CSI Port 0
0x14 CSI_EN_PORT1 7 0 Register Control
0 = Disable
1 = Enable
6 0 Reserved
5:0 0x00 0x00 = Disable CSI Port 1
0x3F = Enable CSI Port 1
0x16 CSIPASS 7:3 0x02 Reserved
2 CSI_PASS to GPIO3. Configures GPIO3 to output the PASS signal when this bit is set HIGH.
1 CSI_PASS to GPIO0. Configures GPIO0 to output the PASS signal when this bit is set HIGH. This is the default.
0 CSI_PASS. This bit reflects the status of the PASS signal.
0x2E CSI_VC_ID 7:6 0x00 CSI Virtual Channel identifier.
00: CSI-2 outputs with ID as virtual channel 0.
01: CSI-2 outputs with ID as virtual channel 1.
10: CSI-2 outputs with ID as virtual channel 2.
11: CSI-2 outputs with ID as virtual channel 3.
5:0 Reserved