SNOSAY8F September   2007  – April 2015 DP83640

PRODUCTION DATA.  

  1. 1Device Overview
    1. 1.1 Features
    2. 1.2 Applications
    3. 1.3 Description
    4. 1.4 Functional Block Diagram
  2. 2Revision History
  3. 3Pin Configuration and Functions
    1. 3.1  Pin Layout
    2. 3.2  Package Pin Assignments
    3. 3.3  Serial Management Interface (SMI)
    4. 3.4  MAC Data Interface
    5. 3.5  Clock Interface
    6. 3.6  LED Interface
    7. 3.7  IEEE 1588 Event/Trigger/Clock Interface
    8. 3.8  JTAG Interface
    9. 3.9  Reset and Power Down
    10. 3.10 Strap Options
    11. 3.11 10 Mb/s and 100 Mb/s PMD Interface
    12. 3.12 Power Supply Pins
  4. 4Specifications
    1. 4.1 Absolute Maximum Ratings
    2. 4.2 ESD Ratings
    3. 4.3 Recommended Operating Conditions
    4. 4.4 Thermal Information
    5. 4.5 DC Specifications
    6. 4.6 AC Timing Requirements
  5. 5Detailed Description
    1. 5.1 Overview
    2. 5.2 Functional Block Diagram
    3. 5.3 Feature Description
      1. 5.3.1 Media Configuration
      2. 5.3.2 Auto-Negotiation
        1. 5.3.2.1 Auto-Negotiation Pin Control
        2. 5.3.2.2 Auto-Negotiation Register Control
        3. 5.3.2.3 Auto-Negotiation Parallel Detection
        4. 5.3.2.4 Auto-Negotiation Restart
        5. 5.3.2.5 Enabling Auto-Negotiation Through Software
        6. 5.3.2.6 Auto-Negotiation Complete Time
      3. 5.3.3 Auto-MDIX
      4. 5.3.4 LED Interface
        1. 5.3.4.1 LEDs
        2. 5.3.4.2 LED Direct Control
      5. 5.3.5 Internal Loopback
      6. 5.3.6 Power Down/Interrupt
        1. 5.3.6.1 Power Down Control Mode
        2. 5.3.6.2 Interrupt Mechanisms
      7. 5.3.7 Energy Detect Mode
      8. 5.3.8 Link Diagnostic Capabilities
        1. 5.3.8.1 Linked Cable Status
          1. 5.3.8.1.1 Polarity Reversal
          2. 5.3.8.1.2 Cable Swap Indication
          3. 5.3.8.1.3 100-Mb Cable Length Estimation
          4. 5.3.8.1.4 Frequency Offset Relative to Link Partner
          5. 5.3.8.1.5 Cable Signal Quality Estimation
        2. 5.3.8.2 Link Quality Monitor
          1. 5.3.8.2.1 Link Quality Monitor Control and Status
          2. 5.3.8.2.2 Checking Current Parameter Values
          3. 5.3.8.2.3 Threshold Control
        3. 5.3.8.3 TDR Cable Diagnostics
        4. 5.3.8.4 TDR Pulse Generator
        5. 5.3.8.5 TDR Pulse Monitor
        6. 5.3.8.6 TDR Control Interface
        7. 5.3.8.7 TDR Results
      9. 5.3.9 BIST
    4. 5.4 Device Functional Modes
      1. 5.4.1  MAC Interface
      2. 5.4.2  MII Interface
        1. 5.4.2.1 Nibble-Wide MII Data Interface
        2. 5.4.2.2 Collision Detect
        3. 5.4.2.3 Carrier Sense
      3. 5.4.3  Reduced MII Interface
        1. 5.4.3.1 RMII Master Mode
        2. 5.4.3.2 RMII Slave Mode
      4. 5.4.4  Single Clock MII Mode
      5. 5.4.5  IEEE 802.3 MII Serial Management Interface
        1. 5.4.5.1 Serial Management Register Access
        2. 5.4.5.2 Serial Management Access Protocol
        3. 5.4.5.3 Serial Management Preamble Suppression
      6. 5.4.6  PHY Control Frames
      7. 5.4.7  PHY Status Frames
      8. 5.4.8  PHY Address
        1. 5.4.8.1 MII Isolate Mode
        2. 5.4.8.2 Broadcast Mode
      9. 5.4.9  Half Duplex vs. Full Duplex
      10. 5.4.10 Reset Operation
        1. 5.4.10.1 Hardware Reset
        2. 5.4.10.2 Full Software Reset
        3. 5.4.10.3 Soft Reset
        4. 5.4.10.4 PTP Reset
    5. 5.5 Programming
      1. 5.5.1 Architecture
        1. 5.5.1.1 100BASE-TX Transmitter
          1. 5.5.1.1.1 Code-Group Encoding and Injection
          2. 5.5.1.1.2 Scrambler
          3. 5.5.1.1.3 NRZ to NRZI Encoder
          4. 5.5.1.1.4 Binary to MLT-3 Convertor
        2. 5.5.1.2 100BASE-TX Receiver
          1. 5.5.1.2.1  Analog Front End
          2. 5.5.1.2.2  Digital Signal Processor
            1. 5.5.1.2.2.1 Base Line Wander Compensation
            2. 5.5.1.2.2.2 Digital Adaptive Equalization and Gain Control
          3. 5.5.1.2.3  Signal Detect
          4. 5.5.1.2.4  MLT-3 to Binary Decoder
          5. 5.5.1.2.5  Clock Recovery Module
          6. 5.5.1.2.6  NRZI to NRZ Decoder
          7. 5.5.1.2.7  Serial-to-Parallel
          8. 5.5.1.2.8  Descrambler
          9. 5.5.1.2.9  Code-Group Alignment
          10. 5.5.1.2.10 4B/5B Decoder
          11. 5.5.1.2.11 100BASE-TX Link Integrity Monitor
          12. 5.5.1.2.12 Bad SSD Detection
        3. 5.5.1.3 100BASE-FX Operation
          1. 5.5.1.3.1 100BASE-FX Transmit
          2. 5.5.1.3.2 100BASE-FX Receive
          3. 5.5.1.3.3 Far-End Fault
        4. 5.5.1.4 10BASE-T Transceiver Module
          1. 5.5.1.4.1  Operational Modes
          2. 5.5.1.4.2  Smart Squelch
          3. 5.5.1.4.3  Collision Detection and SQE
          4. 5.5.1.4.4  Carrier Sense
          5. 5.5.1.4.5  Normal Link Pulse Detection/Generation
          6. 5.5.1.4.6  Jabber Function
          7. 5.5.1.4.7  Automatic Link Polarity Detection and Correction
          8. 5.5.1.4.8  Transmit and Receive Filtering
          9. 5.5.1.4.9  Transmitter
          10. 5.5.1.4.10 Receiver
    6. 5.6 Memory
      1. 5.6.1 Register Block
        1. 5.6.1.1 Register Definition
          1. 5.6.1.1.1  Basic Mode Control Register (BMCR)
          2. 5.6.1.1.2  Basic Mode Status Register (BMSR)
          3. 5.6.1.1.3  PHY Identifier Register #1 (PHYIDR1)
          4. 5.6.1.1.4  PHY Identifier Register #2 (PHYIDR2)
          5. 5.6.1.1.5  Auto-Negotiation Advertisement Register (ANAR)
          6. 5.6.1.1.6  Auto-Negotiation Link Partner Ability Register (ANLPAR) (BASE Page)
          7. 5.6.1.1.7  Auto-Negotiation Link Partner Ability Register (ANLPAR) (Next Page)
          8. 5.6.1.1.8  Auto-Negotiate Expansion Register (ANER)
          9. 5.6.1.1.9  Auto-Negotiation Next Page Transmit Register (ANNPTR)
          10. 5.6.1.1.10 PHY Status Register (PHYSTS)
          11. 5.6.1.1.11 MII Interrupt Control Register (MICR)
          12. 5.6.1.1.12 MII Interrupt Status and Event Control Register (MISR)
          13. 5.6.1.1.13 Page Select Register (PAGESEL)
        2. 5.6.1.2 Extended Registers - Page 0
          1. 5.6.1.2.1  False Carrier Sense Counter Register (FCSCR)
          2. 5.6.1.2.2  Receiver Error Counter Register (RECR)
          3. 5.6.1.2.3  100 Mb/s PCS Configuration and Status Register (PCSR)
          4. 5.6.1.2.4  RMII and Bypass Register (RBR)
          5. 5.6.1.2.5  LED Direct Control Register (LEDCR)
          6. 5.6.1.2.6  PHY Control Register (PHYCR)
          7. 5.6.1.2.7  10Base-T Status/Control Register (10BTSCR)
          8. 5.6.1.2.8  CD Test and BIST Extensions Register (CDCTRL1)
          9. 5.6.1.2.9  PHY Control Register 2 (PHYCR2)
          10. 5.6.1.2.10 Energy Detect Control (EDCR)
          11. 5.6.1.2.11 PHY Control Frames Configuration Register (PCFCR)
        3. 5.6.1.3 Test Registers - Page 1
          1. 5.6.1.3.1 Signal Detect Configuration (SD_CNFG), Page 1
        4. 5.6.1.4 Link Diagnostics Registers - Page 2
          1. 5.6.1.4.1  100 Mb Length Detect Register (LEN100_DET), Page 2
          2. 5.6.1.4.2  100 Mb Frequency Offset Indication Register (FREQ100), Page 2
          3. 5.6.1.4.3  TDR Control Register (TDR_CTRL), Page 2
          4. 5.6.1.4.4  TDR Window Register (TDR_WIN), Page 2
          5. 5.6.1.4.5  TDR Peak Register (TDR_PEAK), Page 2
          6. 5.6.1.4.6  TDR Threshold Register (TDR_THR), Page 2
          7. 5.6.1.4.7  Variance Control Register (VAR_CTRL), Page 2
          8. 5.6.1.4.8  Variance Data Register (VAR_DATA), Page 2
          9. 5.6.1.4.9  Link Quality Monitor Register (LQMR), Page 2
          10. 5.6.1.4.10 Link Quality Data Register (LQDR), Page 2
          11. 5.6.1.4.11 Link Quality Monitor Register 2 (LQMR2), Page 2
        5. 5.6.1.5 PTP 1588 Base Registers - Page 4
          1. 5.6.1.5.1  PTP Control Register (PTP_CTL), Page 4
          2. 5.6.1.5.2  PTP Time Data Register (PTP_TDR), Page 4
          3. 5.6.1.5.3  PTP Status Register (PTP_STS), Page 4
          4. 5.6.1.5.4  PTP Trigger Status Register (PTP_TSTS), Page 4
          5. 5.6.1.5.5  PTP Rate Low Register (PTP_RATEL), Page 4
          6. 5.6.1.5.6  PTP Rate High Register (PTP_RATEH), Page 4
          7. 5.6.1.5.7  PTP Read Checksum (PTP_RDCKSUM), Page 4
          8. 5.6.1.5.8  PTP Write Checksum (PTP_WRCKSUM), Page 4
          9. 5.6.1.5.9  PTP Transmit Timestamp Register (PTP_TXTS), Page 4
          10. 5.6.1.5.10 PTP Receive Timestamp Register (PTP_RXTS), Page 4
          11. 5.6.1.5.11 PTP Event Status Register (PTP_ESTS), Page 4
          12. 5.6.1.5.12 PTP Event Data Register (PTP_EDATA), Page 4
        6. 5.6.1.6 PTP 1588 Configuration Registers - Page 5
          1. 5.6.1.6.1  PTP Trigger Configuration Register (PTP_TRIG), Page 5
          2. 5.6.1.6.2  PTP Event Configuration Register (PTP_EVNT), Page 5
          3. 5.6.1.6.3  PTP Transmit Configuration Register 0 (PTP_TXCFG0), Page 5
          4. 5.6.1.6.4  PTP Transmit Configuration Register 1 (PTP_TXCFG1), Page 5
          5. 5.6.1.6.5  PHY Status Frame Configuration Register 0 (PSF_CFG0), Page 5
          6. 5.6.1.6.6  PTP Receive Configuration Register 0 (PTP_RXCFG0), Page 5,
          7. 5.6.1.6.7  PTP Receive Configuration Register 1 (PTP_RXCFG1), Page 5
          8. 5.6.1.6.8  PTP Receive Configuration Register 2 (PTP_RXCFG2), Page 5
          9. 5.6.1.6.9  PTP Receive Configuration Register 3 (PTP_RXCFG3), Page 5
          10. 5.6.1.6.10 PTP Receive Configuration Register 4 (PTP_RXCFG4), Page 5
          11. 5.6.1.6.11 PTP Temporary Rate Duration Low Register (PTP_TRDL), Page 5
          12. 5.6.1.6.12 PTP Temporary Rate Duration High Register (PTP_TRDH), Page 5
        7. 5.6.1.7 PTP 1588 Configuration Registers - Page 6
          1. 5.6.1.7.1  PTP Clock Output Control Register (PTP_COC), Page 6
          2. 5.6.1.7.2  PHY Status Frame Configuration Register 1 (PSF_CFG1), Page 6
          3. 5.6.1.7.3  PHY Status Frame Configuration Register 2 (PSF_CFG2), Page 6
          4. 5.6.1.7.4  PHY Status Frame Configuration Register 3 (PSF_CFG3), Page 6
          5. 5.6.1.7.5  PHY Status Frame Configuration Register 4 (PSF_CFG4), Page 6
          6. 5.6.1.7.6  PTP SFD Configuration Register (PTP_SFDCFG), Page 6
          7. 5.6.1.7.7  PTP Interrupt Control Register (PTP_INTCTL), Page 6
          8. 5.6.1.7.8  PTP Clock Source Register (PTP_CLKSRC), Page 6
          9. 5.6.1.7.9  PTP Ethernet Type Register (PTP_ETR), Page 6
          10. 5.6.1.7.10 PTP Offset Register (PTP_OFF), Page 6
          11. 5.6.1.7.11 PTP GPIO Monitor Register (PTP_GPIOMON), Page 6
          12. 5.6.1.7.12 PTP Receive Hash Register (PTP_RXHASH), Page 6
  6. 6Application, Implementation, and Layout
    1. 6.1 Application Information
      1. 6.1.1 Key IEEE 1588 Features
        1. 6.1.1.1 IEEE 1588 Synchronized Clock
          1. 6.1.1.1.1 IEEE 1588 Clock Output
          2. 6.1.1.1.2 IEEE 1588 Clock Input
        2. 6.1.1.2 Packet Timestamps
          1. 6.1.1.2.1 IEEE 1588 Transmit Packet Parser and Timestamp
            1. 6.1.1.2.1.1 One-Step Operation
          2. 6.1.1.2.2 IEEE 1588 Receive Packet Parser and Timestamp
            1. 6.1.1.2.2.1 Receive Timestamp Insertion
          3. 6.1.1.2.3 NTP Packet Timestamp
        3. 6.1.1.3 Event Triggering and Timestamping
          1. 6.1.1.3.1 IEEE 1588 Event Triggering
          2. 6.1.1.3.2 IEEE 1588 Event Timestamping
        4. 6.1.1.4 PTP Interrupts
        5. 6.1.1.5 GPIO
    2. 6.2 Typical Application
      1. 6.2.1 Design Requirements
        1. 6.2.1.1 TPI Network Circuit
        2. 6.2.1.2 Fiber Network Circuit
        3. 6.2.1.3 ESD Protection
        4. 6.2.1.4 Clock In (X1) Recommendations
          1. 6.2.1.4.1 Oscillator
          2. 6.2.1.4.2 Crystal
        5. 6.2.1.5 Magnetics
      2. 6.2.2 Detailed Design Procedure
        1. 6.2.2.1 MAC Interface (MII/RMII)
          1. 6.2.2.1.1 Termination Requirement
          2. 6.2.2.1.2 Recommended Maximum Trace Length
        2. 6.2.2.2 Calculating Impedance
          1. 6.2.2.2.1 Microstrip Impedance - Single-Ended
          2. 6.2.2.2.2 Stripline Impedance - Single-Ended
          3. 6.2.2.2.3 Microstrip Impedance - Differential
          4. 6.2.2.2.4 Stripline Impedance - Differential
      3. 6.2.3 Application Curves
    3. 6.3 Layout
      1. 6.3.1 Layout Guidelines
        1. 6.3.1.1 PCB Layout Considerations
        2. 6.3.1.2 PCB Layer Stacking
      2. 6.3.2 Layout Example
    4. 6.4 Power Supply Recommendations
  7. 7Device and Documentation Support
    1. 7.1 Documentation Support
      1. 7.1.1 Related Documentation
    2. 7.2 Trademarks
    3. 7.3 Electrostatic Discharge Caution
    4. 7.4 Glossary
  8. 8Mechanical, Packaging, and Orderable Information

封装选项

机械数据 (封装 | 引脚)
散热焊盘机械数据 (封装 | 引脚)
订购信息

4 Specifications

4.1 Absolute Maximum Ratings(1)(2)

over operating free-air temperature range (unless otherwise noted)
MIN MAX UNIT
Supply Voltage (VCC) –0.5 4.2 V
DC Input Voltage (VIN) –0.5 to VCC + 0.5 V
DC Output Voltage (VOUT) –0.5 to VCC + 0.5 V
Maximum Case Temperature for TA = 85 °C 95 °C
Maximum Die Temperature (TJ) 150 °C
Lead Temperature (TL)
(Soldering, 10 s)
260 °C
Storage temperature, Tstg –65 150 °C
(1) Stresses beyond those listed under Absolute Maximum Ratings may cause permanent damage to the device. These are stress ratings only, and functional operation of the device at these or any other conditions beyond those indicated under Recommended Operating Conditions is not implied. Exposure to absolute-maximum-rated conditions for extended periods may affect device reliability.
(2) All voltage values are with respect to VSS, unless otherwise noted.

4.2 ESD Ratings

VALUE UNIT
V(ESD) Electrostatic discharge(3) Human body model (HBM), per ANSI/ESDA/JEDEC JS-001(1) ±8000 V
Charged device model (CDM), per JEDEC specification JESD22-C101(2) ±1000
(1) JEDEC document JEP155 states that 500-V HBM allows safe manufacturing with a standard ESD control process.
(2) JEDEC document JEP157 states that 250-V CDM allows safe manufacturing with a standard ESD control process.
(3) RZAP = 1.5k, CZAP = 120 pF

4.3 Recommended Operating Conditions

over operating free-air temperature range (unless otherwise noted)
MIN MAX UNIT
Analog Supply Voltage (VCC) 3.3 ± 0.3 V
I/O Supply Voltage (VI/O) 3.3 ± 10%
or
2.5 ± 5%
V
Industrial Temperature (TI) –40 85 °C
Power Dissipation (PD) with VI/O = 3.3 V 290 mW
Power Dissipation (PD) with VI/O = 2.5 V 260 mW

4.4 Thermal Information

THERMAL METRIC(1) PT UNIT
48 PINS
RθJA Junction-to-ambient thermal resistance 53.3(2) °C/W
RθJC(top) Junction-to-case (top) thermal resistance 24.7
(1) For more information about traditional and new thermal metrics, see the IC Package Thermal Metrics application report, SPRA953.
(2) No Airflow @ 1 W.

4.5 DC Specifications

PIN
TYPES
PARAMETER TEST
CONDITIONS
MIN TYP MAX UNIT
VIH I
I/O
Input High Voltage 2.0 V
VIL I
I/O
Input Low Voltage VI/O = 3.3 V 0.8 V
VI/O = 2.5 V 0.7 V
IIH I
I/O
Input High Current VIN = VI/O 10 µA
IIL I
I/O
Input Low Current VIN = GND 10 µA
VOL O
I/O
Output Low Voltage IOL = 4 mA 0.4 V
VOH O
I/O
Output High Voltage IOH = -4 mA VI/O - 0.5 V
IOZ O
I/O
TRI-STATE Output Leakage Current VOUT = VI/O or GND –10 10 µA
VTPTD_100 PMD Output Pair 100M Transmit Voltage 0.95 1 1.05 V
VTPTDsym PMD Output Pair 100M Transmit Voltage Symmetry ±2%
VTPTD_10 PMD Output Pair 10M Transmit Voltage 2.2 2.5 2.8 V
VFXTD_100 PMD Output Pair FX 100M Transmit Voltage 0.3 0.5 0.93 V
CIN1 I CMOS Input Capacitance 8 pF
COUT1 O CMOS Output Capacitance 8 pF
SDTHon PMD Input Pair 100BASE-TX Signal detect turnon threshold 1000 mV diff pk-pk
SDTHoff PMD Input Pair Signal detect turnoff threshold 200 mV diff pk-pk
VTH PMD Input Pair 10BASE-T Receive Threshold 300 585 mV
Idd100 Supply 100BASE-TX (Full Duplex) VCC = 3.3 V, VI/O = 3.3 V, IOUT = 0 mA(1) 88 mA
VCC = 3.3 V, VI/O = 2.5 V, IOUT = 0 mA(1) 84 mA
Idd10 Supply 10BASE-T (Full Duplex) VCC = 3.3 V, VI/O = 3.3 V, IOUT = 0 mA(1) 105 mA
VCC = 3.3 V, VI/O = 2.5 V, IOUT = 0 mA(1) 103 mA
Idd Supply Power Down Mode CLK_OUT disabled 10 mA
(1) For Idd measurements, outputs are not loaded

4.6 AC Timing Requirements

PARAMETER DESCRIPTION NOTES MIN TYP MAX UNIT
POWER-UP TIMING (Refer to Figure 4-1)
T2.1.1  Post Power Up Stabilization time prior to MDC preamble for register accesses(1) MDIO is pulled high for 32-bit serial management initialization. 167 ms
T2.1.2  Hardware Configuration Latch-in Time from power up(1) Hardware Configuration Pins are described in Section 3. 167
T2.1.3  Hardware Configuration pins transition to output drivers 50 ns
RESET TIMING (Refer to Figure 4-2)
T2.2.1  Post RESET Stabilization time prior to MDC preamble for register accesses MDIO is pulled high for 32-bit serial management initialization 3 µs
T2.2.2  Hardware Configuration Latch-in Time from the Deassertion of RESET (either soft or hard) Hardware Configuration Pins are described in Section 3 3 µs
T2.2.3  Hardware Configuration pins transition to output drivers(2) 50 ns
T2.2.4  RESET pulse width X1 Clock must be stable for at min. of 1 µs during RESET pulse low time. 1 µs
MII SERIAL MANAGEMENT TIMING (Refer to Figure 4-3)
T2.3.1  MDC to MDIO (Output) Delay Time 0 20 ns
T2.3.2  MDIO (Input) to MDC Setup Time 10
T2.3.3  MDIO (Input) to MDC Hold Time 10
T2.3.4  MDC Frequency 2.5 25 MHz
100 Mb/s MII TRANSMIT TIMING (Refer to Figure 4-4)
T2.4.1  TX_CLK High/Low Time 100 Mb/s Normal mode 16 20 24 ns
T2.4.2  TXD[3:0], TX_EN Data Setup to TX_CLK 10
T2.4.3  TXD[3:0], TX_EN Data Hold from TX_CLK 0
100 Mb/s MII RECEIVE TIMING (Refer to Figure 4-5)
T2.5.1  RX_CLK High/Low Time(3) 100 Mb/s Normal mode 16 20 24 ns
T2.5.2  RX_CLK to RXD[3:0], RX_DV, RX_ER Delay 10 30
100BASE-TX AND 100BASE-FX MII TRANSMIT PACKET LATENCY TIMING (Refer to Figure 4-6)
T2.6.1  TX_CLK to PMD Output Pair Latency(5) 100BASE-TX and 100BASE-FX modes
IEEE 1588 One-Step Operation enabled(4)
5
9
bits
100BASE-TX AND 100BASE-FX MII TRANSMIT PACKET DEASSERTION TIMING (Refer to Figure 4-7)
T2.7.1  TX_CLK to PMD Output Pair Deassertion(6) 100BASE-TX and 100BASE-FX modes 5 bits
100BASE-TX TRANSMIT TIMING (tR/F and Jitter) (Refer to Figure 4-8)
T2.8.1  100 Mb/s PMD Output Pair tR and tF(8) 3 4 5 ns
100 Mb/s tR and tF Mismatch(7) 500 ps
T2.8.2  100 Mb/s PMD Output Pair Transmit Jitter 1.4 ns
100BASE-TX AND 100BASE-FX MII RECEIVE PACKET LATENCY TIMING (Refer to Figure 4-9)
T2.9.1  Carrier Sense ON Delay(9) 100BASE-TX mode 20 bits(10)
100BASE-FX mode 10
T2.9.2  Receive Data Latency(11)(12) 100BASE-TX mode 24
100BASE-FX mode 14
100BASE-TX AND 100BASE-FX MII RECEIVE PACKET DEASSERTION TIMING (Refer to Figure 4-10)
T2.10.1  Carrier Sense OFF Delay(13) 100BASE-TX mode 24 bits(14)
100BASE-FX mode 14
10 Mb/s MII TRANSMIT TIMING(15) (Refer to Figure 4-11)
T2.11.1  TX_CLK High/Low Time 10 Mb/s MII mode 190 200 210 ns
T2.11.2  TXD[3:0], TX_EN Data Setup to TX_CLK falling edge 10 Mb/s MII mode 25
T2.11.3  TXD[3:0], TX_EN Data Hold from TX_CLK rising edge 10 Mb/s MII mode 0
10 Mb/s MII RECEIVE TIMING (Refer to Figure 4-12)
T2.12.1  RX_CLK High/Low Time(16) 160 200 240 ns
T2.12.2  RXD[3:0], RX_DV transition delay from RX_CLK rising edge 10 Mb/s MII mode 100
T2.12.3  RX_CLK rising edge delay from RXD[3:0], RX_DV valid data 10 Mb/s MII mode 100
10BASE-T MII TRANSMIT TIMING (START OF PACKET) (Refer to Figure 4-13)
T2.13.1  Transmit Output Delay from the 10 Mb/s MII mode 3.5 bits(17)
Falling Edge of TX_CLK
10BASE-T MII TRANSMIT TIMING (END OF PACKET) (Refer to Figure 4-14)
T2.14.1  End of Packet High Time 250 300 ns
(with '0' ending bit)
T2.14.2  End of Packet High Time 250 300 ns
(with '1' ending bit)
10BASE-T MII RECEIVE TIMING (START OF PACKET) (Refer to Figure 4-15)
T2.15.1  Carrier Sense Turnon Delay (PMD Input Pair to CRS) 630 1000 ns
T2.15.2  RX_DV Latency(18) 10 bits(19)
T2.15.3  Receive Data Latency Measurement shown from SFD 8
10BASE-T MII RECEIVE TIMING (END OF PACKET) (Refer to Figure 4-16)
T2.16.1  Carrier Sense Turnoff Delay 1.0 µs
10 Mb/s HEARTBEAT TIMING (Refer to Figure 4-17)
T2.17.1  CD Heartbeat Delay All 10 Mb/s modes 1200 ns
T2.17.2  CD Heartbeat Duration All 10 Mb/s modes 1000
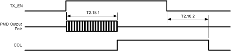
10 Mb/s JABBER TIMING (Refer to Figure 4-18)
T2.18.1  Jabber Activation Time 85 ms
T2.18.2  Jabber Deactivation Time 500
10BASE-T NORMAL LINK PULSE TIMING(20) (Refer to Figure 4-19)
T2.19.1  Pulse Width 100 ns
T2.19.2  Pulse Period 16 ms
AUTO-NEGOTIATION FAST LINK PULSE (FLP) TIMING(21) (Refer to Figure 4-20)
T2.20.1  Clock, Data Pulse Width 100 ns
T2.20.2  Clock Pulse to Clock Pulse Period 125 µs
T2.20.3  Clock Pulse to Data Pulse Period Data = 1 62
T2.20.4  Burst Width 2 ms
T2.20.5  FLP Burst to FLP Burst Period 16
100BASE-TX SIGNAL DETECT TIMING(22) (Refer to Figure 4-21)
T2.21.1  SD Internal Turnon Time 1 ms
T2.21.2  SD Internal Turnoff Time Default operation
Fast link-loss indication enabled(23)
250
1.3
300 µs
µs
100 Mb/s INTERNAL LOOPBACK TIMING (Refer to Figure 4-22)
T2.22.1  TX_EN to RX_DV Loopback(24) 100 Mb/s internal loopback mode(25) 240 ns
10 Mb/s INTERNAL LOOPBACK TIMING (Refer to Figure 4-23)
T2.23.1  TX_EN to RX_DV Loopback 10 Mb/s internal loopback mode(26) 2 µs
RMII TRANSMIT TIMING (SLAVE MODE) (Refer to Figure 4-24)
T2.24.1  X1 Clock Period 50-MHz Reference Clock 20 ns
T2.24.2  TXD[1:0], TX_EN, Data Setup to X1 rising edge 4
T2.24.3  TXD[1:0], TX_EN, Data Hold from X1 rising edge 2
T2.24.4  X1 Clock to PMD Output Pair Latency (100 Mb)(27) 100BASE-TX or 100BASE-FX 11 bits
RMII TRANSMIT TIMING (MASTER MODE) (Refer to Figure 4-25)
T2.25.1  RX_CLK, TX_CLK, CLK_OUT Period 50-MHz Reference Clock 20 ns
T2.25.2  TXD[1:0], TX_EN Data Setup to RX_CLK, TX_CLK, CLK_OUT rising edge 4
T2.25.3  TXD[1:0], TX_EN Data Hold from RX_CLK, TX_CLK, CLK_OUT rising edge 2
T2.25.4  RX_CLK, TX_CLK, CLK_OUT to PMD Output Pair Latency(28) From RX_CLK rising edge to first bit of symbol 11 bits
RMII RECEIVE TIMING (SLAVE MODE)(29) (Refer to Figure 4-26)
T2.26.1  X1 Clock Period 50-MHz Reference Clock 20 ns
T2.26.2  RXD[1:0], CRS_DV, and RX_ER output delay from X1 rising edge(30) 2 14
T2.26.3  CRS ON delay(31) 100BASE-TX mode 18.5 bits
100BASE-FX mode 9
T2.26.4  CRS OFF delay (32) 100BASE-TX mode 27
100BASE-FX mode 17
T2.26.5  RXD[1:0] and RX_ER latency(33)(34)(35) 100BASE-TX mode 38
100BASE-FX mode 27
RMII RECEIVE TIMING (MASTER MODE)(36) (Refer to Figure 4-27)
T2.27.1  RX_CLK, TX_CLK, CLK_OUT Clock Period 50-MHz Reference Clock 20 ns
T2.27.2  RXD[1:0], CRS_DV, RX_DV and RX_ER output delay from RX_CLK, TX_CLK, CLK_OUT rising edge(37) 2 14
T2.27.3  CRS ON delay(38) 100BASE-TX mode 18.5 bits
100BASE-FX mode 9
T2.27.4  CRS OFF delay (39) 100BASE-TX mode 27
100BASE-FX mode 17
T2.27.5  RXD[1:0] and RX_ER latency (40) 100BASE-TX mode 38
100BASE-FX mode 27
RX_CLK TIMING (RMII MASTER MODE) (Refer to Figure 4-28)
T2.28.1  RX_CLK High Time(41) 12 ns
T2.28.2  RX_CLK Low Time(41) 8
T2.28.3  RX_CLK Period 20
CLK_OUT TIMING (RMII SLAVE MODE) (Refer to Figure 4-29)
T2.29.1  CLK_OUT High/Low Time 10 ns
T2.29.2  CLK_OUT propagation delay Relative to X1 8
SINGLE CLOCK MII (SCMII) TRANSMIT TIMING (Refer to Figure 4-30)
T2.30.1  X1 Clock Period 25-MHz Reference Clock 40 ns
T2.30.2  TXD[3:0], TX_EN Data Setup To X1 rising edge 4
T2.30.3  TXD[3:0], TX_EN Data Hold From X1 rising edge 2
T2.30.4  X1 Clock to PMD Output Pair Latency (100 Mb)(42) 100BASE-TX or 100BASE-FX 13 bits
SINGLE CLOCK MII (SCMII) RECEIVE TIMING (Refer to Figure 4-31)
T2.31.1  X1 Clock Period 25-MHz Reference Clock(44) 40 ns
T2.31.2  RXD[3:0], RX_DV and RX_ER output delay(43) From X1 rising edge 2 18
T2.31.3  CRS ON delay (45) 100BASE-TX mode 19 bits
100BASE-FX mode 9
T2.31.4  CRS OFF delay (46) 100BASE-TX mode 26
100BASE-FX mode 16
T2.31.5  RXD[3:0] and RX_ER latency(47) 100BASE-TX mode 56
100BASE-FX mode 46
100 Mb/s X1 TO TX_CLK TIMING (Refer to Figure 4-32)
T2.32.1  X1 to TX_CLK delay(48) 100 Mb/s Normal mode 0 5 ns
(1) In RMII Slave Mode, the minimum Post Power up Stabilization and Hardware Configuration Latch-in times are 84 ms.
(2) It is important to choose pullup and/or pulldown resistors for each of the hardware configuration pins that provide fast RC time constants in order to latch-in the proper value prior to the pin transitioning to an output driver.
(3) RX_CLK may be held low or high for a longer period of time during transition between reference and recovered clocks. Minimum high and low times will not be violated.
(4) For Normal mode, latency is determined by measuring the time from the first rising edge of TX_CLK occurring after the assertion of TX_EN to the first bit of the “J” code group as output from the PMD Output Pair. 1 bit time = 10 ns in 100 Mb/s mode.
(5) Enabling PHY Control Frames will add latency equal to 8 bits times the PCF_BUF_SIZE setting. For example if PCF_BUF_SIZE is set to 15, then the additional delay will be 15*8= 120 bits.
(6) Deassertion is determined by measuring the time from the first rising edge of TX_CLK occurring after the deassertion of TX_EN to the first bit of the "T" code group as output from the PMD Output Pair. 1 bit time = 10 ns in 100 Mb/s mode.
(7) Normal Mismatch is the difference between the maximum and minimum of all rise and fall times.
(8) Rise and fall times taken at 10% and 90% of the +1 or –1 amplitude.
(9) Carrier Sense On Delay is determined by measuring the time from the first bit of the “J” code group to the assertion of Carrier Sense.
(10) 1 bit time = 10 ns in 100 Mb/s mode.
(11) Enabling IEEE 1588 Receive Timestamp insertion will increase the Receive Data Latency by 40 bit times.
(12) Enabling PHY Status Frames will introduce variability in Receive Data Latency due to insertion of PHY Status Frames into the receive datapath.
(13) Carrier Sense Off Delay is determined by measuring the time from the first bit of the “T” code group to the deassertion of Carrier Sense.
(14) 1 bit time = 10 ns in 100 Mb/s mode.
(15) An attached Mac should drive the transmit signals using the positive edge of TX_CLK. As shown above, the MII signals are sampled on the falling edge of TX_CLK.
(16) RX_CLK may be held low for a longer period of time during transition between reference and recovered clocks. Minimum high and low times will not be violated.
(17) 1 bit time = 100 ns in 10 Mb/s mode.
(18) 10BASE-T RX_DV Latency is measured from first bit of preamble on the wire to the assertion of RX_DV.
(19) 1 bit time = 100 ns in 10 Mb/s mode.
(20) These specifications represent transmit timings.
(21) These specifications represent transmit timings.
(22) The signal amplitude on PMD Input Pair must be TP-PMD compliant.
(23) Fast Link-loss detect is enabled by setting the SD_CNFG[8] register bit to a 1.
(24) Due to the nature of the descrambler function, all 100BASE-TX Loopback modes will cause an initial “dead-time” of up to 550 µs during which time no data will be present at the receive MII outputs. The 100BASE-TX timing specified is based on device delays after the initial 550 µs “dead-time”.
(25) Measurement is made from the first rising edge of TX_CLK after assertion of TX_EN.
(26) Measurement is made from the first falling edge of TX_CLK after assertion of TX_EN.
(27) Latency measurement is made from the X1 rising edge to the first bit of symbol.
(28) Latency measurement is made from the RX_CLK rising edge to the first bit of symbol.
(29) Per the RMII Specification, output delays assume a 25-pF load.
(30) CRS_DV is asserted asynchronously in order to minimize latency of control signals through the PHY. CRS_DV may toggle synchronously at the end of the packet to indicate CRS deassertion.
(31) CRS ON delay is measured from the first bit of the JK symbol on the PMD Input Pair to initial assertion of CRS_DV.
(32) CRS OFF delay is measured from the first bit of the TR symbol on the PMD Input Pair to initial deassertion of CRS_DV.
(33) Receive Latency is measured from the first bit of the symbol pair on the PMD Input Pair. Typical values are with the Elasticity Buffer set to the default value (01).
(34) Enabling IEEE 1588 Receive Timestamp insertion will increase the Receive Data Latency by 40 bit times.
(35) Enabling PHY Status Frames will introduce variability in Receive Data Latency due to insertion of PHY Status Frames into the receive datapath.
(36) Per the RMII Specification, output delays assume a 25-pF load.
(37) CRS_DV is asserted asynchronously in order to minimize latency of control signals through the PHY. CRS_DV may toggle synchronously at the end of the packet to indicate CRS deassertion.
(38) CRS ON delay is measured from the first bit of the JK symbol on the PMD Input Pair to initial assertion of CRS_DV.
(39) CRS OFF delay is measured from the first bit of the TR symbol on the PMD Input Pair to initial deassertion of CRS_DV.
(40) Receive Latency is measured from the first bit of the symbol pair on the PMD Input Pair. Typical values are with the Elasticity Buffer set to the default value (01).
(41) The High Time and Low Tme will add up to 20 ns.
(42) Latency measurement is made from the X1 rising edge to the first bit of symbol.
(43) Output delays assume a 25-pF load.
(44) CRS is asserted and deasserted asynchronously relative to the reference clock.
(45) CRS ON delay is measured from the first bit of the JK symbol on the PMD Input Pair to assertion of CRS_DV.
(46) CRS OFF delay is measured from the first bit of the TR symbol on the PMD Input Pair to deassertion of CRS_DV.
(47) Receive Latency is measured from the first bit of the symbol pair on the PMD Input Pair. Typical values are with the Elasticity Buffer set to the default value (01).
(48) X1 to TX_CLK timing is provided to support devices that use X1 instead of TX_CLK as the reference for transmit MII data.
DP83640 30011220.gifFigure 4-1 Power Up Timing
DP83640 30011221.gifFigure 4-2 Reset Timing
DP83640 30011222.gifFigure 4-3 MII Serial Management Timing
DP83640 30011223.gifFigure 4-4 100 Mb/s MII Transmit Timing
DP83640 30011224.gifFigure 4-5 100 Mb/s MII Receive Timing
DP83640 30011225.gifFigure 4-6 100BASE-TX and 100BASE-FX MII Transmit Packet Latency Timing
DP83640 30011226.gifFigure 4-7 100BASE-TX and 100BASE-FX MII Transmit Packet Deassertion Timing
DP83640 30011227.gifFigure 4-8 100BASE-TX Transmit Timing (tR/F and Jitter)
DP83640 30011228.gifFigure 4-9 100BASE-TX and 100BASE-FX MII Receive Packet Latency Timing
DP83640 30011229.gifFigure 4-10 100BASE-TX and 100BASE-FX MII Receive Packet Deassertion Timing
DP83640 30011230.gifFigure 4-11 10 Mb/s MII Transmit Timing
DP83640 30011231.gifFigure 4-12 10 Mb/s MII Receive Timing
DP83640 30011234.gifFigure 4-13 10BASE-T MII Transmit Timing (Start of Packet)
DP83640 30011235.gifFigure 4-14 10BASE-T MII Transmit Timing (End of Packet)
DP83640 30011236.gifFigure 4-15 10BASE-T MII Receive Timing (Start of Packet)
DP83640 30011237.gifFigure 4-16 10BASE-T MII Receive Timing (End of Packet)
DP83640 30011238.gifFigure 4-17 10 Mb/s Heartbeat Timing
DP83640 30011239.gifFigure 4-18 10 Mb/s Jabber Timing
DP83640 30011240.gifFigure 4-19 10BASE-T Normal Link Pulse Timing
DP83640 30011241.gifFigure 4-20 Auto-Negotiation Fast Link Pulse (FLP) Timing
DP83640 30011242.gifFigure 4-21 100BASE-TX Signal Detect Timing
DP83640 30011243.gifFigure 4-22 100 Mb/s Internal Loopback Timing
DP83640 30011244.gifFigure 4-23 10 Mb/s Internal Loopback Timing
DP83640 30011245.gifFigure 4-24 RMII Transmit Timing (Slave Mode)
DP83640 30011254.gifFigure 4-25 RMII Transmit Timing (Master Mode)
DP83640 30011255.gifFigure 4-26 RMII Receive Timing (Slave Mode)
DP83640 30011246.gifFigure 4-27 RMII Receive Timing (Master Mode)
DP83640 30011256.gifFigure 4-28 RX_CLK Timing (RMII Master Mode)
DP83640 30011257.gifFigure 4-29 CLK_OUT Timing (RMII Slave Mode)
DP83640 30011247.gifFigure 4-30 Single Clock MII (SCMII) Transmit Timing
DP83640 30011248.gifFigure 4-31 Single Clock MII (SCMII) Receive Timing
DP83640 30011258.gifFigure 4-32 100 Mb/s X1 to TX_CLK Timing