ZHCSC08C December   2013  – August 2015 DLPC6401

PRODUCTION DATA.  

  1. 特性
  2. 应用
  3. 说明
  4. 修订历史记录
  5. Pin Configuration and Functions
  6. Specifications
    1. 6.1  Absolute Maximum Ratings
    2. 6.2  ESD Ratings
    3. 6.3  Recommended Operating Conditions
    4. 6.4  Thermal Information
    5. 6.5  Electrical Characteristics
    6. 6.6  Electrical Characteristics (Normal Mode)
    7. 6.7  System Oscillators Timing Requirements
    8. 6.8  Test and Reset Timing Requirements
    9. 6.9  JTAG Interface: I/O Boundary Scan Application Timing Requirements
    10. 6.10 Port 1 Input Pixel Interface Timing Requirements
    11. 6.11 Port 2 Input Pixel Interface (FPD-Link Compatible LVDS Input) Timing Requirements
    12. 6.12 Synchronous Serial Port (SSP) Interface Timing Requirements
    13. 6.13 Programmable Output Clocks Switching Characteristics
    14. 6.14 Synchronous Serial Port (SSP) Interface Switching Characteristics
    15. 6.15 JTAG Interface: I/O Boundary Scan Application Switching Characteristics
  7. Detailed Description
    1. 7.1 Overview
    2. 7.2 Functional Block Diagram
    3. 7.3 Feature Description
      1. 7.3.1 System Reset Operation
        1. 7.3.1.1 Power-Up Reset Operation
        2. 7.3.1.2 System Reset Operation
        3. 7.3.1.3 Spread Spectrum Clock Generator Support
        4. 7.3.1.4 GPIO Interface
        5. 7.3.1.5 Source Input Blanking
        6. 7.3.1.6 Video and Graphics Processing Delay
      2. 7.3.2 Program Memory Flash/SRAM Interface
        1. 7.3.2.1 Calibration and Debug Support
        2. 7.3.2.2 Board-Level Test Support
    4. 7.4 Device Functional Modes
  8. Application and Implementation
    1. 8.1 Application Information
    2. 8.2 Typical Application
      1. 8.2.1 Design Requirements
        1. 8.2.1.1 Recommended MOSC Crystal Oscillator Configuration
      2. 8.2.2 Detailed Design Procedure
      3. 8.2.3 Application Curve
  9. Power Supply Recommendations
    1. 9.1 System Power Regulation
    2. 9.2 System Power-Up Sequence
    3. 9.3 Power-On Sense (POSENSE) Support
    4. 9.4 System Environment and Defaults
      1. 9.4.1 DLPC6401 System Power-Up and Reset Default Conditions
      2. 9.4.2 1.2-V System Power
      3. 9.4.3 1.8-V System Power
      4. 9.4.4 1.9-V System Power
      5. 9.4.5 3.3-V System Power
      6. 9.4.6 FPD-Link Input LVDS System Power
      7. 9.4.7 Power Good (PWRGOOD) Support
      8. 9.4.8 5-V Tolerant Support
  10. 10Layout
    1. 10.1 Layout Guidelines
      1. 10.1.1 PCB Layout Guidelines for Internal ASIC Power
      2. 10.1.2 PCB Layout Guidelines for Quality Auto-Lock Performance
      3. 10.1.3 DMD Interface Considerations
      4. 10.1.4 General Handling Guidelines for Unused CMOS-Type Pins
    2. 10.2 Layout Example
    3. 10.3 Thermal Considerations
  11. 11器件和文档支持
    1. 11.1 器件支持
      1. 11.1.1 器件命名规则
        1. 11.1.1.1 视频时序参数定义
        2. 11.1.1.2 器件标记
    2. 11.2 社区资源
    3. 11.3 商标
    4. 11.4 静电放电警告
    5. 11.5 Glossary
  12. 12机械、封装和可订购信息

封装选项

机械数据 (封装 | 引脚)
散热焊盘机械数据 (封装 | 引脚)
订购信息

7 Detailed Description

7.1 Overview

The DLPC6401 is the display controller for the DLP4500 (.45 WXGA) DMD. DLPC6401 is part of the chipset comprised of the DLPC6401 controller and DLP4500 (.45 WXGA) DMD. Both the controller and the DMD must be used in conjunction with each other for reliable operation of the DLP4500 (.45 WXGA) DMD. The DLPC6401 display controller provides interfaces and data- and image-processing functions that are optimized for small form factor, high-resolution, and high-brightness display applications. Applications include pico projectors, smart projectors, screenless displays, interactive displays, wearable displays, and digital signage. Standalone projectors must include a separate front-end chip to interface to the outside world (for example, video decoder, HDMI receiver, triple ADC, or USB I/F chip).

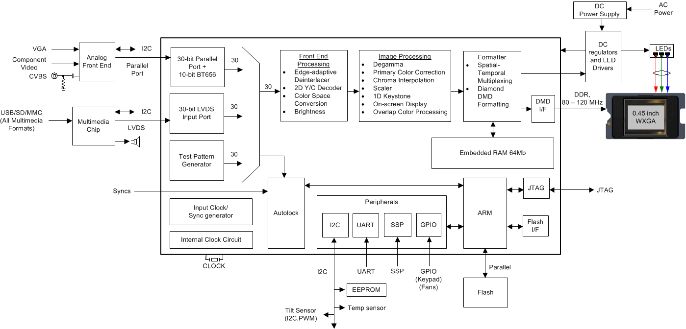
7.2 Functional Block Diagram

DLPC6401 img1_DLPS031.gif

7.3 Feature Description

Table 2. (LVDS) Receiver Supported Pixel Mapping Modes(1)

LVDS RECEIVER INPUT MAPPING SELECTION 1 MAPPING SELECTION 2 MAPPING SELECTION 3 MAPPING SELECTION 4(2) [18-Bit Mode]
RA Input Channel
RDA(6) Map to GRN(4) Map to GRN(2) Map to GRN(0) Map to GRN(4)
RDA(5) Map to RED(9) Map to RED(7) Map to RED(5) Map to RED(9)
RDA(4) Map to RED(8) Map to RED(6) Map to RED(4) Map to RED(8)
RDA(3) Map to RED(7) Map to RED(5) Map to RED(3) Map to RED(7)
RDA(2) Map to RED(6) Map to RED(4) Map to RED(2) Map to RED(6)
RDA(1) Map to RED(5) Map to RED(3) Map to RED(1) Map to RED(5)
RDA(0) Map to RED(4) Map to RED(2) Map to RED(0) Map to RED(4)
RB Input Channel
RDB(6) Map to BLU(5) Map to BLU(3) Map to BLU(1) Map to BLU(5)
RDB(5) Map to BLU(4) Map to BLU(2) Map to BLU(0) Map to BLU(4)
RDB(4) Map to GRN(9) Map to GRN(7) Map to GRN(5) Map to GRN(9)
RDB(3) Map to GRN(8) Map to GRN(6) Map to GRN(4) Map to GRN(8)
RDB(2) Map to GRN(7) Map to GRN(5) Map to GRN(3) Map to GRN(7)
RDB(1) Map to GRN(6) Map to GRN(4) Map to GRN(2) Map to GRN(6)
RDB(0) Map to GRN(5) Map to GRN(3) Map to GRN(1) Map to GRN(5)
RC Input Channel
RDC(6) Map to DEN
RDC(5) Map to VSYNC
RDC(4) Map to HSYNC
RDC(3) Map to BLU(9) Map to BLU(7) Map to BLU(5) Map to BLU(9)
RDC(2) Map to BLU(8) Map to BLU(6) Map to BLU(4) Map to BLU(8)
RDC(1) Map to BLU(7) Map to BLU(5) Map to BLU(3) Map to BLU(7)
RDC(0) Map to BLU(6) Map to BLU(4) Map to BLU(2) Map to BLU(6)
RD Input Channel
RDD(6) Map to field (option 1 if applicable)
RDD(5) Map to BLU(3) Map to BLU(9) Map to BLU(7) No mapping
RDD(4) Map to BLU(2) Map to BLU(8) Map to BLU(6) No mapping
RDD(3) Map to GRN(3) Map to GRN(9) Map to GRN(7) No mapping
RDD(2) Map to GRN(2) Map to GRN(8) Map to GRN(6) No mapping
RDD(1) Map to RED(3) Map to RED(9) Map to RED(7) No mapping
RDD(0) Map to RED(2) Map to RED(8) Map to RED(6) No mapping
RE Input Channel
RDE(6) Map to field (option 2 if applicable)
RDE(5) Map to BLU(1) Map to BLU(9) No mapping
RDE(4) Map to BLU(0) Map to BLU(8) No mapping
RDE(3) Map to GRN(1) Map to GRN(9) No mapping
RDE(2) Map to GRN(0) Map to GRN(8) No mapping
RDE(1) Map to RED(1) Map to RED(9) No mapping
RDE(0) Map to RED(0) Map to RED(8) No mapping
(1) Mapping options are selected by software.
(2) If mapping option 4 is the only mapping mode needed, and if, and only if, a 'Field 1' or 'Field 2' input is not needed, then the board layout can leave the LVDS inputs for RD and RE channels floating.

7.3.1 System Reset Operation

7.3.1.1 Power-Up Reset Operation

Immediately following a power-up event, DLPC6401 hardware automatically brings up the master PLL and places the ASIC in normal power mode. It then follows the standard system reset procedure (see System Reset Operation).

7.3.1.2 System Reset Operation

Immediately following any type of system reset (power-up reset, PWRGOOD reset, watchdog timer timeout, and so on), the DLPC6401 device automatically returns to NORMAL power mode and returns to the following state.

  • All GPIO tri-state and as a result, all GPIO-controlled voltage switches default to enabling power to all ASIC supply lines. (Assume these outputs are externally pulled-high.)
  • The master PLL remains active (it is reset only after a power-up reset sequence) and most of the derived clocks are active. However, only those resets associated with the ARM9 processor and its peripherals are released. (The ARM9 is responsible for releasing all other resets.)
  • ARM9 associated clocks default to their full clock rates. (Boot-up is a full speed.)
  • All front-end derived clocks are disabled.
  • The PLL feeding the DDR DMD I/F (PLLD) defaults to its power-down mode and all derived clocks are inactive with corresponding resets asserted. (The ARM9 is responsible for enabling these clocks and releasing associated resets.)
  • DMD I/O (except DMD_DAD_OEZ) defaults to its outputs in a logic low state. DMD_DAD_OEZ defaults tri-stated, but should be pulled high through an external 30- to 51-kΩ pullup resistor on the PCB.
  • All resets output by the DLPC6401 device remain asserted until released by the ARM9 (after boot-up).
  • The ARM9 processor boots-up from external flash.

When the ARM9 boots-up, the ARM9 API:

  • Configures the programmable DDR clock generator (DCG) clock rates (that is, the DMD LPDDR I/F rate)
  • Enables the DCG PLL (PLLD) while holding divider logic in reset
  • When the DCG PLL locks, ARM9 software sets DMD clock rates
  • API software then releases DCG divider logic resets, which in turn, enable all derived DCG clocks
  • Releases external resets

Application software then typically waits for a wake-up command (through the soft power switch on the projector) from the end user. When the projector is requested to wake-up, the software places the ASIC back in normal mode, re-initialize clocks, and resets as required.

DLPC6401 timing_init_dlps031.gif
  • t2: device drives INIT_DONE high within 5 ms after reset is release. Indicates auto-initialization is busy
  • t3: I2C or DBI-C access to DLPC6401 device does not start until the INIT_BUSY flag (on INIT_DONE) goes low. This can occur within 100 ms, but may take several seconds
  • t5: an active high pulse on INIT_DONE following the initialization period indicates a detected error condition. The device reports the source of the error in the system status.
Figure 12. Internal Memory Test Diagram

7.3.1.3 Spread Spectrum Clock Generator Support

The DLPC6401 device supports limited, internally-controlled, spread spectrum clock spreading on the DMD interface. The purpose is to frequency spread all signals on the high-speed, external interfaces to reduce EMI emissions. Clock spreading is limited to triangular waveforms. The DLPC6401 device provides modulation options of 0%, ±0.5%, and ±1.0% (center-spread modulation).

7.3.1.4 GPIO Interface

The DLPC6401 device provides 38 software-programmable, general-purpose I/O pins. Each GPIO pin is individually configurable as either input or output. In addition, each GPIO output can be either configured as push-pull or open-drain. Some GPIO have one or more alternate-use modes, which are also software configurable. The reset default for all GPIO is as an input signal. However, any alternate function connected to these GPIO pins, with the exception of general-purpose clocks and PWM generation, will be reset. When configured as open-drain, the outputs must be externally pulled-up (to the 3.3-V supply). External pullup or pulldown resistors may be required to ensure stable operation before software is able to configure these ports.

7.3.1.5 Source Input Blanking

Vertical and horizontal blanking requirements for both input ports are defined as follows (see 视频时序参数定义).

  • Minimum port 1 vertical blanking:
    • Vertical back porch: 370 µs
    • Vertical front porch: 2 lines
    • Total vertical blanking: 370 µs + 3 lines
  • Minimum port 2 vertical blanking:
    • Vertical back porch: 370 µs
    • Vertical front porch: 0 lines
    • Total vertical blanking: 370 µs + 3 lines
  • Minimum port 1 and port 2 horizontal blanking:
    • Horizontal back porch (HBP): 10 pixels
    • Horizontal front porch (HFP): 0 pixels
    • Total horizontal blanking (THB):
      • 0.45 WXGA DMD: Roundup (154286 / Source_APPL, 0)
      • 0.4 XGA DMD: Roundup (144686 / Source_APPL, 0) pixels

7.3.1.6 Video and Graphics Processing Delay

The DLPC6401 device introduces a fixed number of field and frame delays. For optimum audio and video synchronization, this delay must be matched in the audio path. Table 3 defines the video delay to support audio matching.

Frame and fields in Table 3 refer to source frames and fields.

Table 3. Primary Channel and Video-Graphics Processing Delay

SOURCE 2D VIDEO DECODER DE-INTERLACING FORMATTER BUFFER TOTAL DELAY
10 to 47 Hz
Non-interlaced graphics
Disabled
{0 frames}
Disabled
{0 frames}
Enabled
{1 frame}
1 frame
47 to 63 Hz
Non-interlaced graphics
Disabled
{0 frames}
Disabled
{0 frames}
Enabled
{1 frame}
1 frame
63 to 120 Hz
Non-interlaced graphics
Disabled
{0 frames}
Disabled
{0 frames}
Enabled
{1 frame}
1 frame
100 to 120 Hz
Display at native rate graphics
Disabled
{0 frames}
Disabled
{0 frames}
Enabled
{1 frame}
1 frame
50 to 60 Hz interlaced
SDTV video (NTSC, PAL, SECAM)
Enabled
{0 fields}
Edge adaptive de-interlacing enabled
{0 fields}
Enabled
{1 field}
1 field
60 Hz interlaced
HDTV video (480i, 1080i)
Disabled
{0 fields}
Edge adaptive de-interlacing enabled
{0 fields}
Enabled
{1 field}
1 field
24 to 30 Hz interlaced
HDTV video (480i, 1080i)
Disabled
{0 fields}
Edge adaptive de-interlacing enabled
{0 fields}
Enabled
{1 field}
1 field
60 Hz progress
HDTV video (480p, 720p)
Disabled
{0 frames}
N/A
{0 frames}
Enabled
{1 frame}
1 frame
24 to 30 Hz Progress
HDTV video (480p, 720p)
Disabled
{0 frames}
N/A
{0 frames}
Enabled
{1 frame}
1 frame
63 to 87 Hz
Interlaced graphics
≤1280 APPL and ≤75 MHz
Disabled
{0 fields}
Edge adaptive de-interlacing enabled
{0 fields}
Enabled
{1 field}
1 field
63 to 87 Hz
Interlaced graphics
>1280 APPL or >75 MHz
Disabled
{0 fields}
Field-dependent scaling enabled
{0 fields}
Enabled
{1 field}
1 field

7.3.2 Program Memory Flash/SRAM Interface

The DLPC6401 device provides three external program memory chip selects:

  • PM_CSZ_0 – Available for optional SRAM or flash device (≤128 Mb)
  • PM_CSZ_1 – Dedicated CS for boot flash device (that is standard NOR-type flash, ≤128 Mb)
  • PM_CSZ_2 – Available for optional SRAM or flash device (≤128 Mb)

Flash and SRAM access timing is software programmable up to 31 wait states. Wait state resolution is 6.7 ns in normal mode and 53.57 ns in low-power modes. Table 4 shows wait state program values for typical flash access times.

Table 4. Wait State Program Values for Typical Flash Access Times

NORMAL MODE(1) LOW-POWER MODE(1)
Formula to Calculate the Required Wait State Value = Roundup (Device_Access_Time / 6.7 ns) = Roundup (Device_Access_Time / 53.57 ns)
Max Supported Device Access Time 207 ns 1660 ns
(1) Assumes a maximum single direction trace length of 75 mm.

Note that when another device such as an SRAM or additional flash is used in conjunction with the boot flash, care must be taken to keep stub length short and located as close as possible to the flash end of the route.

The DLPC6401 device provides enough Program Memory Address pins to support a flash or SRAM device up to 128 Mb. For systems not requiring this capacity, up to two address pins can be used as GPIO instead. Specifically, the two most significant address bits (that is PM_ADDR_22 and PM_ADDR_21) are shared on pins GPIO_16 and GPIO_17 respectively. Like other GPIO pins, these pins float in a high-impedance input state following reset; therefore, if these GPIO pins are to be reconfigured as Program Memory Address pins, they require board-level pulldown resistors to prevent any Flash address bits from floating until software is able to reconfigure the pins from GPIO to Program Memory Address. Also note, that until software reconfigures the pins from GPIO to Program Memory Address, upper portions of flash memory are not accessible.

Table 5 shows typical GPIO_16 and GPIO_17 pin configurations for various flash sizes.

Table 5. Typical GPIO_16 and GPIO_17 Pin Configurations for Various Flash Sizes

FLASH SIZE GPIO_36 PIN CONFIGURATION GPIO_35 PIN CONFIGURATION
32 Mb or less GPIO_17 GPIO_16
64 Mb GPIO_17 PM_ADDR_21(*)(1)
128 Mb PM_ADDR_22(*)(1) PM_ADDR_21(*)(1)
(1) (*) = Board-level pulldown resistor required

7.3.2.1 Calibration and Debug Support

The DLPC6401 device contains a test point output port, TSTPT_(7:0), which provides selected system calibration support as well as ASIC debug support. These test points are inputs while reset is applied and switch to outputs when reset is released. The state of these signals is sampled upon the release of system reset and the captured value configures the test mode until the next time reset is applied. Each test point includes an internal pulldown resistor and thus external pullups are used to modify the default test configuration. The default configuration (x00) corresponds to the TSTPT(7:0) outputs being driven low for reduce switching activity during normal operation. For maximum flexibility, TI recommends an option to jumper to an external pullup for TSTPT(0). Note that adding a pullup to TSTPT(7:1) may have adverse affects for normal operation and TI does not recommend it. Note that these external pullups are sampled only after a 0-to-1 transition on POSENSE and thus changing their configuration after reset has been released does not have any affect until the next time reset is asserted and released. Table 6 defines the test mode selection for two programmable scenarios defined by TSTPT_(0):

Table 6. Test Mode Selection

TSTPT(3:0) CAPTURE VALUE NO SWITCHING ACTIVITY ARM AHB DEBUG SIGNAL SET
x0 x1
TSTPT(0) 0 ARM9 HREADY
TSTPT(1) 0 HSEL for all external program memory
TSTPT(2) 0 ARM9 HTRANS(1)
TSTPT(3) 0 PFC HREADY OUT (ARM9 R/W)
TSTPT(4) 0 PFC EMI(2) request (ARM9 R/W)
TSTPT(5) 0 PFC EMI(2) request accept (ARM9 R/W)
TSTPT(6) 0 PFC EMI(2) access done (ARM9 R/W)
TSTPT(7) 0 ARM9 Gate_The_Clk
(1) These are only the default output selections. Software can reprogram the selection at any time.
(2) PFC EMI is the parallel flash controller external memory interface

7.3.2.2 Board-Level Test Support

The in-circuit tri-state enable signal (ICTSEN) is a board-level test control signal. By driving ICTSEN to a logic-high state, all ASIC outputs (except TDO1 and TDO2) are tri-stated.

The DLPC6401 device also provides JTAG boundary scan support on all I/O signals, non-digital I/O, and a few special signals. Table 7 defines these exceptions.

Table 7. DLPC6401 – Signals Not Covered by JTAG

SIGNAL NAME PKG BALL
TDO2 M18
TMS2 V16
MOSC A14
MOSCN A15
VPGM D17
EXRES A3
RA_IN_P AB10
RA_IN_N AA10
RB_IN_P Y11
RB_IN_N W11
RC_IN_P AB12
RC_IN_N AA12
RD_IN_P Y13
RD_IN_N W13
RE_IN_P AB14
RE_IN_N AA14
RCK_IN_P Y9
RCK_IN_N W9

7.4 Device Functional Modes

DLPC6401 has two functional modes (ON/OFF) controlled by a single pin PROJ_ON:

  • When pin PROJ_ON is set high, the projector automatically powers up and an image is projected from the DMD.
  • When pin PROJ_ON is set low, the projector automatically powers down to save power.