ZHCSLS4B August   2020  – July 2021 AMC3302

PRODUCTION DATA  

  1. 特性
  2. 应用
  3. 说明
  4. Revision History
  5. Pin Configuration and Functions
  6. Specifications
    1. 6.1  Absolute Maximum Ratings
    2. 6.2  ESD Ratings
    3. 6.3  Recommended Operating Conditions
    4. 6.4  Thermal Information
    5. 6.5  Power Ratings
    6. 6.6  Insulation Specifications
    7. 6.7  Safety-Related Certifications
    8. 6.8  Safety Limiting Values
    9. 6.9  Electrical Characteristics
    10. 6.10 Switching Characteristics
    11. 6.11 Timing Diagram
    12. 6.12 Insulation Characteristics Curves
    13. 6.13 Typical Characteristics
  7. Detailed Description
    1. 7.1 Overview
    2. 7.2 Functional Block Diagram
    3. 7.3 Feature Description
      1. 7.3.1 Analog Input
      2. 7.3.2 Data Isolation Channel Signal Transmission
      3. 7.3.3 Analog Output
      4. 7.3.4 Isolated DC/DC Converter
      5. 7.3.5 Diagnostic Output
    4. 7.4 Device Functional Modes
  8. Application and Implementation
    1. 8.1 Application Information
    2. 8.2 Typical Application
      1. 8.2.1 Design Requirements
      2. 8.2.2 Detailed Design Procedure
        1. 8.2.2.1 Shunt Resistor Sizing
        2. 8.2.2.2 Input Filter Design
        3. 8.2.2.3 Differential to Single-Ended Output Conversion
      3. 8.2.3 Application Curve
    3. 8.3 What to Do and What Not to Do
  9. Power Supply Recommendations
  10. 10Layout
    1. 10.1 Layout Guidelines
    2. 10.2 Layout Example
  11. 11Device and Documentation Support
    1. 11.1 Documentation Support
      1. 11.1.1 Related Documentation
    2. 11.2 接收文档更新通知
    3. 11.3 支持资源
    4. 11.4 Trademarks
    5. 11.5 Electrostatic Discharge Caution
    6. 11.6 术语表
  12. 12Mechanical, Packaging, and Orderable Information

封装选项

机械数据 (封装 | 引脚)
散热焊盘机械数据 (封装 | 引脚)
订购信息

Typical Characteristics

at VDD = 3.3 V, INP = –50 mV to +50 mV, INN = HGND = 0 V, and fIN = 10 kHz (unless otherwise noted)

GUID-20201218-CA0I-KVZQ-RGCJ-HXJFFRGHTGD3-low.gif
 
Figure 6-5 Input Bias Current vs Common-Mode Input Voltage
GUID-20201218-CA0I-D7B3-JM07-SVT3RRFH4DNF-low.gif
 
Figure 6-7 Input Bias Current vs Temperature
GUID-20201218-CA0I-8LVF-FWBZ-MLGHXJ7LQ4QL-low.gif
 
Figure 6-9 Output Common-Mode Voltage vs Supply Voltage
GUID-20201218-CA0I-RXHR-FNMC-FTZG2GM5RPNB-low.gif
 
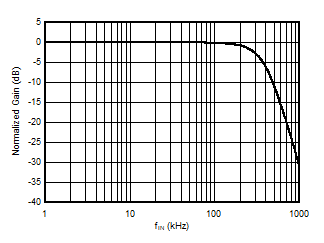
Figure 6-11 Normalized Gain vs Input Frequency
GUID-20201218-CA0I-RWNK-5JZX-QCBX1GBWHFNQ-low.gif
 
Figure 6-13 Output Bandwidth vs Supply Voltage
GUID-20201218-CA0I-H7X5-CMXD-FH2TBBXQ1ZPX-low.gif
 
Figure 6-15 Input Offset Voltage vs Supply Voltage
GUID-20201218-CA0I-3GBN-R5HT-RDF2GBGC3THP-low.gif
 
Figure 6-17 Gain Error vs Supply Voltage
GUID-20201218-CA0I-DWQZ-Z7M4-QB57RBWWRZHQ-low.gif
 
Figure 6-19 Nonlinearity vs Input Voltage
GUID-20201218-CA0I-Q2GN-RRB1-36TVQ6XPH3T1-low.gif
 
Figure 6-21 Nonlinearity vs Temperature
GUID-20201218-CA0I-N4MM-XJN8-DHVXRWQHSMDM-low.gif
VIN = 0.1 Vpp, fIN = 10 kHz
Figure 6-23 Signal-to-Noise Ratio vs Supply Voltage
GUID-20201218-CA0I-DT3P-L4DG-0G5VRKVRKC3Q-low.gif
 
Figure 6-25 Total Harmonic Distortion vs Supply Voltage
GUID-20201218-CA0I-QR7H-48NV-XRC1JB7H6V4J-low.gif
 
Figure 6-27 Input-Referred Noise Density vs Frequency
GUID-20201218-CA0I-WPNJ-V7HF-HKMF9KXRX8DS-low.gif
 
Figure 6-29 Common-Mode Rejection Ratio vs Temperature
GUID-20201218-CA0I-M2GS-QLGL-S9MZ2KPWTTHT-low.gif
 
Figure 6-31 Supply Current vs Supply Voltage
GUID-20201218-CA0I-GJZL-604T-NKQSWK9SMGQ8-low.gif
 
Figure 6-33 High-Side LDO Line Regulation
GUID-20201218-CA0I-2FWX-C2HB-JLPCSW0LZB88-low.gif
 
Figure 6-35 Output Rise and Fall Time vs Temperature
GUID-20201218-CA0I-B3P5-BPQ6-LCV9VXCPZKX4-low.gif
 
Figure 6-37 VIN to VOUT Signal Delay vs Temperature
GUID-20201218-CA0I-GF1P-KSLD-BPVSRMVHPP85-low.gif
 
Figure 6-6 Input Bias Current vs Supply Voltage
GUID-20201218-CA0I-HXJ9-CS2Z-M5DGWNZL8BKX-low.gif
 
Figure 6-8 Output Voltage vs Input Voltage
GUID-20201218-CA0I-DRHG-MRKV-DRJDKZQD4F0B-low.gif
 
Figure 6-10 Output Common-Mode Voltage vs Temperature
GUID-20201218-CA0I-7HLG-GKVX-37SDMJCQF09W-low.gif
 
Figure 6-12 Output Phase vs Input Frequency
GUID-20201218-CA0I-GJ2V-LN57-J10K1V4SSMV9-low.gif
 
Figure 6-14 Output Bandwidth vs Temperature
GUID-20201218-CA0I-4ZBH-P4XS-2PJXPSQRL0KS-low.gif
 
Figure 6-16 Input Offset Voltage vs Temperature
GUID-20201218-CA0I-VD3D-NH9L-MHRR1Z2N7MPC-low.gif
 
Figure 6-18 Gain Error vs Temperature
GUID-20201218-CA0I-FTVL-HB8K-LKJNP9K3GWBF-low.gif
 
Figure 6-20 Nonlinearity vs Supply Voltage
GUID-20201218-CA0I-6F3B-GGFX-9RPR9RKL2NT6-low.gif
VIN = 0.1 Vpp, fIN = 10 kHz
Figure 6-22 Signal-to-Noise Ratio vs Input Voltage
GUID-20201218-CA0I-TLNM-S26Q-GGR15HLDMH0N-low.gif
VIN = 0.1 Vpp, fIN = 10 kHz
Figure 6-24 Signal-to-Noise Ratio vs Temperature
GUID-20201218-CA0I-GBWN-K73H-CH2MHPN24W7J-low.gif
 
Figure 6-26 Total Harmonic Distortion vs Temperature
GUID-20201218-CA0I-5PPP-B1MV-LF3BHSKDSSPN-low.gif
 
Figure 6-28 Common-Mode Rejection Ratio vs Input Frequency
GUID-20201218-CA0I-Z4DM-6LTS-GXGFX1N6W99J-low.gif
 
Figure 6-30 Power-Supply Rejection Ratio vs Ripple Frequency
GUID-20201218-CA0I-6C51-NX2G-XJJHVNNWDNWS-low.gif
 
Figure 6-32 Supply Current vs Temperature
GUID-20201218-CA0I-W6KM-8DCN-HTXSWN3XGDWV-low.gif
 
Figure 6-34 Output Rise and Fall time vs Supply Voltage
GUID-20201218-CA0I-RB3B-BXV2-4BPRHVSZVWXQ-low.gif
 
Figure 6-36 VIN to VOUT Signal Delay vs Supply Voltage