ZHCSGF6A April   2017  – July 2017 TPD2S701-Q1

PRODUCTION DATA.  

  1. 特性
  2. 应用
  3. 说明
  4. 修订历史
  5. Pin Configuration and Functions
  6. Specifications
    1. 6.1  Absolute Maximum Ratings
    2. 6.2  ESD Ratings—AEC Specification
    3. 6.3  ESD Ratings—IEC Specification
    4. 6.4  ESD Ratings—ISO Specification
    5. 6.5  Recommended Operating Conditions
    6. 6.6  Thermal Information
    7. 6.7  Electrical Characteristics
    8. 6.8  Power Supply and Supply Current Consumption Chracteristics
    9. 6.9  Timing Requirements
    10. 6.10 Typical Characteristics
  7. Parameter Measurement Information
  8. Detailed Description
    1. 8.1 Overview
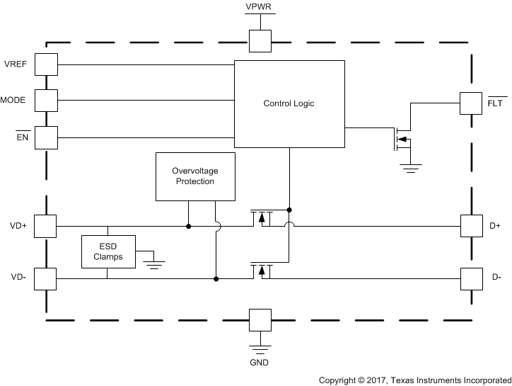
    2. 8.2 Functional Block Diagram
    3. 8.3 Feature Description
      1. 8.3.1 OVP Operation
      2. 8.3.2 OVP Threshold
      3. 8.3.3 D± Clamping Voltage
    4. 8.4 Device Functional Modes
  9. Application and Implementation
    1. 9.1 Application Information
    2. 9.2 Typical Application
      1. 9.2.1 Design Requirements
        1. 9.2.1.1 Device Operation
      2. 9.2.2 Detailed Design Procedure
        1. 9.2.2.1 VREF Operation
          1. 9.2.2.1.1 Mode 0
          2. 9.2.2.1.2 Mode 1
        2. 9.2.2.2 Mode 1 Enable Timing
      3. 9.2.3 Application Curves
  10. 10Power Supply Recommendations
    1. 10.1 VPWR Path
    2. 10.2 VREF Pin
  11. 11Layout
    1. 11.1 Layout Guidelines
    2. 11.2 Layout Example
  12. 12器件和文档支持
    1. 12.1 文档支持
      1. 12.1.1 相关文档
    2. 12.2 接收文档更新通知
    3. 12.3 社区资源
    4. 12.4 商标
    5. 12.5 静电放电警告
    6. 12.6 Glossary
  13. 13机械、封装和可订购信息

特性

  • 符合 AEC-Q100 标准
    • –40°C 至 125°C 的工作温度范围
  • VD+ 和 VD– 上的 VBUS 短路保护
  • ESD 性能 VD+,VD–
    • ±8kV 接触放电(IEC 61000-4-2 和 ISO 10605 330pF,330Ω)
    • ±15kV 气隙放电(IEC 61000-4-2 和 ISO 10605 330pF,330Ω)
  • 高速数据开关(1GHz 带宽)
  • 只需要 5V 电源
  • 可调节 OVP 阈值
  • 快速过压响应时间(典型值 200ns)
  • 热关断特性
  • 集成输入使能和故障输出信号
  • 保证数据完整性的直通路由
    • 10 引脚 VSSOP 封装 (3mm × 3mm)
    • 10 引脚 QFN 封装 (2.5mm × 2.5mm)

应用

  • 终端设备
    • 音响主机
    • 后座娱乐系统
    • 远程信息处理
    • USB 集线器
    • 导航模块
    • 媒体接口
  • 接口
    • USB 2.0
    • USB 3.0

说明

TPD2S701-Q1 是一款用于汽车高速接口(如 USB 2.0)的双通道线路 VBUS 短路和 IEC61000-4-2 ESD 保护器件。TPD2S701-Q1 包含两个数据线路 nFET 开关。这些开关通过提供业界一流的带宽,实现最小的信号衰减,同时可保护内部系统电路(在 VD+ 和 VD– 引脚上),使其免受过压情况的损坏,从而确保安全的数据通信。

在这些引脚上,此器件可实现直流电高达 7V 的过压保护。这为 USB VBUS 轨的数据线路短路提供了充分保护。该过压保护电路提供业界最可靠的 VBUS 短路隔离,能在 200ns 内关闭数据开关,并保护上游电路免受有害电压和电流尖峰影响。

此外,TPD2S701-Q1 只需要 5V 的单一电源,这优化了电源树的大小和成本。该器件允许通过电阻分压器网络调整 OVP 阈值和钳位电路,为优化系统保护提供了一种简单且经济高效的方法(适用于任何收发器)。TPD2S701-Q1 还包括一个 FLT 引脚,该引脚会在器件出现过压状况时发出指示,并在过压状况消除后自动复位。

TPD2S701-Q1 还在 VD+ 和 VD– 引脚上集成了系统级别的 IEC 61000-4-2 和 ISO 10605 ESD 钳位,因此在应用中无需再配置高压、低电容的外部 TVS 钳位电路。

器件信息(1)

器件型号 封装 封装尺寸(标称值)
TPD2S701-Q1 VSSOP (10) 3.00mm × 3.00mm
QFN (10) 2.50mm x 2.50mm
  1. 要了解所有可用封装,请参见产品说明书末尾的可订购产品附录。

功能框图

TPD2S701-Q1 Function_Block.gif

修订历史

Changes from * Revision (April 2017) to A Revision