ZHCSFT5 December   2016 FPC401

PRODUCTION DATA.  

  1. 1特性
  2. 2应用
  3. 3说明
  4. 4修订历史记录
  5. 5说明 (续)
  6. 6器件和文档支持
    1. 6.1 文档支持
      1. 6.1.1 相关文档 
    2. 6.2 接收文档更新通知
    3. 6.3 社区资源
    4. 6.4 商标
    5. 6.5 静电放电警告
    6. 6.6 Glossary
  7. 7机械、封装和可订购信息

封装选项

机械数据 (封装 | 引脚)
散热焊盘机械数据 (封装 | 引脚)
订购信息

特性

  • 支持跨四个端口进行控制信号管理和 I2C 聚合
  • 结合多个 FPC401 可通过一个主机接口控制 56 个端口
  • 无需使用分立式 I2C 多路复用器、LED 驱动器和高引脚计数现场可编程门阵列 (FPGA)/复杂可编程逻辑器件 (CPLD) 控制器件
  • 通过处理接近端口的全部低速控制信号来降低 PCB 布线复杂性
  • 可选 I2C(高达 1MHz)或 SPI(高达 10MHz)主机控制接口
  • 从模块中自动预取用户指定的重要数据
  • 单端口和多端口读/写延迟短:SPI 模式 <50µs,I2C 模式 <400µs
  • 广播模式允许对所有 FPC401 控制器的全部端口同步执行写操作
  • 用于指示端口状态的高级 LED 特性, 包括可编程闪烁和调光
  • 可定制中断事件
  • 单独的主机侧 I/O 电压:1.8V 至 3.3V
  • 采用小型四方扁平无引线 (QFN) 封装,能够放置在 PCB 底部的端口下方

应用

  • ToR/聚合/核心交换机和路由器 SFP+/QSFP+ 端口控制
  • SAS 外部电缆管理接口控制
  • 视频交换机和路由器 SFP+/QSFP+ 端口控制

说明

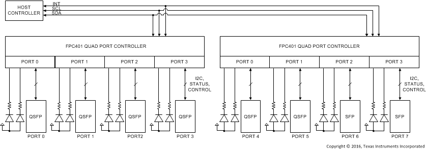
FPC401 四端口控制器用作低速信号聚合器,适用于 SFP+、QSFP+ 和 SAS 等通用端口类型。FPC401 能够跨四个端口聚合所有低速控制和 I2C 信号,并为主机提供了一个方便使用的管理接口(I2C 或 SPI)。对于高端口数 应用 来说,可以搭配使用多个 FPC401,而且同样能够为主机提供一个公共控制接口。FPC401 所采用的设计允许放置在 PCB 底部的压合连接器下,这样方便布线。凭借这种本地控制端口低速信号的方法,可以使用 IO 数更少的控制器件(FPGA、CPLD、MCU)并减少布线层拥塞,从而降低系统物料清单 (BOM) 成本。

器件信息(1)

器件型号 封装 封装尺寸(标称值)
FPC401 QFN (56) 5.00mm x 11.00mm
  1. 要了解所有可用封装,请见数据表末尾的可订购产品附录。

简化框图

FPC401 fpc_simplified_block_diagram.gif