SNLS020D July   1999  – August 2016 DS90LV031A

PRODUCTION DATA.  

  1. Features
  2. Applications
  3. Description
  4. Revision History
  5. Pin Configuration and Functions
  6. Specifications
    1. 6.1 Absolute Maximum Ratings
    2. 6.2 ESD Ratings
    3. 6.3 Recommended Operating Conditions
    4. 6.4 Thermal Information
    5. 6.5 Electrical Characteristics
    6. 6.6 Switching Characteristics - Industrial
    7. 6.7 Dissipation Ratings
    8. 6.8 Typical Characteristics
  7. Parameter Measurement Information
  8. Detailed Description
    1. 8.1 Overview
    2. 8.2 Functional Block Diagram
    3. 8.3 Feature Description
      1. 8.3.1 Fail-Safe LVDS Interface
    4. 8.4 Device Functional Modes
  9. Application and Implementation
    1. 9.1 Application Information
    2. 9.2 Typical Application
      1. 9.2.1 Design Requirements
      2. 9.2.2 Detailed Design Procedure
        1. 9.2.2.1 Probing LVDS Transmission Lines
        2. 9.2.2.2 Cables and Connectors, General Comments
      3. 9.2.3 Application Curves
  10. 10Power Supply Recommendations
  11. 11Layout
    1. 11.1 Layout Guidelines
      1. 11.1.1 Power Decoupling Recommendations
      2. 11.1.2 Differential Traces
      3. 11.1.3 Termination
    2. 11.2 Layout Example
  12. 12Device and Documentation Support
    1. 12.1 Documentation Support
      1. 12.1.1 Related Documentation
    2. 12.2 Receiving Notification of Documentation Updates
    3. 12.3 Community Resources
    4. 12.4 Trademarks
    5. 12.5 Electrostatic Discharge Caution
    6. 12.6 Glossary
  13. 13Mechanical, Packaging, and Orderable Information

封装选项

机械数据 (封装 | 引脚)
散热焊盘机械数据 (封装 | 引脚)
订购信息

1 Features

  • >400-Mbps (200-MHz) Switching Rates
  • 0.1-ns Typical Differential Skew
  • 0.4-ns Maximum Differential Skew
  • 2-ns Maximum Propagation Delay
  • 3.3-V Power Supply Design
  • ±350-mV Differential Signaling
  • Low Power Dissipation (13-mW at 3.3-V Static)
  • Interoperable With Existing 5-V LVDS Devices
  • Compatible With IEEE 1596.3 SCI LVDS Standard
  • Compatible With TIA/EIA-644 LVDS Standard
  • Industrial Operating Temperature Range
  • Available in SOIC and TSSOP Surface-Mount Packaging

2 Applications

  • Building And Factory Automation
  • Grid Infrastructure

3 Description

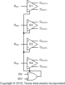
The DS90LV031A is a quad CMOS differential line driver designed for applications requiring ultra low power dissipation and high data rates. The device is designed to support data rates in excess of 400 Mbps (200 MHz) using Low Voltage Differential Signaling (LVDS) technology.

The DS90LV031A accepts low voltage LVTTL or LVCMOS input levels and translates them to low voltage (350 mV) differential output signals. In addition the driver supports a TRI-STATE® function that may be used to disable the output stage, disabling the load current, and thus dropping the device to an ultra low idle power state of 13 mW typical.

The EN and EN* inputs allow active Low or active High control of the TRI-STATE outputs. The enables are common to all four drivers. The DS90LV031A and companion line receiver (DS90LV032A) provide a new alternative to high power psuedo-ECL devices for high speed point-to-point interface applications.

Device Information(1)

PART NUMBER PACKAGE BODY SIZE (NOM)
DS90LV031A SOIC (16) 9.90 mm × 3.91 mm
TSSOP (16) 5.00 mm × 4.40 mm
  1. For all available packages, see the orderable addendum at the end of the data sheet.

Block Diagram

DS90LV031A 10009502.gif