ZHCSF84B April   2016  – June 2017 TPS25740 , TPS25740A

PRODUCTION DATA.  

  1. 特性
  2. 应用
  3. 说明
  4. 修订历史记录
  5. Device Comparison Table
  6. Pin Configuration and Functions
  7. Specifications
    1. 7.1 Absolute Maximum Ratings
    2. 7.2 ESD Ratings
    3. 7.3 Recommended Operating Conditions
    4. 7.4 Thermal Information
    5. 7.5 Electrical Characteristics
    6. 7.6 Timing Requirements
    7. 7.7 Switching Characteristics
    8. 7.8 Typical Characteristics
  8. Detailed Description
    1. 8.1 Overview
      1. 8.1.1 VBUS Capacitance
      2. 8.1.2 USB Data Communications
    2. 8.2 Functional Block Diagram
    3. 8.3 Feature Description
      1. 8.3.1  USB Type-C CC Logic (CC1, CC2)
      2. 8.3.2  USB PD BMC Transmission (CC1, CC2, VTX)
      3. 8.3.3  USB PD BMC Reception (CC1, CC2)
      4. 8.3.4  Discharging (DSCG, VPWR)
        1. 8.3.4.1 Discharging after a Fault (VPWR)
      5. 8.3.5  Configuring Voltage Capabilities (HIPWR, EN9V, EN12V)
      6. 8.3.6  Configuring Power Capabilities (PSEL, PCTRL, HIPWR)
      7. 8.3.7  Gate Driver (GDNG, GDNS)
      8. 8.3.8  Fault Monitoring and Protection
        1. 8.3.8.1 Over/Under Voltage (VBUS)
        2. 8.3.8.2 Over-Current Protection (ISNS, VBUS)
        3. 8.3.8.3 System Fault Input (GD, VPWR)
      9. 8.3.9  Voltage Control (CTL1, CTL2)
      10. 8.3.10 Sink Attachment Indicator (UFP, DVDD)
      11. 8.3.11 Power Supplies (VAUX, VDD, VPWR, DVDD)
      12. 8.3.12 Grounds (AGND, GND)
      13. 8.3.13 Output Power Supply (DVDD)
    4. 8.4 Device Functional Modes
      1. 8.4.1 Sleep Mode
      2. 8.4.2 Checking VBUS at Start Up
  9. Application and Implementation
    1. 9.1 Application Information
      1. 9.1.1 System-Level ESD Protection
      2. 9.1.2 Use of GD Internal Clamp
      3. 9.1.3 Resistor Divider on GD for Programmable Start Up
      4. 9.1.4 Selection of the CTL1 and CTL2 Resistors (R(FBL1) and R(FBL2))
      5. 9.1.5 Voltage Transition Requirements
      6. 9.1.6 VBUS Slew Control using GDNG C(SLEW)
      7. 9.1.7 Tuning OCP Using RF and CF
    2. 9.2 Typical Application , A/C Power Source (Wall Adapter)
      1. 9.2.1 Design Requirements
      2. 9.2.2 Detailed Design Procedure
        1. 9.2.2.1 Power Pin Bypass Capacitors
        2. 9.2.2.2 Non-Configurable Components
        3. 9.2.2.3 Configurable Components
      3. 9.2.3 Application Curves
      4. 9.2.4 Typical Application, D/C Power Source
        1. 9.2.4.1 Design Requirements
        2. 9.2.4.2 Detailed Design Procedure
          1. 9.2.4.2.1 Power Pin Bypass Capacitors
          2. 9.2.4.2.2 Non-Configurable Components
          3. 9.2.4.2.3 Configurable Components
        3. 9.2.4.3 Application Curves
    3. 9.3 System Examples
      1. 9.3.1 D/C Power Source (Power Hub)
      2. 9.3.2 A/C Power Source (Wall Adapter)
      3. 9.3.3 Dual-Port Power Managed A/C Power Source (Wall Adaptor)
      4. 9.3.4 D/C Power Source (Power Hub with 3.3 V Rail)
  10. 10Power Supply Recommendations
    1. 10.1 VDD
    2. 10.2 VPWR
  11. 11Layout
    1. 11.1 Port Current Kelvin Sensing
    2. 11.2 Layout Guidelines
      1. 11.2.1 Power Pin Bypass Capacitors
      2. 11.2.2 Supporting Components
    3. 11.3 Layout Example
  12. 12器件和文档支持
    1. 12.1 文档支持
    2. 12.2 相关链接
    3. 12.3 接收文档更新通知
    4. 12.4 社区资源
    5. 12.5 商标
    6. 12.6 静电放电警告
    7. 12.7 Glossary
  13. 13机械、封装和可订购信息

封装选项

机械数据 (封装 | 引脚)
散热焊盘机械数据 (封装 | 引脚)
订购信息

Specifications

Absolute Maximum Ratings

over operating free-air temperature range (unless otherwise noted)(1)
MIN MAX UNIT
Pin Voltage (sustained) VDD , EN12V, EN9V, CTL1, CTL2, UFP, PCTRL, CC1, CC2 –0.3 6 V
VTX(2) –0.3 2.1 V
VAUX(2) –0.3 4.5 V
GD (3) –0.3 7 V
HIPWR, PSEL, DVDD (2) –0.3 2.1 V
GDNG(2) –0.5 40 V
VBUS,VPWR, ISNS, DSCG, GDNS –0.5 30 V
Pin Voltage (transient for 1ms) VBUS,VPWR, ISNS, DSCG, GDNS –1.5 30 V
Pin-to-pin voltage V(GDNG) – V(GDNS) –0.3 20 V
AGND to GND –0.3 0.3 V
ISNS to VBUS –0.3 0.3 V
Sinking current (average) CTL1, CTL2, UFP 8 mA
GD 100 µA
DSCG 10 mA
Sinking current (transient, 50 ms pulse 0.25% duty cycle) DSCG 375 mA
Current sourcing VTX Internally limited mA
CC1, CC2 Internally limited mA
VAUX 0 25 µA
Operating junction temperature range, TJ –40 125 °C
Storage temperature, Tstg –65 150 °C
Stresses beyond those listed under Absolute Maximum Ratings may cause permanent damage to the device. These are stress ratings only, which do not imply functional operation of the device at these or any other conditions beyond those indicated under Recommended Operating Conditions. Exposure to absolute-maximum-rated conditions for extended periods may affect device reliability.
Do not apply voltage to these pins.
Voltage allowed to rise above Absolute Maximum provided current is limited.

ESD Ratings(3)

VALUE UNIT
V(ESD) Electrostatic discharge Human-body model (HBM), per ANSI/ESDA/JEDEC JS-001(1) ±2500 V
Charged-device model (CDM), per JEDEC specification JESD22-C101(2) ±1000
IEC (4) 61000-4-2 contact discharge, CC1, CC2 ±8000
IEC (4) 61000-4-2 air-gap discharge, CC1, CC2 ±15000
JEDEC document JEP155 states that 500-V HBM allows safe manufacturing with a standard ESD control process.
JEDEC document JEP157 states that 250-V CDM allows safe manufacturing with a standard ESD control process.
This integrated circuit can be damaged by ESD. Texas Instruments recommends that all integrated circuits be handled with appropriate precautions. Failure to observe proper handling and installation procedures can cause damage.
These results were passing limits that were obtained on an application-level test board. Individual results may vary based on implementation. Surges per IEC61000-4-2, 1999 applied between CC1/CC2 and ground of TPS25740EVM-741 and TPS25740AEVM-741

Recommended Operating Conditions

over operating free-air temperature range (unless otherwise noted)
MIN NOM MAX UNIT
VIN Supply Voltage VDD 0 5.5 V
VPWR 4.65 25 V
VI Applied Voltage EN12V, EN9V, PCTRL, CC1, CC2, CTL1, CTL2 0 5.5 V
GD 0 6.5 V
DSCG, GDNS, VBUS 0 25 V
HIPWR, PSEL 0 DVDD V
VI Pin-to-pin voltage ISNS - VBUS –0.1 0.1 V
VIH High-Level Input Voltage EN12V, EN9V 1.4 V
PCTRL 2 V
GD 2 V
VIL Low-Level Input Voltage EN12V, EN9V 0.5 V
PCTRL 1.6 V
GD 1.6 V
IS Sinking Current CTL1, CTL2, UFP 5 mA
GD 80 µA
DSCG, transient sinking current 50 ms pulse, 0.25% duty cycle 350 mA
DSCG, average 5 mA
CS Shunt capacitance CC1, CC2 (C(RX)) 200 560 600 pF
VBUS (C(PDIN)) 10 µF
DVDD (C(DVDD)) 0.198 0.22 0.242 µF
VAUX (C(VAUX)) 0.09 0.1 0.11 µF
VTX (C(VTX)) 0.09 0.10 0.11 µF
VDD (C(VDD)) 0.09 µF
RS Sense resistance Configured for 3 A 5 6.4
Configured for 5 A 5 5.8
R(PUD) Pull up/down resistance HIPWR, PSEL (direct to GND or direct to DVDD) 0 1
HIPWR, PSEL (R(SEL) ) 80 100 120
R(DSCG) Series resistance Maximum VBUS voltage of 25 V 80 Ω
Maximum VBUS voltage of 15 V 43 Ω
Maximum VBUS voltage of 6 V 20 Ω
TJ Operating junction temperature -40 125 °C

Thermal Information

THERMAL METRIC(1) TPS25740
TPS25740A
UNIT
RGE (VQFN)
24 PINS
RθJA Junction-to-ambient thermal resistance 33 °C/W
RθJC(top) Junction-to-case (top) thermal resistance 32.6 °C/W
RθJB Junction-to-board thermal resistance 10 °C/W
ψJT Junction-to-top characterization parameter 0.4 °C/W
ψJB Junction-to-board characterization parameter 10 °C/W
RθJC(bot) Junction-to-case (bottom) thermal resistance 2.6 °C/W
For more information about traditional and new thermal metrics, see the Semiconductor and IC Package Thermal Metrics application report.

Electrical Characteristics

Unless otherwise stated in a specific test condition the following conditions apply: –40°C ≤ TJ ≤ 125°C; 3 ≤ VDD ≤ 5.5 V, 4.65 V ≤ VPWR ≤ 25 V; HIPWR = GND, PSEL = GND, GD = VAUX, PCTRL = VAUX, AGND = GND; VAUX, VTX, bypassed with 0.1 µF, DVDD bypassed with 0.22 µF, EN12V = GND and EN9V = GND; all other pins open (unless otherwise noted)
PARAMETER TEST CONDITIONS MIN TYP MAX UNIT
Voltage Comparator (VBUS)
V(VBUS_RTH) VBUS Threshold (Rising voltage) 4.25 4.45 4.65 V
V(VBUS_FTH) VBUS Threshold (Falling voltage) 3.5 3.7 3.9 V
VBUS Threshold (Hysteresis) 0.75 V
Power Supply (VDD, VPWR)
V(VDD_TH) VDD UVLO threshold Rising voltage 2.8 2.91 2.97 V
Falling voltage 2.8 2.86 2.91
Hysteresis, comes into effect once the rising threshold is crossed. 0.05
V(VPWR_RTH) VPWR UVLO threshold rising Rising voltage 4.2 4.45 4.65 V
V(VPWR_FTH) VPWR UVLO threshold falling Falling voltage 3.5 3.7 3.9 V
VPWR UVLO threshold hysteresis Hysteresis, comes into effect once the rising threshold is crossed. 0.75 V
Supply current drawn from VDD in sleep mode VPWR = 0 V, VDD = 5 V, CC1 and CC2 pins are open. 9.2 20 µA
VPWR = 0 V, VDD = 5 V,CC1 pin open, CC2 pin tied to GND. 94 150 µA
Supply current drawn from VPWR in sleep mode VPWR = 5 V, VDD = 0 V, CC1 and CC2 pins are open. 8.5 15 µA
VPWR = 5 V, VDD = 0 V, CC1 pin open, CC2 pin tied to GND. 90 140 µA
I(SUPP) Operating current while sink attached PD Sourcing active, VBUS = 5 V,
VPWR = 5 V, VDD = 3.3 V
1 1.8 3 mA
Over/Under Voltage Protection (VBUS)
V(FOVP) Fast OVP threshold, always enabled 5 V PD contract 5.8 6.05 6.3 V
12 V PD contract (TPS25740) 13.2 13.75 14.3 V
20 V PD contract (TPS25740) 22.1 23.05 24.0 V
9 V PD contract (TPS25740A) 10.1 10.55 11.0 V
15 V PD contract (TPS25740A) 16.2 16.95 17.7 V
V(SOVP) Slow OVP threshold, disabled during voltage transitions. (See Figure 1) 5 V PD contract 5.5 5.65 5.8 V
12 V PD contract (TPS25740) 13.1 13.4 13.7 V
20 V PD contract (TPS25740) 21.5 22.0 22.5 V
9 V PD contract (TPS25740A) 10 10.2 10.4 V
15 V PD contract (TPS25740A) 16.3 16.5 17 V
V(SUVP) UVP threshold, disabled during voltage transitions (See Figure 1) 5 V PD contract 3.5 3.65 3.8 V
12 V PD contract (TPS25740) 9.2 9.45 9.7 V
20 V PD contract (TPS25740) 15.7 16.1 16.5 V
9 V PD contract (TPS25740A) 6.8 6.95 7.1 V
15 V PD contract (TPS25740A) 11.7 11.95 12.2 V
VAUX
V(VAUX) Output voltage 0 ≤ I(VAUX) ≤ I(VAUXEXT) 2.875 3.2 4.1 V
VAUX Current limit 1 5 mA
I(VAUXEXT) External load that may be applied to VAUX. 25 µA
DVDD
V(DVDD) Output voltage 0 mA ≤ I(DVDD) ≤ 35 mA, CC1 or CC2 pulled to ground via 5.1 kΩ, or both CC1 and CC2 pulled to ground via 1 kΩ 1.75 1.85 1.95 V
Load Regulation Overshoot from V(DVDD), 10-mA minimum,
0.198-µF bypass capacitor
1.7 2 V
Current limit DVDD tied to GND 40 150 mA
VTX
Output voltage Not transmitting or receiving, 0 to 2 mA external load 1.050 1.125 1.200 V
Current Limit VTX tied to GND 2.5 10 mA
Gate Driver Disable (GD)
V(GD_TH) Input enable threshold voltage Rising voltage 1.64 1.725 1.81 V
Hysteresis 0.15 V
V(GDC) Internal clamp voltage I(GD) = 80 µA 6.5 7 8.5 V
R(GD) Internal pulldown resistance From 0 V to 6 V 3 6 9.5
Discharge (DSCG) (1)(2)
V(DSCGT) ON state (linear) I(DSCG) = 100 mA 0.15 0.42 1 V
I(DSCGT) ON state (saturation) V(DSCG) = 4 V, pulsed mode operation 220 553 1300 mA
R(DSCGB) Discharge bleeder While CC1 is pulled down by 5.1 kΩ and CC2 is open, V(DSCG) = 25 V 6.6 8.2 10
Leakage current 0 V ≤ V(DSCG) ≤ 25 V 2 µA
N-ch MOSFET Gate Driver (GDNG,GDNS)
I(GDNON) Sourcing current 0 V ≤ V(GDNS) ≤ 25 V,
0 V ≤ V(GDNG) – V(GDNS) ≤ 6 V
13.2 20 30 µA
V(GDNON) Sourcing voltage while enabled
(V(GDNG)– V(GDNS))
0 V ≤ V(GDNS) ≤ 25 V, I(GDNON) ≤ 4 µA, VPWR = 0 V 7 12 V
0 V ≤ V(GDNS) ≤ 25 V, I(GDNON) ≤ 4 µA, VDD = 0 V 8.5 12 V
R(GDNGOFF) Sinking strength while disabled V(GDNG) – V(GDNS)= 0.5 V,
0 ≤ V(GDNS) ≤ 25 V
150 300 Ω
Sinking strength UVLO (safety) VDD = 1.4 V, V(GDNG) = 1 V,
V(GDNS) = 0 V, VPWR = 0 V
145 µA
VPWR = 1.4 V, V(GDNG) = 1 V,
V(GDNS) = 0 V, VDD = 0 V
145 µA
Off-state leakage V(GDNS) = 25 V, V(GDNG) open 7 µA
Power Control Input (PCTRL)
V(PCTRL_TH) Threshold voltage(3) Voltage rising 1.65 1.75 1.85 V
Hysteresis 100 mV
Input resistance 0 V ≤ V(PCTRL) ≤ V(VAUX) 1.5 2.9 6
Voltage Select (HIPWR), Power Select (PSEL)(4)
Leakage current 0 V ≤ V(HIPWR) ≤ V(DVDD),
0 V ≤ V(PSEL) ≤ V(DVDD)
–1 1 µA
Port Status and Voltage Control (CTL1, CTL2, UFP)(5)
VOL Output low voltage IOL = 4 mA sinking 0.4 V
Leakage Current (6) In Hi-Z state, 0 ≤ V(CTLx) ≤ 5.5 V or
0 ≤ VUFP ≤ 5.5V
–0.5 0.5 µA
Enable 9 V, 12 V Capability (EN9V, EN12V)
Input low threshold voltage 0.585 V
Input high threshold voltage 1.225 V
Input hysteresis 0.25 V
Transmitter Specifications (CC1, CC2)
RTX Output resistance (zDriver from USB PD in 文档支持) During transmission 33 45 75 Ω
V(TXHI) Transmit high voltage External Loading per Figure 25 1.05 1.125 1.2 V
V(TXLO) Transmit low voltage External Loading per Figure 25 –75 75 mV
Receiver Specifications (CC1, CC2)
V(RXHI) Receive threshold (rising) 800 840 885 mV
V(RXLO) Receive threshold (falling) 485 525 570 mV
Receive threshold (Hysteresis) 315 mV
V(INT) Amplitude of interference that can be tolerated Interference is 600 kHz square wave, rising 0 to 100 mV. 100 mV
Interference is 1 MHz sine wave 1 VPP
DFP Specifications (CC1, CC2)
V(DSTD) Detach threshold when cable is detached. In standard DFP mode(7), voltage rising 1.52 1.585 1.65 V
Hysteresis 0.02 V
V(D1.5) In 1.5 A DFP mode(8), voltage rising 1.52 1.585 1.65 V
Hysteresis 0.02 V
V(D3.0) In 3 A DFP mode(9), voltage rising 2.50 2.625 2.75 V
Hysteresis 0.05 V
V(OCN) Unloaded output voltage on CC pin normal mode 2.7 4.35 V
V(OCDS) VPWR = 0 V (in UVLO) or in sleep mode 1.8 5.5 V
I(RPSTD) Loaded output current while connected through CCx In standard DFP mode1, CCy open,
0 V ≤ VCCx ≤ 1.5 V (vRd)
64 80 96 µA
I(RP1.5) In 1.5 A DFP mode 2, CCy open,
0 V ≤ VCCx ≤ 1.5 V (vRd)
166 180 194 µA
I(RP3.0) In 3 A DFP mode 3, CCy open,
0 V ≤ VCCx ≤ 1.5 V (vRd)
304 330 356 µA
V(RDSTD) Ra, Rd detection threshold (falling) In standard DFP mode1,
0 V ≤ VCCx ≤ 1.5 V (vRd)
0.15 0.19 0.23 V
Hysteresis 0.02 V
V(RD1.5) In 1.5 A DFP mode2, CCy open
0 V ≤ VCCx ≤ 1.5 V (vRd)
0.35 0.39 0.43 V
Hysteresis 0.02 V
V(RD3.0) In 3 A DFP mode3, CCy open
0 V ≤ VCCx ≤ 1.5 V (vRd)
0.75 0.79 0.83 V
Hysteresis 0.02 V
V(WAKE) Wake threshold (rising and falling), exit from sleep mode VPWR = 4.65 V , 0 V ≤ VDD ≤ 3 V 1.6 3.0 V
I(DSDFP) Output current on CCx in sleep mode to detect Ra removal. CCx = 0V, CCy floating 40 73 105 µA
OverCurrent Protection (ISNS, VBUS)
VI(TRIP) Current trip shunt voltage Specified as V(ISNS)-V(VBUS).
3.5 V(10) ≤ VBUS ≤ 25 V
HIPWR: 5 A not enabled 19.2 22.6 mV
HIPWR = DVDD (5 A enabled) 29 34 mV
OTSD
TJ1 Die Temperature (Analog)(11) TJ 125 135 145 °C
Hysteresis 10
TJ2 Die Temperature (Analog) (12) TJ 140 150 163 °C
Hysteresis 10
If TJ1 is perceived to have been exceeded an OTSD occurs and the discharge FET is disabled.
The discharge pull-down is not active in the sleep mode.
When voltage on the PCTRL pin is less than V(PCTRL_TH), the amount of power advertised is reduced by half.
Leaving HIPWR or PSEL open is an undetermined state and leads to unpredictable behavior.
These pins are high-z during a UVLO, reset, or in Sleep condition.
The pins were designed for less leakage, but testing only verifies that the leakage does not exceed 0.5 µA.
Standard DFP mode is active after a USB Type-C sink, debug accessory, or audio accessory is attached until the first USB PD message is transmitted (after GDNG has been enabled).
1.5 A DFP mode is active after a USB PD message is received.
3 A DFP mode is active after GDNG has been enabled until a USB PD message is received.
Common mode minimum aligns to VBUS UVLO. VBUS must be above its UVLO for the OCP function to be active.
When TJ1 trips a hard reset is transmitted and discharge is disabled, but the bleed discharge is not disabled.
TJ2 trips only when some external heat source drives the temperature up. When it trips the DVDD, and VAUX power outputs are turned off.

Timing Requirements

Unless otherwise stated in a specific test condition the following conditions apply: –40°C ≤ TJ ≤ 125°C; 3 ≤ VDD ≤ 5.5 V, 4.65 V ≤ VPWR ≤ 25 V; HIPWR = GND, PSEL = GND, GD = VAUX, PCTRL = VAUX, AGND = GND; VAUX, VTX, bypassed with 0.1 µF, DVDD bypassed with 0.22 µF, EN12V = GND and EN9V = GND; all other pins open (unless otherwise noted)
MIN NOM MAX UNIT
tFOVPDG Deglitch for fast over-voltage protection 5 µs
tOCP Deglitch Filter for over-current protection 15 µs
Time power is applied until CC1 and CC2 pull-ups are applied. V(VPWR) > V(VPWR_TH) OR
V(VDD) > V(VDD_TH)
2.5 4 ms
tCC Falling/Rising voltage deglitch time for detection on CC1 and CC2 120 µs
Transmitter Specifications (CC1, CC2)
tUI Bit unit Interval 3.05 3.3 3.70 µs
Rise/fall time, tFall and tRise (refer to USB PD in 文档支持) External Loading per Figure 25 300 600 ns

Switching Characteristics

Unless otherwise stated in a specific test condition the following conditions apply: –40°C ≤ TJ ≤ 125°C; 3 ≤ VDD ≤ 5.5 V, 4.65 V ≤ VPWR ≤ 25 V; HIPWR = GND, PSEL = GND, GD = VAUX, PCTRL = VAUX, AGND = GND; VAUX, VTX, bypassed with 0.1 µF, DVDD bypassed with 0.22 µF, EN12V = GND and EN9V = GND; all other pins open (unless otherwise noted)
PARAMETER TEST CONDITIONS MIN TYP MAX UNIT
tVP Delay from enabling external NFET until under-voltage and OCP protection are enabled VBUS = GND 190 ms
tSTL Source settling time, time from CTL1 and CTL2 being changed until a PS_RDY USB PD message is transmitted to inform the sink is may draw full current. (refer to USB PD in 文档支持) 260 ms
tSR Time that GDNG is disabled after a hard reset. This is tSrcRecover. (refer to USB PD in 文档支持) TJ > TJ1 765 ms
tHR Time after hard reset is transmitted until GDNG is disabled. This is tPSHardReset. (refer to USB PD in 文档支持) 30 ms
tCCDeb Time until UFP is pulled low after sink attachment, this is the USB Type-C required debounce time for attachment detection called tCCDebounce. (refer to USB Type-C in 文档支持) 185 ms
tST Delay after sink request is accepted until CTL1 and/or CTL2 is changed. This is called tSnkTransition. (refer to USB PD in 文档支持) 30 ms
tFLT The time in between hard reset transmissions in the presence of a persistent supply fault. GD = GND or VPWR=GND, sink attached 1395 ms
tSH The time in between retries (hard reset transmissions) in the presence of a persistent VBUS short. VBUS = GND, sink attached 985 ms
tON The time from UFP being pulled low until a hard reset is transmitted. Designed to be greater than tSrcTurnOn. (refer to USB PD in 文档支持) GD = 0 V or VPWR = 0 V 600 ms
Retry interval if USB PD sink stops communicating without being removed or if sink does not communicate after a fault condition. Time GDNG remains enabled before a hard reset is transmitted. This is the tNoResponse time. (refer to USB PD in 文档支持) Sink attached 4.8 s
tDVDD Delay before DVDD is driven high After sink attached 5 ms
tGDoff Turnoff delay, time until V(GDNG) is below 10% of its initial value after the GD pin is low. VGD: 5 V → 0 V in < 0.5 µs. 5 µs
tFOVP Response time when VBUS exceeds the fast-OVP threshold VBUS ↑ to GDNG OFF
(V(GDNG) below 10% its initial value)
30 µs
OCP large signal response time 5 A enabled, V(ISNS) -V(VBUS): 0 V → 42 mV measured to GDNG transition start. 30 µs
Time until discharge is stopped after TJ1 is exceeded. 0 V ≤ V(DSCG) ≤ 25 V 10 µs
Digital output fall time V(PULLUP) = 1.8 V, CL = 10 pF,
R(PULLUP) = 10 kΩ, V(CTLx) or
V(UFP) : 70% VPULLUP → 30% VPULLUP
20 300 ps
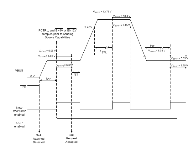
TPS25740 TPS25740A Fig_1_Timing.gif Figure 1. Timing Illustration for tVP, tST and tSTL, After Sink Attachment negotiation to 12 V then back to 5 V. V(SOVP) and V(SUVP) are Disabled Around Voltage Transitions.
TPS25740 TPS25740A Fig_2_Timing.gif Figure 2. Timing Illustration for tHR and tSR, After Sink Attachment with persistent TJ > TJ1
TPS25740 TPS25740A Fig_3_Timing.gif Figure 3. Timing Illustration for tCcDeb and tVP, Under Persistent Fault Condition
TPS25740 TPS25740A Fig_4_Timing.gif Figure 4. Timing Illustration for tSH and tVP, with VBUS Shorted to Ground
TPS25740 TPS25740A Fig_5_Timing.gif Figure 5. Timing Illustration for tON
TPS25740 TPS25740A Fig_6_Timing.gif Figure 6. Timing Illustration for tON

Typical Characteristics

TPS25740 TPS25740A D004_SLVSDG8.gif
I(DSCG) = 100 mA
Figure 7. V(DSCG) while V(VPWR) > 4.65 V after an unplug
TPS25740 TPS25740A D006_SLVSDG8.gif
Figure 9. Supply Current While CC pins Unattached
TPS25740 TPS25740A D008_SLVSDG8.gif
Figure 11. V(FOVP) While Supplying 9 V
TPS25740 TPS25740A D010_SLVSDG8.gif
Figure 13. V(FOVP) While Supplying 15 V
TPS25740 TPS25740A D016_SLVSDG8.gif
5 A enabled
Figure 15. VI(TRIP) When V(VPWR) > 4.65 V
TPS25740 TPS25740A D012_SLVSDG8.gif
Sink attached at time 0
UFP pulled up to DVDD
Figure 17. DVDD and UFP Upon Sink Attachment
TPS25740 TPS25740A D005_SLVSDG8.gif
V(DSCG) = 4 V Pulsed Testing
Figure 8. I(DSCG) while V(VPWR) > 4.65 V after an unplug
TPS25740 TPS25740A D007_SLVSDG8.gif
Figure 10. V(FOVP) While Supplying 5 V
TPS25740 TPS25740A D009_SLVSDG8.gif
Figure 12. V(FOVP) While Supplying 12 V
TPS25740 TPS25740A D015_SLVSDG8.gif
Figure 14. V(FOVP) While Supplying 20 V
TPS25740 TPS25740A D011_SLVSDG8.gif
3 A enabled
Figure 16. VI(TRIP) When V(VPWR) > 4.65 V
TPS25740 TPS25740A D013_SLVSDG8.gif
Sink detached at time 0s
Sleep mode entered at time 0.19s.
UFP pulled up to DVDD
Figure 18. DVDD and UFP Upon Sink Attachment