SLAS553B November 2008 – August 2015 TLV320ADC3101
PRODUCTION DATA.
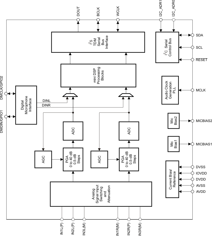
The TLV320ADC3101 is a flexible, low-power, stereo audio ADC device with extensive feature integration, intended for applications in smartphones, PDAs, and portable computing, communication, and entertainment applications. The device integrates a host of features to reduce cost, board space, and power consumption in space-constrained, battery-powered, portable applications.
The TLV320ADC3101 consists of the following blocks:
Communication to the TLV320ADC3101 for control is via a two-wire I2C interface. The I2C interface supports both standard and fast communication modes.
The TLV320ADC3101 requires a hardware reset after power up for proper operation. After all power supplies are at their specified values, the RESET pin must be driven low for at least 10 ns. If this reset sequence is not performed, the TLV320ADC3101 may not respond properly to register reads/writes.
When the PLL is powered on, a start-up delay of approximately 10 ms occurs after the power-up command of the PLL and before the clocks are available to the TLV320ADC3101. This delay is to ensure stable operation of the PLL and clock-divider logic.
By default, all circuit blocks are powered down following a reset condition. Hardware power up of each circuit block can be controlled by writing to the appropriate control register. This approach allows the lowest power-supply current for the functionality required. However, when a block is powered down, all of the register settings are maintained as long as power is still being applied to the device.
The TLV320ADC3101 features a miniDSP core which is tightly coupled to the ADC. The fully programmable algorithms for the miniDSP must be loaded into the device after power up. The miniDSP has direct access to the digital stereo audio stream, offering the possibility for advanced, very low-group-delay DSP algorithms. The ADC miniDSP has 512 programmable instructions, 256 data memory locations, and 128 programmable coefficients.
Software development for the TLV320ADC3101 is supported through TI's comprehensive PurePath™ Studio software development environment, a powerful, easy-to-use tool designed specifically to simplify software development on Texas Instruments miniDSP audio platforms. The graphical development environment consists of a library of common audio functions that can be dragged and dropped into an audio signal flow and graphically connected together. The DSP code can then be assembled from the graphical signal flow with the click of a mouse. See the TLV320ADC3101 product folder on www.ti.com to learn more about PurePath Studio software and the latest status on available, ready-to-use DSP algorithms.
The TLV320ADC3101 supports the following standard audio sampling rates: 8 kHz, 11.025 kHz, 12 kHz, 16 kHz, 22.05 kHz, 24 kHz, 32 kHz, 44.1 kHz, 48 kHz, 88.2 kHz, and 96 kHz. The converters can also operate at different sampling rates in various combinations, which are described further as follows.
The TLV320ADC3101 supports a wide range of options for generating clocks for the ADC section as well as the digital interface section and the other control blocks, as shown in Figure 28. The clocks for the ADC require a source reference clock. The clock can be provided on device pins MCLK and BCLK. The source reference clock for the ADC section can be chosen by programming the ADC_CLKIN value on page 0 / register 4, bits D1–D0. The ADC_CLKIN can then be routed through highly flexible clock dividers, shown in Figure 28, to generate various clocks required for the ADC and programmable digital filter sections. In the event that the desired audio or programmable digital filter clocks cannot be generated from the external reference clocks on MCLK and BCLK, the TLV320ADC3101 also provides the option of using an on-chip PLL that supports a wide range of fractional multiplication values to generate the required system clocks. Starting from ADC_CLKIN, the TLV320ADC3101 provides for several programmable clock dividers to support a variety of sampling rates for the ADC and the clocks for the programmable digital filter section.
Audio data is transferred between the host processor and the TLV320ADC3101 via the digital-audio serial-data interface, or audio bus. The audio bus on this device is flexible, including left- or right-justified data options, support for I2S or PCM protocols, programmable data-length options, a TDM mode for multichannel operation, flexible master/slave configurability for each bus clock line, and the ability to communicate with multiple devices within a system directly.
The audio serial interface on the TLV320ADC3101 has an extensive I/O control to allow for communicating with two independent processors for audio data. The processors can communicate with the device one at a time. This feature is enabled by register programming of the various pin selections.
The audio bus of the TLV320ADC3101 can be configured for left- or right-justified, I2S, DSP, or TDM modes of operation, where communication with standard telephony PCM interfaces is supported within the TDM mode. These modes are all MSB-first, with data width programmable as 16, 20, 24, or 32 bits by configuring page 0 / register 27, bits D5–D4. In addition, the word clock and bit clock can be independently configured in either master or slave mode for flexible connectivity to a wide variety of processors. The word clock is used to define the beginning of a frame, and may be programmed as either a pulse or a square-wave signal. The frequency of this clock corresponds to the maximum of the selected ADC sampling frequencies.
The bit clock is used to clock in and out the digital audio data across the serial bus. When in master mode, this signal can be programmed to generate variable clock pulses by controlling the bit-clock divider in page 0 / register 30 (see Figure 28). Accommodating various word lengths as well as supporting the case when multiple TLV320ADC3101s share the same audio bus may require that the number of bit-clock pulses in a frame be adjusted.
The TLV320ADC3101 also includes a feature to offset the position of the start of data a transfer with respect to the word clock. There are two configurations that afford the user to use either a single offset for both channels or to use separate offsets. Ch_Offset_1 reference represents the value in page 0 / register 28 and Ch_Offset_2 represents the value in page 0 / register 37. When page 0 / register 38, bit D0 is set to zero (time-slot-based channel assigment is disabled), the offset of both channels is controlled, in terms of number of bit clocks, by the programming in page 0 / register 28 (Ch_Offset_1). When page 0 / register 38, bit D0 = 1 (time-slot-based channel assignment enabled), the first channel is controlled, in terms of number of bit clocks, by the programming in page 0 / register 28 (Ch_Offset_1), and the second channel is controlled, in terms of number of bit clocks, by the programming in page 0 / register 37 (Ch_Offset_2), where register 37 programs the delay between the first word and the second word. Also, the relative order of the two channels can be swapped, depending on the programmable register bit (page 0 / register 38, bit D4) that enables swapping of the channels.
The TLV320ADC3101 also supports a feature of inverting the polarity of bit clock used for transferring the audio data as compared to the default clock polarity used. This feature can be used independently of the mode of audio interface chosen. This can be configured by writing to page 0 / register 29, bit D3.
The TLV320ADC3101 further includes programmability (page 0 / register 27, bit D0) to place DOUT in the high-impedance state at the end of data transfer (that is, at the end of the bit cycle corresponding to the LSB of a channel). By combining this capability with the ability to program at what bit clock in a frame the audio data begins, time-division multiplexing (TDM) can be accomplished, resulting in multiple ADCs able to use a single audio serial data bus. To further enhance the 3-state capability, the TLV320ADC3101 can be put in a high-impedance state a half bit cycle earlier by setting page 0 / register 38, bit D1 to 1. When the audio serial data bus is powered down while configured in master mode, the pins associated with the interface are put into a high-impedance output state.
Figure 11. Both Channels Enabled, Early 3-Stating Enabled
Either or both of the two channels can be disabled in LJF, I2S, and DSP modes by using page 0 / register 38, bits D3–D2. Figure 11 shows the interface timing when both channels are enabled and early 3-stating is enabled. Figure 12 shows the effect of setting page 0 / register 38, bit D2, first channel disabled, and setting page 0 / register 27, bit D0 to 1, which enables placing DOUT in the high-impedance state. If placing DOUT in the high-impedance state is disabled, then the DOUT signal is driven to logic level 0.
Figure 12. First Channel Disabled, Second Channel Enabled, 3-Stating Enabled
The sync signal for the ADC filter is not generated based on the disabled channel. The sync signal for the filter corresponds to the beginning of the earlier of the two channels. If the first channel is disabled, the filter sync is generated at the beginning of the second channel, if it is enabled. If both the channels are disabled, there is no output to the serial bus, and the filter sync corresponds to the beginning of the frame.
By default, when the word clocks and bit clocks are generated by the TLV320ADC3101, these clocks are active only when the ADC is powered up within the device. This is done to save power. However, it also supports a feature wherein both the word clocks and bit clocks can be active even when the codec in the device is powered down. This is useful when using the TDM mode with multiple codecs on the same bus or when word clocks or bit clocks are used in the system as general-purpose clocks.
In right-justified mode, the LSB of the left channel is valid on the rising edge of the bit clock preceding the falling edge of word clock. Similarly, the LSB of the right channel is valid on the rising edge of the bit clock preceding the rising edge of the word clock. See Figure 13 for right-justifed mode timing.
Figure 13. Timing Diagram for Right-Justified Mode
For right-justified mode, the number of bit clocks per frame must be greater than twice the programmed word-length of the data.
NOTE
The time-slot-based mode is not available in the right-justified mode.
In left-justified mode, the MSB of the right channel is valid on the rising edge of the bit clock following the falling edge of the word clock. Similarly, the MSB of the left channel is valid on the rising edge of the bit clock following the rising edge of the word clock. Figure 14 shows the standard timing of the left-justified mode.
Figure 14. Left-Justified Mode (Standard Timing)
Figure 15 shows the left-justified mode with Ch_Offset_1 = 1.
Figure 15. Left-Justified Mode With Ch_Offset_1 = 1
Figure 16 shows the left-justified mode with Ch_Offset_1 = 0 and bit clock inverted.
Figure 16. Left-Justified Mode With Ch_Offset_1 = 0, Bit Clock Inverted
For left-justified mode, the number of bit clocks per frame must be greater than twice the programmed word length of the data. Also, the programmed offset value must be less than the number of bit clocks per frame by at least the programmed word length of the data.
When the time-slot-based channel assignment is disabled (page 0 / register 38, bit D0 = 0), the left and right channels have the same offset Ch_Offset_1 (page 0 / register 28), and each edge of the word clock starts data transfer for one of the two channels, depending on whether or not channel swapping is enabled. Data bits are valid on the rising edges of the bit clock. With the time-slot-based channel assignment enabled (page 0 / register 38, bit D0 = 1), the left and right channels have independent offsets (Ch_Offset_1 and Ch_Offset_2). The rising edge of the word clock starts data transfer for the first channel after a delay of its programmed offset (Ch_Offset_1) for this channel. Data transfer for the second channel starts after a delay of its programmed offset (Ch_Offset_2) from the LSB of the first-channel data. The falling edge of the word clock is not used.
With no channel swapping, the MSB of the left channel is valid on the (Ch_Offset_1 + 1)th rising edge of the bit clock following the rising edge of the word clock. And, the MSB of the right channel is valid on the (Ch_Offset_1 + 1)th rising edge of the bit clock following the falling edge of the word clock. The operation in this case, with offset of 1, is shown in the timing diagram of Figure 15. Because channel swapping is not enabled, the left-channel data is before the right-channel data. With channel swapping enabled, the MSB of the right channel is valid on the (Ch_Offset_1 + 1)th rising edge of the bit clock following the rising edge of the word clock. And, the MSB of the left channel is valid on the (Ch_Offset_1 + 1)th rising edge of the bit clock following the falling edge of the word clock. The operation in this case, with offset of 1, is shown in the timing diagram of Figure 17. As shown in the diagram, right-channel data of a frame is before that frame’s left-channel data, due to channel swapping. Otherwise, the behavior is similar to the case where channel swapping is disabled. The MSB of the right-channel data is valid on the second rising edge of the bit clock after the rising edge of the word clock, due to an offset of 1. Similarly, the MSB of the left-channel data is valid on the second rising edge of the bit clock after the falling edge of the word clock.
Figure 17. Left-Justified Mode With Ch_Offset_1 = 1, Channel Swapping Enabled
When time-based-slot mode is enabled with no channel swapping, the MSB of the left channel is valid on the (Offset1 + 1)th rising edge of the bit clock following the rising edge of the word clock. And, the MSB of the right channel is valid on the (Ch_Offset_2 + 1)th rising edge of the bit clock following the LSB of the left channel.
Figure 18 shows the operation with time-based-slot mode enabled and Ch_Offset_1 = 0 and Ch_Offset_2 = 1. The MSB of the left channel is valid on the first rising edge of the bit clock after the rising edge of the word clock. Data transfer for the right channel does not wait for the falling edge of the word clock, and the MSB of the right channel is valid on the second rising edge of the bit clock after the LSB of the left channel.
Figure 18. Left-Justified Mode, Time-Based-Slot Mode Enabled, Ch_Offset_1 = 0, Ch_Offset_2 = 1
For the case with time-based-slot mode enabled and channel swapping enabled, the MSB of the right channel is valid on the (Ch_Offset_1 + 1)th rising edge of the bit clock following the rising edge of the word clock. And, the MSB of the left channel is valid on the (Ch_Offset_2 + 1)th rising edge of the bit clock following the LSB of the right channel. Figure 19 shows the operation in this mode with Ch_Offset_1 = 0 and Ch_Offset_2 = 1. The MSB of the right channel is valid on the first rising edge of the bit clock after the rising edge of the word clock. Data transfer for the left channel starts following the completion of data transfer for the right channel without waiting for the falling edge of the word clock. The MSB of the left channel is valid on the second rising edge of the bit clock after the LSB of the right channel.
Figure 19. Left-Justified Mode, Time-Based-Slot Mode Enabled, Ch_Offset_1 = 0, Ch_Offset_2 = 1,In I2S mode, the MSB of the left channel is valid on the second rising edge of the bit clock after the falling edge of the word clock. Similarly, the MSB of the right channel is valid on the second rising edge of the bit clock after the rising edge of the word clock. Figure 20 shows the standard I2S timing.
Figure 20. I2S Mode (Standard Timing)
Figure 21 shows the I2S mode timing with Ch_Offset_1 = 2.
Figure 21. I2S Mode With Ch_Offset_1 = 2
Figure 22 shows the I2S mode timing with Ch_Offset_1 = 0 and bit clock inverted.
Figure 22. I2S Mode With Ch_Offset_1 = 0, Bit Clock Inverted
For I2S mode, the number of bit clocks per channel must be greater than or equal to the programmed word length of the data. Also the programmed offset value must be less than the number of bit clocks per frame by at least the programmed word length of the data.
In DSP mode, the rising edge of the word clock starts the data transfer with the left-channel data first and is immediately followed by the right-channel data. Each data bit is valid on the falling edge of the bit clock. Figure 23 shows the standard timing for the DSP mode.
Figure 23. DSP Mode (Standard Timing)
Figure 24 shows the DSP mode timing with Ch_Offset_1 = 1.
Figure 24. DSP Mode With Ch_Offset_1 = 1
Figure 25 shows the DSP mode timing with Ch_Offset_1 = 0 and bit clock inverted.
Figure 25. DSP Mode With Ch_Offset_1 = 0, Bit Clock Inverted
For DSP mode, the number of bit clocks per frame must be greater than twice the programmed word length of the data. Also, the programmed offset value must be less than the number of bit clocks per frame by at least the programmed word length of the data.
Figure 26 shows the DSP time-slot-based mode without channel swapping, and with Ch_Offset_1 = 0 and Ch_Offset_2 = 3. The MSB of left channel data is valid on the first falling edge of the bit clock after the rising edge of the word clock. Because the right channel has an offset of 3, the MSB of its data is valid on the third falling edge of the bit clock after the LSB of the left-channel data. As in the case of other modes, the serial output bus is put in the high-impedance state, if 3-stating of the output is enabled, during all the extra bit-clock cycles in the frame.
Figure 26. DSP Mode, Time-Slot-Based Mode Enabled, Ch_Offset_1 = 0, Ch_Offset_2 = 3
Figure 27 shows the timing diagram for the DSP mode with left and right channels swapped, Ch_Offset_1 = 0, and Ch_Offset_2 = 3. The MSB of the right channel is valid on the first falling edge of the bit clock after the rising edge of the word clock. And, the MSB of the left channel is valid three bit-clock cycles after the LSB of right channel, because the offset for the left channel is 3.
Figure 27. DSP Mode, Time-Slot-Based Mode Enabled, Ch_Offset_1 = 0, Ch_Offset_2 = 3, Channel Swap Enabled
The audio converters in fully programmable filter mode in the TLV320ADC3101 require an internal audio master clock at a frequency of ≥ N × fS, where N = IADC (page 0 / register 21) when filter mode (page 0 / register 61) equals zero; otherwise, N equals the instruction count from the ADC processing blocks (see Table 6). The master clock is obtained from an external clock signal applied to the device.
The device can accept an MCLK input from 512 kHz to 50 MHz, which can then be passed through either a programmable divider or a PLL to get the proper internal audio master clock required by the device. The BCLK input can also be used to generate the internal audio master clock.
A primary concern is proper operation of the TLV320ADC3101 at various sample rates with the limited MCLK frequencies available in the system. This device includes a programmable PLL to accommodate such situations. The integrated PLL can generate audio clocks from a wide variety of possible MCLK inputs, with particular focus paid to the standard MCLK rates already widely used.
When the PLL is enabled:
where
P, R, J, and D are register programmable. J is the integer portion of K (the numbers to the left of the decimal point), whereas D is the fractional portion of K (the numbers to the right of the decimal point, assuming four digits of precision).
Examples:
If K = 8.5, then J = 8, D = 5000
If K = 7.12, then J = 7, D = 1200
If K = 14.03, then J = 14, D = 0300
If K = 6.0004, then J = 6, D = 0004
When the PLL is enabled and D = 0000, the following conditions must be satisfied to meet specified performance:
512 kHz ≤ (PLLCLK_IN / P) ≤ 20 MHz
80 MHz ≤ (PLLCLK _IN × K × R / P) ≤ 110 MHz
4 ≤ J ≤ 55
When the PLL is enabled and D ≠ 0000, the following conditions must be satisfied to meet specified performance:
10 MHz ≤ PLLCLK _IN / P ≤ 20 MHz
80 MHz ≤ PLLCLK _IN × K × R / P ≤ 110 MHz
4 ≤ J ≤ 11
R = 1
Example:
For MCLK = 12 MHz, fS = 44.1 kHz, NADC = 8, MADC = 2, and AOSR = 128:
Select P = 1, R = 1, K = 7.5264, which results in J = 7, D = 5264
Example:
For MCLK = 12 MHz, fS = 48 kHz , NADC = 8, MADC = 2, and AOSR = 128:
Select P = 1, R = 1, K = 8.192, which results in J = 8, D = 1920
Table 1 lists several example cases of typical MCLK rates and how to program the PLL to achieve sample rates of fS = 44.1 kHz or 48 kHz with NADC = 8, MADC = 2, and AOSR = 128.
| MCLK (MHz) | P | R | J | D | ACHIEVED fS | % ERROR |
|---|---|---|---|---|---|---|
| fS = 44.1 kHz | ||||||
| 2.8224 | 1 | 1 | 32 | 0 | 44,100.00 | 0.0000 |
| 5.6448 | 1 | 1 | 16 | 0 | 44,100.00 | 0.0000 |
| 12.0 | 1 | 1 | 7 | 5264 | 44,100.00 | 0.0000 |
| 13.0 | 1 | 1 | 6 | 9474 | 44,099.71 | –0.0007 |
| 16.0 | 1 | 1 | 5 | 6448 | 44,100.00 | 0.0000 |
| 19.2 | 1 | 1 | 4 | 7040 | 44,100.00 | 0.0000 |
| 19.68 | 1 | 1 | 4 | 5893 | 44,100.30 | 0.0007 |
| 48.0 | 4 | 1 | 7 | 5264 | 44,100.00 | 0.0000 |
| fS = 48 kHz | ||||||
| 2.048 | 1 | 1 | 48 | 0 | 48,000.00 | 0.0000 |
| 3.072 | 1 | 1 | 32 | 0 | 48,000.00 | 0.0000 |
| 4.096 | 1 | 1 | 24 | 0 | 48,000.00 | 0.0000 |
| 6.144 | 1 | 1 | 16 | 0 | 48,000.00 | 0.0000 |
| 8.192 | 1 | 1 | 12 | 0 | 48,000.00 | 0.0000 |
| 12.0 | 1 | 1 | 8 | 1920 | 48,000.00 | 0.0000 |
| 13.0 | 1 | 1 | 7 | 5618 | 47,999.71 | –0.0006 |
| 16.0 | 1 | 1 | 6 | 1440 | 48,000.00 | 0.0000 |
| 19.2 | 1 | 1 | 5 | 1200 | 48,000.00 | 0.0000 |
| 19.68 | 1 | 1 | 4 | 9951 | 47,999.79 | –0.0004 |
| 48.0 | 4 | 1 | 8 | 1920 | 48,000.00 | 0.0000 |
A detailed diagram of the audio clock section of the TLV320ADC3101 is shown in Figure 28.
Figure 28. Audio Clock Generation Processing
The TLV320ADC3101 includes a stereo audio ADC, which uses a delta-sigma modulator with 128-times oversampling in single-rate mode, followed by a digital decimation filter. The ADC supports sampling rates from 8 kHz to 48 kHz in single-rate mode, and up to 96 kHz in dual-rate mode. Whenever the ADC is in operation, the device requires that an audio master clock be provided and appropriate audio clock generation be set up within the device.
In order to provide optimal system power dissipation, the stereo ADC can be powered one channel at a time, to support the case where only mono record capability is required. In addition, both channels can be fully or partially powered down.
The integrated digital decimation filter removes high-frequency content and downsamples the audio data from an initial sampling rate of 128 fS to the final output sampling rate of fS. The decimation filter provides a linear phase output response with a group delay of 17/fS. The –3 dB bandwidth of the decimation filter extends to 0.45 fS and scales with the sample rate (fS). The filter has minimum 73 dB attenuation over the stop band from 0.55 fS to 64 fS. Independent digital high-pass filters are also included with each ADC channel, with a corner frequency that can be set independently by programmable coefficients or can be disabled entirely.
Because of the oversampling nature of the audio ADC and the integrated digital decimation filtering, requirements for analog anti-aliasing filtering are relaxed. The TLV320ADC3101 integrates a second-order analog anti-aliasing filter with 20-dB attenuation at 1 MHz. This filter, combined with the digital decimation filter, provides sufficient anti-aliasing filtering without requiring additional external components.
The ADC is preceded by a programmable gain amplifier (PGA), which allows analog gain control from 0 dB to 40 dB in steps of 0.5 dB. The PGA gain changes are implemented with an internal soft-stepping algorithm that only changes the actual volume level by one 0.5-dB step every one or two ADC output samples, depending on the register programming (see register page 0 / register 81). This soft-stepping specifies that volume control changes occur smoothly with no audible artifacts. On reset, the PGA gain defaults to a mute condition, and upon power down, the PGA soft-steps the volume to mute before shutting down. A read-only flag is set whenever the gain applied by PGA equals the desired value set by the register. The soft-stepping control can also be disabled by programming a register bit.
The TLV320ADC3101 also has a digital volume-control block with a range from –12dB to 20 dB in steps of 0.5 dB. It is set by programming page 0 / register 83 and page 0 / register 84 for the left and right channels, respectively.
| DESIRED GAIN dB |
LEFT / RIGHT CHANNEL PAGE 0 / REGISTER 83 AND PAGE 0 / REGISTER 84, BITS D6–D0 |
|---|---|
| –12 | 110 1000 |
| –11.5 | 110 1001 |
| –11 | 110 1010 |
| ... | ... |
| –0.5 | 111 1111 |
| 0 | 000 0000 (default) |
| 0.5 | 000 0001 |
| ... | ... |
| 19.5 | 010 0111 |
| 20 | 010 1000 |
During volume control changes, the soft-stepping feature is used to avoid audible artifacts. The soft-stepping rate can be set to either 1 or 2 gain steps per sample. Soft-stepping can also be entirely disabled. This soft-stepping is configured via page 0 / register 81, bits D1–D0, and is common to soft-stepping control for the analog PGA. During power-down of an ADC channel, this volume control soft-steps down to –12 dB before powering down. Due to the soft-stepping control, soon after changing the volume control setting or powering down the ADC channel, the actual applied gain may be different from the one programmed through the control register. The TLV320ADC3101 gives feedback to the user through the read-only flags in page 0 / register 36, bit D7 for the left channel and page 0 / register 36, bit D3 for the right channel.
Additionally, the gain in each of the channels is finely adjustable in steps of 0.1 dB. This is useful when trying to match the gain between channels. By programming page 0 / register 82, the gain can be adjusted from 0 dB to –0.4 dB in steps of 0.1 dB. This feature, in combination with the regular digital volume control, allows the gains through the left and right channels be matched in the range of –0.5 dB to 0.5 dB with a resolution of 0.1 dB.
The TLV320ADC3101 includes automatic gain control (AGC) for ADC recording. AGC can be used to maintain a nominally constant output level when recording speech. As opposed to manually setting the PGA gain, in the AGC mode, the circuitry automatically adjusts the PGA gain as the input signal becomes overly loud or very weak, such as when a person speaking into a microphone moves closer to or farther from the microphone. The AGC algorithm has several programmable parameters, including target gain, attack and decay time constants, noise threshold, and maximum PGA applicable, that allow the algorithm to be fine-tuned for any particular application. The algorithm uses the absolute average of the signal (which is the average of the absolute value of the signal) as a measure of the nominal amplitude of the output signal. Because the gain can be changed at the sample interval time, the AGC algorithm operates at the ADC sample rate.

where
See Table 3 for various AGC programming options. AGC can be used only if the analog microphone input is routed to the ADC channel.
| FUNCTION | CONTROL REGISTER LEFT ADC |
CONTROL REGISTER RIGHT ADC |
BIT |
|---|---|---|---|
| AGC enable | Page 0 / register 86 | Page 0 / register 94 | D7 |
| Target level | Page 0 / register 86 | Page 0 / register 94 | D6–D4 |
| Hysteresis | Page 0 / register 87 | Page 0 / register 95 | D7–D6 |
| Noise threshold | Page 0 / register 87 | Page 0 / register 95 | D5–D1 |
| Maximum PGA applicable | Page 0 / register 88 | Page 0 / register 96 | D6–D0 |
| Time constants (attack time) | Page 0 / register 89 | Page 0 / register 97 | D7–D0 |
| Time constants (decay time) | Page 0 / register 90 | Page 0 / register 98 | D7–D0 |
| Debounce time (noise) | Page 0 / register 91 | Page 0 / register 99 | D4–D0 |
| Debounce time (signal) | Page 0 / register 92 | Page 0 / register 100 | D3–D0 |
| Gain applied by AGC | Page 0 / register 93 | Page 0 / register 101 | D7–D0 (read-only) |
| AGC noise-threshold flag | Page 0 / register 45 (sticky flag), Page 0 / register 47 (non-sticky flag) |
Page 0 / register 45 (sticky flag), Page 0 / register 47 (non-sticky flag) |
D6–D5 (read-only) |
| AGC saturation flag | Page 0 / register 36 (sticky flag) | Page 0 / register 36 (sticky flag) | D5, D1 (read-only) |
| ADC saturation flag | Page 0 / register 42 (sticky flag), Page 0 / register 43 (non-sticky flag) |
Page 0 / register 42 (sticky flag), Page 0 / register 43 (non-sticky flag) |
D3–D2 (read-only) |
Figure 29. AGC Characteristics
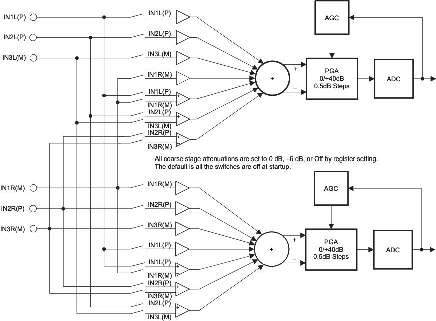
The TLV320ADC3101 includes three analog audio input pins, which can be configured as one fully-differential pair and one single-ended input, or as three single-ended audio inputs. These pins connect through series resistors and switches to the virtual ground terminals of two fully differential operational amplifiers (one per ADC/PGA channel). By selecting to turn on only one set of switches per operational amplifier at a time, the inputs can be effectively multiplexed to each ADC PGA channel.
By selecting to turn on multiple sets of switches per operational amplifier at a time, mixing can also be achieved. Mixing of multiple inputs can easily lead to PGA outputs that exceed the range of the internal operational amplifiers, resulting in saturation and clipping of the mixed output signal. Whenever mixing is being implemented, the user must take adequate precautions to avoid such a saturation case from occurring. In general, the mixed signal must not exceed 2 Vpp (single-ended) or 4 Vpp (differential).
In most mixing applications, there is also a general need to adjust the levels of the individual signals being mixed. For example, if a soft signal and a large signal are to be mixed and played together, the soft signal generally must be amplified to a level comparable to the large signal before mixing. In order to accommodate this need, the TLV320ADC3101 includes input level control on each of the individual inputs before they are mixed or multiplexed into the ADC PGAs, with programmable attenuation at 0 dB, –6 dB, or off.
NOTE
This input-level control is not intended to be a volume control, but instead used for coarse level setting. Finer soft-stepping of the input level is implemented in this device by the ADC PGA.
Figure 30. TLV320ADC3101 Available Audio Input Path Configurations
| AUDIO SIGNALS AVAILABLE TO LEFT ADC | AUDIO SIGNALS AVAILABLE TO RIGHT ADC | ||
|---|---|---|---|
| SINGLE-ENDED INPUTS | DIFFERENTIAL INPUTS | SINGLE-ENDED INPUTS | DIFFERENTIAL INPUTS |
| IN1L(P) | IN1L(P), IN1R(M) | IN1R(M) | IN1L(P), IN1R(M) |
| IN2L(P) | IN2L(P), IN3L(M) | IN2R(P) | IN2R(P), IN3R(M) |
| IN3L(M) | IN2R(P), IN3R(M) | IN3R(M) | IN2L(P), IN3L(M) |
| IN1R(M) | IN1L(P) | ||
Inputs can be selected as single-ended instead of fully differential, and mixing or multiplexing into the ADC PGAs is also possible in this mode. It is not possible, however, for an input pair to be selected as fully-differential for connection to one ADC PGA and simultaneously selected as single-ended for connection to the other ADC PGA channel. However, it is possible for an input to be selected or mixed into both left and right channel PGAs, as long as it has the same configuration for both channels (either both single-ended or both fully differential).
The TLV320ADC3101 includes several programmable settings to control analog input pins, particularly when they are not selected for connection to an ADC PGA. The default option allows unselected inputs to be put into a high-impedance state, such that the input impedance seen looking into the device is extremely high. However, the pins on the device do include protection diode circuits connected to AVDD and AVSS. Thus, if any voltage is driven onto a pin approximately one diode drop (~0.6 V) above AVDD or one diode drop below AVSS, these protection diodes will begin conducting current, resulting in an effective impedance that no longer appears as a high-impedance state.
Another programmable option for unselected analog inputs is to weakly hold them at the common-mode input voltage of the ADC PGA (which is determined by an internal band-gap voltage reference). This is useful to keep the AC-coupling capacitors connected to analog inputs biased up at a normal dc level, thus avoiding the need for them to charge up suddenly when the input is changed from being unselected to selected for connection to an ADC PGA. This option is controlled in page 1 / register 52 through page 1 / register 57. The user must make sure this option is disabled when an input is selected for connection to an ADC PGA or selected for the analog input bypass path, because it can corrupt the recorded input signal if left operational when an input is selected.
In most cases, the analog input pins on the TLV320ADC3101 must be AC-coupled to analog input sources, the only exception to this generally being if an ADC is being used for dc voltage measurement. The AC-coupling capacitor causes a high-pass filter pole to be inserted into the analog signal path, so the size of the capacitor must be chosen to move that filter pole sufficiently low in frequency to cause minimal effect on the processed analog signal. The input impedance of the analog inputs, when selected for connection to an ADC PGA, varies with the setting of the input-level control, starting at approximately 35 kΩ with an input-level control setting of 0 dB, and 62.5-kΩ when the input-level control is set at –6 dB. For example, using a 0.1-μF AC-coupling capacitor at an analog input results in a high-pass filter pole of 45.5 Hz when the 0-dB input-level control setting is selected. To set a high-pass corner for the application, the following input-impedance table has been provided with various mixer gains and microphone PGA ranges.
| MIXER GAIN (dB) | MICROPHONE PGA RANGE (dB) | INPUT IMPEDANCE (Ω) |
|---|---|---|
| 0 | 0–5.5 | 35,000 |
| 0 | 6–11.5 | 38,889 |
| 0 | 12–17.5 | 42,000 |
| 0 | 18–23.5 | 44,074 |
| 0 | 24–29.5 | 45,294 |
| 0 | 30–35.5 | 45,960 |
| 0 | 36–40 | 46,308 |
| –6 | 0–5.5 | 62,222 |
| –6 | 6–11.5 | 70,000 |
| –6 | 12–17.5 | 77,778 |
| –6 | 18–23.5 | 84,000 |
| –6 | 24–29.5 | 88,148 |
| –6 | 30–35.5 | 90,588 |
| –6 | 36–40 | 91,919 |
The TLV320ADC3101 includes two programmable microphone bias outputs (MICBIAS1, MICBIAS2), each capable of providing output voltages of 2 V or 2.5 V (both derived from the on-chip band-gap voltage) with 4-mA output-current drive capability. In addition, the MICBIAS outputs may be programmed to be switched to AVDD directly through an on-chip switch, or it can be powered down completely when not needed, for power savings. This function is controlled by register programming in page 1 / register 51.
The TLV320ADC3101 ADC channel includes a built-in digital decimation filter to process the oversampled data from the delta-sigma modulator to generate digital data at the Nyquist sampling rate with high dynamic range. The decimation filter can be chosen from three different types, depending on the required frequency response, group delay and sampling rate.
The TLV320ADC3101 offers a range of processing blocks which implement various signal processing capabilities along with decimation filtering. These processing blocks give users the choice of how much and what type of signal processing they may use and which decimation filter is applied.
The signal processing blocks available are:
The processing blocks are tuned for common cases and can achieve high anti-alias filtering or low group delay in combination with various signal processing effects such as audio effects and frequency shaping. The available first-order IIR, biquad, and FIR filters have fully user-programmable coefficients. ADC processing blocks can be selected by writing to page 0 / register 61. The default (reset) processing block is PRB_R1.
| PROCESSING BLOCKS | CHANNEL | DECIMATION FILTER |
FIRST-ORDER IIR AVAILABLE |
NUMBER OF BIQUADS |
FIR | REQUIRED AOSR VALUE | INSTRUCTION COUNT |
|---|---|---|---|---|---|---|---|
| PRB_R1 | Stereo | A | Yes | 0 | No | 128, 64 | 188 |
| PRB_R2 | Stereo | A | Yes | 5 | No | 128, 64 | 240 |
| PRB_R3 | Stereo | A | Yes | 0 | 25-tap | 128, 64 | 236 |
| PRB_R4 | Right | A | Yes | 0 | No | 128, 64 | 96 |
| PRB_R5 | Right | A | Yes | 5 | No | 128, 64 | 120 |
| PRB_R6 | Right | A | Yes | 0 | 25-tap | 128, 64 | 120 |
| PRB_R7 | Stereo | B | Yes | 0 | No | 64 | 88 |
| PRB_R8 | Stereo | B | Yes | 3 | No | 64 | 120 |
| PRB_R9 | Stereo | B | Yes | 0 | 20-tap | 64 | 128 |
| PRB_R10 | Right | B | Yes | 0 | No | 64 | 46 |
| PRB_R11 | Right | B | Yes | 3 | No | 64 | 60 |
| PRB_R12 | Right | B | Yes | 0 | 20-tap | 64 | 64 |
| PRB_R13 | Right | C | Yes | 0 | No | 32 | 70 |
| PRB_R14 | Stereo | C | Yes | 5 | No | 32 | 124 |
| PRB_R15 | Stereo | C | Yes | 0 | 25-tap | 32 | 120 |
| PRB_R16 | Right | C | Yes | 0 | No | 32 | 36 |
| PRB_R17 | Right | C | Yes | 5 | No | 32 | 64 |
| PRB_R18 | Right | C | Yes | 0 | 25-tap | 32 | 62 |
Figure 31. Signal Chain for PRB_R1 and PRB_R4
Figure 32. Signal Chain for PRB_R2 and PRB_R5
Figure 33. Signal Chain for PRB_R3 and PRB_R6
Figure 34. Signal Chain for PRB_R7 and PRB_R10
Figure 35. Signal Chain for PRB_R8 and PRB_R11
Figure 36. Signal Chain for PRB_R9 and PRB_R12
Figure 37. Signal Chain for PRB_R13 and PRB_R16
Figure 38. Signal Chain for PRB_R14 and PRB_R17
Figure 39. Signal for PRB_R15 and PRB_R18
Depending on the selected processing block, different types and orders of digital filtering are available. A first-order IIR filter is always available, and is useful to filter out possible dc components of the signal efficiently. Up to five biquad sections, or alternatively up to 25-tap FIR filters, are available for specific processing blocks. The coefficients of the available filters are arranged as sequentially indexed coefficients in two banks. If adaptive filtering is chosen, the coefficient banks can be switched while the processor is running.
The coefficients of these filters are each 16 bits wide, in 2s-complement format, and occupy two consecutive 8-bit registers in the register space, as shown in Table 7. Specifically, the filter coefficients are in 1.15 (one dot 15) format with a range from –1.0 (0x8000) to 0.999969482421875 (0x7FFF), as shown in Figure 40.
The transfer function for the first-order IIR filter is given by Equation 3.

The frequency response for the first-order IIR section with default coefficients is flat at a gain of 0 dB.
| FILTER | FILTER COEFFICIENT | ADC COEFFICIENT, LEFT CHANNEL | ADC COEFFICIENT, RIGHT CHANNEL |
|---|---|---|---|
| First-order IIR | N0 | C4 (page 4 / register 8, 9) | C36 (page 4 / register 72, 73) |
| N1 | C5 (page 4 / register 10, 11) | C37 (page 4 / register 74, 75) | |
| D1 | C6 (page 4 / register 12, 13) | C38 (page 4 / register 76, 77) |
The transfer function of each of the biquad filters is given by Equation 4.

The frequency response for each of the biquad sections with default coefficients is flat at a gain of 0 dB.
| FILTER | FILTER COEFFICIENT | ADC COEFFICIENT, LEFT CHANNEL | ADC COEFFICIENT, RIGHT CHANNEL |
|---|---|---|---|
| BIQUAD A | N0 | C7 (page 4 / register 14, 15) | C39 (page 4 / register 78, 79) |
| N1 | C8 (page 4 / register 16, 17) | C40 (page 4 / register 80, 81) | |
| N2 | C9 (page 4 / register 18, 19) | C41 (page 4 / register 82, 83) | |
| D1 | C10 (page 4 / register 20, 21) | C42 (page 4 / register 84, 85) | |
| D2 | C11 (page 4 / register 22, 23) | C43 (page 4 / register 86, 87) | |
| BIQUAD B | N0 | C12 (page 4 / register 24, 25) | C44 (page 4 / register 88, 89) |
| N1 | C13 (page 4 / register 26, 27) | C45 (page 4 / register 90, 91) | |
| N2 | C14 (page 4 / register 28, 29) | C46 (page 4 / register 92, 93) | |
| D1 | C15 (page 4 / register 30, 31) | C47 (page 4 / register 94, 95) | |
| D2 | C16 (page 4 / register 32, 33) | C48 (page 4 / register 96, 97) | |
| BIQUAD C | N0 | C17 (page 4 / register 34, 35) | C49 (page 4 / register 98, 99) |
| N1 | C18 (page 4 / register 36, 37) | C50 (page 4 / register 100, 101) | |
| N2 | C19 (page 4 / register 38, 39) | C51 (page 4 / register 102, 103) | |
| D1 | C20 (page 4 / register 40, 41) | C52 (page 4 / register 104, 105) | |
| D2 | C21 (page 4 / register 42, 43) | C53 (page 4 / register 106, 107) | |
| BIQUAD D | N0 | C22 (page 4 / register 44, 45) | C54 (page 4 / register 108, 109) |
| N1 | C23 (page 4 / register 46, 47) | C55 (page 4 / register 110, 111) | |
| N2 | C24 (page 4 / register 48, 49) | C56 (page 4 / register 112,113) | |
| D1 | C25 (page 4 / register 50, 51) | C57 (page 4 / register 114, 115) | |
| D2 | C26 (page 4 / register 52, 53) | C58 (page 4 / register 116, 117) | |
| BIQUAD E | N0 | C27 (page 4 / register 54, 55) | C59 (page 4 / register 118, 119) |
| N1 | C28 (page 4 / register 56, 57) | C60 (page 4 / register 120, 121) | |
| N2 | C29 (page 4 / register 58, 59) | C61 (page 4 / register 122,123) | |
| D1 | C30 (page 4 / register 60, 61) | C62 (page 4 / register 124, 125) | |
| D2 | C31 (page 4 / register 62, 63) | C63 (page 4 / register 126, 127) |
Six of the available ADC processing blocks offer FIR filters for signal processing. PRB_R9 and PRB_R12 feature a 20-tap FIR filter, whereas the processing blocks PRB_R3, PRB_R6, PRB_R15, and PRB_R18 feature a 25-tap FIR filter.

The coefficients of the FIR filters are 16-bit 2s-complement format and correspond to the ADC coefficient space as listed in Table 9. There is no default transfer function for the FIR filter. When the FIR filter is used, all applicable coefficients must be programmed.
| FILTER COEFFICIENT | ADC COEFFICIENT, LEFT CHANNEL | ADC COEFFICIENT, RIGHT CHANNEL |
|---|---|---|
| FIR0 | C7 (page 4 / register 14, page 4 / register 15) | C39 (page 4 / register 78, page 4 / register 79) |
| FIR1 | C8 (page 4 / register 16, page 4 / register 17) | C40 (page 4 / register 80, page 4 / register 81) |
| FIR2 | C9 (page 4 / register 18, page 4 / register 19) | C41 (page 4 / register 82, page 4 / register 83) |
| FIR3 | C10 (page 4 / register 20, page 4 / register 21) | C42 (page 4 / register 84, page 4 / register 85) |
| FIR4 | C11 (page 4 / register 22, page 4 / register 23) | C43 (page 4 / register 86, page 4 / register 87) |
| FIR5 | C12 (page 4 / register 24, page 4 / register 25) | C44 (page 4 / register 88, page 4 / register 89) |
| FIR6 | C13 (page 4 / register 26, page 4 / register 27) | C45 (page 4 / register 90, page 4 / register 91) |
| FIR7 | C14 (page 4 / register 28, page 4 / register 29) | C46 (page 4 / register 92, page 4 / register 93) |
| FIR8 | C15 (page 4 / register 30, page 4 / register 31) | C47 (page 4 / register 94, page 4 / register 95) |
| FIR9 | C16 (page 4 / register 32, page 4 / register 33) | C48 (page 4 / register 96, page 4 / register 97) |
| FIR10 | C17 (page 4 / register 34, page 4 / register 35) | C49 (page 4 / register 98, page 4 / register 99) |
| FIR11 | C18 (page 4 / register 36, page 4 / register 37) | C50 (page 4 / register 100, page 4 / register 101) |
| FIR12 | C19 (page 4 / register 38, page 4 / register 39) | C51 (page 4 / register 102, page 4 / register 103) |
| FIR13 | C20 (page 4 / register 40, page 4 / register 41) | C52 (page 4 / register 104, page 4 / register 105) |
| FIR14 | C21 (page 4 / register 42, page 4 / register 43) | C53 (page 4 / register 106, page 4 / register 107) |
| FIR15 | C22 (page 4 / register 44, page 4 / register 45) | C54 (page 4 / register 108, page 4 / register 109) |
| FIR16 | C23 (page 4 / register 46, page 4 / register 47) | C55 (page 4 / register 110, page 4 / register 111) |
| FIR17 | C24 (page 4 / register 48, page 4 / register 49) | C56 (page 4 / register 112, page 4 / register 113) |
| FIR18 | C25 (page 4 / register 50, page 4 / register 51) | C57 (page 4 / register 114, page 4 / register 115) |
| FIR19 | C26 (page 4 / register 52, page 4 / register 53) | C58 (page 4 / register 116, page 4 / register 117) |
| FIR20 | C27 (page 4 / register 54, page 4 / register 55) | C59 (page 4 / register 118, page 4 / register 119) |
| FIR21 | C28 (page 4 / register 56, page 4 / register 57) | C60 (page 4 / register 120, page 4 / register 121) |
| FIR22 | C29 (page 4 / register 58, page 4 / register 59) | C61 (page 4 / register 122, page 4 / register 123) |
| FIR23 | C30 (page 4 / register 60, page 4 / register 61) | C62 (page 4 / register 124, page 4 / register 125) |
| FIR24 | C31 (page 4 / register 62, page 4 / register 63) | C63 (page 4 / register 126, page 4 / register 127) |
The TLV320ADC3101 offers three different types of decimation filters. The integrated digital decimation filter removes high-frequency content and downsamples the audio data from an initial sampling rate of AOSR × fS to the final output sampling rate of fS. The decimation filtering is achieved using a higher-order CIC filter followed by linear-phase FIR filters. The decimation filter cannot be chosen by itself; it is implicitly set through the chosen processing block.
The following subsections describe the properties of the available filters A, B, and C.
This filter is intended for use at sampling rates up to 48 kHz. When configuring this filter, the oversampling ratio of the ADC can either be 128 or 64. For highest performance, the oversampling ratio must be set to 128. Filter A can also be used for 96 kHz at an AOSR of 64.
| PARAMETER | CONDITION | VALUE (TYPICAL) | UNIT |
|---|---|---|---|
| AOSR = 128 | |||
| Filter gain pass band | 0–0.39 fS | 0.062 | dB |
| Filter gain stop band | 0.55–64 fS | –73 | dB |
| Filter group delay | 17/fS | s | |
| Pass-band ripple, 8 ksps | 0–0.39 fS | 0.062 | dB |
| Pass-band ripple, 44.18 ksps | 0–0.39 fS | 0.05 | dB |
| Pass-band ripple, 48 ksps | 0–0.39 fS | 0.05 | dB |
| AOSR = 64 | |||
| Filter gain pass band | 0–0.39 fS | 0.062 | dB |
| Filter gain stop band | 0.55–32 fS | –73 | dB |
| Filter group delay | 17/fS | s | |
| Pass-band ripple, 8 ksps | 0–0.39 fS | 0.062 | dB |
| Pass-band ripple, 44.18 ksps | 0–0.39 fS | 0.05 | dB |
| Pass-band ripple, 48 ksps | 0–0.39 fS | 0.05 | dB |
| Pass-band ripple, 96 ksps | 0–20 kHz | 0.1 | dB |
Figure 41. ADC Decimation Filter A, Frequency Response
Filter B is intended to support sampling rates up to 96 kHz at an oversampling ratio of 64.
| PARAMETER | CONDITION | VALUE (TYPICAL) | UNIT |
|---|---|---|---|
| AOSR = 64 | |||
| Filter gain pass band | 0–0.39 fS | ±0.077 | dB |
| Filter gain stop band | 0.6 fS–32 fS | –46 | dB |
| Filter group delay | 11/fS | s | |
| Pass-band ripple, 8 ksps | 0–0.39 fS | 0.076 | dB |
| Pass-band ripple, 44.18 ksps | 0–0.39 fS | 0.06 | dB |
| Pass-band ripple, 48 ksps | 0–0.39 fS | 0.06 | dB |
| Pass-band ripple, 96 ksps | 0–20 kHz | 0.11 | dB |
Figure 42. ADC Decimation Filter B, Frequency Response
Filter type C along with an AOSR of 32 is specially designed for 192-ksps operation of the ADC. The pass band, which extends up to 0.11 × fS (corresponds to 21 kHz), is suited for audio applications.
| PARAMETER | CONDITION | VALUE (TYPICAL) | UNIT |
|---|---|---|---|
| Filter gain from 0 to 0.11 fS | 0–0.11 fS | ±0.033 | dB |
| Filter gain from 0.28 fS to 16 fS | 0.28 f–16 fS | –60 | dB |
| Filter group delay | 11/fS | s | |
| Pass-band ripple, 8 ksps | 0–0.11 fS | 0.033 | dB |
| Pass-band ripple, 44.18 ksps | 0–0.11 fS | 0.033 | dB |
| Pass-band ripple, 48 ksps | 0–0.11 fS | 0.032 | dB |
| Pass-band ripple, 96 ksps | 0–0.11 fS | 0.032 | dB |
| Pass-band ripple, 192 ksps | 0–20 kHz | 0.086 | dB |
Figure 43. ADC Decimation Filter C, Frequency Response
The decimation filter and signal processing block in the ADC channel passes 32-bit data words to the audio serial interface once every frame (WCLK). During each frame (WCLK), a pair of data words (for left and right channels) is passed. The audio serial interface rounds the data to the required word length of the interface before converting to serial data per the different modes for audio serial interface.
In addition to supporting analog microphones, the TLV320ADC3101 also interfaces to digital microphones.
Figure 44. Digital Microphone in TLV320ADC3101
The TLV320ADC3101 outputs internal clock ADC_MOD_CLK on the DMCLK pin (page 0 / register 51, bits D5–D2) or DMDIN pin (page 0 / register 52, bits D5–D2). This clock can be connected to the external digital microphone device. The single-bit output of the external digital microphone device can be connected to DMDIN or DMCLK pins. Internally, the TLV320ADC3101 latches the steady value of data on a selectable edge (page 0 / register 80, bit D1) of ADC_MOD_CLK for the left ADC channel, and the steady value of data on a selectable edge (page 0 / register 80, bit D0) for the right ADC channel.
Figure 45. Timing Diagram for Digital Microphone Interface
The digital-microphone mode can be selectively enabled for only-left, only-right, or stereo channels. When the digital microphone mode is enabled, the analog section of the ADC can be powered down and bypassed for power efficiency. The AOSR value for the ADC channel must be configured to select the desired decimation ratio to be achieved based on the external digital microphone properties. Following the CIC filter is a stereo digital volume control, where left and right volume are adjusted by writing to page 0 / register 83 and page 0 / register 84, respectively. Next is the miniDSP, where the processing blocks can be selected or custom processing can be used. The processed digital microphone signal is then output at the DOUT pin.
The recording mode is activated once the ADC blocks are enabled. The record path operates from 8 kHz to
48 kHz in single-rate mode and up to 96 kHz in dual-rate mode. It contains programmable input channel configurations supporting single-ended and differential setups. In order to provide optimal system power management, the stereo recording path can be powered up one channel at time, to support the case where only mono record capability is required. Digital signal processing blocks can remove audible noise that may be introduced by mechanical coupling. The TLV320ADC3101 includes Automatic Gain Control (AGC) and a Digital Microphone Interface for ADC recording.
The TLV320ADC3101 supports the I2C control protocol and is capable of both standard and fast modes. Standard mode is up to 100 kHz and fast mode is up to 400 kHz. When in I2C control mode, the TLV320ADC3101 can be configured for one of four different addresses, using the pins I2C_ADR1 and I2C_ADR0, which control the two LSBs of the device address. The 5 MSBs of the device address are fixed as 0011 0 and cannot be changed, while the two LSBs are given by I2C_ADR1:I2C_ADR0. This results in four possible device addresses:
| I2C_ADR1 | I2C_ADR0 | DEVICE ADDRESS |
|---|---|---|
| 0 | 0 | 0011 000 |
| 0 | 1 | 0011 001 |
| 1 | 0 | 0011 010 |
| 1 | 1 | 0011 011 |
I2C is a two-wire, open-drain interface supporting multiple devices and masters on a single bus. Devices on the I2C bus only drive the bus lines LOW by connecting them to ground; they never drive the bus lines HIGH. Instead, the bus wires are pulled HIGH by pullup resistors, so the bus wires are HIGH when no device is driving them LOW. This way, two devices cannot conflict; if two devices drive the bus simultaneously, there is no driver contention.
Communication on the I2C bus always takes place between two devices, one acting as the master and the other acting as the slave. Both masters and slaves can read and write, but slaves can only do so under the direction of the master. Some I2C devices can act as masters or slaves, but the TLV320ADC3101 can only act as a slave device.
An I2C bus consists of two lines, SDA and SCL. SDA carries data; SCL provides the clock. All data is transmitted across the I2C bus in groups of eight bits. To send a bit on the I2C bus, the SDA line is driven to the appropriate level while SCL is LOW (a LOW on SDA indicates the bit is 0; a HIGH indicates the bit is 1). Once the SDA line has settled, the SCL line is brought HIGH, then LOW. This pulse on SCL clocks the SDA bit into the receiver shift register.
The I2C bus is bidirectional: the SDA line is used both for transmitting and receiving data. When a master reads from a slave, the slave drives the data line; when a master sends to a slave, the master drives the data line. Under normal circumstances, the master drives the clock line.
Most of the time the bus is idle, no communication is taking place, and both lines are HIGH. When communication is taking place, the bus is active. Only master devices can start a communication. They do this by causing a START condition on the bus. Normally, the data line is only allowed to change state while the clock line is LOW. If the data line changes state while the clock line is HIGH, it is either a START condition or its counterpart, a STOP condition. A START condition is when the clock line is HIGH and the data line goes from HIGH to LOW. A STOP condition is when the clock line is HIGH and the data line goes from LOW to HIGH.
After the master issues a START condition, it sends a byte that indicates the slave device with which it is to communicate. This byte is called the address byte. Each device on an I2C bus has a unique 7-bit address to which it responds. (Slaves can also have 10-bit addresses; see the I2C specification for details.) The master sends an address in the address byte, together with a bit that indicates whether it is to read from or write to the slave device.
Every byte transmitted on the I2C bus, whether it is address or data, is acknowledged with an acknowledge bit. When a master has finished sending a byte (eight data bits) to a slave, it stops driving SDA and waits for the slave to acknowledge the byte. The slave acknowledges the byte by pulling SDA LOW. The master then sends a clock pulse to clock the acknowledge bit. Similarly, when a master has finished reading a byte, it pulls SDA LOW to acknowledge this to the slave. It then sends a clock pulse to clock the bit.
A not-acknowledge is performed by leaving SDA HIGH during an acknowledge cycle. If a device is not present on the bus, and the master attempts to address it, it receives a not-acknowledge because no device is present at that address to pull the line LOW.
When a master has finished communicating with a slave, it may issue a STOP condition. When a STOP condition is issued, the bus becomes idle again. A master may also issue another START condition. When a START condition is issued while the bus is active, it is called a repeated START condition.
The TLV320ADC3101 also responds to and acknowledges a general call, which consists of the master issuing a command with a slave address byte of 00h.
Figure 46. I2C Write
Figure 47. I2C Read
In the case of an I2C register write, if the master does not issue a STOP condition, then the device enters auto-increment mode. So in the next eight clocks, the data on SDA is treated as data for the next incremental register.
Similarly, in the case of an I2C register read, after the device has sent out the 8-bit data from the addressed register, if the master issues an ACKNOWLEDGE, the slave takes over control of SDA bus and transmits for the next eight clocks the data of the next incremental register.
The control registers for the TLV320ADC3101 are described in detail as follows. All registers are 8 bits in width, with D7 referring to the most-significant bit of each register and D0 referring to the least-significant bit.
Pages 0, 1, 4, 5, and 32–47 are available. All other pages are reserved. Do not read from or write to reserved pages.
The procedure for register access is:
| REGISTER NO. | REGISTER NAME |
|---|---|
| PAGE 0: (Clock Multipliers and Dividers, Serial Interfaces, Flags, Interrupts and Programming of GPIOs) | |
| 0 | Page control register |
| 1 | S/W RESET |
| 2 | Reserved |
| 3 | Reserved |
| 4 | Clock-gen multiplexing |
| 5 | PLL P and R-VAL |
| 6 | PLL J-VAL |
| 7 | PLL D-VAL MSB |
| 8 | PLL D-VAL LSB |
| 9–17 | Reserved |
| 18 | ADC NADC |
| 19 | ADC MADC |
| 20 | ADC AOSR |
| 21 | ADC IADC |
| 22 | ADC miniDSP engine decimation |
| 23–24 | Reserved |
| 25 | CLKOUT MUX |
| 26 | CLKOUT M Divider |
| 27 | ADC audio interface control 1 |
| 28 | Data slot offset programmability 1 (Ch_Offset_1) |
| 29 | ADC interface control 2 |
| 30 | BCLK N Divider |
| 31 | Secondary audio interface control 1 |
| 32 | Secondary audo interface control 2 |
| 33 | Secondary audio interface control 3 |
| 34 | I2S sync |
| 35 | Reserved |
| 36 | ADC flag register |
| 37 | Data slot offset progammability 2 (Ch_Offset_2) |
| 38 | I2S TDM control register |
| 39–41 | Reserved |
| 42 | Interrupt flags (overflow) |
| 43 | Interrupt flags (overflow) |
| 44 | Reserved |
| 45 | Interrupt flags–ADC |
| 46 | Reserved |
| 47 | Interrupt flags–ADC |
| 48 | INT1 interrupt control |
| 49 | INT2 interrupt control |
| 50 | Reserved |
| 51 | DMCLK/GPIO2 control |
| 52 | DMDIN/GPIO1 control |
| 53 | DOUT (out pin) control |
| 54–56 | Reserved |
| 57 | ADC sync control 1 |
| 58 | ADC sync control 2 |
| 59 | ADC CIC filter gain control |
| 60 | Reserved |
| 61 | ADC processing block selection |
| 62 | Programmable instruction mode control bits |
| 63–79 | Reserved |
| 80 | Digital microphone polarity control |
| 81 | ADC digital |
| 82 | ADC fine volume control |
| 83 | Left ADC volume control |
| 84 | Right ADC volume control |
| 85 | ADC phase compensation |
| 86 | Left AGC control 1 |
| 87 | Left AGC control 2 |
| 88 | Left AGC maximum gain |
| 89 | Left AGC attack time |
| 90 | Left AGC decay time |
| 91 | Left AGC noise debounce |
| 92 | Left AGC signal debounce |
| 93 | Left AGC gain |
| 94 | Right AGC control 1 |
| 95 | Right AGC control 2 |
| 96 | Right AGC maximum gain |
| 97 | Right AGC attack time |
| 98 | Right AGC decay time |
| 99 | Right AGC noise debounce |
| 100 | Right AGC signal debounce |
| 101 | Right AGC gain |
| 102–127 | Reserved |
| PAGE1: (ADC Routing, PGA, Power-Controls, and so forth) | |
| 0 | Page control register |
| 1–25 | Reserved |
| 26 | Dither control |
| 27–50 | Reserved |
| 51 | MICBIAS control |
| 52 | Left ADC input selection for left PGA |
| 53 | Reserved |
| 54 | Left ADC input selection for left PGA |
| 55 | Right ADC input selection for right PGA |
| 56 | Reserved |
| 57 | Right ADC input selection for right PGA |
| 58 | Reserved |
| 59 | Left analog PGA setting |
| 60 | Right analog PGA setting |
| 61 | ADC low-current modes |
| 62 | ADC analog PGA flags |
| 63–127 | Reserved |
| PAGE 2: Reserved. Do not read or write to this page. | |
| PAGE 3: Reserved. Do not read or write to this page. | |
| PAGE 4: ADC Programmable Coefficients RAM (1:63) | |
| PAGE 5: ADC Programmable Coefficients RAM (65:127) | |
| PAGES 6–31: Reserved. Do not read from or write to these pages. | |
| PAGES 32-47: ADC DSP Instruction RAM (Inst_0–Inst_511) | |
| Page 32 Instructions Inst_0–Inst_31 | |
| Page 33 Instructions Inst_32–Inst_63 | |
| Page 34 Instruction Inst_64–Inst_95 | |
| ... | |
| Page 47 Instruction Inst_480–Inst_511 | |
| PAGES 48–255: Reserved. Do not read from or write to these pages. | |
| BIT | READ/ WRITE |
RESET VALUE |
DESCRIPTION |
|---|---|---|---|
| D7–D0 | R/W | 0000 0000 | 0000 0000: Page 0 selected 0000 0001: Page 1 selected ... 1111 1110: Page 254 selected (reserved) 1111 1111: Page 255 selected (reserved) |
| BIT | READ/ WRITE |
RESET VALUE |
DESCRIPTION |
|---|---|---|---|
| D7–D1 | R | 0000 000 | Reserved. Write only zeros to these bits. |
| D0 | W | 0 | 0: Don't care 1: Self-clearing software reset for control register |
| BIT | READ/ WRITE |
RESET VALUE |
DESCRIPTION |
|---|---|---|---|
| D7–D0 | R | 0000 0000 | Reserved. Do not write any value other than reset value. |
| BIT | READ/ WRITE |
RESET VALUE |
DESCRIPTION |
|---|---|---|---|
| D7–D0 | R | XXXX XXXX | Reserved. Do not write to this register. |
| BIT | READ/ WRITE |
RESET VALUE |
DESCRIPTION |
|---|---|---|---|
| D7–D4 | R | 0000 | Reserved. Do not write any value other than reset value. |
| D3–D2 | R/W | 00 | 00: PLL_CLKIN = MCLK (device pin) 01: PLL_CLKIN = BCLK (device pin) 10: Reserved. Do not use. 11: PLL_CLKIN = logic level 0 |
| D1–D0 | R/W | 00 | 00: CODEC_CLKIN = MCLK (device pin) 01: CODEC_CLKIN = BCLK (device pin) 10: Reserved. Do not use. 11: CODEC_CLKIN = PLL_CLK (generated on-chip) |
| BIT | READ/ WRITE |
RESET VALUE |
DESCRIPTION |
|---|---|---|---|
| D7 | R/W | 0 | 0: PLL is powered down. 1: PLL is powered up. |
| D6–D4 | R/W | 001 | 000: PLL divider P = 8 001: PLL divider P = 1 010: PLL divider P = 2 ... 110: PLL divider P = 6 111: PLL divider P = 7 |
| D3–D0 | R/W | 0001 | 0000: PLL multiplier R = 16 0001: PLL multiplier R = 1 0010: PLL multiplier R = 2 ... 1110: PLL multiplier R = 14 1111: PLL multiplier R = 15 |
| BIT | READ/ WRITE |
RESET VALUE |
DESCRIPTION |
|---|---|---|---|
| D7–D6 | R/W | 00 | Reserved. Write only zeros to these bits. |
| D5–D0 | R/W | 00 0100 | 00 0000: Don’t use (reserved) 00 0001: PLL multiplier J = 1 00 0010: PLL multiplier J = 2 00 0011: PLL multiplier J = 3 00 0100: PLL multiplier J = 4 (Default) ... 11 1110: PLL multiplier J = 62 11 1111: PLL multiplier J = 63 |
| BIT | READ/ WRITE |
RESET VALUE |
DESCRIPTION |
|---|---|---|---|
| D7–D6 | R/W | 00 | Reserved. Write only zeros to these bits. |
| D5–D0 | R/W | 00 0000 | PLL fractional multiplier D13–D8 |
| BIT | READ/ WRITE |
RESET VALUE |
DESCRIPTION |
|---|---|---|---|
| D7–D0 | R/W | 0000 0000 | PLL fractional multiplier D7–D0 |
| BIT | READ/ WRITE |
RESET VALUE |
DESCRIPTION |
|---|---|---|---|
| D7–D0 | R | XXXX XXXX | Reserved. Do not write to these registers. |
| BIT | READ/ WRITE |
RESET VALUE |
DESCRIPTION |
|---|---|---|---|
| D7 | R/W | 0 | NADC Clock Divider Power Control: 0: NADC clock divider is powered down 1: NADC clock divider is powered up |
| D6–D0 | R/W | 000 0001 | NADC Value: 000 0000: NADC clock divider = 128 000 0001: NADC clock divider = 1 000 0010: NADC clock divider = 2 ... 111 1110: NADC clock divider = 126 111 1111: NADC clock divider = 127 |
| BIT | READ/ WRITE |
RESET VALUE |
DESCRIPTION |
|---|---|---|---|
| D7 | R/W | 0 | 0: ADC MADC clock divider is powered down 1: ADC MADC clock divider is powered up |
| D6–D0 | R/W | 000 0001 | 000 0000: MADC clock divider = 128 000 0001: MADC clock divider = 1 000 0010: MADC clock divider = 2 ... 111 1110: MADC clock divider = 126 111 1111: MADC clock divider = 127 |
| BIT | READ/ WRITE |
RESET VALUE |
DESCRIPTION |
|---|---|---|---|
| D7–D0 | R/W | 1000 0000 | ADC Oversampling Value (AOSR): 0000 0000: AOSR = 256 0000 0001: AOSR = 1 0000 0010: AOSR = 2 ... 1111 1110: AOSR = 254 1111 1111: AOSR = 255 |
| BIT | READ/ WRITE |
RESET VALUE |
DESCRIPTION |
|---|---|---|---|
| D7–D0 | R/W | 1000 0000 | 0000 0000: Reserved. Do not use. Number of instructions for ADC miniDSP (IADC): 0000 0001: IADC = 2 0000 0010: IADC = 4 ... 1011 1111: IADC = 382 1100 0000: IADC = 384 1100 0001–1111 1111: IADC = up to 510 |
| BIT | READ/ WRITE |
RESET VALUE |
DESCRIPTION |
|---|---|---|---|
| D7–D4 | R | 0000 | Reserved. Do not write any value other than reset value. |
| D3–D0 | R/W | 0100 | 0000: Decimation ratio in ADC miniDSP engine = 16 0001: Decimation ratio in ADC miniDSP engine = 1 0010: Decimation ratio in ADC miniDSP engine = 2 ... 1101: Decimation ratio in ADC miniDSP engine = 13 1110: Decimation ratio in ADC miniDSP engine = 14 1111: Decimation ratio in ADC miniDSP engine = 15 |
| BIT | READ/ WRITE |
RESET VALUE |
DESCRIPTION |
|---|---|---|---|
| D7–D0 | R | XXXX XXXX | Reserved. Do not write to these registers. |
| BIT | READ/ WRITE |
RESET VALUE |
DESCRIPTION |
|---|---|---|---|
| D7–D3 | R | 0000 0 | Reserved. Do not write any value other than reset value. |
| D2-D0 | R/W | 000 | 000: CDIV_CLKIN = MCLK (device pin) 001: CDIV_CLKIN = BCLK (device pin) 010: Reserved. Do not use. 011: CDIV_CLKIN = PLL_CLK (generated on-chip) 100: Reserved. Do not use. 101: Reserved. Do not use. 110: CDIV_CLKIN = ADC_CLK (generated on-chip) 111: CDIV_CLKIN = ADC_MOD_CLK (generated on-chip) |
| BIT | READ/ WRITE |
RESET VALUE |
DESCRIPTION |
|---|---|---|---|
| D7 | R/W | 0 | 0: CLKOUT M divider is powered down. 1: CLKOUT M divider is powered up. |
| D6–D0 | R/W | 000 0001 | 000 0000: CLKOUT divider M = 128 000 0001: CLKOUT divider M = 1 000 0010: CLKOUT divider M = 2 ... 111 1110: CLKOUT divider M = 126 111 1111: CLKOUT divider M = 127 |
| BIT | READ/ WRITE |
RESET VALUE |
DESCRIPTION |
|---|---|---|---|
| D7–D6 | R/W | 00 | 00: ADC interface = I2S 01: ADC interface = DSP 10: ADC interface = RJF 11: ADC interface = LJF |
| D5–D4 | R/W | 00 | 00: ADC interface word length = 16 bits 01: ADC interface word length = 20 bits 10: ADC interface word length = 24 bits 11: ADC interface word length = 32 bits |
| D3 | R/W | 0 | 0: BCLK is input. 1: BCLK is output. |
| D2 | R/W | 0 | 0: WCLK is input. 1: WCLK is output. |
| D1 | R | 0 | Reserved. Do not write any value other than reset value. |
| D0 | R/W | 0 | 0: 3-stating of DOUT: disabled 1: 3-stating of DOUT: enabled |
| BIT | READ/ WRITE |
RESET VALUE |
DESCRIPTION |
|---|---|---|---|
| D7–D0 | R/W | 0000 0000 | 0000 0000: Offset = 0 BCLKs. Offset is measured with respect to WCLK rising edge in DSP mode.(1)
0000 0001: Offset = 1 BCLKs 0000 0010: Offset = 2 BCLKs ... 1111 1110: Offset = 254 BCLKs 1111 1111: Offset = 255 BCLKs |
| BIT | READ/ WRITE |
RESET VALUE |
DESCRIPTION |
|---|---|---|---|
| D7–D4 | R/W | 0000 | Reserved. Do not write any value other than reset value. |
| D3 | R/W | 0 | 0: BCLK is not inverted (valid for both primary and secondary BCLK). 1: BCLK is inverted (valid for both primary and secondary BCLK). |
| D2 | R/W | 0 | 0: BCLK and WCLK active even with codec powered down: disabled (valid for both primary and secondary BCLK) 1: BCLK and WCLK active even with codec powered down: enabled (valid for both primary and secondary BCLK) |
| D1–D0 | R/W | 10 | 00: Reserved. Do not use. 01: Reserved. Do not use. 10: BDIV_CLKIN = ADC_CLK (generated on-chip) 11: BDIV_CLKIN = ADC_MOD_CLK (generated on-chip) |
| BIT | READ/ WRITE |
RESET VALUE |
DESCRIPTION |
|---|---|---|---|
| D7 | R/W | 0 | 0: BCLK N divider is powered down. 1: BCLK N divider is powered up. |
| D6–D0 | R/W | 000 0001 | 000 0000: CLKOUT divider N = 128 000 0001: CLKOUT divider N = 1 000 0010: CLKOUT divider N = 2 ... 111 1110: CLKOUT divider N = 126 111 1111: CLKOUT divider N = 127 |
| BIT | READ/ WRITE |
RESET VALUE |
DESCRIPTION |
|---|---|---|---|
| D7 | R | 0 | Reserved. Do not write any value other than reset value. |
| D6–D5 | R/W | 00 | 00: Secondary BCLK is obtained from GPIO1 pin. 01: Secondary BCLK is obtained from GPIO2 pin. 10 – 11: Reserved. Do not use. |
| D4–D3 | R/W | 00 | 00: Secondary WCLK is obtained from GPIO1 pin. 01: Secondary WCLK is obtained from GPIO2 pin. 10 – 11: Reserved. Do not use. |
| D2-D1 | R/W | 00 | Reserved. Do not use. |
| D0 | R | 0 | Reserved. Do not write any value other than reset value. |
| BIT | READ/ WRITE |
RESET VALUE |
DESCRIPTION |
|---|---|---|---|
| D7–D4 | R | 0000 | Reserved. Do not write any value other than reset value. |
| D3 | R/W | 0 | 0: Primary BCLK is used for audio interface and clocking. 1: Secondary BCLK is used for audio interface and clocking. |
| D2 | R/W | 0 | 0: Primary WCLK is used for audio interface and clocking. 1: Secondary WCLK is used for audio interface and clocking. |
| D1–D0 | R | 00 | Reserved. Do not write any value other than reset value. |
| BIT | READ/ WRITE |
RESET VALUE |
DESCRIPTION |
|---|---|---|---|
| D7 | R/W | 0 | 0: Primary BCLK output = internally generated BCLK clock 1: Primary BCLK output = secondary BCLK |
| D6 | R/W | 0 | 0: Secondary BCLK output = primary BCLK 1: Secondary BCLK output = internally generated BCLK clock |
| D5–D4 | R/W | 01 | 00: Reserved. Do not use. 01: Primary WCLK output = internally generated ADC_fS clock (Default) 10: Primary WCLK output = secondary WCLK 11: Reserved. Do not use. |
| D3–D2 | R/W | 00 | 00: Secondary WCLK output = primary WCLK 01: Reserved. Do not use. 10: Secondary WCLK output = internally generated ADC_fS clock 11: Reserved. Do not use. |
| D1–D0 | R | 00 | Reserved. Do not write any value other than reset value. |
| BIT | READ/ WRITE |
RESET VALUE |
DESCRIPTION |
|---|---|---|---|
| D7 | R/W | 0 | 0: Internal logic is enabled to detect the I2C hang and react accordingly. 1: Internal logic is disabled to detect the I2C hang. |
| D6(1) | R/W | 0 | 0: I2C hang is not detected. 1: I2C hang detected flag. Once set get cleared only after reading this register. |
| D5 | R/W | 0 | 0: I2C general-call address is ignored. 1: Device accepts I2C general-call address. |
| D4–D2 | R | 000 | Reserved. Do not write any value other than reset value. |
| D1 | R/W | 0 | 0: Re-sync logic is disabled for ADC. 1: Re-sync stereo ADC with codec interface if the group delay changed by more than ±ADC_fS/4. |
| D0 | R/W | 0 | 0: Re-sync is done without soft-muting the channel for ADC. 1: Re-sync is done by internally soft-muting the channel for ADC. |
| BIT | READ/ WRITE |
RESET VALUE |
DESCRIPTION |
|---|---|---|---|
| D7–D0 | R | XXXX XXXX | Reserved. Do not write to this register. |
| BIT | READ/ WRITE |
RESET VALUE |
DESCRIPTION |
|---|---|---|---|
| D7(1) | R | 0 | 0: Left ADC PGA , applied gain ≠ programmed gain 1: Left ADC PGA , applied gain = programmed gain |
| D6(1) | R | 0 | 0: Left ADC powered down 1: Left ADC powered up |
| D5(2) | R | 0 | 0: Left AGC not saturated 1: Left AGC applied gain = maximum applicable gain by left AGC |
| D4 | R | 0 | Reserved. Do not write any value other than reset value. |
| D3(1) | R | 0 | 0: Right ADC PGA , applied gain ≠ programmed gain 1: Right ADC PGA , applied gain = programmed gain |
| D2(1) | R | 0 | 0: Right ADC powered down 1: Right ADC powered up |
| D1(2) | R | 0 | 0: Right AGC not saturated 1: Right AGC applied gain = maximum applicable gain by right AGC |
| D0 | R | 0 | Reserved. Do not write any value other than reset value. |
| BIT | READ/ WRITE |
RESET VALUE |
DESCRIPTION |
|---|---|---|---|
| D7–D0 | R/W | 0000 0000 | 0000 0000: Offset = 0 BCLKs. Offset is measured with respect to the end of the first channel(1)
0000 0001: Offset = 1 BCLKs 0000 0010: Offset = 2 BCLKs ... 1111 1110: Offset = 254 BCLKs 1111 1111: Offset = 255 BCLKs |
| BIT | READ/ WRITE |
RESET VALUE |
DESCRIPTION |
|---|---|---|---|
| D7–D5 | R | 000 | Reserved. Do not write any value other than reset value. |
| D4 | R/W | 0 | 0: Channel swap disabled 1: Channel swap enabled |
| D3–D2 | R/W | 00 | 00: Both left and right channels enabled 01: Left channel enabled 10: Right channel enabled 11: Both left and right channels disabled |
| D1 | R/W | 1 | 0: early_3-state disabled 1: early_3-state enabled |
| D0 | R/W | 0 | 0: time_slot_mode disabled – both channel offsets controlled by Ch_Offset_1 (page 0 / register 28) 1: time_slot_mode enabled – channel-1 offset controlled by Ch_Offset_1 (page 0 / register 28) and channel-2 offset controlled by Ch_Offset_2 (page 0 / register 37) |
| BIT | READ/ WRITE |
RESET VALUE |
DESCRIPTION |
|---|---|---|---|
| D7–D0 | R | XXXX XXXX | Reserved. Do not write to these registers. |
| BIT | READ/ WRITE |
RESET VALUE |
DESCRIPTION |
|---|---|---|---|
| D7–D4 | R | 0000 | Reserved |
| D3(1) | R | 0 | Left ADC overflow flag |
| D2(1) | R | 0 | Right ADC overflow flag |
| D1(1) | R | 0 | ADC barrel-shifter output-overflow flag |
| D0 | R | 0 | Reserved |
| BIT | READ/ WRITE |
RESET VALUE |
DESCRIPTION |
|---|---|---|---|
| D7–D4 | R | 0000 | Reserved |
| D3 | R | 0 | Left ADC overflow flag |
| D2 | R | 0 | Right ADC overflow flag |
| D1 | R | 0 | ADC barrel-shifter output-overflow flag |
| D0 | R | 0 | Reserved |
| BIT | READ/ WRITE |
RESET VALUE |
DESCRIPTION |
|---|---|---|---|
| D7–D0 | R | XXXX XXXX | Reserved. Do not write to this register. |
| BIT | READ/ WRITE |
RESET VALUE |
DESCRIPTION(1) |
|---|---|---|---|
| D7 | R | 0 | Reserved |
| D6 | R | 0 | Left AGC Noise Threshold Flag: 0: Left ADC signal power greater than noise threshold for left AGC 1: Left ADC signal power lesser than noise threshold for left AGC |
| D5 | R | 0 | Right AGC Noise Threshold Flag: 0: Right ADC signal power greater than noise threshold for right AGC 1: Right ADC signal power lesser than noise threshold for right AGC |
| D4 | R | 0 | ADC miniDSP engine standard interrupt-port output |
| D3 | R | 0 | ADC miniDSP engine auxilliary interrupt-port output |
| D2–D0 | R | 000 | Reserved |
| BIT | READ/ WRITE |
RESET VALUE |
DESCRIPTION |
|---|---|---|---|
| D7–D0 | R | XXXX XXXX | Reserved. Do not write to this register. |
| BIT | READ/ WRITE |
RESET VALUE |
DESCRIPTION |
|---|---|---|---|
| D7 | R | 0 | Reserved |
| D6 | R | 0 | 0: Left ADC signal power greater than noise threshold for left AGC 1: Left ADC signal power less than noise threshold for left AGC |
| D5 | R | 0 | 0: Right ADC signal power greater than noise threshold for right AGC 1: Right ADC signal power less than noise threshold for right AGC |
| D4 | R | 0 | ADC miniDSP engine standard interrupt-port output. This bit indicates the instantaneous value of the interrupt port at the time of reading the register. |
| D3 | R | 0 | ADC miniDSP engine auxilliary interrupt-port output. This bit indicates the instantaneous value of the interrupt port at the time of reading the register. |
| D2–D0 | R | 000 | Reserved |
| BIT | READ/ WRITE |
RESET VALUE |
DESCRIPTION |
|---|---|---|---|
| D7–D5 | R | 000 | Reserved. Do not write any value other than reset value. |
| D4 | R/W | 0 | 0: ADC AGC noise interrupt is not used in the generation of INT1 interrupt. 1: ADC AGC noise interrupt is used in the generation of INT1 interrupt. |
| D3 | R | 0 | Reserved. Do not write any value other than reset value. |
| D2 | R/W | 0 | 0: Engine-generated interrupts and overflow flags are not used in the generation of INT1 interrupt. 1: Engine-generated interrupts and overflow flags are used in the generation of INT1 interrupt. |
| D1 | R/W | 0 | 0: ADC data-available interrupt is not used in the generation of INT1 interrupt. 1: ADC data-available interrupt is used in the generation of INT1 interrupt. |
| D0 | R/W | 0 | 0: INT1 is only one pulse (active high) of duration typical 2 ms. 1: INT1 is multiple pulses (active high) of duration typical 2 ms and period 4 ms, until flag register 42 or 45 is read by the user. |
| BIT | READ/ WRITE |
RESET VALUE |
DESCRIPTION |
|---|---|---|---|
| D7–D5 | R | 000 | Reserved. Do not write any value other than reset value. |
| D4 | R/W | 0 | 0: ADC AGC noise interrupt is not used in the generation of INT2 interrupt. 1: ADC AGC noise interrupt is used in the generation of INT2 interrupt. |
| D3 | R | 0 | Reserved. Do not write any value other than reset value. |
| D2 | R/W | 0 | 0: Engine-generated interrupts and overflow flags are not used in the generation of INT2 interrupt. 1: Engine-generated interrupts and overflow flags are used in the generation of INT2 interrupt. |
| D1 | R/W | 0 | 0: ADC data-available interrupt is not used in the generation of INT2 interrupt. 1: ADC data-available interrupt is used in the generation of INT2 interrupt. |
| D0 | R/W | 0 | 0: INT2 is only one pulse (active high) of duration typical 2 ms. 1: INT2 is multiple pulses (active high) of duration typical 2 ms and period 4 ms, until flag register 42 or 45 is read by the user. |
| BIT | READ/ WRITE |
RESET VALUE |
DESCRIPTION |
|---|---|---|---|
| D7–D0 | R | XXXX XXXX | Reserved. Do not write to this register. |
| BIT | READ/ WRITE |
RESET VALUE |
DESCRIPTION |
|---|---|---|---|
| D7–D6 | R | 00 | Reserved. Do not write any value other than reset value. |
| D5–D2 | R/W | 0000 | 0000: DMCLK disabled (input and output buffers powered down) 0001: DMCLK is in input mode (can be used as secondary BCLK input, secondary WCLK input, Dig_Mic_In, or in ClockGen block) 0010: DMCLK is used as general-purpose input (GPI) 0011: DMCLK output = general-purpose output 0100: DMCLK output = CLKOUT output (source determined by cdiv_clkin_reg; page 0 / register 25) 0101: DMCLK output = INT1 output 0110: DMCLK output = INT2 output 0111: Reserved. Do not use. 1000: DMCLK output = secondary BCLK output for codec interface 1001: DMCLK output = secondary WCLK output for codec interface 1010: DMCLK output = ADC_MOD_CLK output for the digital microphone 1011–1111: Reserved. Do not use. |
| D1 | R | 0 | DMCLK input buffer value |
| D0 | R/W | 0 | 0: DMCLK value = 0 when D5–D2 are programmed to "0011" (general-purpose output) 1: DMCLK value = 1 when D5–D2 are programmed to "0011" (general-purpose output) |
| BIT | READ/ WRITE |
RESET VALUE |
DESCRIPTION |
|---|---|---|---|
| D7–D6 | R | 00 | Reserved. Do not write any value other than reset value. |
| D5–D2 | R/W | 0000 | 0000: DMDIN disabled (input and output buffers powered down) 0001: DMDIN is in input mode (can be used as secondary BCLK input, secondary WCLK input, Dig_Mic_In, or in ClockGen block) 0010: DMDIN is used as general-purpose input (GPI) 0011: DMDIN output = general-purpose output 0100: DMDIN output = CLKOUT output (source determined by cdiv_clkin_reg; page 0 / register 25) 0101: DMDIN output = INT1 output 0110: DMDIN output = INT2 output 0111: Reserved. Do not use. 1000: DMDIN output = secondary BCLK output for codec interface 1001: DMDIN output = secondary WCLK output for codec interface 1010: DMDIN output = ADC_MOD_CLK output for the digital microphone 1011–1111: Reserved. Do not use. |
| D1 | R | 0 | DMDIN Input Buffer Value |
| D0 | R/W | 0 | 0: DMDIN value = 0 when D5–D2 are programmed to "0011" (general-purpose output) 1: DMDIN value = 1 when D5–D2 are programmed to "0011" (general-purpose output) |
| BIT | READ/ WRITE |
RESET VALUE |
DESCRIPTION |
|---|---|---|---|
| D7–D5 | R | 000 | Reserved. Do not write any value other than reset value. |
| D4 | R/W | 1 | 0: DOUT bus keeper enabled 1: DOUT bus keeper disabled |
| D3–D1 | R/W | 001 | 000: DOUT disabled (output buffer powered down) 001 DOUT = primary DOUT output for codec interface 010: DOUT = general-purpose output 011: DOUT = CLKOUT output 100: DOUT = INT1 output 101: DOUT = INT2 output 110: DOUT = secondary BCLK output for codec interface 111: DOUT = secondary WCLK output for codec interface |
| D0 | R/W | 0 | DOUT value = 0 when D3–D1 are programmed to "010" (general-purpose output) DOUT value = 1 when D3–D1 are programmed to "010" (general-purpose output) |
| BIT | READ/ WRITE |
RESET VALUE |
DESCRIPTION |
|---|---|---|---|
| D7–D0 | R | XXXX XXXX | Reserved. Do not write to this register. |
| BIT | READ/ WRITE |
RESET VALUE |
DESCRIPTION |
|---|---|---|---|
| D7 | R/W | 0 | 0: Default synchronization 1: Custom synchronization |
| D6–D0 | R/W | 000 0000 | 000 0000: Custom synchronization window size = 0 instructions 000 0001: Custom synchronization window size = 2 instructions (±1 instruction) 000 0010: Custom synchronization window size = 4 instructions (±2 instructions) ... 111 1111: Custom synchronization window size = 254 instructions (±127 instructions) |
| BIT | READ/ WRITE |
RESET VALUE |
DESCRIPTION |
|---|---|---|---|
| D7–D0 | R/W | 0000 0000 | 0000 0000: Custom synchronization target = instruction 0 0000 0001: Custom synchronization target = instruction 2 0000 0010: Custom synchronization target = instruction 4 ... 1111 1111: Custom synchronization target = instruction 510 |
| BIT | READ/ WRITE |
RESET VALUE |
DESCRIPTION |
|---|---|---|---|
| D7–D4 | R/W | 0100 | Left CIC filter gain(1) |
| D3–D0 | R/W | 0100 | Right CIC filter gain(1) |
| BIT | READ/ WRITE |
RESET VALUE |
DESCRIPTION |
|---|---|---|---|
| D7–D0 | R/W | 0000 0000 | Reserved. Do not write to this register. |
| BIT | READ/ WRITE |
RESET VALUE |
DESCRIPTION |
|---|---|---|---|
| D7–D5 | 000 | Reserved. Do not write any value other than reset value. | |
| D4–D0 | 0 0001 | 0 0000: ADC miniDSP programmable instruction mode enabled. 0 0001: Select ADC Signal Processing Block PRB_R1 0 0010: Select ADC Signal Processing Block PRB_R2 0 0011: Select ADC Signal Processing Block PRB_R3 0 0100: Select ADC Signal Processing Block PRB_R4 0 0101: Select ADC Signal Processing Block PRB_R5 0 0110: Select ADC Signal Processing Block PRB_R6 0 0111: Select ADC Signal Processing Block PRB_R7 0 1000: Select ADC Signal Processing Block PRB_R8 0 1001: Select ADC Signal Processing Block PRB_R9 0 1010: Select ADC Signal Processing Block PRB_R10 0 1011: Select ADC Signal Processing Block PRB_R11 0 1100: Select ADC Signal Processing Block PRB_R12 0 1101: Select ADC Signal Processing Block PRB_R13 0 1110: Select ADC Signal Processing Block PRB_R14 0 1111: Select ADC Signal Processing Block PRB_R15 1 0000: Select ADC Signal Processing Block PRB_R16 1 0001: Select ADC Signal Processing Block PRB_R17 1 0010: Select ADC Signal Processing Block PRB_R18 1 0011–1 1111: Reserved. Do not use. |
| BIT | READ/ WRITE |
RESET VALUE |
DESCRIPTION |
|---|---|---|---|
| D7 | R | 0 | Reserved. Do not write any value other than reset value. |
| D6 | R/W | 0 | ADC miniDSP engine auxiliary control bit A, which can be used for conditional instructions like JMP |
| D5 | R/W | 0 | ADC miniDSP engine auxiliary control bit B, which can be used for conditional instructions like JMP |
| D4 | R/W | 0 | 0: ADC instruction-counter reset at the start of the new frame is enabled. 1: ADC instruction-counter reset at the start of the new frame is disabled. |
| D3–D0 | R | 0000 | Reserved. Do not write any value other than reset value. |
| BIT | READ/ WRITE |
RESET VALUE |
DESCRIPTION |
|---|---|---|---|
| D7–D0 | R | XXXX XXXX | Reserved. Do not write to these registers. |
| BIT | READ/ WRITE |
RESET VALUE |
DESCRIPTION |
|---|---|---|---|
| D7–D2 | R | 0000 00 | Reserved. Do not write any value other than reset value. |
| D1 | R/W | 0 | 0: Capture left channel digital microphone data on rising edge of ADC modulator clock. 1: Capture left channel digital microphone data on falling edge of ADC modulator clock. |
| D0 | R/W | 0 | 0: Capture right channel digital microphone data on rising edge of ADC modulator clock. 1: Capture right channel digital microphone data on falling edge of ADC modulator clock. |
| BIT | READ/ WRITE |
RESET VALUE |
DESCRIPTION |
|---|---|---|---|
| D7 | R/W | 0 | 0: Left-channel ADC is powered down. 1: Left-channel ADC is powered up. |
| D6 | R/W | 0 | 0: Right-channel ADC is powered down. 1: Right-channel ADC is powered up. |
| D5 | R/W | 0 | 0: Left-channel digital-microphone input is obtained from DMDIN pin. 1: Left-channel digital-microphone input is obtained from DMCLK pin. |
| D4 | R/W | 0 | 0: Right-channel digital-microphone input is obtained from DMDIN pin. 1: Right-channel digital-microphone input is obtained from DMCLK pin. |
| D3 | R/W | 0 | 0: Digital microphone is not enabled for left ADC channel. 1: Digital microphone is enabled for left ADC channel. |
| D2 | R/W | 0 | 0: Digital microphone is not enabled for right ADC channel. 1: Digital microphone is enabled for right ADC channel. |
| D1–D0 | R/W | 00 | 00: ADC channel volume control soft-stepping is enabled for one step/fS. 01: ADC channel volume control soft-stepping is enabled for one step/2 fS. 10: ADC channel volume control soft-stepping is disabled. 11: Reserved. Do not use. |
| BIT | READ/ WRITE |
RESET VALUE |
DESCRIPTION |
|---|---|---|---|
| D7 | R/W | 1 | 0: Left ADC channel not muted 1: Left ADC channel muted |
| D6–D4 | R/W | 000 | 000: Left ADC channel fine gain = 0 dB 001: Left ADC channel fine gain = –0.1 dB 010: Left ADC channel fine gain = –0.2 dB 011: Left ADC channel fine gain = –0.3 dB 100: Left ADC channel fine gain = –0.4 dB 101–111: Reserved. Do not use. |
| D3 | R/W | 1 | 0: Right ADC channel not muted 1: Right ADC channel muted |
| D2–D0 | R/W | 000 | 000: Left ADC channel fine gain = 0 dB 001: Left ADC channel fine gain = –0.1 dB 010: Left ADC channel fine gain = –0.2 dB 011: Left ADC channel fine gain = –0.3 dB 100: Left ADC channel fine gain = –0.4 dB 101–111: Reserved. Do not use. |
| BIT | READ/ WRITE |
RESET VALUE(1) |
DESCRIPTION |
|---|---|---|---|
| D7 | R | 0 | Reserved. Do not write any value other than reset value. |
| D6–D0 | R/W | 000 0000 | 100 0000 – 110 1000: Left ADC channel volume = 0 dB 110 1000: Left ADC channel volume = –12 dB 110 1001: Left ADC channel volume = –11.5 dB 110 1010: Left ADC channel volume = –11.0 dB ... 111 1111: Left ADC channel volume = –0.5 dB 000 0000: Left ADC channel volume = –0.0 dB 000 0001: Left ADC channel volume = 0.5 dB ... 010 0110: Left ADC channel volume = 19.0 dB 010 0111: Left ADC channel volume = 19.5 dB 010 1000: Left ADC channel volume = 20 dB 010 1001– 011 1111 : Reserved. Do not use. |
| BIT | READ/ WRITE |
RESET VALUE(1) |
DESCRIPTION |
|---|---|---|---|
| D7 | R | 0 | Reserved. Do not write any value other than reset value. |
| D6–D0 | R/W | 000 0000 | 100 0000 – 110 1000: Right ADC channel volume = 0 dB 110 1000: Rght ADC channel volume = –12 dB 110 1001: Right ADC channel volume = –11.5 dB 110 1010: Rght ADC channel volume = –11.0 dB ... 111 1111: Right ADC channel volume = –0.5 dB 000 0000: Right ADC channel volume = –0.0 dB 000 0001: Right ADC channel volume = 0.5 dB ... 010 0110: Right ADC channel volume = 19.0 dB 010 0111: Right ADC channel volume = 19.5 dB 010 1000: Right ADC channel volume = 20 dB 010 1001– 011 1111 : Reserved. Do not use. |
| BIT | READ/ WRITE |
RESET VALUE |
DESCRIPTION |
|---|---|---|---|
| D7–D0 | R/W | 0000 0000 | 1000 0000: Left ADC has a phase shift of –128 ADC_MOD_CLK cycles with respect to right ADC. 1000 0001: Left ADC has a phase shift of –127 ADC_MOD_CLK cycles with respect to right ADC. ... 1111 1110: Left ADC has a phase shift of –2 ADC_MOD_CLK cycles with respect to right ADC. 1111 1111: Left ADC has a phase shift of –1 ADC_MOD_CLK cycles with respect to right ADC. 0000 0000: No phase shift between stereo ADC channels 0000 0001: Left ADC has a phase shift of 1 ADC_MOD_CLK cycles with respect to right ADC. 0000 0010: Left ADC has a phase shift of 2 ADC_MOD_CLK cycles with respect to right ADC. ... 0111 1110: Left ADC has a phase shift of 126 ADC_MOD_CLK cycles with respect to right ADC. 0111 1111: Left ADC has a phase shift of 127 ADC_MOD_CLK cycles with respect to right ADC. |
| BIT | READ/ WRITE |
RESET VALUE |
DESCRIPTION |
|---|---|---|---|
| D7 | R/W | 0 | 0: Left AGC disabled 1: Left AGC enabled |
| D6–D4 | R/W | 000 | 000: Left AGC target level = –5.5 dB 001: Left AGC target level = –8 dB 010: Left AGC target level = –10 dB 011: Left AGC target level = –12 dB 100: Left AGC target level = –14 dB 101: Left AGC target level = –17 dB 110: Left AGC target level = –20 dB 111: Left AGC target level = –24 dB |
| D3–D0 | R | 0000 | Reserved. Do not write any value other than reset value. |
| BIT | READ/ WRITE |
RESET VALUE |
DESCRIPTION |
|---|---|---|---|
| D7–D6 | R/W | 00 | 00: Left AGC hysteresis setting of 1 dB 01: Left AGC hysteresis setting of 2 dB 10: Left AGC hysteresis setting of 4 dB 11: Left AGC hysteresis disabled |
| D5–D1 | R/W | 00 000 | 00 000: Left AGC noise/silence detection is disabled. 00 001: Left AGC noise threshold = –30 dB 00 010: Left AGC noise threshold = –32 dB 00 011: Left AGC noise threshold = –34 dB ... 11 101: Left AGC noise threshold = –86 dB 11 110: Left AGC noise threshold = –88 dB 11 111: Left AGC noise threshold = –90 dB |
| D0 | R/W | 0 | 0: Disable clip stepping for AGC 1: Enable clip stepping for AGC |
| BIT | READ/ WRITE |
RESET VALUE |
DESCRIPTION |
|---|---|---|---|
| D7 | R | 0 | Reserved. Do not write any value other than reset value. |
| D6–D0 | R/W | 111 1111 | 000 0000: Left AGC maximum gain = 0 dB 000 0001: Left AGC maximum gain = 0.5 dB 000 0010: Left AGC maximum gain = 1 dB ... 101 0000: Left AGC maximum gain = 40 dB 101 0001 – 111 1111: Reserved. Do not use. |
| BIT | READ/ WRITE |
RESET VALUE |
DESCRIPTION |
|---|---|---|---|
| D7–D3 | R/W | 0000 0 | 0000 0: Left AGC attack time = 1 × (32/fS) 0000 1: Left AGC attack time = 3 × (32/fS) 0001 0: Left AGC attack time = 5 × (32/fS) 0001 1: Left AGC attack time = 7 × (32/fS) 0010 0: Left AGC attack time = 9 × (32/fS) ... 1111 0: Left AGC attack time = 61 × (32/fS) 1111 1: Left AGC attack time = 63 × (32/fS) |
| D2–D0 | R/W | 000 | 000: Multiply factor for the programmed left AGC attack time = 1 001: Multiply factor for the programmed left AGC attack time = 2 010: Multiply factor for the programmed left AGC attack time = 4 ... 111: Multiply factor for the programmed left AGC attack time = 128 |
| BIT | READ/ WRITE |
RESET VALUE |
DESCRIPTION |
|---|---|---|---|
| D7–D3 | R/W | 0000 0 | 0000 0: Left AGC decay time = 1 × (512/fS) 0000 1: Left AGC decay time = 3 × (512/fS) 0001 0: Left AGC decay time = 5 × (512/fS) 0001 1: Left AGC decay time = 7 × (512/fS) 0010 0: Left AGC decay time = 9 × (512/fS) ... 1111 0: Left AGC decay time = 61 × (512/fS) 1111 1: Left AGC decay time = 63 × (512/fS) |
| D2–D0 | R/W | 000 | 000: Multiply factor for the programmed left AGC decay time = 1 001: Multiply factor for the programmed left AGC decay time = 2 010: Multiply factor for the programmed left AGC decay time = 4 ... 111: Multiply factor for the programmed left AGC decay time = 128 |
| BIT | READ/ WRITE |
RESET VALUE |
DESCRIPTION |
|---|---|---|---|
| D7–D5 | R | 000 | Reserved. Do not write any value other than reset value. |
| D4–D0 | R/W | 0 0000 | 0 0000: Left AGC noise debounce = 0/fS
0 0001: Left AGC noise debounce = 4/fS 0 0010: Left AGC noise debounce = 8/fS 0 0011: Left AGC noise debounce = 16/fS 0 0100: Left AGC noise debounce = 32/fS 0 0101: Left AGC noise debounce = 64/fS 0 0110: Left AGC noise debounce = 128/fS 0 0111: Left AGC noise debounce = 256/fS 0 1000: Left AGC noise debounce = 512/fS 0 1001: Left AGC noise debounce = 1024/fS 0 1010: Left AGC noise debounce = 2048/fS 0 1011: Left AGC noise debounce = 4096/fS 0 1100: Left AGC noise debounce = 2 × 4096/fS 0 1101: Left AGC noise debounce = 3 × 4096/fS 0 1110: Left AGC noise debounce = 4 × 4096/fS ... 1 1110: Left AGC noise debounce = 20 × 4096/fS 1 1111: Left AGC noise debounce = 21 × 4096/fS |
| BIT | READ/ WRITE |
RESET VALUE |
DESCRIPTION |
|---|---|---|---|
| D7–D4 | R | 0000 | Reserved. Do not write any value other than reset value. |
| D3–D0 | R/W | 0000 | 0000: Left AGC signal debounce = 0/fS
0001: Left AGC signal debounce = 4/fS 0010: Left AGC signal debounce = 8/fS 0011: Left AGC signal debounce = 16/fS 0100: Left AGC signal debounce = 32/fS 0101: Left AGC signal debounce = 64/fS 0110: Left AGC signal debounce = 128/fS 0111: Left AGC signal debounce = 256/fS 1000: Left AGC signal debounce = 512/fS 1001: Left AGC signal debounce = 1024/fS 1010: Left AGC signal debounce = 2048/fS 1011: Left AGC signal debounce = 2 × 2048/fS 1100: Left AGC signal debounce = 3 × 2048/fS 1101: Left AGC signal debounce = 4 × 2048/fS 1110: Left AGC signal debounce = 5 × 2048/fS 1111: Left AGC signal debounce = 6 × 2048/fS |
| BIT(1) | READ/ WRITE |
RESET VALUE |
DESCRIPTION |
|---|---|---|---|
| D7–D0 | R | 0000 0000 | Left AGC Gain Value Status: 1110 1000: Gain applied by left AGC = –12 dB 1110 1001: Gain applied by left AGC = –11.5 dB ... 1111 1111: Gain applied by left AGC = –0.5 dB 0000 0000: Gain applied by left AGC = 0 dB 0000 0001: Gain applied by left AGC = 0.5 dB ... 0100 1111: Gain applied by left AGC = 39.5 dB 0101 0000: Gain applied by left AGC = 40 dB 0101 0001 – 1111 1111: Reserved. Do not use. |
| BIT | READ/ WRITE |
RESET VALUE(1) |
DESCRIPTION |
|---|---|---|---|
| D7–D6 | R/W | 00 | 00: Right AGC hysteresis setting of 1 dB 01: Right AGC hysteresis setting of 2 dB 10: Right AGC hysteresis setting of 4 dB 11: Right AGC hysteresis disabled. |
| D5–D1 | R/W | 00 000 | 00 000: Right AGC noise/silence detection is disabled. 00 001: Right AGC noise threshold = –30 dB 00 010: Right AGC noise threshold = –32 dB 00 011: Right AGC noise threshold = –34 dB ... 11 101: Right AGC noise threshold = –86 dB 11 110: Right AGC noise threshold = –88 dB 11 111: Right AGC noise threshold = –90 dB |
| D0 | R/W | 0 | 0: Disable clip stepping for right AGC. 1: Enable clip stepping for right AGC. |
| BIT | READ/ WRITE |
RESET VALUE |
DESCRIPTION |
|---|---|---|---|
| D7–D3 | R/W | 0000 0 | 0000 0: Right AGC attack time = 1 × (32/fS) 0000 1: Right AGC attack time = 3 × (32/fS) 0001 0: Right AGC attack time = 5 × (32/fS) 0001 1: Right AGC attack time = 7 × (32/fS) 0010 0: Right AGC attack time = 9 × (32/fS) ... 1111 0: Right AGC attack time = 61 × (32/fS) 1111 1: Right AGC attack time = 63 × (32/fS) |
| D2–D0 | R/W | 000 | 000: Multiply factor for the programmed right AGC attack time = 1 001: Multiply factor for the programmed right AGC attack time = 2 010: Multiply factor for the programmed right AGC attack time = 4 ... 111: Multiply factor for the programmed right AGC attack time = 128 |
| BIT | READ/ WRITE |
RESET VALUE |
DESCRIPTION |
|---|---|---|---|
| D7–D3 | R/W | 0000 0 | 0000 0: Right AGC decay time = 1 × (512/fS) 0000 1: Right AGC decay time = 3 × (512/fS) 0001 0: Right AGC decay time = 5 × (512/fS) 0001 1: Right AGC decay time = 7 × (512/fS) 0010 0: Right AGC decay time = 9 × (512/fS) ... 1111 0: Right AGC decay time = 61 × (512/fS) 1111 1: Right AGC decay time = 63 × (512/fS) |
| D2–D0 | R/W | 000 | 000: Multiply factor for the programmed right AGC decay time = 1 001: Multiply factor for the programmed right AGC decay time = 2 010: Multiply factor for the programmed right AGC decay time = 4 111: Multiply factor for the programmed right AGC decay time = 128 |
| BIT | READ/ WRITE |
RESET VALUE |
DESCRIPTION |
|---|---|---|---|
| D7–D5 | R | 000 | Reserved. Do not write any value other than reset value. |
| D4–D0 | R/W | 0 0000 | 0 0000: Right AGC noise debounce = 0/fS
0 0001: Right AGC noise debounce = 4/fS 0 0010: Right AGC noise debounce = 8/fS 0 0011: Right AGC noise debounce = 16/fS 0 0100: Right AGC noise debounce = 32/fS 0 0101: Right AGC noise debounce = 64/fS 0 0110: Right AGC noise debounce = 128/fS 0 0111: Right AGC noise debounce = 256/fS 0 1000: Right AGC noise debounce = 512/fS 0 1001: Right AGC noise debounce = 1024/fS 0 1010: Right AGC noise debounce = 2048/fS 0 1011: Right AGC noise debounce = 4096/fS 0 1100: Right AGC noise debounce = 2 × 4096/fS 0 1101: Right AGC noise debounce = 3 × 4096/fS 0 1110: Right AGC noise debounce = 4 × 4096/fS ... 1 1110: Right AGC noise debounce = 20 × 4096/fS 1 1111: Right AGC noise debounce = 21 × 4096/fSRight AGC noise debounce = 0/fS |
| BIT | READ/ WRITE |
RESET VALUE |
DESCRIPTION |
|---|---|---|---|
| D7–D4 | R | 0000 | Reserved. Do not write any value other than reset value. |
| D3–D0 | R/W | 0000 | 0000: Right AGC signal debounce = 0/fS
0001: Right AGC signal debounce = 4/fS 0010: Right AGC signal debounce = 8/fS 0011: Right AGC signal debounce = 16/fS 0100: Right AGC signal debounce = 32/fS 0101: Right AGC signal debounce = 64/fS 0110: Right AGC signal debounce = 128/fS 0111: Right AGC signal debounce = 256/fS 1000: Right AGC signal debounce = 512/fS 1001: Right AGC signal debounce = 1024/fS 1010: Right AGC signal debounce = 2048/fS 1011: Right AGC signal debounce = 2 × 2048/fS 1100: Right AGC signal debounce = 3 × 2048/fS 1101: Right AGC signal debounce = 4 × 2048/fS 1110: Right AGC signal debounce = 5 × 2048/fS 1111: Right AGC signal debounce = 6 × 2048/fSRight AGC signal debounce = 0/fS |
| BIT(1) | READ/ WRITE |
RESET VALUE |
DESCRIPTION |
|---|---|---|---|
| D7–D0 | R | 0000 0000 | Right AGC Gain Value Status: 1110 1000: Gain applied by right AGC = –12 dB 1110 1001: Gain applied by right AGC = –11.5 dB ... 1111 1111: Gain applied by right AGC = –0.5 dB 0000 0000: Gain applied by right AGC = 0 dB 0000 0001: Gain applied by right AGC = 0.5 dB ... 0100 1111: Gain applied by right AGC = 39.5 dB 0101 0000: Gain applied by right AGC = 40 dB 0101 0001 – 1111 1111: Reserved. Do not use. |
| BIT | READ/ WRITE |
RESET VALUE |
DESCRIPTION |
|---|---|---|---|
| D7–D0 | R | XXXX XXXX | Reserved. Do not write to these registers. |
| BIT | READ/ WRITE |
RESET VALUE |
DESCRIPTION |
|---|---|---|---|
| D7–D0 | R/W | 0000 0000 | 0000 0000: Page 0 selected 0000 0001: Page 1 selected ... 1111 1110: Page 254 selected (reserved) 1111 1111: Page 255 selected (reserved) |
| BIT | READ/ WRITE |
RESET VALUE |
DESCRIPTION |
|---|---|---|---|
| D7–D0 | R | XXXX XXXX | Reserved. Do not write to these registers. |
| BIT | READ/ WRITE |
RESET VALUE |
DESCRIPTION |
|---|---|---|---|
| D7–D4 | R/W | 0000 | DC Offset Into Input of Left ADC; Signed Magnitude Number In ±15-mV Steps 1111: –105 mV ... 1011: –45 mV 1010: –30 mV 1001: –15 mV 0000: 0 mV 0001: 15 mV 0010: 30 mV 0011: 45 mV ... 0111: 105 mV |
| D3–D0 | R/W | 0000 | DC Offset Into Input of Right ADC; Signed Magnitude Number In ±15-mV Steps 1111: –105 mV ... 1011: –45 mV 1010: –30 mV 1001: –15 mV 0000: 0 mV 0001: 15 mV 0010: 30 mV 0011: 45 mV ... 0111: 105 mV |
| BIT | READ/ WRITE |
RESET VALUE |
DESCRIPTION |
|---|---|---|---|
| D7–D0 | R | XXXX XXXX | Reserved. Do not write to these registers. |
| BIT | READ/ WRITE |
RESET VALUE |
DESCRIPTION |
|---|---|---|---|
| D7 | R | 0 | Reserved. Do not write any value other than reset value. |
| D6 – D5 | R/W | 00 | 00: MICBIAS1 is powered down. 01: MICBIAS1 is powered to 2 V. 10: MICBIAS1 is powered to 2.5 V. 11: MICBIAS1 is connected to AVDD. |
| D4 – D3 | R/W | 00 | 00: MICBIAS2 is powered down. 01: MICBIAS2 is powered to 2 V. 10: MICBIAS2 is powered to 2.5 V. 11: MICBIAS2 is connected to AVDD. |
| D2–D0 | R | 000 | Reserved. Do not write any value other than reset value. |
| BIT | READ/ WRITE |
RESET VALUE |
DESCRIPTION(1) |
|---|---|---|---|
| D7–D6 | R/W | 11 | LCH_SEL4; Differential Pair Using the IN2L(P) as PLUS and IN3L(M) as MINUS Inputs 00: 0-dB setting is chosen. 01: –6-dB setting is chosen. 10: Is not connected to the left ADC PGA 11: Is not connected to the left ADC PGA |
| D5–D4 | R/W | 11 | LCH_SEL3; Used for the IN3L(M) Pin, Which Is Single-Ended 00: 0-dB setting is chosen. 01: –6-dB setting is chosen. 10: Is not connected to the left ADC PGA 11: Is not connected to the left ADC PGA |
| D3–D2 | R/W | 11 | LCH_SEL2; Used for the IN2L(P) Pin, Which Is Single-Ended 00: 0-dB setting is chosen. 01: –6-dB setting is chosen. 10: Is not connected to the left ADC PGA 11: Is not connected to the left ADC PGA |
| D1–D0 | R/W | 11 | LCH_SEL1; Used for the IN1L(P) Pin, Which Is Single-Ended 00: 0-dB setting is chosen. 01: –6-dB setting is chosen. 10: Is not connected to the left ADC PGA 11: Is not connected to the left ADC PGA |
| BIT | READ/ WRITE |
RESET VALUE |
DESCRIPTION |
|---|---|---|---|
| D7–D0 | R | XXXX XXXX | Reserved. Do not write to this register. |
| BIT | READ/ WRITE |
RESET VALUE |
DESCRIPTION(1) |
|---|---|---|---|
| D7 | R/W | 0 | 0: Do not bypass left PGA. 1: Bypass left PGA, unbuffered differential pair using the IN2L(P) as PLUS and IN3L(M) as MINUS inputs. |
| D6 | R/W | 0 | LCH_SELCM 0: Left ADC channel unselected inputs are not biased weakly to the ADC common-mode voltage. 1: Left ADC channel unselected inputs are biased weakly to the ADC common-mode voltage. |
| D5–D4 | R/W | 11 | LCH_SEL3X; Differential Pair Using the IN1L(P) as PLUS and IN1R(M) as MINUS Inputs. 00: 0-dB setting is chosen. 01: –6-dB setting is chosen. 10–11: Not connected to the left ADC PGA |
| D3–D2 | R/W | 11 | LCH_SEL2X; Differential Pair Using the IN2R(P) as PLUS and IN3R(M) as MINUS Inputs. 00: 0-dB setting is chosen. 01: –6-dB setting is chosen. 10–11: Is not connected to the left ADC PGA. |
| D1–D0 | R/W | 11 | LCH_SEL1X; Used for the IN1R(M) Pin, Which Is Single-Ended 00: 0 dB setting is chosen. 01: –6 dB setting is chosen. 10–11: Not connected to the left ADC PGA. |
| BIT | READ/ WRITE |
RESET VALUE |
DESCRIPTION(1) |
|---|---|---|---|
| D7–D6 | R/W | 11 | RCH_SEL4; Differential Pair Using the IN2R(P) as PLUS and IN3R(M) as MINUS Inputs. 00: 0-dB setting is chosen. 01: –6-dB setting is chosen. 10–11: Not connected to the right ADC PGA. |
| D5–D4 | R/W | 11 | RCH_SEL3; Used for the IN3R(M) Pin, Which Is Single-Ended 00: 0-dB setting is chosen. 01: –6-dB setting is chosen. 10–11: Not connected to the right ADC PGA. |
| D3–D2 | R/W | 11 | RCH_SEL2; Used for the IN2R(P) Pin, Which Is Single-Ended 00: 0-dB setting is chosen. 01: –6-dB setting is chosen. 10–11: Not connected to the right ADC PGA. |
| D1–D0 | R/W | 11 | RCH_SEL1; Used for the IN1R(M) Pin, Which Is Single-Ended 00: 0-dB setting is chosen. 01: –6-dB setting is chosen. 10–11: Not connected to the right ADC PGA. |
| BIT | READ/ WRITE |
RESET VALUE |
DESCRIPTION |
|---|---|---|---|
| D7–D0 | R | XXXX XXXX | Reserved. Do not write to this register. |
| BIT | READ/ WRITE |
RESET VALUE |
DESCRIPTION(1) |
|---|---|---|---|
| D7 | R/W | 0 | 0: Do not bypass right PGA. 1: Bypass right PGA, unbuffered differential pair using the IN2R(P) as PLUS and IN3R(M) as MINUS inputs. |
| D6 | R/W | 0 | RCH_SELCM 0: Right ADC channel unselected inputs are not biased weakly to the ADC common-mode voltage. 1: Right ADC channel unselected inputs are biased weakly to the ADC common-mode voltage. |
| D5–D4 | R/W | 11 | RCH_SEL3X; Differential Pair Using the IN1L(P) as PLUS and IN1R(M) as MINUS Inputs. 00: 0-dB setting is chosen. 01: –6 dB setting is chosen. 10–11: Not connected to the right ADC PGA |
| D3–D2 | R/W | 11 | RCH_SEL2X; Differential Pair Using the IN2L(P) as PLUS and IN3L(M) as MINUS Inputs. 00: 0-dB setting is chosen. 01: –6-dB setting is chosen. 10–11: Not connected to the right ADC PGA |
| D1–D0 | R/W | 11 | RCH_SEL1X; Used for the IN1L(P) Pin, Which Is Single-Ended 00: 0-dB setting is chosen. 01: –6-dB setting is chosen. 10–11: Not connected to the right ADC PGA |
| BIT | READ/ WRITE |
RESET VALUE |
DESCRIPTION |
|---|---|---|---|
| D7–D0 | R | XXXX XXXX | Reserved. Do not write to this register. |
| BIT | READ/ WRITE |
RESET VALUE |
DESCRIPTION |
|---|---|---|---|
| D7 | R/W | 1 | 0: Left PGA is not muted. 1: Left PGA is muted. |
| D6–D0 | R/W | 000 0000 | 000 0000: Left PGA gain = 0 dB 000 0001: Left PGA gain = 0.5 dB 000 0010: Left PGA gain = 1 dB ... 101 0000: Left PGA gain = 40 dB 101 0001–111 1111: Reserved. Do not use. |
| BIT | READ/ WRITE |
RESET VALUE |
DESCRIPTION |
|---|---|---|---|
| D7 | R/W | 1 | 0: Right PGA is not muted 1: Right PGA is muted |
| D6–D0 | R/W | 000 0000 | 000 0000: Right PGA gain = 0 dB 000 0001: Right PGA gain = 0.5 dB 000 010: Right PGA gain = 1 dB ... 101 0000: Right PGA gain = 40 dB 101 0001–111 1111: Reserved. Do not use. |
| BIT | READ/ WRITE |
RESET VALUE |
DESCRIPTION |
|---|---|---|---|
| D7–D1 | R | 0000 000 | Reserved. Write only zeros to these bits. |
| D0 | R/W | 0 | 0: 1× ADC modulator current used 1: 0.5× ADC modulator current used |
| BIT | READ/ WRITE |
RESET VALUE |
DESCRIPTION |
|---|---|---|---|
| D7–D2 | R | 0000 00 | Reserved, don't write any value other than reset value |
| D1 | R | 0 | 0: Left ADC PGA , applied gain ≠ programmed gain 1: Left ADC PGA , applied gain = programmed gain |
| D0 | R | 0 | 0: Right ADC PGA , applied gain ≠ programmed gain 1: Right ADC PGA , applied gain = programmed gain |
| BIT | READ/ WRITE |
RESET VALUE |
DESCRIPTION |
|---|---|---|---|
| D7–D0 | R | XXXX XXXX | Reserved. Do not write to these registers. |
Default values shown for this page only become valid 100 μs following a hardware or software reset.
| BIT | READ/ WRITE |
RESET VALUE |
DESCRIPTION |
|---|---|---|---|
| D7–D0 | R/W | 0000 0000 | 0000 0000: Page 0 selected 0000 0001: Page 1 selected ... 1111 1110: Page 254 selected (reserved) 1111 1111: Page 255 selected (reserved) |
The remaining page 4 registers are either reserved registers or are used for setting coefficients for the various filters in the processing blocks. Reserved registers must not be written to.
The filter coefficient registers are arranged in pairs, with two adjacent 8-bit registers containing the 16-bit coefficient for a single filter. The 16-bit integer contained in the MSB and LSB registers for a coefficient are interpreted as a 2s-complement integer, with possible values ranging from –32,768 to 32,767. When programming any coefficient value for a filter, the MSB register must always be written first, immediately followed by the LSB register. Even if only the MSB or LSB portion of the coefficient changes, both registers must be written in this sequence. Table 14 is a list of the page 4 registers, excepting the previously described register 0.
| REGISTER NUMBER | RESET VALUE | REGISTER NAME |
|---|---|---|
| 1 | XXXX XXXX | Reserved. Do not write to this register. |
| 2 | 0000 0001 | Coefficient N0(15:8) for AGC LPF (first-order IIR) used as averager to detect level or Coefficient C1(15:8) of ADC miniDSP |
| 3 | 0001 0111 | Coefficient N0(7:0) for AGC LPF (first-order IIR) used as averager to detect level or Coefficient C1(7:0) of ADC miniDSP |
| 4 | 0000 0001 | Coefficient N1(15:8) for AGC LPF (first-order IIR) used as averager to detect level or Coefficient C2(15:8) of ADC miniDSP |
| 5 | 0001 0111 | Coefficient N1(7:0) for AGC LPF (first-order IIR) used as averager to detect level or Coefficient C2(7:0) of ADC miniDSP |
| 6 | 0111 1101 | Coefficient D1(15:8) for AGC LPF (first-order IIR) used as averager to detect level or Coefficient C3(15:8) of ADC miniDSP |
| 7 | 1101 0011 | Coefficient D1(7:0) for AGC LPF (first-order IIR) used as averager to detect level or Coefficient C3(7:0) of ADC miniDSP |
| 8 | 0111 1111 | Coefficient N0(15:8) for Left ADC programmable first-order IIR or Coefficient C4(15:8) of ADC miniDSP |
| 9 | 1111 1111 | Coefficient N0(7:0) for Left ADC programmable first-order IIR or Coefficient C4(7:0) of ADC miniDSP |
| 10 | 0000 0000 | Coefficient N1(15:8) for Left ADC programmable first-order IIR or Coefficient C5(15:8) of ADC miniDSP |
| 11 | 0000 0000 | Coefficient N1(7:0) for Left ADC programmable first-order IIR or Coefficient C5(7:0) of ADC miniDSP |
| 12 | 0000 0000 | Coefficient D1(15:8) for Left ADC programmable first-order IIR or Coefficient C6(15:8) of ADC miniDSP |
| 13 | 0000 0000 | Coefficient D1(7:0) for Left ADC programmable first-order IIR or Coefficient C6(7:0) of ADC miniDSP |
| 14 | 0111 1111 | Coefficient N0(15:8) for Left ADC Biquad A or Coefficient FIR0(15:8) for ADC FIR Filter or Coefficient C7(15:8) of ADC miniDSP |
| 15 | 1111 1111 | Coefficient N0(7:0) for Left ADC Biquad A or Coefficient FIR0(7:0) for ADC FIR Filter or Coefficient C7(7:0) of ADC miniDSP |
| 16 | 0000 0000 | Coefficient N1(15:8) for Left ADC Biquad A or Coefficient FIR1(15:8) for ADC FIR Filter or Coefficient C8(15:8) of ADC miniDSP |
| 17 | 0000 0000 | Coefficient N1(7:0) for Left ADC Biquad A or Coefficient FIR1(7:0) for ADC FIR Filter or Coefficient C8(7:0) of ADC miniDSP |
| 18 | 0000 0000 | Coefficient N2(15:8) for Left ADC Biquad A or Coefficient FIR2(15:8) for ADC FIR Filter or Coefficient C9(15:8) of ADC miniDSP |
| 19 | 0000 0000 | Coefficient N2(7:0) for Left ADC Biquad A or Coefficient FIR2(7:0) for ADC FIR Filter or Coefficient C9(7:0) of ADC miniDSP |
| 20 | 0000 0000 | Coefficient D1(15:8) for Left ADC Biquad A or Coefficient FIR3(15:8) for ADC FIR Filter or Coefficient C10(15:8) of ADC miniDSP |
| 21 | 0000 0000 | Coefficient D1(7:0) for Left ADC Biquad A or Coefficient FIR3(7:0) for ADC FIR Filter or Coefficient C10(7:0) of ADC miniDSP |
| 22 | 0000 0000 | Coefficient D2(15:8) for Left ADC Biquad A or Coefficient FIR4(15:8) for ADC FIR Filter or Coefficient C11(15:8) of ADC miniDSP |
| 23 | 0000 0000 | Coefficient D2(7:0) for Left ADC Biquad A or Coefficient FIR4(7:0) for ADC FIR Filter or Coefficient C11(7:0) of ADC miniDSP |
| 24 | 0111 1111 | Coefficient N0(15:8) for Left ADC Biquad B or Coefficient FIR5(15:8) for ADC FIR Filter or Coefficient C12(15:8) of ADC miniDSP |
| 25 | 1111 1111 | Coefficient N0(7:0) for Left ADC Biquad B or Coefficient FIR5(7:0) for ADC FIR Filter or Coefficient C12(7:0) of ADC miniDSP |
| 26 | 0000 0000 | Coefficient N1(15:8) for Left ADC Biquad B or Coefficient FIR6(15:8) for ADC FIR Filter or Coefficient C13(15:8) of ADC miniDSP |
| 27 | 0000 0000 | Coefficient N1(7:0) for Left ADC Biquad B or Coefficient FIR6(7:0) for ADC FIR Filter or Coefficient C13(7:0) of ADC miniDSP |
| 28 | 0000 0000 | Coefficient N2(15:8) for Left ADC Biquad B or Coefficient FIR7(15:8) for ADC FIR Filter or Coefficient C14(15:8) of ADC miniDSP |
| 29 | 0000 0000 | Coefficient N2(7:0) for Left ADC Biquad B or Coefficient FIR7(7:0) for ADC FIR Filter or Coefficient C14(7:0) of ADC miniDSP |
| 30 | 0000 0000 | Coefficient D1(15:8) for Left ADC Biquad B or Coefficient FIR8(15:8) for ADC FIR Filter or Coefficient C15(15:8) of ADC miniDSP |
| 31 | 0000 0000 | Coefficient D1(7:0) for Left ADC Biquad B or Coefficient FIR8(7:0) for ADC FIR Filter or Coefficient C15(7:0) of ADC miniDSP |
| 32 | 0000 0000 | Coefficient D2(15:8) for Left ADC Biquad B or Coefficient FIR9(15:8) for ADC FIR Filter or Coefficient C16(15:8) of ADC miniDSP |
| 33 | 0000 0000 | Coefficient D2(7:0) for Left ADC Biquad B or Coefficient FIR9(7:0) for ADC FIR Filter or Coefficient C16(7:0) of ADC miniDSP |
| 34 | 0111 1111 | Coefficient N0(15:8) for Left ADC Biquad C or Coefficient FIR10(15:8) for ADC FIR Filter or Coefficient C17(15:8) of ADC miniDSP |
| 35 | 1111 1111 | Coefficient N0(7:0) for Left ADC Biquad C or Coefficient FIR10(7:0) for ADC FIR Filter or Coefficient C17(7:0) of ADC miniDSP |
| 36 | 0000 0000 | Coefficient N1(15:8) for Left ADC Biquad C or Coefficient FIR11(15:8) for ADC FIR Filter or Coefficient C18(15:8) of ADC miniDSP |
| 37 | 0000 0000 | Coefficient N1(7:0) for Left ADC Biquad C or Coefficient FIR11(7:0) for ADC FIR Filter or Coefficient C18(7:0) of ADC miniDSP |
| 38 | 0000 0000 | Coefficient N2(15:8) for Left ADC Biquad C or Coefficient FIR12(15:8) for ADC FIR Filter or Coefficient C19(15:8) of ADC miniDSP |
| 39 | 0000 0000 | Coefficient N2(7:0) for Left ADC Biquad C or Coefficient FIR12(7:0) for ADC FIR Filter or Coefficient C19(7:0) of ADC miniDSP |
| 40 | 0000 0000 | Coefficient D1(15:8) for Left ADC Biquad C or Coefficient FIR13(15:8) for ADC FIR Filter or Coefficient C20(15:8) of ADC miniDSP |
| 41 | 0000 0000 | Coefficient D1(7:0) for Left ADC Biquad C or Coefficient FIR13(7:0) for ADC FIR Filter or Coefficient C20(7:0) of ADC miniDSP |
| 42 | 0000 0000 | Coefficient D2(15:8) for Left ADC Biquad C or Coefficient FIR14(15:8) for ADC FIR Filter or Coefficient C21(15:8) of ADC miniDSP |
| 43 | 0000 0000 | Coefficient D2(7:0) for Left ADC Biquad C or Coefficient FIR14(7:0) for ADC FIR Filter or Coefficient C21(7:0) of ADC miniDSP |
| 44 | 0111 1111 | Coefficient N0(15:8) for Left ADC Biquad D or Coefficient FIR15(15:8) for ADC FIR Filter or Coefficient C22(15:8) of ADC miniDSP |
| 45 | 1111 1111 | Coefficient N0(7:0) for Left ADC Biquad D or Coefficient FIR15(7:0) for ADC FIR Filter or Coefficient C22(7:0) of ADC miniDSP |
| 46 | 0000 0000 | Coefficient N1(15:8) for Left ADC Biquad D or Coefficient FIR16(15:8) for ADC FIR Filter or Coefficient C23(15:8) of ADC miniDSP |
| 47 | 0000 0000 | Coefficient N1(7:0) for Left ADC Biquad D or Coefficient FIR16(7:0) for ADC FIR Filter or Coefficient C23(7:0) of ADC miniDSP |
| 48 | 0000 0000 | Coefficient N2(15:8) for Left ADC Biquad D or Coefficient FIR17(15:8) for ADC FIR Filter or Coefficient C24(15:8) of ADC miniDSP |
| 49 | 0000 0000 | Coefficient N2(7:0) for Left ADC Biquad D or Coefficient FIR17(7:0) for ADC FIR Filter or Coefficient C24(7:0) of ADC miniDSP |
| 50 | 0000 0000 | Coefficient D1(15:8) for Left ADC Biquad D or Coefficient FIR18(15:8) for ADC FIR Filter or Coefficient C25(15:8) of ADC miniDSP |
| 51 | 0000 0000 | Coefficient D1(7:0) for Left ADC Biquad D or Coefficient FIR18(7:0) for ADC FIR Filter or Coefficient C25(7:0) of ADC miniDSP |
| 52 | 0000 0000 | Coefficient D2(15:8) for Left ADC Biquad D or Coefficient FIR19(15:8) for ADC FIR Filter or Coefficient C26(15:8) of ADC miniDSP |
| 53 | 0000 0000 | Coefficient D2(7:0) for Left ADC Biquad D or Coefficient FIR19(7:0) for ADC FIR Filter or Coefficient C26(7:0) of ADC miniDSP |
| 54 | 0111 1111 | Coefficient N0(15:8) for Left ADC Biquad E or Coefficient FIR20(15:8) for ADC FIR Filter or Coefficient C27(15:8) of ADC miniDSP |
| 55 | 1111 1111 | Coefficient N0(7:0) for Left ADC Biquad E or Coefficient FIR20(7:0) for ADC FIR Filter or Coefficient C27(7:0) of ADC miniDSP |
| 56 | 0000 0000 | Coefficient N1(15:8) for Left ADC Biquad E or Coefficient FIR21(15:8) for ADC FIR Filter or Coefficient C28(15:8) of ADC miniDSP |
| 57 | 0000 0000 | Coefficient N1(7:0) for Left ADC Biquad E or Coefficient FIR21(7:0) for ADC FIR Filter or Coefficient C28(7:0) of ADC miniDSP |
| 58 | 0000 0000 | Coefficient N2(15:8) for Left ADC Biquad E or Coefficient FIR22(15:8) for ADC FIR Filter or Coefficient C29(15:8) of ADC miniDSP |
| 59 | 0000 0000 | Coefficient N2(7:0) for Left ADC Biquad E or Coefficient FIR22(7:0) for ADC FIR Filter or Coefficient C29(7:0) of ADC miniDSP |
| 60 | 0000 0000 | Coefficient D1(15:8) for Left ADC Biquad E or Coefficient FIR23(15:8) for ADC FIR Filter or Coefficient C30(15:8) of ADC miniDSP |
| 61 | 0000 0000 | Coefficient D1(7:0) for Left ADC Biquad E or Coefficient FIR23(7:0) for ADC FIR Filter or Coefficient C30(7:0) of ADC miniDSP |
| 62 | 0000 0000 | Coefficient D2(15:8) for Left ADC Biquad E or Coefficient FIR24(15:8) for ADC FIR Filter or Coefficient C31(15:8) of ADC miniDSP |
| 63 | 0000 0000 | Coefficient D2(7:0) for Left ADC Biquad E or Coefficient FIR24(7:0) for ADC FIR Filter or Coefficient C31(7:0) of ADC miniDSP |
| 64 | 0000 0000 | Coefficient C32(15:8) of ADC miniDSP |
| 65 | 0000 0000 | Coefficient C32(7:0) of ADC miniDSP |
| 66 | 0000 0000 | Coefficient C33(15:8) of ADC miniDSP |
| 67 | 0000 0000 | Coefficient C33(7:0) of ADC miniDSP |
| 68 | 0000 0000 | Coefficient C34(15:8) of ADC miniDSP |
| 69 | 0000 0000 | Coefficient C34(7:0) of ADC miniDSP |
| 70 | 0000 0000 | Coefficient C35(15:8) of ADC miniDSP |
| 71 | 0000 0000 | Coefficient C35(7:0) of ADC miniDSP |
| 72 | 0000 0000 | Coefficient N0(15:8) for Right ADC programmable first-order IIR or Coefficient C36(15:8) of ADC miniDSP |
| 73 | 0000 0000 | Coefficient N0(7:0) for Right ADC programmable first-order IIR or Coefficient C36(7:0) of ADC miniDSP |
| 74 | 0000 0000 | Coefficient N1(15:8) for Right ADC programmable first-order IIR or Coefficient C37(15:8) of ADC miniDSP |
| 75 | 0000 0000 | Coefficient N1(7:0) for Right ADC programmable first-order IIR or Coefficient C37(7:0) of ADC miniDSP |
| 76 | 0000 0000 | Coefficient D1(15:8) for Right ADC programmable first-order IIR or Coefficient C38(15:8) of ADC miniDSP |
| 77 | 0000 0000 | Coefficient D1(7:0) for Right ADC programmable first-order IIR or Coefficient C38(7:0) of ADC miniDSP |
| 78 | 0000 0000 | Coefficient N0(15:8) for Right ADC Biquad A or Coefficient FIR0(15:8) for ADC FIR Filter or Coefficient C39(15:8) of ADC miniDSP |
| 79 | 0000 0000 | Coefficient N0(7:0) for Right ADC Biquad A or Coefficient FIR0(7:0) for ADC FIR Filter or Coefficient C39(7:0) of ADC miniDSP |
| 80 | 0000 0000 | Coefficient N1(15:8) for Right ADC Biquad A or Coefficient FIR1(15:8) for ADC FIR Filter or Coefficient C40(15:8) of ADC miniDSP |
| 81 | 0000 0000 | Coefficient N1(7:0) for Right ADC Biquad A or Coefficient FIR1(7:0) for ADC FIR Filter or Coefficient C40(7:0) of ADC miniDSP |
| 82 | 0000 0000 | Coefficient N2(15:8) for Right ADC Biquad A or Coefficient FIR2(15:8) for ADC FIR Filter or Coefficient C41(15:8) of ADC miniDSP |
| 83 | 0000 0000 | Coefficient N2(7:0) for Right ADC Biquad A or Coefficient FIR2(7:0) for ADC FIR Filter or Coefficient C41(7:0) of ADC miniDSP |
| 84 | 0000 0000 | Coefficient D1(15:8) for Right ADC Biquad A or Coefficient FIR3(15:8) for ADC FIR Filter or Coefficient C42(15:8) of ADC miniDSP |
| 85 | 0000 0000 | Coefficient D1(7:0) for Right ADC Biquad A or Coefficient FIR3(7:0) for ADC FIR Filter or Coefficient C42(7:0) of ADC miniDSP |
| 86 | 0000 0000 | Coefficient D2(15:8) for Right ADC Biquad A or Coefficient FIR4(15:8) for ADC FIR Filter or Coefficient C43(15:8) of ADC miniDSP |
| 87 | 0000 0000 | Coefficient D2(7:0) for Right ADC Biquad A or Coefficient FIR4(7:0) for ADC FIR Filter or Coefficient C43(7:0) of ADC miniDSP |
| 88 | 0000 0000 | Coefficient N0(15:8) for Right ADC Biquad B or Coefficient FIR5(15:8) for ADC FIR Filter or Coefficient C44(15:8) of ADC miniDSP |
| 89 | 0000 0000 | Coefficient N0(7:0) for Right ADC Biquad B or Coefficient FIR5(7:0) for ADC FIR Filter or Coefficient C44(7:0) of ADC miniDSP |
| 90 | 0000 0000 | Coefficient N1(15:8) for Right ADC Biquad B or Coefficient FIR6(15:8) for ADC FIR Filter or Coefficient C45(15:8) of ADC miniDSP |
| 91 | 0000 0000 | Coefficient N1(7:0) for Right ADC Biquad B or Coefficient FIR6(7:0) for ADC FIR Filter or Coefficient C45(7:0) of ADC miniDSP |
| 92 | 0000 0000 | Coefficient N2(15:8) for Right ADC Biquad B or Coefficient FIR7(15:8) for ADC FIR Filter or Coefficient C46(15:8) of ADC miniDSP |
| 93 | 0000 0000 | Coefficient N2(7:0) for Right ADC Biquad B or Coefficient FIR7(7:0) for ADC FIR Filter or Coefficient C46(7:0) of ADC miniDSP |
| 94 | 0000 0000 | Coefficient D1(15:8) for Right ADC Biquad B or Coefficient FIR8(15:8) for ADC FIR Filter or Coefficient C47(15:8) of ADC miniDSP |
| 95 | 0000 0000 | Coefficient D1(7:0) for Right ADC Biquad B or Coefficient FIR8(7:0) for ADC FIR Filter or Coefficient C47(7:0) of ADC miniDSP |
| 96 | 0000 0000 | Coefficient D2(15:8) for Right ADC Biquad B or Coefficient FIR9(15:8) for ADC FIR Filter or Coefficient C48(15:8) of ADC miniDSP |
| 97 | 0000 0000 | Coefficient D2(7:0) for Right ADC Biquad B or Coefficient FIR9(7:0) for ADC FIR Filter or Coefficient C48(7:0) of ADC miniDSP |
| 98 | 0000 0000 | Coefficient N0(15:8) for Right ADC Biquad C or Coefficient FIR10(15:8) for ADC FIR Filter or Coefficient C49(15:8) of ADC miniDSP |
| 99 | 0000 0000 | Coefficient N0(7:0) for Right ADC Biquad C or Coefficient FIR10(7:0) for ADC FIR Filter or Coefficient C49(7:0) of ADC miniDSP |
| 100 | 0000 0000 | Coefficient N1(15:8) for Right ADC Biquad C or Coefficient FIR11(15:8) for ADC FIR Filter or Coefficient C50(15:8) of ADC miniDSP |
| 101 | 0000 0000 | Coefficient N1(7:0) for Right ADC Biquad C or Coefficient FIR11(7:0) for ADC FIR Filter or Coefficient C50(7:0) of ADC miniDSP |
| 102 | 0000 0000 | Coefficient N2(15:8) for Right ADC Biquad C or Coefficient FIR12(15:8) for ADC FIR Filter or Coefficient C51(15:8) of ADC miniDSP |
| 103 | 0000 0000 | Coefficient N2(7:0) for Right ADC Biquad C or Coefficient FIR12(7:0) for ADC FIR Filter or Coefficient C51(7:0) of ADC miniDSP |
| 104 | 0000 0000 | Coefficient D1(15:8) for Right ADC Biquad C or Coefficient FIR13(15:8) for ADC FIR Filter or Coefficient C52(15:8) of ADC miniDSP |
| 105 | 0000 0000 | Coefficient D1(7:0) for Right ADC Biquad C or Coefficient FIR13(7:0) for ADC FIR Filter or Coefficient C52(7:0) of ADC miniDSP |
| 106 | 0000 0000 | Coefficient D2(15:8) for Right ADC Biquad C or Coefficient FIR14(15:8) for ADC FIR Filter or Coefficient C53(15:8) of ADC miniDSP |
| 107 | 0000 0000 | Coefficient D2(7:0) for Right ADC Biquad C or Coefficient FIR14(7:0) for ADC FIR Filter or Coefficient C53(7:0) of ADC miniDSP |
| 108 | 0000 0000 | Coefficient N0(15:8) for Right ADC Biquad D or Coefficient FIR15(15:8) for ADC FIR Filter or Coefficient C54(15:8) of ADC miniDSP |
| 109 | 0000 0000 | Coefficient N0(7:0) for Right ADC Biquad D or Coefficient FIR15(7:0) for ADC FIR Filter or Coefficient C54(7:0) of ADC miniDSP |
| 110 | 0000 0000 | Coefficient N1(15:8) for Right ADC Biquad D or Coefficient FIR16(15:8) for ADC FIR Filter or Coefficient C55(15:8) of ADC miniDSP |
| 111 | 0000 0000 | Coefficient N1(7:0) for Right ADC Biquad D or Coefficient FIR16(7:0) for ADC FIR Filter or Coefficient C55(7:0) of ADC miniDSP |
| 112 | 0000 0000 | Coefficient N2(15:8) for Right ADC Biquad D or Coefficient FIR17(15:8) for ADC FIR Filter or Coefficient C56(15:8) of ADC miniDSP |
| 113 | 0000 0000 | Coefficient N2(7:0) for Right ADC Biquad D or Coefficient FIR17(7:0) for ADC FIR Filter or Coefficient C56(7:0) of ADC miniDSP |
| 114 | 0000 0000 | Coefficient D1(15:8) for Right ADC Biquad D or Coefficient FIR18(15:8) for ADC FIR Filter or Coefficient C57(15:8) of ADC miniDSP |
| 115 | 0000 0000 | Coefficient D1(7:0) for Right ADC Biquad D or Coefficient FIR18(7:0) for ADC FIR Filter or Coefficient C57(7:0) of ADC miniDSP |
| 116 | 0000 0000 | Coefficient D2(15:8) for Right ADC Biquad D or Coefficient FIR19(15:8) for ADC FIR Filter or Coefficient C58(15:8) of ADC miniDSP |
| 117 | 0000 0000 | Coefficient D2(7:0) for Right ADC Biquad D or Coefficient FIR19(7:0) for ADC FIR Filter or Coefficient C58(7:0) of ADC miniDSP |
| 118 | 0000 0000 | Coefficient N0(15:8) for Right ADC Biquad E or Coefficient FIR20(15:8) for ADC FIR Filter or Coefficient C59(15:8) of ADC miniDSP |
| 119 | 0000 0000 | Coefficient N0(7:0) for Right ADC Biquad E or Coefficient FIR20(7:0) for ADC FIR Filter or Coefficient C59(7:0) of ADC miniDSP |
| 120 | 0000 0000 | Coefficient N1(15:8) for Right ADC Biquad E or Coefficient FIR21(15:8) for ADC FIR Filter or Coefficient C60(15:8) of ADC miniDSP |
| 121 | 0000 0000 | Coefficient N1(7:0) for Right ADC Biquad E or Coefficient FIR21(7:0) for ADC FIR Filter or Coefficient C60(7:0) of ADC miniDSP |
| 122 | 0000 0000 | Coefficient N2(15:8) for Right ADC Biquad E or Coefficient FIR22(15:8) for ADC FIR Filter or Coefficient C61(15:8) of ADC miniDSP |
| 123 | 0000 0000 | Coefficient N2(7:0) for Right ADC Biquad E or Coefficient FIR22(7:0) for ADC FIR Filter or Coefficient C61(7:0) of ADC miniDSP |
| 124 | 0000 0000 | Coefficient D1(15:8) for Right ADC Biquad E or Coefficient FIR23(15:8) for ADC FIR Filter or Coefficient C62(15:8) of ADC miniDSP |
| 125 | 0000 0000 | Coefficient D1(7:0) for Right ADC Biquad E or Coefficient FIR23(7:0) for ADC FIR Filter or Coefficient C62(7:0) of ADC miniDSP |
| 126 | 0000 0000 | Coefficient D2(15:8) for Right ADC Biquad E or Coefficient FIR24(15:8) for ADC FIR Filter or Coefficient C63(15:8) of ADC miniDSP |
| 127 | 0000 0000 | Coefficient D2(7:0) for Right ADC Biquad E or Coefficient FIR24(7:0) for ADC FIR Filter or Coefficient C63(7:0) of ADC miniDSP |
Page 5 / Register 0 is the page control register as desribed below.
| BIT | READ/ WRITE |
RESET VALUE |
DESCRIPTION |
|---|---|---|---|
| D7–D0 | R/W | 0000 0000 | 0000 0000: Page 0 selected 0000 0001: Page 1 selected ... 1111 1110: Page 254 selected (reserved) 1111 1111: Page 255 selected (reserved) |
Table 15is a list of the page 5 registers, excepting the previously described register 0.
| REGISTER NUMBER | RESET VALUE | REGISTER NAME |
|---|---|---|
| 1 | XXXX XXXX | Reserved. Do not write to this register. |
| 2 | 0000 0000 | Coefficient C65(15:8) of ADC miniDSP |
| 3 | 0000 0000 | Coefficient C65(7:0) of ADC miniDSP |
| 4 | 0000 0000 | Coefficient C66(15:8) of ADC miniDSP |
| 5 | 0000 0000 | Coefficient C66(7:0) of ADC miniDSP |
| 6 | 0000 0000 | Coefficient C67(15:8) of ADC miniDSP |
| 7 | 0000 0000 | Coefficient C67(7:0) of ADC miniDSP |
| 8 | 0000 0000 | Coefficient C68(15:8) of ADC miniDSP |
| 9 | 0000 0000 | Coefficient C68(7:0) of ADC miniDSP |
| 10 | 0000 0000 | Coefficient C69(15:8) of ADC miniDSP |
| 11 | 0000 0000 | Coefficient C69(7:0) of ADC miniDSP |
| 12 | 0000 0000 | Coefficient C70(15:8) of ADC miniDSP |
| 13 | 0000 0000 | Coefficient C70(7:0) of ADC miniDSP |
| 14 | 0000 0000 | Coefficient C71(15:8) of ADC miniDSP |
| 15 | 0000 0000 | Coefficient C71(7:0) of ADC miniDSP |
| 16 | 0000 0000 | Coefficient C72(15:8) of ADC miniDSP |
| 17 | 0000 0000 | Coefficient C72(7:0) of ADC miniDSP |
| 18 | 0000 0000 | Coefficient C73(15:8) of ADC miniDSP |
| 19 | 0000 0000 | Coefficient C73(7:0) of ADC miniDSP |
| 20 | 0000 0000 | Coefficient C74(15:8) of ADC miniDSP |
| 21 | 0000 0000 | Coefficient C74(7:0) of ADC miniDSP |
| 22 | 0000 0000 | Coefficient C75(15:8) of ADC miniDSP |
| 23 | 0000 0000 | Coefficient C75(7:0) of ADC miniDSP |
| 24 | 0000 0000 | Coefficient C76(15:8) of ADC miniDSP |
| 25 | 0000 0000 | Coefficient C76(7:0) of ADC miniDSP |
| 26 | 0000 0000 | Coefficient C77(15:8) of ADC miniDSP |
| 27 | 0000 0000 | Coefficient C77(7:0) of ADC miniDSP |
| 28 | 0000 0000 | Coefficient C78(15:8) of ADC miniDSP |
| 29 | 0000 0000 | Coefficient C78(7:0) of ADC miniDSP |
| 30 | 0000 0000 | Coefficient C79(15:8) of ADC miniDSP |
| 31 | 0000 0000 | Coefficient C79(7:0) of ADC miniDSP |
| 32 | 0000 0000 | Coefficient C80(15:8) of ADC miniDSP |
| 33 | 0000 0000 | Coefficient C80(7:0) of ADC miniDSP |
| 34 | 0000 0000 | Coefficient C81(15:8) of ADC miniDSP |
| 35 | 0000 0000 | Coefficient C81(7:0) of ADC miniDSP |
| 36 | 0000 0000 | Coefficient C82(15:8) of ADC miniDSP |
| 37 | 0000 0000 | Coefficient C82(7:0) of ADC miniDSP |
| 38 | 0000 0000 | Coefficient C83(15:8) of ADC miniDSP |
| 39 | 0000 0000 | Coefficient C83(7:0) of ADC miniDSP |
| 40 | 0000 0000 | Coefficient C84(15:8) of ADC miniDSP |
| 41 | 0000 0000 | Coefficient C84(7:0) of ADC miniDSP |
| 42 | 0000 0000 | Coefficient C85(15:8) of ADC miniDSP |
| 43 | 0000 0000 | Coefficient C85(7:0) of ADC miniDSP |
| 44 | 0000 0000 | Coefficient C86(15:8) of ADC miniDSP |
| 45 | 0000 0000 | Coefficient C86(7:0) of ADC miniDSP |
| 46 | 0000 0000 | Coefficient C87(15:8) of ADC miniDSP |
| 47 | 0000 0000 | Coefficient C87(7:0) of ADC miniDSP |
| 48 | 0000 0000 | Coefficient C88(15:8) of ADC miniDSP |
| 49 | 0000 0000 | Coefficient C88(7:0) of ADC miniDSP |
| 50 | 0000 0000 | Coefficient C89(15:8) of ADC miniDSP |
| 51 | 0000 0000 | Coefficient C89(7:0) of ADC miniDSP |
| 52 | 0000 0000 | Coefficient C90(15:8) of ADC miniDSP |
| 53 | 0000 0000 | Coefficient C90(7:0) of ADC miniDSP |
| 54 | 0000 0000 | Coefficient C91(15:8) of ADC miniDSP |
| 55 | 0000 0000 | Coefficient C91(7:0) of ADC miniDSP |
| 56 | 0000 0000 | Coefficient C92(15:8) of ADC miniDSP |
| 57 | 0000 0000 | Coefficient C92(7:0) of ADC miniDSP |
| 58 | 0000 0000 | Coefficient C93(15:8) of ADC miniDSP |
| 59 | 0000 0000 | Coefficient C93(7:0) of ADC miniDSP |
| 60 | 0000 0000 | Coefficient C94(15:8) of ADC miniDSP |
| 61 | 0000 0000 | Coefficient C94(7:0) of ADC miniDSP |
| 62 | 0000 0000 | Coefficient C95(15:8) of ADC miniDSP |
| 63 | 0000 0000 | Coefficient C95(7:0) of ADC miniDSP |
| 64 | 0000 0000 | Coefficient C96(15:8) of ADC miniDSP |
| 65 | 0000 0000 | Coefficient C96(7:0) of ADC miniDSP |
| 66 | 0000 0000 | Coefficient C97(15:8) of ADC miniDSP |
| 67 | 0000 0000 | Coefficient C97(7:0) of ADC miniDSP |
| 68 | 0000 0000 | Coefficient C98(15:8) of ADC miniDSP |
| 69 | 0000 0000 | Coefficient C98(7:0) of ADC miniDSP |
| 70 | 0000 0000 | Coefficient C99(15:8) of ADC miniDSP |
| 71 | 0000 0000 | Coefficient C99(7:0) of ADC miniDSP |
| 72 | 0000 0000 | Coefficient C100(15:8) of ADC miniDSP |
| 73 | 0000 0000 | Coefficient C100(7:0) of ADC miniDSP |
| 74 | 0000 0000 | Coefficient C101(15:8) of ADC miniDSP |
| 75 | 0000 0000 | Coefficient C101(7:0) of ADC miniDSP |
| 76 | 0000 0000 | Coefficient C102(15:8) of ADC miniDSP |
| 77 | 0000 0000 | Coefficient C102(7:0) of ADC miniDSP |
| 78 | 0000 0000 | Coefficient C103(15:8) of ADC miniDSP |
| 79 | 0000 0000 | Coefficient C103(7:0) of ADC miniDSP |
| 80 | 0000 0000 | Coefficient C104(15:8) of ADC miniDSP |
| 81 | 0000 0000 | Coefficient C104(7:0) of ADC miniDSP |
| 82 | 0000 0000 | Coefficient C105(15:8) of ADC miniDSP |
| 83 | 0000 0000 | Coefficient C105(7:0) of ADC miniDSP |
| 84 | 0000 0000 | Coefficient C106(15:8) of ADC miniDSP |
| 85 | 0000 0000 | Coefficient C106(7:0) of ADC miniDSP |
| 86 | 0000 0000 | Coefficient C107(15:8) of ADC miniDSP |
| 87 | 0000 0000 | Coefficient C107(7:0) of ADC miniDSP |
| 88 | 0000 0000 | Coefficient C108(15:8) of ADC miniDSP |
| 89 | 0000 0000 | Coefficient C108(7:0) of ADC miniDSP |
| 90 | 0000 0000 | Coefficient C109(15:8) of ADC miniDSP |
| 91 | 0000 0000 | Coefficient C109(7:0) of ADC miniDSP |
| 92 | 0000 0000 | Coefficient C110(15:8) of ADC miniDSP |
| 93 | 0000 0000 | Coefficient C110(7:0) of ADC miniDSP |
| 94 | 0000 0000 | Coefficient C111(15:8) of ADC miniDSP |
| 95 | 0000 0000 | Coefficient C111(7:0) of ADC miniDSP |
| 96 | 0000 0000 | Coefficient C112(15:8) of ADC miniDSP |
| 97 | 0000 0000 | Coefficient C112(7:0) of ADC miniDSP |
| 98 | 0000 0000 | Coefficient C113(15:8) of ADC miniDSP |
| 99 | 0000 0000 | Coefficient C113(7:0) of ADC miniDSP |
| 100 | 0000 0000 | Coefficient C114(15:8) of ADC miniDSP |
| 101 | 0000 0000 | Coefficient C114(7:0) of ADC miniDSP |
| 102 | 0000 0000 | Coefficient C115(15:8) of ADC miniDSP |
| 103 | 0000 0000 | Coefficient C115(7:0) of ADC miniDSP |
| 104 | 0000 0000 | Coefficient C117(15:8) of ADC miniDSP |
| 105 | 0000 0000 | Coefficient C117(7:0) of ADC miniDSP |
| 106 | 0000 0000 | Coefficient C117(15:8) of ADC miniDSP |
| 107 | 0000 0000 | Coefficient C117(7:0) of ADC miniDSP |
| 108 | 0000 0000 | Coefficient C118(15:8) of ADC miniDSP |
| 109 | 0000 0000 | Coefficient C118(7:0) of ADC miniDSP |
| 110 | 0000 0000 | Coefficient C119(15:8) of ADC miniDSP |
| 111 | 0000 0000 | Coefficient C119(7:0) of ADC miniDSP |
| 112 | 0000 0000 | Coefficient C120(15:8) of ADC miniDSP |
| 113 | 0000 0000 | Coefficient C120(7:0) of ADC miniDSP |
| 114 | 0000 0000 | Coefficient C121(15:8) of ADC miniDSP |
| 115 | 0000 0000 | Coefficient C121(7:0) of ADC miniDSP |
| 116 | 0000 0000 | Coefficient C122(15:8) of ADC miniDSP |
| 117 | 0000 0000 | Coefficient C122(7:0) of ADC miniDSP |
| 118 | 0000 0000 | Coefficient C123(15:8) of ADC miniDSP |
| 119 | 0000 0000 | Coefficient C123(7:0) of ADC miniDSP |
| 120 | 0000 0000 | Coefficient C124(15:8) of ADC miniDSP |
| 121 | 0000 0000 | Coefficient C124(7:0) of ADC miniDSP |
| 122 | 0000 0000 | Coefficient C125(15:8) of ADC miniDSP |
| 123 | 0000 0000 | Coefficient C125(7:0) of ADC miniDSP |
| 124 | 0000 0000 | Coefficient C126(15:8) of ADC miniDSP |
| 125 | 0000 0000 | Coefficient C126(7:0) of ADC miniDSP |
| 126 | 0000 0000 | Coefficient C127(15:8) of ADC miniDSP |
| 127 | 0000 0000 | Coefficient C127(7:0) of ADC miniDSP |
Control registers from Page 32 – Page 47 contain instruction RAM for the ADC miniDSP. There are 32 instructions / page and 16 pages so the TLV320ADC3101 miniDSP supports 512 instructions.
| BIT | READ/ WRITE |
RESET VALUE |
DESCRIPTION |
|---|---|---|---|
| D7–D0 | R/W | 0000 0000 | 0000 0000: Page 0 selected 0000 0001: Page 1 selected ... 1111 1110: Page 254 selected (reserved) 1111 1111: Page 255 selected (reserved) |
| BIT | READ/ WRITE |
RESET VALUE |
DESCRIPTION |
|---|---|---|---|
| D7–D0 | R/W | XXXX XXXX | Reserved. Write only the default value to this register |
| BIT | READ/ WRITE |
RESET VALUE |
DESCRIPTION |
|---|---|---|---|
| D7–D4 | R/W | XXXX | Reserved |
| D3–D0 | R/W | XXXX | Instruction Inst_0(19:16) of ADC miniDSP |
| BIT | READ/ WRITE |
RESET VALUE |
DESCRIPTION |
|---|---|---|---|
| D7–D0 | R/W | XXXX XXXX | Instruction Inst_0(15:8) of ADC miniDSP |
| BIT | READ/ WRITE |
RESET VALUE |
DESCRIPTION |
|---|---|---|---|
| D7–D0 | R/W | XXXX XXXX | Instruction Inst_0(7:0) of ADC miniDSP |
The remaining unreserved registers on page 32 are arranged in groups of three, with each group containing the bits of one instruction. The arrangement is the same as that of registers 2–4 for Instruction 0. Registers 5–7, 8–10, 11–13, ..., 95–97 contain instructions 1, 2, 3, ..., 31, respectively.
| BIT | READ/ WRITE |
RESET VALUE |
DESCRIPTION |
|---|---|---|---|
| D7–D0 | R/W | XXXX XXXX | Reserved. Write only the default value to this register |
The structuring of the registers within pages 33–43 is identical to that of page 32. Only the instruction numbers differ. The range of instructions within each page is listed in the following table.
| PAGE | INSTRUCTIONS |
|---|---|
| 33 | 32 to 63 |
| 34 | 64 to 95 |
| 35 | 96 to 127 |
| 36 | 128 to 159 |
| 37 | 160 to 191 |
| 38 | 192 to 223 |
| 39 | 224 to 255 |
| 40 | 256 to 287 |
| 41 | 288 to 319 |
| 42 | 320 to 351 |
| 43 | 352 to 383 |
| 44 | 384 to 415 |
| 45 | 416 to 447 |
| 46 | 448 to 479 |
| 47 | 480 to 511 |