ZHCSDA2B February   2015  – April 2015 SN65LVDS93A-Q1

PRODUCTION DATA.  

  1. 特性
  2. 应用
  3. 说明
  4. 修订历史记录
  5. Pin Configuration and Functions
  6. Specifications
    1. 6.1 Absolute Maximum Ratings
    2. 6.2 ESD Ratings
    3. 6.3 Recommended Operating Conditions
    4. 6.4 Thermal Information
    5. 6.5 Electrical Characteristics
    6. 6.6 Timing Requirements
    7. 6.7 Switching Characteristics
    8. 6.8 Typical Characteristics
  7. Parameter Measurement Information
  8. Detailed Description
    1. 8.1 Overview
    2. 8.2 Functional Block Diagram
    3. 8.3 Feature Description
      1. 8.3.1 TTL Input Data
      2. 8.3.2 LVDS Output Data
    4. 8.4 Device Functional Modes
      1. 8.4.1 Input Clock Edge
      2. 8.4.2 Low Power Mode
  9. Application and Implementation
    1. 9.1 Application Information
    2. 9.2 Typical Application
      1. 9.2.1 Design Requirements
      2. 9.2.2 Detailed Design Procedure
        1. 9.2.2.1 Power Up Sequence
        2. 9.2.2.2 Signal Connectivity
        3. 9.2.2.3 PCB Routing
      3. 9.2.3 Application Curve
  10. 10Power Supply Recommendations
  11. 11Layout
    1. 11.1 Layout Guidelines
      1. 11.1.1 Board Stackup
      2. 11.1.2 Power and Ground Planes
      3. 11.1.3 Traces, Vias, and Other PCB Components
    2. 11.2 Layout Example
  12. 12器件和文档支持
    1. 12.1 商标
    2. 12.2 静电放电警告
    3. 12.3 术语表
  13. 13机械、封装和可订购信息

封装选项

机械数据 (封装 | 引脚)
散热焊盘机械数据 (封装 | 引脚)
订购信息

7 Parameter Measurement Information

SN65LVDS93A-Q1 set_hold_lls846.gif
All input timing is defined at IOVDD / 2 on an input signal with a 10% to 90% rise or fall time of less than 3 ns. CLKSEL = 0 V.
Figure 6. Set Up and Hold Time Definition
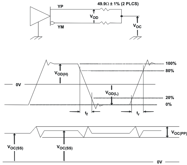
SN65LVDS93A-Q1 test_load_lls846.gifFigure 7. Test Load and Voltage Definitions for LVDS Outputs
SN65LVDS93A-Q1 gray_scale_lls846.gif
The 16 grayscale test pattern test device power consumption for a typical display pattern.
Figure 8. 16 Grayscale Test Pattern
SN65LVDS93A-Q1 worst_case_lls846.gif
The worst-case test pattern produces nearly the maximum switching frequency for all of the LVDS outputs.
Figure 9. Worst-Case Power Test Pattern
SN65LVDS93A-Q1 timing_lls846.gif
CLKOUT is shown with CLKSEL at high-level.
CLKIN polarity depends on CLKSEL input level.
Figure 10. SN65LVDS93A-Q1 Timing Definitions
SN65LVDS93A-Q1 out_clock_lls846.gifFigure 11. Output Clock Jitter Test Set Up
SN65LVDS93A-Q1 enable_time_lls846.gifFigure 12. Enable Time Waveforms
SN65LVDS93A-Q1 disable_time_lls846.gifFigure 13. Disable Time Waveforms