ZHCSCM6G May   2014  – October 2019 SN65HVD70 , SN65HVD71 , SN65HVD73 , SN65HVD74 , SN65HVD76 , SN65HVD77

PRODUCTION DATA.  

  1. 特性
  2. 应用
  3. 说明
    1.     方框图
  4. 修订历史记录
  5. Device Comparison Table
  6. Pin Configuration and Functions
    1.     Pin Functions — SOIC-8 and MSOP-8
    2.     Pin Functions — MSOP–10
    3.     Pin Functions — SOIC-14
  7. Specifications
    1. 7.1  Absolute Maximum Ratings
    2. 7.2  ESD Ratings
    3. 7.3  Recommended Operating Conditions
    4. 7.4  Thermal Information — D Packages
    5. 7.5  Thermal Information — DGS and DGK Packages
    6. 7.6  Power Dissipation
    7. 7.7  Electrical Characteristics
    8. 7.8  Switching Characteristics — 400 kbps
    9. 7.9  Switching Characteristics — 20 Mbps
    10. 7.10 Switching Characteristics — 50 Mbps
    11. 7.11 Typical Characteristics
  8. Parameter Measurement Information
  9. Detailed Description
    1. 9.1 Overview
    2. 9.2 Functional Block Diagram
    3. 9.3 Feature Description
    4. 9.4 Device Functional Modes
      1. 9.4.1 Equivalent Circuits
  10. 10Application and Implementation
    1. 10.1 Application Information
    2. 10.2 Typical Application
      1.      Master Enable Control
      2.      Slave Enable Control
      3. 10.2.1 Design Parameters
        1. 10.2.1.1 Data Rate and Bus Length
        2. 10.2.1.2 Stub Length
        3. 10.2.1.3 Bus Loading
        4. 10.2.1.4 Receiver Failsafe
        5. 10.2.1.5 Transient Protection
      4. 10.2.2 Detailed Design Procedure
      5. 10.2.3 Application Curves
  11. 11Power Supply Recommendations
  12. 12Layout
    1. 12.1 Layout Guidelines
    2. 12.2 Layout Example
  13. 13器件和文档支持
    1. 13.1 器件支持
      1. 13.1.1 第三方产品免责声明
    2. 13.2 相关链接
    3. 13.3 接收文档更新通知
    4. 13.4 社区资源
    5. 13.5 商标
    6. 13.6 静电放电警告
    7. 13.7 Glossary
  14. 14机械、封装和可订购信息

封装选项

机械数据 (封装 | 引脚)
散热焊盘机械数据 (封装 | 引脚)
订购信息

Parameter Measurement Information

The input generator rate is 100 kbps with 50% duty cycle, than 6-ns rise and fall times, and 50-Ω output impedance.

SN65HVD70 SN65HVD71 SN65HVD73 SN65HVD74 SN65HVD76 SN65HVD77 pmi_01_sllsei9.gifFigure 15. Measurement of Driver Differential Output Voltage With Common-Mode Load
SN65HVD70 SN65HVD71 SN65HVD73 SN65HVD74 SN65HVD76 SN65HVD77 pmi_02_sllsei9.gifFigure 16. Measurement of Driver Differential and Common-Mode Output With RS-485 Load
SN65HVD70 SN65HVD71 SN65HVD73 SN65HVD74 SN65HVD76 SN65HVD77 pmi_03_sllsei9.gifFigure 17. Measurement of Driver Differential Output Rise and Fall Times and Propagation Delays
SN65HVD70 SN65HVD71 SN65HVD73 SN65HVD74 SN65HVD76 SN65HVD77 pmi_04_sllsei9.gif
D at 3 V to test non-inverting output, D at 0 V to test inverting output.
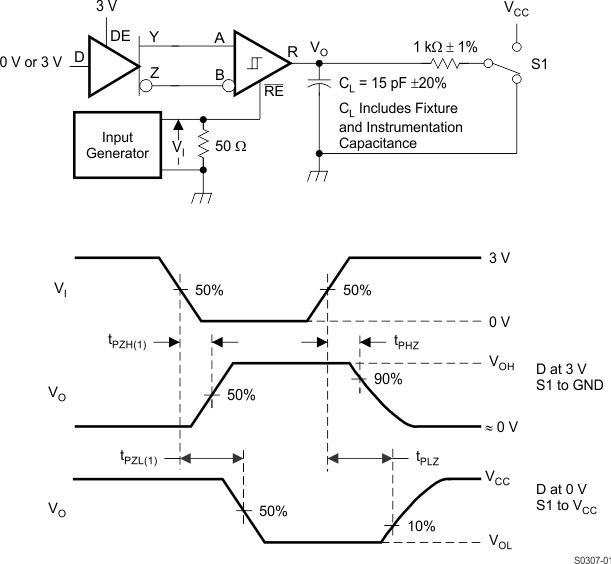
Figure 18. Measurement of Driver Enable and Disable Times with Active-High Output and Pulldown Load
SN65HVD70 SN65HVD71 SN65HVD73 SN65HVD74 SN65HVD76 SN65HVD77 pmi_05_sllsei9.gif
D at 0 V to test non-inverting output, D at 3 V to test inverting output.
Figure 19. Measurement of Driver Enable and Disable Times with Active-Low Output and Pullup Load
SN65HVD70 SN65HVD71 SN65HVD73 SN65HVD74 SN65HVD76 SN65HVD77 pmi_06_sllsei9.gifFigure 20. Measurement of Receiver Output Rise and Fall Times and Propagation Delays
SN65HVD70 SN65HVD71 SN65HVD73 SN65HVD74 SN65HVD76 SN65HVD77 pmi_07_sllsei9.gifFigure 21. Measurement of Receiver Enable and Disable Times With Driver Enabled
SN65HVD70 SN65HVD71 SN65HVD73 SN65HVD74 SN65HVD76 SN65HVD77 pmi_08_sllsei9.gifFigure 22. Measurement of Receiver Enable Times With Driver Disabled