SLAS734G April   2011  – April 2016 MSP430G2203 , MSP430G2233 , MSP430G2303 , MSP430G2333 , MSP430G2403 , MSP430G2433 , MSP430G2533

PRODUCTION DATA.  

  1. 1Device Overview
    1. 1.1 Features
    2. 1.2 Applications
    3. 1.3 Description
    4. 1.4 Functional Block Diagrams
  2. 2Revision History
  3. 3Device Comparison
    1. 3.1 Related Products
  4. 4Terminal Configuration and Functions
    1. 4.1 Pin Diagrams
    2. 4.2 Signal Descriptions
  5. 5Specifications
    1. 5.1  Absolute Maximum Ratings
    2. 5.2  ESD Ratings
    3. 5.3  Recommended Operating Conditions
    4. 5.4  Active Mode Supply Current Into VCC Excluding External Current
    5. 5.5  Typical Characteristics, Active Mode Supply Current (Into VCC)
    6. 5.6  Low-Power Mode Supply Currents (Into VCC) Excluding External Current
    7. 5.7  Typical Characteristics, Low-Power Mode Supply Currents
    8. 5.8  Thermal Resistance Characteristics
    9. 5.9  Schmitt-Trigger Inputs, Ports Px
    10. 5.10 Leakage Current, Ports Px
    11. 5.11 Outputs, Ports Px
    12. 5.12 Output Frequency, Ports Px
    13. 5.13 Typical Characteristics - Outputs
    14. 5.14 Pin-Oscillator Frequency - Ports Px
    15. 5.15 Typical Characteristics - Pin-Oscillator Frequency
    16. 5.16 POR, BOR
    17. 5.17 Main DCO Characteristics
    18. 5.18 DCO Frequency
    19. 5.19 Calibrated DCO Frequencies, Tolerance
    20. 5.20 Wake-up Times From Lower-Power Modes (LPM3, LPM4)
    21. 5.21 Typical Characteristics, DCO Clock Wake-up Time From LPM3 or LPM4
    22. 5.22 Crystal Oscillator, XT1, Low-Frequency Mode
    23. 5.23 Internal Very-Low-Power Low-Frequency Oscillator (VLO)
    24. 5.24 Timer_A
    25. 5.25 USCI (UART Mode)
    26. 5.26 USCI (SPI Master Mode)
    27. 5.27 USCI (SPI Slave Mode)
    28. 5.28 USCI (I2C Mode)
    29. 5.29 10-Bit ADC, Power Supply and Input Range Conditions (MSP430G2x33 Only)
    30. 5.30 10-Bit ADC, Built-In Voltage Reference (MSP430G2x33 Only)
    31. 5.31 10-Bit ADC, External Reference (MSP430G2x33 Only)
    32. 5.32 10-Bit ADC, Timing Parameters (MSP430G2x33 Only)
    33. 5.33 10-Bit ADC, Linearity Parameters (MSP430G2x33 Only)
    34. 5.34 10-Bit ADC, Temperature Sensor and Built-In VMID (MSP430G2x33 Only)
    35. 5.35 Flash Memory
    36. 5.36 RAM
    37. 5.37 JTAG and Spy-Bi-Wire Interface
    38. 5.38 JTAG Fuse
  6. 6Detailed Description
    1. 6.1  CPU
    2. 6.2  Instruction Set
    3. 6.3  Operating Modes
    4. 6.4  Interrupt Vector Addresses
    5. 6.5  Special Function Registers (SFRs)
    6. 6.6  Memory Organization
    7. 6.7  Bootloader (BSL)
    8. 6.8  Flash Memory
    9. 6.9  Peripherals
      1. 6.9.1 Oscillator and System Clock
      2. 6.9.2 Calibration Data Stored in Information Memory Segment A
      3. 6.9.3 Brownout
      4. 6.9.4 Digital I/O
      5. 6.9.5 WDT+ Watchdog Timer
      6. 6.9.6 Timer_A3 (TA0, TA1)
      7. 6.9.7 Universal Serial Communications Interface (USCI)
      8. 6.9.8 ADC10 (MSP430G2x33 Only)
      9. 6.9.9 Peripheral File Map
    10. 6.10 I/O Port Diagrams
      1. 6.10.1 Port P1 Pin Diagram: P1.0 to P1.2, Input/Output With Schmitt Trigger
      2. 6.10.2 Port P1 Pin Diagram: P1.3, Input/Output With Schmitt Trigger
      3. 6.10.3 Port P1 Pin Diagram: P1.4, Input/Output With Schmitt Trigger
      4. 6.10.4 Port P1 Pin Diagram: P1.5 to P1.7, Input/Output With Schmitt Trigger
      5. 6.10.5 Port P2 Pin Diagram: P2.0 to P2.5, Input/Output With Schmitt Trigger
      6. 6.10.6 Port P2 Pin Diagram: P2.6, Input/Output With Schmitt Trigger
      7. 6.10.7 Port P2 Pin Diagram: P2.7, Input/Output With Schmitt Trigger
      8. 6.10.8 Port P3 Pin Diagram: P3.0 to P3.7, Input/Output With Schmitt Trigger (RHB and PW28 Package Only)
  7. 7Device and Documentation Support
    1. 7.1 Getting Started and Next Steps
    2. 7.2 Device Nomenclature
    3. 7.3 Tools and Software
    4. 7.4 Documentation Support
    5. 7.5 Related Links
    6. 7.6 Community Resources
    7. 7.7 Trademarks
    8. 7.8 Electrostatic Discharge Caution
    9. 7.9 Glossary
  8. 8Mechanical, Packaging, and Orderable Information

封装选项

机械数据 (封装 | 引脚)
散热焊盘机械数据 (封装 | 引脚)
订购信息

1 Device Overview

1.1 Features

  • Low Supply-Voltage Range: 1.8 V to 3.6 V
  • Ultra-Low Power Consumption
    • Active Mode: 230 µA at 1 MHz, 2.2 V
    • Standby Mode: 0.5 µA
    • Off Mode (RAM Retention): 0.1 µA
  • Five Power-Saving Modes
  • Ultra-Fast Wake up From Standby Mode in Less Than 1 µs
  • 16-Bit RISC Architecture, 62.5-ns Instruction Cycle Time
  • Basic Clock Module Configurations
    • Internal Frequencies up to 16 MHz With Four Calibrated Frequencies
    • Internal Very-Low-Power Low-Frequency (LF) Oscillator
    • 32-kHz Crystal
    • External Digital Clock Source
  • Two 16-Bit Timer_A With Three Capture/Compare Registers
  • Up to 24 Capacitive-Touch Enabled I/O Pins
  • Universal Serial Communication Interface (USCI)
    • Enhanced UART Supports Automatic Baud-Rate Detection (LIN)
    • IrDA Encoder and Decoder
    • Synchronous SPI
    • I2C
  • 10-Bit 200-ksps Analog-to-Digital Converter (ADC) With Internal Reference, Sample-and-Hold, and Autoscan (See Table 3-1)
  • Brownout Detector
  • Serial Onboard Programming,
    No External Programming Voltage Needed,
    Programmable Code Protection by Security Fuse
  • On-Chip Emulation Logic With Spy-Bi-Wire Interface
  • Section 3 Summarizes Available Family Members
  • Package Options
    • TSSOP: 20 Pin, 28 Pin
    • PDIP: 20 Pin
    • QFN: 32 Pin
  • For Complete Module Descriptions, See the MSP430x2xx Family User’s Guide (SLAU144)

1.2 Applications

  • Power Management
  • Sensor Interface
  • Capacitive Touch

1.3 Description

The TI MSP family of ultra-low-power microcontrollers consists of several devices that feature different sets of peripherals targeted for various applications. The architecture, combined with five low-power modes, is optimized to achieve extended battery life in portable measurement applications. The device features a powerful 16-bit RISC CPU, 16-bit registers, and constant generators that contribute to maximum code efficiency. The digitally controlled oscillator (DCO) allows the device to wake up from low-power modes to active mode in less than 1 µs.

The MSP430G2x03 and MSP430G2x33 devices are ultra-low-power mixed-signal microcontrollers with built-in 16-bit timers, up to 24 I/O capacitive-touch enabled pins, and built-in communication capability using the USCI. In addition, the MSP430G2x33 family members have a 10-bit ADC. See Section 3 for configuration details.

Typical applications include low-cost sensor systems that capture analog signals, convert them to digital values, and then process the data for display or for transmission to a host system.

Device Information(1)

PART NUMBER PACKAGE BODY SIZE(2)
MSP430G2533IRHB VQFN (32) 5 mm × 5 mm
MSP430G2533IPW TSSOP (28) 9.7 mm × 4.4 mm
TSSOP (20) 6.5 mm × 4.4 mm
MSP430G2533IN PDIP (20) 24.33 mm × 6.35 mm
(1) For the most current part, package, and ordering information, see the Package Option Addendum in Section 8, or see the TI website at www.ti.com.
(2) The sizes shown here are approximations. For the package dimensions with tolerances, see the Mechanical Data in Section 8.

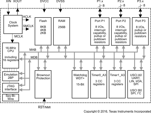
1.4 Functional Block Diagrams

Figure 1-1 shows the functional block diagram of the MSP430G2x33 MCUs.

MSP430G2533 MSP430G2433 MSP430G2333 MSP430G2233 MSP430G2403 MSP430G2303 MSP430G2203 fbd_g2x33_las734.gif

NOTE:

Port P3 is available on 28-pin and 32-pin devices only.
Figure 1-1 Functional Block Diagram, MSP430G2x33

Figure 1-2 shows the functional block diagram of the MSP430G2x03 MCUs.

MSP430G2533 MSP430G2433 MSP430G2333 MSP430G2233 MSP430G2403 MSP430G2303 MSP430G2203 fbd_g2x03_las734.gif

NOTE:

Port P3 is available on 28-pin and 32-pin devices only.
Figure 1-2 Functional Block Diagram, MSP430G2x03