ZHCSDA4C November   2012  – January 2015 DS90UH927Q-Q1

PRODUCTION DATA.  

  1. 特性
  2. 应用范围
  3. 说明
  4. 修订历史记录
  5. Pin Configuration and Functions
  6. Specifications
    1. 6.1  Absolute Maximum Ratings
    2. 6.2  ESD Ratings
    3. 6.3  Recommended Operating Conditions
    4. 6.4  Thermal Information
    5. 6.5  DC Electrical Characteristics
    6. 6.6  AC Electrical Characteristics
    7. 6.7  DC and AC Serial Control Bus Characteristics
    8. 6.8  Recommended Timing Requirements for the Serial Control Bus
    9. 6.9  Timing Requirements
    10. 6.10 Typical Characteristics
  7. Detailed Description
    1. 7.1 Overview
    2. 7.2 Functional Block Diagram
    3. 7.3 Feature Description
      1. 7.3.1  High-Speed Forward Channel Data Transfer
      2. 7.3.2  Low-Speed Back Channel Data Transfer
      3. 7.3.3  Common Mode Filter Pin (CMF)
      4. 7.3.4  Video Control Signals
      5. 7.3.5  EMI Reduction Features
        1. 7.3.5.1 LVCMOS VDDIO Option
      6. 7.3.6  Built-In Self Test (BIST)
        1. 7.3.6.1 BIST Configuration and Status
      7. 7.3.7  Forward Channel and Back Channel Error Checking
      8. 7.3.8  Internal Pattern Generation
        1. 7.3.8.1 Pattern Options
        2. 7.3.8.2 Color Modes
        3. 7.3.8.3 Video Timing Modes
        4. 7.3.8.4 External Timing
        5. 7.3.8.5 Pattern Inversion
        6. 7.3.8.6 Auto Scrolling
      9. 7.3.9  Remote Auto Power Down Mode
      10. 7.3.10 Input RxCLKIN Loss Detect
      11. 7.3.11 Serial Link Fault Detect
      12. 7.3.12 INTERRUPT Pin (INTB)
      13. 7.3.13 General-Purpose I/O
        1. 7.3.13.1 GPIO[3:0]
        2. 7.3.13.2 GPIO[8:5]
      14. 7.3.14 I2S Audio Interface
        1. 7.3.14.1 I2S Transport Modes
        2. 7.3.14.2 I2S Repeater
      15. 7.3.15 Additional Features
    4. 7.4 Device Functional Modes
      1. 7.4.1 Power Down (PDB)
      2. 7.4.2 Backward Compatible Mode
      3. 7.4.3 Low Frequency Optimization (LFMODE)
      4. 7.4.4 FPD-Link Input Frame and Color Bit Mapping Select
      5. 7.4.5 HDCP
        1. 7.4.5.1 HDCP Repeater
        2. 7.4.5.2 HDCP I2S Audio Encryption
        3. 7.4.5.3 Repeater Configuration
        4. 7.4.5.4 Repeater Connections
          1. 7.4.5.4.1 Repeater Fan-Out Electrical Requirements
    5. 7.5 Programming
      1. 7.5.1 Serial Control Bus
    6. 7.6 Register Maps
  8. Application and Implementation
    1. 8.1 Application Information
    2. 8.2 Typical Application
      1. 8.2.1 Design Requirements
      2. 8.2.2 Detailed Design Procedure
      3. 8.2.3 Application Curves
  9. Power Supply Recommendations
  10. 10Layout
    1. 10.1 Layout Guidelines
      1. 10.1.1 CML Interconnect Guidelines
    2. 10.2 Layout Example
  11. 11器件和文档支持
    1. 11.1 文档支持
      1. 11.1.1 相关文档 
    2. 11.2 商标
    3. 11.3 静电放电警告
    4. 11.4 术语表
  12. 12机械封装和可订购信息

封装选项

机械数据 (封装 | 引脚)
散热焊盘机械数据 (封装 | 引脚)
订购信息

6 Specifications

6.1 Absolute Maximum Ratings(1)(2)(3)

MIN MAX UNIT
Supply Voltage – VDD33(4) −0.3 4.0 V
Supply Voltage – VDDIO(4) −0.3 4.0 V
LVCMOS I/O Voltage −0.3 (VDDIO + 0.3) V
Serializer Output Voltage −0.3 2.75 V
Junction Temperature 150 °C
Storage Temperature, Tstg −65 150 °C
(1) Stresses beyond those listed under Absolute Maximum Ratings may cause permanent damage to the device. These are stress ratings only, which do not imply functional operation of the device at these or any other conditions beyond those indicated under Recommended Operating Conditions. Exposure to absolute-maximum-rated conditions for extended periods may affect device reliability.
(2) For soldering specifications, see product folder at www.ti.com and www.ti.com/lit/an/snoa549c/snoa549c.pdf.
(3) If Military/Aerospace specified devices are required, please contact the Texas Instruments Sales Office/Distributors for availability and specifications.
(4) The DS90UH927Q-Q1 VDD33 and VDDIO voltages require a specific ramp rate during power up. The power supply ramp time must be less than 1.5 ms with a monotonic rise

6.2 ESD Ratings

VALUE UNIT
V(ESD) Electrostatic discharge Human body model (HBM), per AEC Q100-002(1) ±8000 V
Charged device model (CDM), per AEC Q100-011 ±1250
Machine model (MM) ±250
(IEC 61000-4-2, powered-up only)
RD = 330 Ω, CS = 150 pF
Air Discharge
(Pin 16 and 17)
±15000 V
Contact Discharge
(Pin 16 and 17)
±8000
(ISO 10605)
RD = 330 Ω, CS = 150 pF/330 pF
RD = 2 kΩ, CS = 150 pF/330 pF
Air Discharge
(Pin 16 and 17)
±15000
Contact Discharge
(Pin 16 and 17)
±8000
(1) AEC Q100-002 indicates HBM stressing is done in accordance with the ANSI/ESDA/JEDEC JS-001 specification.

6.3 Recommended Operating Conditions

MIN NOM MAX UNIT
Supply Voltage (VDD33) 3 3.3 3.6 V
LVCMOS Supply Voltage (VDDIO)(2) Connect VDDIO to 3.3 V and use 3.3-V IOs 3 3.3 3.6 V
Connect VDDIO to 1.8 V and use 1.8-V IOs 1.71 1.8 1.89 V
Operating Free Air Temperature (TA) −40 +25 +105 °C
PCLK Frequency 5 85 MHz
Supply Noise(1) 100 mVP-P
(1) Supply noise testing was done with minimum capacitors on the PCB. A sinusoidal signal is AC coupled to the VDD33 and VDDIOsupplies with amplitude = 100 mVp-p measured at the device VDD33 and VDDIO pins. Bit error rate testing of input to the Ser and output of the Des with 10 meter cable shows no error when the noise frequency on the Ser is less than 50 MHz. The Des on the other hand shows no error when the noise frequency is less than 50 MHz.
(2) VDDIO < VDD33 + 0.3 V

6.4 Thermal Information

THERMAL METRIC(1) DS90UH927Q-Q1 UNIT
RTA (WQFN)
40 PINS
RθJA Junction-to-ambient thermal resistance 29.0 °C/W
RθJC(top) Junction-to-case (top) thermal resistance 14.4
RθJB Junction-to-board thermal resistance 5.1
ψJT Junction-to-top characterization parameter 0.2
ψJB Junction-to-board characterization parameter 5.1
RθJC(bot) Junction-to-case (bottom) thermal resistance 1.4
(1) For more information about traditional and new thermal metrics, see the IC Package Thermal Metrics application report, SPRA953.

6.5 DC Electrical Characteristics

Over recommended operating supply and temperature ranges unless otherwise specified.(1)(2)(3)
PARAMETER TEST CONDITIONS PIN/FREQ. MIN TYP MAX UNIT
LVCMOS I/O
VIH High Level Input Voltage VDDIO = 3.0 V to 3.6 V(4) PDB 2.0 VDDIO V
VIL Low Level Input Voltage VDDIO = 3.0 V to 3.6 V(4) GND 0.8 V
IIN Input Current VIN = 0 V or VDDIO = 3.0 V to 3.6 V(4) −15 ±1 +15 μA
VIH High Level Input Voltage VDDIO = 3.0 V to 3.6 V GPIO[1:0]
I2S_CLK
I2S_WC
I2S_D
[A,B,C,D]
LFMODE
MAPSEL
BKWD
REPEAT
2.0 VDDIO V
VDDIO = 1.71 V to 1.89 V 0.65×
VDDIO
VDDIO V
VIL Low Level Input Voltage VDDIO = 3.0 V to 3.6 V GND 0.8 V
VDDIO = 1.71 V to 1.89 V GND 0.35*
VDDIO
V
IIN Input Current VIN = 0 V or VDDIO VDDIO = 3.0 V to 3.6 V −15 ±1 +15 μA
VDDIO = 1.71 V to 1.89 V −15 ±1 +15 μA
VOH High Level Output Voltage IOH = −4 mA VDDIO = 3.0 V to 3.6 V GPIO[3:0], GPO_REG
[8:5]
2.4 VDDIO V
VDDIO = 1.71 V to 1.89 V VDDIO - 0.45 VDDIO V
VOL Low Level Output Voltage IOL = +4 mA VDDIO = 3.0 V to 3.6 V GND 0.4 V
VDDIO = 1.71 V to 1.89 V GND 0.45 V
IOS Output Short Circuit Current(5) VOUT = 0 V −55 mA
IOZ TRI-STATE® Output Current VOUT = 0 V or VDDIO, PDB = L, −15 +15 μA
FPD-LINK LVDS RECEIVER
VTH Threshold High Voltage VCM = 1.2 V RxCLKIN±
RxIN[3:0]±
+100 mV
VTL Threshold Low Voltage −100 mV
|VID| Differential Input Voltage Swing 200 600 mV
VCM Common Mode Voltage 0 1.2 2.4 V
IIN Input Current −10 +10 μA
FPD-LINK III CML DRIVER
VODp-p Differential Output Voltage
(DOUT+) – (DOUT-)
RL = 100 Ω DOUT± 800 1000 1200 mVp-p
ΔVOD Output Voltage Unbalance 1 50 mV
VOS Offset Voltage – Single-ended RL = 100 Ω 2.5-0.25*
VODp-p (TYP)
V
ΔVOS Offset Voltage Unbalance
Single-ended
1 50 mV
IOS Output Short Circuit Current DOUT+/- = 0V, PDB = L or H mA
RT Internal Termination Resistance - Differential 80 100 120 Ω
SUPPLY CURRENT
IDD1 Supply Current
RL = 100Ω,
PCLK = 85MHz
Checkerboard Pattern VDD33= 3.6 V 135 160 mA
IDDIO1 VDDIO = 3.6 V 100 500 μA
VDDIO = 1.89 V 200 600 μA
IDD2 Random Pattern
PRBS7
VDD33= 3.6 V 133 mA
IDDIO2 VDDIO = 3.6 V 100 μA
VDDIO = 1.89 V 100 μA
IDDS Supply Current — Remote Auto Power Down reg_0x01[7]=1, Back channel Idle VDD33 = 3.6 V 1.2 2.4 mA
IDDIOS VDDIO = 3.6 V 4 30 μA
VDDIO = 1.89 V 5 30 μA
IDDZ Supply Current — Power Down PDB = 0 V, All other LVCMOS inputs = 0 V VDD33 = 3.6 V 1 2.2 mA
IDDIOZ VDDIO = 3.6 V 8 20 μA
VDDIO = 1.89 V 4 20 μA
(1) The Electrical Characteristics tables list ensured specifications under the listed Recommended Operating Conditions except as otherwise modified or specified by the Electrical Characteristics conditions and/or notes. Typical specifications are estimations only and are not ensured.
(2) Typical values represent most likely parametric norms at VDD33 = 3.3V, VDDIO = 1.8V or 3.3V, TA = 25°C, and at the Recommended Operating Conditions at the time of product characterization and are not ensured.
(3) Current into device pins is defined as positive. Current out of a device pin is defined as negative. Voltages are referenced to ground except VOD and ΔVOD, which are differential voltages. Supply noise testing was done with minimum capacitors on the PCB. A sinusoidal signal is AC coupled to the supply pins with amplitude = 100 mVp-p measured at the device VDD33 and VDDIO pins. Bit error rate testing of input to the serializer and output of the deserializer with 10 meter cable shows no error when the noise frequency is less than 50 MHz.
(4) PDB is specified to 3.3-V LVCMOS only and must be driven or pulled up to VDD33 or to VDDIO ≥ 3.0 V
(5) IOS is not specified for an indefinite period of time. Do not hold in short circuit for more than 500 ms or part damage may result

6.6 AC Electrical Characteristics

Over recommended operating supply and temperature ranges unless otherwise specified.(1)(2)(3)
PARAMETER TEST CONDITIONS PIN/FREQ. MIN TYP MAX UNIT
FPD-LINK LVDS INPUT
tRSP Receiver Strobe Position See Figure 4 RxCLKIN±, RXIN[3:0]± 0.25 0.5 0.75 UI
FPD-LINK III CML I/O
tLHT CML Output Low-to-High Transition Time See Figure 3 DOUT+, DOUT- 100 140 ps
tHLT CML Output High-to-Low Transition Time 100 140 ps
tPLD Serializer PLL Lock Time See Figure 5, (4) PCLK = 5 MHz to 85 MHz 5 ms
tSD Delay — Latency See Figure 6 146*T ns
tTJIT Output Total Jitter,
Bit Error Rate ≤1E-9, see Figure 7, (5)(6)(7)(8)(9)
Checkerboard Pattern
PCLK=5 MHz, see Figure 8
RxCLKIN± 0.17 0.2 UI
Checkerboard Pattern
PCLK=85 MHz, see Figure 8
0.26 0.29 UI
tIJIT Input Jitter Tolerance, Bit Error Rate ≤1E-9 (8)(10) f/40 < Jitter Freq < f/20, DES = DS90UH926Q-Q1 RxCLKIN±, f = 78 MHz 0.6 UI
f/40 < Jitter Freq < f/20, DES = DS90UH928Q-Q1 0.5 UI
I2S RECEIVER
TI2S I2S Clock Period, see Figure 10, (7)(11) RxCLKIN± f=5 MHz to 85 MHz I2S_CLK, PCLK = 5 MHz to 85 MHz >4 / PCLK or >77 ns
THC I2S Clock High Time, see Figure 10, (11) I2S_CLK 0.35 TI2S
TLC I2S Clock Low Time, see Figure 10, (11) I2S_CLK 0.35 TI2S
tsr I2S Set-up Time I2S_WC
I2S_D[A,B,C,D]
0.2 TI2S
thtr I2S Hold Time I2S_WC
I2S_D[A,B,C,D]
0.2 TI2S
OTHER I/O
tGPIO,FC GPIO Pulse Width, Forward Channel GPIO[3:0], PCLK = 5 MHz to 85 MHz >2/PCLK s
tGPIO,BC GPIO Pulse Width, Back Channel GPIO[3:0] 20 µs
(1) The Electrical Characteristics tables list ensured specifications under the listed Recommended Operating Conditions except as otherwise modified or specified by the Electrical Characteristics conditions and/or notes. Typical specifications are estimations only and are not ensured.
(2) Typical values represent most likely parametric norms at VDD33 = 3.3V, VDDIO = 1.8V or 3.3V, TA = 25°C, and at the Recommended Operating Conditions at the time of product characterization and are not ensured.
(3) Current into device pins is defined as positive. Current out of a device pin is defined as negative. Voltages are referenced to ground except VOD and ΔVOD, which are differential voltages. Supply noise testing was done with minimum capacitors on the PCB. A sinusoidal signal is AC coupled to the supply pins with amplitude = 100 mVp-p measured at the device VDD33 and VDDIO pins. Bit error rate testing of input to the serializer and output of the deserializer with 10 meter cable shows no error when the noise frequency is less than 50 MHz.
(4) tPLD is the time required by the device to obtain lock when exiting power-down state with an active PCLK.
(5) Output jitter specs are dependent upon the input clock jitter at the SER.
(6) UI – Unit Interval is equivalent to one ideal serialized bit width. The UI scales with PCLK frequency.
(7) Specification is ensured by design and is not tested in production.
(8) Specification is ensured by characterization and is not tested in production.
(9) tTJIT (@BER of 1E-9) specifies the allowable jitter on RxCLKIN±.
(10) Jitter Frequency is specified in conjunction with DS90UH928Q-Q1 PLL bandwidth.
(11) I2S specifications for tLC and tHC pulses must each be greater than 2 PCLK periods to ensure sampling and supersedes the 0.35*TI2S_CLK requirement. tLC and tHC must be longer than the greater of either 0.35*TI2S_CLK or 2*PCLK.

6.7 DC and AC Serial Control Bus Characteristics

Over 3.3-V supply and temperature ranges unless otherwise specified.(1)(2)(3)
PARAMETER TEST CONDITIONS MIN TYP MAX UNIT
VIH Input High Level SDA and SCL 0.7*
VDDIO
VDD33 V
VIL Input Low Level Voltage SDA and SCL GND 0.3*
VDD33
V
VHY Input Hysteresis >50 mV
VOL SDA or SCL, IOL = 1.25 mA 0 0.36 V
Iin SDA or SCL, Vin = VDDIO or GND -10 +10 µA
Cin Input Capacitance SDA or SCL <5 pF
(1) The Electrical Characteristics tables list ensured specifications under the listed Recommended Operating Conditions except as otherwise modified or specified by the Electrical Characteristics conditions and/or notes. Typical specifications are estimations only and are not ensured.
(2) Typical values represent most likely parametric norms at VDD33 = 3.3V, VDDIO = 1.8V or 3.3V, TA = 25°C, and at the Recommended Operating Conditions at the time of product characterization and are not ensured.
(3) Current into device pins is defined as positive. Current out of a device pin is defined as negative. Voltages are referenced to ground except VOD and ΔVOD, which are differential voltages. Supply noise testing was done with minimum capacitors on the PCB. A sinusoidal signal is AC coupled to the supply pins with amplitude = 100 mVp-p measured at the device VDD33 and VDDIO pins. Bit error rate testing of input to the serializer and output of the deserializer with 10 meter cable shows no error when the noise frequency is less than 50 MHz.

6.8 Recommended Timing Requirements for the Serial Control Bus

Over 3.3-V supply and temperature ranges unless otherwise specified.(1)(2)(3)
MIN NOM MAX UNIT
fSCL SCL Clock Frequency Standard Mode 0 100 kHz
Fast Mode 0 400 kHz
tLOW SCL Low Period Standard Mode 4.7 µs
Fast Mode 1.3 µs
tHIGH SCL High Period Standard Mode 4.0 µs
Fast Mode 0.6 µs
tHD;STA Hold time for a start or a repeated start condition, see Figure 9
Standard Mode 4.0 µs
Fast Mode 0.6 µs
tSU:STA Set Up time for a start or a repeated start condition, see Figure 9 Standard Mode 4.7 µs
Fast Mode 0.6 µs
tHD;DAT Data Hold Time, see Figure 9 Standard Mode 0 3.45 µs
Fast Mode 0 0.9 µs
tSU;DAT Data Set Up Time, see Figure 9 Standard Mode 250 ns
Fast Mode 100 ns
tSU;STO Set Up Time for STOP Condition, see Figure 9 Standard Mode 4.0 µs
Fast Mode 0.6 µs
tBUF Bus Free Time
Between STOP and START, see Figure 9
Standard Mode 4.7 µs
Fast Mode 1.3 µs
tr SCL & SDA Rise Time, see Figure 9 Standard Mode 1000 ns
Fast Mode 300 ns
tf SCL & SDA Fall Time, see Figure 9 Standard Mode 300 ns
Fast mode 300 ns
(1) The Electrical Characteristics tables list ensured specifications under the listed Recommended Operating Conditions except as otherwise modified or specified by the Electrical Characteristics conditions and/or notes. Typical specifications are estimations only and are not ensured.
(2) Typical values represent most likely parametric norms at VDD33 = 3.3V, VDDIO = 1.8V or 3.3V, TA = 25°C, and at the Recommended Operating Conditions at the time of product characterization and are not ensured.
(3) Current into device pins is defined as positive. Current out of a device pin is defined as negative. Voltages are referenced to ground except VOD and ΔVOD, which are differential voltages. Supply noise testing was done with minimum capacitors on the PCB. A sinusoidal signal is AC coupled to the supply pins with amplitude = 100 mVp-p measured at the device VDD33 and VDDIO pins. Bit error rate testing of input to the serializer and output of the deserializer with 10 meter cable shows no error when the noise frequency is less than 50 MHz.

6.9 Timing Requirements

MIN NOM MAX UNIT
tR SDA RiseTime – READ SDA, RPU = 10 kΩ, Cb ≤ 400 pF, see Figure 9 430 ns
tF SDA Fall Time – READ 20 ns
tSU;DAT Set Up Time — READ See Figure 9 560 ns
tHD;DAT Hold Up Time — READ See Figure 9 615 ns
tSP Input Filter 50 ns
DS90UH927Q-Q1 30193013.gifFigure 1. FPD-Link DC VTH/VTL Definition
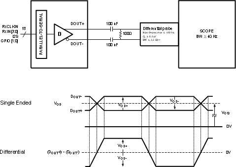
DS90UH927Q-Q1 30193062.gifFigure 2. Serializer VOD DC Output
DS90UH927Q-Q1 30193047.gifFigure 3. Output Transition Times
DS90UH927Q-Q1 30193014.gifFigure 4. FPD-Link Input Strobe Position
DS90UH927Q-Q1 30193049.gifFigure 5. Serializer Lock Time
DS90UH927Q-Q1 30193015.gifFigure 6. Latency Delay
DS90UH927Q-Q1 30193048.gifFigure 7. CML Serializer Output Jitter
DS90UH927Q-Q1 30193046.gifFigure 8. Checkerboard Data Pattern
DS90UH927Q-Q1 30193036.gifFigure 9. Serial Control Bus Timing Diagram
DS90UH927Q-Q1 30193006.gifFigure 10. I2S Timing Diagram

6.10 Typical Characteristics

DS90UH927Q-Q1 78eye2.gifFigure 11. Serializer Eye with 78-MHz Input Clock
DS90UH927Q-Q1 78delay.gifFigure 12. 78-MHz Clock at Serializer and Deserializer